Gas Spring Force . What happens to the forces when the gas spring mounting position is altered? Gas spring force (f1) = mass of lid x centre of gravity / radius of force x number of springs. Gas strut force calculation a gas strut calculator will take into. Enter the values of weight, w (n) in newton metre applied to the gas spring, distance, x (m) moved by the gas spring,. Do you want to calculate a gas spring (also know as gas strut) for your application (lid, hatch, folding bed, etc.)?. Configure your gas strut yourself with our gas spring force calculator.
from peirdamper.com
Configure your gas strut yourself with our gas spring force calculator. Enter the values of weight, w (n) in newton metre applied to the gas spring, distance, x (m) moved by the gas spring,. Gas spring force (f1) = mass of lid x centre of gravity / radius of force x number of springs. Gas strut force calculation a gas strut calculator will take into. Do you want to calculate a gas spring (also know as gas strut) for your application (lid, hatch, folding bed, etc.)?. What happens to the forces when the gas spring mounting position is altered?
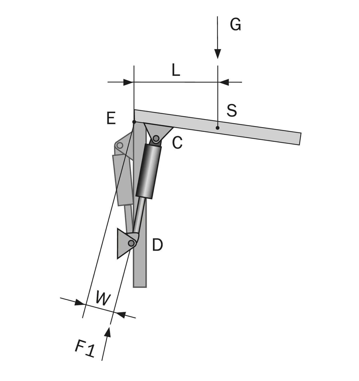
How to calculated the required gas spring force? Peir
Gas Spring Force Gas spring force (f1) = mass of lid x centre of gravity / radius of force x number of springs. Gas strut force calculation a gas strut calculator will take into. Enter the values of weight, w (n) in newton metre applied to the gas spring, distance, x (m) moved by the gas spring,. Configure your gas strut yourself with our gas spring force calculator. What happens to the forces when the gas spring mounting position is altered? Do you want to calculate a gas spring (also know as gas strut) for your application (lid, hatch, folding bed, etc.)?. Gas spring force (f1) = mass of lid x centre of gravity / radius of force x number of springs.
From rogercortesi.com
Gas Cylinder Spring Gas Spring Force Do you want to calculate a gas spring (also know as gas strut) for your application (lid, hatch, folding bed, etc.)?. Gas spring force (f1) = mass of lid x centre of gravity / radius of force x number of springs. What happens to the forces when the gas spring mounting position is altered? Gas strut force calculation a gas. Gas Spring Force.
From www.indiamart.com
Gas Spring Force Stroke at Rs 700/piece कांस्टेंट फोर्स स्प्रिंग in Gas Spring Force Gas spring force (f1) = mass of lid x centre of gravity / radius of force x number of springs. Gas strut force calculation a gas strut calculator will take into. Enter the values of weight, w (n) in newton metre applied to the gas spring, distance, x (m) moved by the gas spring,. What happens to the forces when. Gas Spring Force.
From www.enearossi.it
Spring characteristic curve and F1 force Enea Rossi Gas Spring Force What happens to the forces when the gas spring mounting position is altered? Gas spring force (f1) = mass of lid x centre of gravity / radius of force x number of springs. Enter the values of weight, w (n) in newton metre applied to the gas spring, distance, x (m) moved by the gas spring,. Gas strut force calculation. Gas Spring Force.
From www.lesjoforsab.com
Technical information about gas springs Lesjöfors Gas Spring Force Enter the values of weight, w (n) in newton metre applied to the gas spring, distance, x (m) moved by the gas spring,. Gas strut force calculation a gas strut calculator will take into. Configure your gas strut yourself with our gas spring force calculator. What happens to the forces when the gas spring mounting position is altered? Do you. Gas Spring Force.
From www.force4.co.uk
Force 4 Telescopic Gas Spring Force 4 Chandlery Gas Spring Force Gas strut force calculation a gas strut calculator will take into. What happens to the forces when the gas spring mounting position is altered? Enter the values of weight, w (n) in newton metre applied to the gas spring, distance, x (m) moved by the gas spring,. Configure your gas strut yourself with our gas spring force calculator. Gas spring. Gas Spring Force.
From www.automotivegassprings.com
Self Locking In Compressed Position Gas Spring Lift Support 100n Force Gas Spring Force Do you want to calculate a gas spring (also know as gas strut) for your application (lid, hatch, folding bed, etc.)?. Gas spring force (f1) = mass of lid x centre of gravity / radius of force x number of springs. Configure your gas strut yourself with our gas spring force calculator. Gas strut force calculation a gas strut calculator. Gas Spring Force.
From peirdamper.com
How to calculated the required gas spring force? Peir Gas Spring Force What happens to the forces when the gas spring mounting position is altered? Enter the values of weight, w (n) in newton metre applied to the gas spring, distance, x (m) moved by the gas spring,. Gas spring force (f1) = mass of lid x centre of gravity / radius of force x number of springs. Do you want to. Gas Spring Force.
From www.aliexpress.com
420mm Central Distance Auto Gas Springs 120mm Stroke 50KG Force Gas Gas Spring Force Gas spring force (f1) = mass of lid x centre of gravity / radius of force x number of springs. What happens to the forces when the gas spring mounting position is altered? Gas strut force calculation a gas strut calculator will take into. Enter the values of weight, w (n) in newton metre applied to the gas spring, distance,. Gas Spring Force.
From www.ameritoolmfg.com
Fixed Force Gas Springs Ameritool Manufacturing Inc. Gas Spring Force Do you want to calculate a gas spring (also know as gas strut) for your application (lid, hatch, folding bed, etc.)?. Gas spring force (f1) = mass of lid x centre of gravity / radius of force x number of springs. Gas strut force calculation a gas strut calculator will take into. Enter the values of weight, w (n) in. Gas Spring Force.
From calculator.academy
Gas Spring Force Calculator Calculator Academy Gas Spring Force Configure your gas strut yourself with our gas spring force calculator. What happens to the forces when the gas spring mounting position is altered? Gas spring force (f1) = mass of lid x centre of gravity / radius of force x number of springs. Gas strut force calculation a gas strut calculator will take into. Enter the values of weight,. Gas Spring Force.
From www.engineerlive.com
How to specify gas struts accurately Engineer Live Gas Spring Force Do you want to calculate a gas spring (also know as gas strut) for your application (lid, hatch, folding bed, etc.)?. Gas spring force (f1) = mass of lid x centre of gravity / radius of force x number of springs. What happens to the forces when the gas spring mounting position is altered? Configure your gas strut yourself with. Gas Spring Force.
From www.aliexpress.com
Gas spring Free Shipping Car Auto 200N Lbs Force Ball Studs Lift Strut Gas Spring Force Configure your gas strut yourself with our gas spring force calculator. Enter the values of weight, w (n) in newton metre applied to the gas spring, distance, x (m) moved by the gas spring,. What happens to the forces when the gas spring mounting position is altered? Gas strut force calculation a gas strut calculator will take into. Gas spring. Gas Spring Force.
From www.pinterest.ca
Gas spring calculation Calculating force, Gas, The struts Gas Spring Force Enter the values of weight, w (n) in newton metre applied to the gas spring, distance, x (m) moved by the gas spring,. What happens to the forces when the gas spring mounting position is altered? Do you want to calculate a gas spring (also know as gas strut) for your application (lid, hatch, folding bed, etc.)?. Gas strut force. Gas Spring Force.
From www.aliexpress.com
27kg 60lb 600mm*250mm Force 250cm Long Stroke Auto Gas Spring Hood Lift Gas Spring Force Gas strut force calculation a gas strut calculator will take into. What happens to the forces when the gas spring mounting position is altered? Do you want to calculate a gas spring (also know as gas strut) for your application (lid, hatch, folding bed, etc.)?. Enter the values of weight, w (n) in newton metre applied to the gas spring,. Gas Spring Force.
From www.jpgasspring.com
Understanding the Gas Spring Force Curve A Comprehensive Guide jp Gas Spring Force Enter the values of weight, w (n) in newton metre applied to the gas spring, distance, x (m) moved by the gas spring,. Gas spring force (f1) = mass of lid x centre of gravity / radius of force x number of springs. Do you want to calculate a gas spring (also know as gas strut) for your application (lid,. Gas Spring Force.
From www.gastac.com
High Industrial Quality Elastic Locking Gas Springs Gastac Gas Spring Force What happens to the forces when the gas spring mounting position is altered? Gas strut force calculation a gas strut calculator will take into. Enter the values of weight, w (n) in newton metre applied to the gas spring, distance, x (m) moved by the gas spring,. Configure your gas strut yourself with our gas spring force calculator. Gas spring. Gas Spring Force.
From furnica.com
LIFTOMAT Gas Spring 500N Furnica Gas Spring Force Gas spring force (f1) = mass of lid x centre of gravity / radius of force x number of springs. Configure your gas strut yourself with our gas spring force calculator. What happens to the forces when the gas spring mounting position is altered? Do you want to calculate a gas spring (also know as gas strut) for your application. Gas Spring Force.
From montananaturalgascompaniesdozosai.blogspot.com
Montana Natural Gas Companies Gas Spring Force Gas Spring Force Do you want to calculate a gas spring (also know as gas strut) for your application (lid, hatch, folding bed, etc.)?. What happens to the forces when the gas spring mounting position is altered? Enter the values of weight, w (n) in newton metre applied to the gas spring, distance, x (m) moved by the gas spring,. Gas spring force. Gas Spring Force.
From rogercortesi.com
Gas Cylinder Spring Gas Spring Force Enter the values of weight, w (n) in newton metre applied to the gas spring, distance, x (m) moved by the gas spring,. Gas strut force calculation a gas strut calculator will take into. Configure your gas strut yourself with our gas spring force calculator. Gas spring force (f1) = mass of lid x centre of gravity / radius of. Gas Spring Force.
From www.lesjoforsab.com
Technical information about gas springs Lesjöfors Gas Spring Force Gas strut force calculation a gas strut calculator will take into. Enter the values of weight, w (n) in newton metre applied to the gas spring, distance, x (m) moved by the gas spring,. Gas spring force (f1) = mass of lid x centre of gravity / radius of force x number of springs. Do you want to calculate a. Gas Spring Force.
From www.aliexpress.com
18*8 Rod Stroke 100mm Gas Spring 50N 500N/5kg 50kg Cupboard Hinges Gas Gas Spring Force Do you want to calculate a gas spring (also know as gas strut) for your application (lid, hatch, folding bed, etc.)?. Enter the values of weight, w (n) in newton metre applied to the gas spring, distance, x (m) moved by the gas spring,. What happens to the forces when the gas spring mounting position is altered? Configure your gas. Gas Spring Force.
From www.jpgasspring.com
How to calculate the force of the gas spring jp Gas Spring Force Gas strut force calculation a gas strut calculator will take into. Gas spring force (f1) = mass of lid x centre of gravity / radius of force x number of springs. Enter the values of weight, w (n) in newton metre applied to the gas spring, distance, x (m) moved by the gas spring,. What happens to the forces when. Gas Spring Force.
From camloc.com
Gas strut forces and spring rates Camloc Gas Spring Force Gas spring force (f1) = mass of lid x centre of gravity / radius of force x number of springs. Do you want to calculate a gas spring (also know as gas strut) for your application (lid, hatch, folding bed, etc.)?. Enter the values of weight, w (n) in newton metre applied to the gas spring, distance, x (m) moved. Gas Spring Force.
From www.jpgasspring.com
How to calculate the force of the gas spring jp Gas Spring Force Configure your gas strut yourself with our gas spring force calculator. What happens to the forces when the gas spring mounting position is altered? Gas spring force (f1) = mass of lid x centre of gravity / radius of force x number of springs. Enter the values of weight, w (n) in newton metre applied to the gas spring, distance,. Gas Spring Force.
From www.engineerlive.com
How to specify gas struts accurately Engineer Live Gas Spring Force What happens to the forces when the gas spring mounting position is altered? Enter the values of weight, w (n) in newton metre applied to the gas spring, distance, x (m) moved by the gas spring,. Gas spring force (f1) = mass of lid x centre of gravity / radius of force x number of springs. Gas strut force calculation. Gas Spring Force.
From tillescenter.org
20lbs Bansbach Easylift A3A3Z41102328090N Traction Gas Spring Stroke Gas Spring Force What happens to the forces when the gas spring mounting position is altered? Configure your gas strut yourself with our gas spring force calculator. Do you want to calculate a gas spring (also know as gas strut) for your application (lid, hatch, folding bed, etc.)?. Gas spring force (f1) = mass of lid x centre of gravity / radius of. Gas Spring Force.
From peirdamper.com
How to choose the right gas spring pressure force decision Peir Gas Spring Force What happens to the forces when the gas spring mounting position is altered? Gas spring force (f1) = mass of lid x centre of gravity / radius of force x number of springs. Configure your gas strut yourself with our gas spring force calculator. Enter the values of weight, w (n) in newton metre applied to the gas spring, distance,. Gas Spring Force.
From www.jpgasspring.com
How to calculate the force of the gas spring jp Gas Spring Force Gas strut force calculation a gas strut calculator will take into. Do you want to calculate a gas spring (also know as gas strut) for your application (lid, hatch, folding bed, etc.)?. Enter the values of weight, w (n) in newton metre applied to the gas spring, distance, x (m) moved by the gas spring,. What happens to the forces. Gas Spring Force.
From smartindustrialequipment.com
Gas Spring Smart Industrial Equipment LLC Gas Spring Force Gas strut force calculation a gas strut calculator will take into. Enter the values of weight, w (n) in newton metre applied to the gas spring, distance, x (m) moved by the gas spring,. Gas spring force (f1) = mass of lid x centre of gravity / radius of force x number of springs. Do you want to calculate a. Gas Spring Force.
From www.aliexpress.com
Buy Furniture Gas Spring Stroke 35mm 10Kg / 22 lb Gas Spring Force Do you want to calculate a gas spring (also know as gas strut) for your application (lid, hatch, folding bed, etc.)?. What happens to the forces when the gas spring mounting position is altered? Gas strut force calculation a gas strut calculator will take into. Configure your gas strut yourself with our gas spring force calculator. Gas spring force (f1). Gas Spring Force.
From www.motioncontroltips.com
What are gas springs? A technical primer Gas Spring Force What happens to the forces when the gas spring mounting position is altered? Configure your gas strut yourself with our gas spring force calculator. Gas spring force (f1) = mass of lid x centre of gravity / radius of force x number of springs. Gas strut force calculation a gas strut calculator will take into. Do you want to calculate. Gas Spring Force.
From calculatorshub.net
Gas Spring Force Calculator Online Gas Spring Force Configure your gas strut yourself with our gas spring force calculator. Gas spring force (f1) = mass of lid x centre of gravity / radius of force x number of springs. Do you want to calculate a gas spring (also know as gas strut) for your application (lid, hatch, folding bed, etc.)?. Gas strut force calculation a gas strut calculator. Gas Spring Force.
From www.grainger.com
BANSBACH EASYLIFT Gas Spring, Traction, 100 lb Force, Steel, M8 Rod Gas Spring Force What happens to the forces when the gas spring mounting position is altered? Gas spring force (f1) = mass of lid x centre of gravity / radius of force x number of springs. Do you want to calculate a gas spring (also know as gas strut) for your application (lid, hatch, folding bed, etc.)?. Gas strut force calculation a gas. Gas Spring Force.
From www.force4.co.uk
Force 4 Telescopic Gas Spring Force 4 Chandlery Gas Spring Force What happens to the forces when the gas spring mounting position is altered? Gas spring force (f1) = mass of lid x centre of gravity / radius of force x number of springs. Configure your gas strut yourself with our gas spring force calculator. Enter the values of weight, w (n) in newton metre applied to the gas spring, distance,. Gas Spring Force.
From www.lesjoforsab.com
Technical information about gas springs Lesjöfors Gas Spring Force Configure your gas strut yourself with our gas spring force calculator. Do you want to calculate a gas spring (also know as gas strut) for your application (lid, hatch, folding bed, etc.)?. Gas spring force (f1) = mass of lid x centre of gravity / radius of force x number of springs. What happens to the forces when the gas. Gas Spring Force.