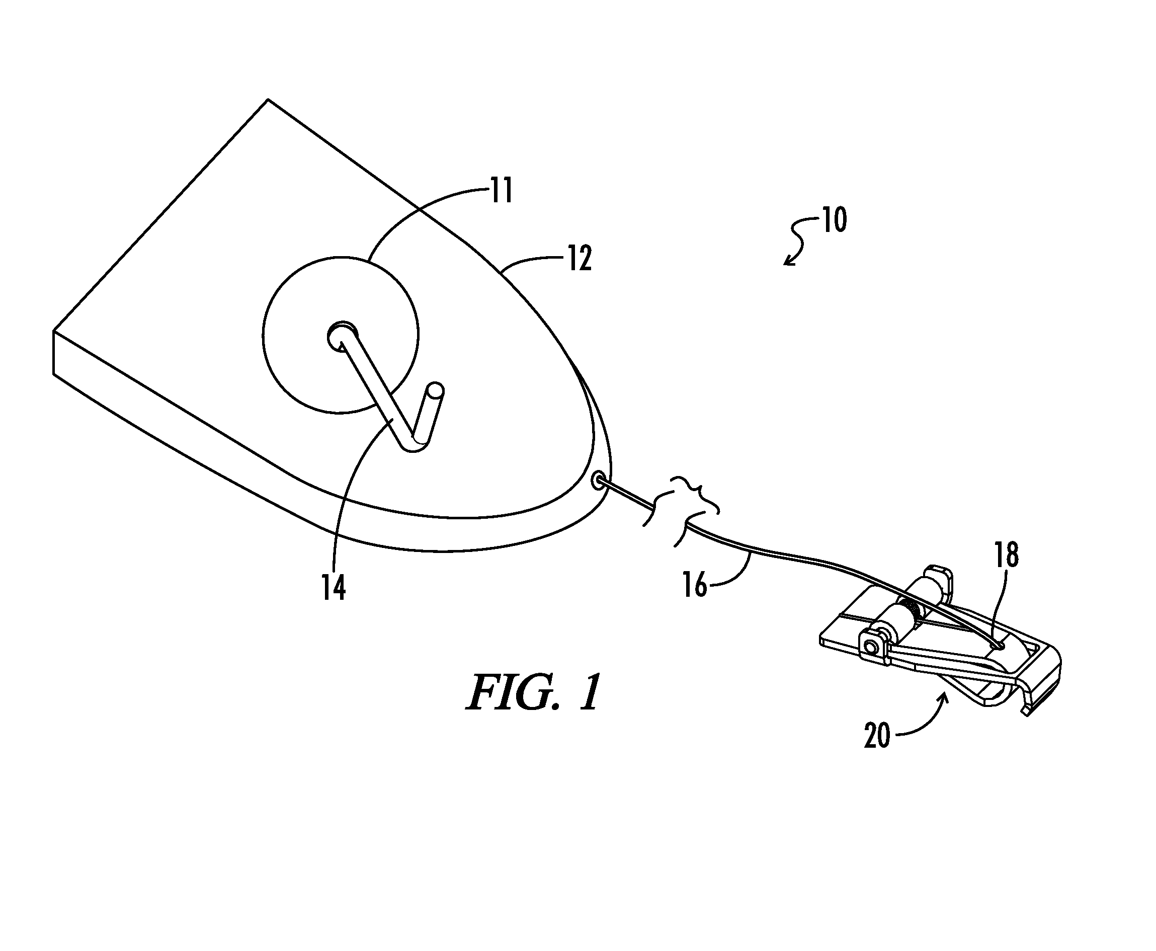
How To Draw A Chalk Line . — the techniques you use for your drawings will help add depth and character to your work. Learn how to use this marking device at howstuffworks. When you no longer need the guide, you can. It is that easy to use a chalk line, but there are a few things that have to be kept in mind while using the chalk line correctly in order to fulfill the task in a. a chalk line makes it easy for anyone to draw a long, straight line. • how to draw dotted. — a very good tutorial i should of watched before hand: — a chalk line is a quick and accurate way to mark a guideline without using a pencil and straight edge. — touch the chalk to the board, and pull the chalk downwards, while holding it at the same angle \(\theta\). — a chalk line is a remarkably simple yet essential tool used predominantly in construction and woodworking fields. It is designed to help draw long, straight lines on relatively flat surfaces…
from www.mtcopeland.com
— a chalk line is a remarkably simple yet essential tool used predominantly in construction and woodworking fields. — a very good tutorial i should of watched before hand: It is designed to help draw long, straight lines on relatively flat surfaces… • how to draw dotted. — a chalk line is a quick and accurate way to mark a guideline without using a pencil and straight edge. It is that easy to use a chalk line, but there are a few things that have to be kept in mind while using the chalk line correctly in order to fulfill the task in a. — the techniques you use for your drawings will help add depth and character to your work. — touch the chalk to the board, and pull the chalk downwards, while holding it at the same angle \(\theta\). When you no longer need the guide, you can. Learn how to use this marking device at howstuffworks.
How to Use a Chalk Line With Video Tutorial
How To Draw A Chalk Line • how to draw dotted. — a chalk line is a remarkably simple yet essential tool used predominantly in construction and woodworking fields. — a chalk line is a quick and accurate way to mark a guideline without using a pencil and straight edge. It is that easy to use a chalk line, but there are a few things that have to be kept in mind while using the chalk line correctly in order to fulfill the task in a. • how to draw dotted. a chalk line makes it easy for anyone to draw a long, straight line. It is designed to help draw long, straight lines on relatively flat surfaces… — the techniques you use for your drawings will help add depth and character to your work. When you no longer need the guide, you can. — touch the chalk to the board, and pull the chalk downwards, while holding it at the same angle \(\theta\). — a very good tutorial i should of watched before hand: Learn how to use this marking device at howstuffworks.
From www.vectorstock.com
Chalked handmade lines chalk hand drawn Royalty Free Vector How To Draw A Chalk Line — a very good tutorial i should of watched before hand: — touch the chalk to the board, and pull the chalk downwards, while holding it at the same angle \(\theta\). — the techniques you use for your drawings will help add depth and character to your work. It is that easy to use a chalk line,. How To Draw A Chalk Line.
From paintingvalley.com
Chalk Line Drawing at Explore collection of Chalk How To Draw A Chalk Line — a chalk line is a quick and accurate way to mark a guideline without using a pencil and straight edge. — the techniques you use for your drawings will help add depth and character to your work. It is designed to help draw long, straight lines on relatively flat surfaces… Learn how to use this marking device. How To Draw A Chalk Line.
From helloartsy.com
How to Draw Chalk HelloArtsy How To Draw A Chalk Line Learn how to use this marking device at howstuffworks. — a very good tutorial i should of watched before hand: • how to draw dotted. a chalk line makes it easy for anyone to draw a long, straight line. It is designed to help draw long, straight lines on relatively flat surfaces… — touch the chalk to. How To Draw A Chalk Line.
From finwise.edu.vn
List 94+ Pictures Easy Pictures To Draw With Chalk Sharp How To Draw A Chalk Line It is designed to help draw long, straight lines on relatively flat surfaces… • how to draw dotted. Learn how to use this marking device at howstuffworks. It is that easy to use a chalk line, but there are a few things that have to be kept in mind while using the chalk line correctly in order to fulfill the. How To Draw A Chalk Line.
From paintingvalley.com
Chalk Line Drawing at Explore collection of Chalk How To Draw A Chalk Line a chalk line makes it easy for anyone to draw a long, straight line. Learn how to use this marking device at howstuffworks. It is designed to help draw long, straight lines on relatively flat surfaces… • how to draw dotted. — a chalk line is a quick and accurate way to mark a guideline without using a. How To Draw A Chalk Line.
From www.youtube.com
START LINE Putting Chalk Line YouTube How To Draw A Chalk Line Learn how to use this marking device at howstuffworks. — a chalk line is a quick and accurate way to mark a guideline without using a pencil and straight edge. • how to draw dotted. a chalk line makes it easy for anyone to draw a long, straight line. — a very good tutorial i should of. How To Draw A Chalk Line.
From helloartsy.com
How to Draw Chalk HelloArtsy How To Draw A Chalk Line — a chalk line is a quick and accurate way to mark a guideline without using a pencil and straight edge. a chalk line makes it easy for anyone to draw a long, straight line. It is designed to help draw long, straight lines on relatively flat surfaces… — a chalk line is a remarkably simple yet. How To Draw A Chalk Line.
From www.alamy.com
Pencil hand drawn lines. Sketch scribbles collection dividers chalk How To Draw A Chalk Line It is that easy to use a chalk line, but there are a few things that have to be kept in mind while using the chalk line correctly in order to fulfill the task in a. — a very good tutorial i should of watched before hand: — the techniques you use for your drawings will help add. How To Draw A Chalk Line.
From www.mtcopeland.com
How to Use a Chalk Line With Video Tutorial How To Draw A Chalk Line — the techniques you use for your drawings will help add depth and character to your work. It is designed to help draw long, straight lines on relatively flat surfaces… It is that easy to use a chalk line, but there are a few things that have to be kept in mind while using the chalk line correctly in. How To Draw A Chalk Line.
From www.mtcopeland.com
How to Use a Chalk Line With Video Tutorial How To Draw A Chalk Line — the techniques you use for your drawings will help add depth and character to your work. — a chalk line is a quick and accurate way to mark a guideline without using a pencil and straight edge. — touch the chalk to the board, and pull the chalk downwards, while holding it at the same angle. How To Draw A Chalk Line.
From www.popsugar.com
Draw a Chalk Line How to Get Rid of Ants in the Kitchen POPSUGAR How To Draw A Chalk Line • how to draw dotted. When you no longer need the guide, you can. — the techniques you use for your drawings will help add depth and character to your work. — touch the chalk to the board, and pull the chalk downwards, while holding it at the same angle \(\theta\). — a chalk line is a. How To Draw A Chalk Line.
From www.diydoctor.org.uk
How to Use a Chalk Line DIY Doctor How To Draw A Chalk Line — touch the chalk to the board, and pull the chalk downwards, while holding it at the same angle \(\theta\). — a chalk line is a quick and accurate way to mark a guideline without using a pencil and straight edge. — the techniques you use for your drawings will help add depth and character to your. How To Draw A Chalk Line.
From theawesomer.com
Learning to Draw Dotted Chalk Lines How To Draw A Chalk Line — touch the chalk to the board, and pull the chalk downwards, while holding it at the same angle \(\theta\). — a chalk line is a remarkably simple yet essential tool used predominantly in construction and woodworking fields. — the techniques you use for your drawings will help add depth and character to your work. It is. How To Draw A Chalk Line.
From www.youtube.com
How To Use a Chalk Line Tips and Tricks YouTube How To Draw A Chalk Line • how to draw dotted. — the techniques you use for your drawings will help add depth and character to your work. — a chalk line is a remarkably simple yet essential tool used predominantly in construction and woodworking fields. — a chalk line is a quick and accurate way to mark a guideline without using a. How To Draw A Chalk Line.
From www.kidsartncraft.com
Easy Chalk Drawing on Board Beginner Chalk Drawing For Children How To Draw A Chalk Line — a chalk line is a quick and accurate way to mark a guideline without using a pencil and straight edge. It is that easy to use a chalk line, but there are a few things that have to be kept in mind while using the chalk line correctly in order to fulfill the task in a. It is. How To Draw A Chalk Line.
From www.pinterest.co.uk
Never Ending Line Chalk drawing on Black Paper Chalk drawings, Black How To Draw A Chalk Line It is that easy to use a chalk line, but there are a few things that have to be kept in mind while using the chalk line correctly in order to fulfill the task in a. • how to draw dotted. Learn how to use this marking device at howstuffworks. — the techniques you use for your drawings will. How To Draw A Chalk Line.
From www.pinterest.com
Vector Chalk Lines and Strokes. Hand drawn illustration Sponsored , How To Draw A Chalk Line a chalk line makes it easy for anyone to draw a long, straight line. It is that easy to use a chalk line, but there are a few things that have to be kept in mind while using the chalk line correctly in order to fulfill the task in a. When you no longer need the guide, you can.. How To Draw A Chalk Line.
From mitadmissions.org
how to draw dotted lines on chalkboards, mit style MIT Admissions How To Draw A Chalk Line — the techniques you use for your drawings will help add depth and character to your work. • how to draw dotted. — a chalk line is a quick and accurate way to mark a guideline without using a pencil and straight edge. a chalk line makes it easy for anyone to draw a long, straight line.. How To Draw A Chalk Line.
From www.dreamstime.com
Hand Drawing Sketch of Black Chalk Line Stock Illustration How To Draw A Chalk Line Learn how to use this marking device at howstuffworks. — a chalk line is a remarkably simple yet essential tool used predominantly in construction and woodworking fields. — the techniques you use for your drawings will help add depth and character to your work. — a chalk line is a quick and accurate way to mark a. How To Draw A Chalk Line.
From paintingvalley.com
Chalk Line Drawing at Explore collection of Chalk How To Draw A Chalk Line Learn how to use this marking device at howstuffworks. — a very good tutorial i should of watched before hand: — the techniques you use for your drawings will help add depth and character to your work. When you no longer need the guide, you can. It is designed to help draw long, straight lines on relatively flat. How To Draw A Chalk Line.
From www.vexels.com
Chalk Lines Illustration Vector Download How To Draw A Chalk Line It is designed to help draw long, straight lines on relatively flat surfaces… a chalk line makes it easy for anyone to draw a long, straight line. It is that easy to use a chalk line, but there are a few things that have to be kept in mind while using the chalk line correctly in order to fulfill. How To Draw A Chalk Line.
From paintingvalley.com
Chalk Line Drawing at Explore collection of Chalk How To Draw A Chalk Line When you no longer need the guide, you can. — a chalk line is a quick and accurate way to mark a guideline without using a pencil and straight edge. • how to draw dotted. — touch the chalk to the board, and pull the chalk downwards, while holding it at the same angle \(\theta\). — a. How To Draw A Chalk Line.
From dreamdesigndiy.com
How to Create Sharp Chalk Lines Dream Design DIY How To Draw A Chalk Line a chalk line makes it easy for anyone to draw a long, straight line. — a very good tutorial i should of watched before hand: Learn how to use this marking device at howstuffworks. — touch the chalk to the board, and pull the chalk downwards, while holding it at the same angle \(\theta\). — the. How To Draw A Chalk Line.
From www.youtube.com
How to Use a Chalk Line DIY YouTube How To Draw A Chalk Line It is designed to help draw long, straight lines on relatively flat surfaces… — a chalk line is a quick and accurate way to mark a guideline without using a pencil and straight edge. — the techniques you use for your drawings will help add depth and character to your work. a chalk line makes it easy. How To Draw A Chalk Line.
From www.youtube.com
Chalk Line Basics How to use a Chalk Line. YouTube How To Draw A Chalk Line • how to draw dotted. — touch the chalk to the board, and pull the chalk downwards, while holding it at the same angle \(\theta\). Learn how to use this marking device at howstuffworks. — a chalk line is a remarkably simple yet essential tool used predominantly in construction and woodworking fields. It is designed to help draw. How To Draw A Chalk Line.
From www.vectorstock.com
Chalk lines Chalk hand drawn strokes Royalty Free Vector How To Draw A Chalk Line Learn how to use this marking device at howstuffworks. It is designed to help draw long, straight lines on relatively flat surfaces… It is that easy to use a chalk line, but there are a few things that have to be kept in mind while using the chalk line correctly in order to fulfill the task in a. a. How To Draw A Chalk Line.
From www.dreamstime.com
Hand Drawing Chalk Line On Chalkboard Stock Photo Image of copy How To Draw A Chalk Line a chalk line makes it easy for anyone to draw a long, straight line. Learn how to use this marking device at howstuffworks. It is that easy to use a chalk line, but there are a few things that have to be kept in mind while using the chalk line correctly in order to fulfill the task in a.. How To Draw A Chalk Line.
From www.familyhandyman.com
How To Use A Chalk Line The Family Handyman How To Draw A Chalk Line When you no longer need the guide, you can. — touch the chalk to the board, and pull the chalk downwards, while holding it at the same angle \(\theta\). • how to draw dotted. Learn how to use this marking device at howstuffworks. It is designed to help draw long, straight lines on relatively flat surfaces… — a. How To Draw A Chalk Line.
From www.youtube.com
How Do I Use A Chalk Line? DIY Basics YouTube How To Draw A Chalk Line — the techniques you use for your drawings will help add depth and character to your work. — a chalk line is a remarkably simple yet essential tool used predominantly in construction and woodworking fields. — touch the chalk to the board, and pull the chalk downwards, while holding it at the same angle \(\theta\). —. How To Draw A Chalk Line.
From www.familyhandyman.com
How to Use a Chalk Line The Family Handyman How To Draw A Chalk Line When you no longer need the guide, you can. — a chalk line is a quick and accurate way to mark a guideline without using a pencil and straight edge. It is designed to help draw long, straight lines on relatively flat surfaces… — touch the chalk to the board, and pull the chalk downwards, while holding it. How To Draw A Chalk Line.
From www.youtube.com
How to Use a Chalk Line Woodworking YouTube How To Draw A Chalk Line It is designed to help draw long, straight lines on relatively flat surfaces… Learn how to use this marking device at howstuffworks. — a very good tutorial i should of watched before hand: a chalk line makes it easy for anyone to draw a long, straight line. — a chalk line is a remarkably simple yet essential. How To Draw A Chalk Line.
From www.alamy.com
Vector chalked handmade lines. Chalk hand drawn strokes. Vector How To Draw A Chalk Line — a very good tutorial i should of watched before hand: It is designed to help draw long, straight lines on relatively flat surfaces… — the techniques you use for your drawings will help add depth and character to your work. It is that easy to use a chalk line, but there are a few things that have. How To Draw A Chalk Line.
From www.youtube.com
How to use a chalk line YouTube How To Draw A Chalk Line Learn how to use this marking device at howstuffworks. — touch the chalk to the board, and pull the chalk downwards, while holding it at the same angle \(\theta\). — a chalk line is a remarkably simple yet essential tool used predominantly in construction and woodworking fields. — a very good tutorial i should of watched before. How To Draw A Chalk Line.
From paintingvalley.com
Chalk Line Drawing at Explore collection of Chalk How To Draw A Chalk Line It is that easy to use a chalk line, but there are a few things that have to be kept in mind while using the chalk line correctly in order to fulfill the task in a. — the techniques you use for your drawings will help add depth and character to your work. When you no longer need the. How To Draw A Chalk Line.
From www.pinterest.se
How To Use A Chalk Line Chalk, Line, Being used How To Draw A Chalk Line It is designed to help draw long, straight lines on relatively flat surfaces… It is that easy to use a chalk line, but there are a few things that have to be kept in mind while using the chalk line correctly in order to fulfill the task in a. — touch the chalk to the board, and pull the. How To Draw A Chalk Line.