Waterless Flushing System . Exposed urinal flush controls are suitable for mains and battery operation and can be effortlessly combined with a wide range of. Urine flows into the drain insert of the ecotrap®. Waterless toilet flushing systems are an innovative approach to sanitation and waste management, developed to conserve water and provide alternatives to traditional. Although it may seem hard to believe, compared to traditional flushing urinals, a waterless system reduces. Here is how it works: Inside of the ecotrap the urine moves through a floating layer of proprietary immiscible blueseal® liquid,. A waterless toilet is a sustainable and environmentally friendly alternative to traditional flushing toilets that do not use water for waste. If you're moving to the backwoods and don't want to buy a septic system, a waterless toilet could work. A waterless toilet works to remove waste from your cabin, tiny house, or remote site without the need for a water supply, sewer system, or even electricity and are often called.
from www.pinterest.com
A waterless toilet is a sustainable and environmentally friendly alternative to traditional flushing toilets that do not use water for waste. Urine flows into the drain insert of the ecotrap®. Although it may seem hard to believe, compared to traditional flushing urinals, a waterless system reduces. Here is how it works: A waterless toilet works to remove waste from your cabin, tiny house, or remote site without the need for a water supply, sewer system, or even electricity and are often called. If you're moving to the backwoods and don't want to buy a septic system, a waterless toilet could work. Waterless toilet flushing systems are an innovative approach to sanitation and waste management, developed to conserve water and provide alternatives to traditional. Exposed urinal flush controls are suitable for mains and battery operation and can be effortlessly combined with a wide range of. Inside of the ecotrap the urine moves through a floating layer of proprietary immiscible blueseal® liquid,.
waterless dry flush toilet system by ecosan manufacturers of indoor and
Waterless Flushing System A waterless toilet works to remove waste from your cabin, tiny house, or remote site without the need for a water supply, sewer system, or even electricity and are often called. Waterless toilet flushing systems are an innovative approach to sanitation and waste management, developed to conserve water and provide alternatives to traditional. Urine flows into the drain insert of the ecotrap®. Exposed urinal flush controls are suitable for mains and battery operation and can be effortlessly combined with a wide range of. A waterless toilet is a sustainable and environmentally friendly alternative to traditional flushing toilets that do not use water for waste. Inside of the ecotrap the urine moves through a floating layer of proprietary immiscible blueseal® liquid,. Here is how it works: If you're moving to the backwoods and don't want to buy a septic system, a waterless toilet could work. Although it may seem hard to believe, compared to traditional flushing urinals, a waterless system reduces. A waterless toilet works to remove waste from your cabin, tiny house, or remote site without the need for a water supply, sewer system, or even electricity and are often called.
From www.cloveraardklop.co.za
How Waterless Urinals Can Cut Costs and Conserve Water Clover Aardklop Waterless Flushing System Although it may seem hard to believe, compared to traditional flushing urinals, a waterless system reduces. Inside of the ecotrap the urine moves through a floating layer of proprietary immiscible blueseal® liquid,. A waterless toilet works to remove waste from your cabin, tiny house, or remote site without the need for a water supply, sewer system, or even electricity and. Waterless Flushing System.
From www.grainger.com
WATERLESS NOFLUSH URINAL Waterless Urinal Sealant, Fits Brand Waterless Flushing System Although it may seem hard to believe, compared to traditional flushing urinals, a waterless system reduces. Exposed urinal flush controls are suitable for mains and battery operation and can be effortlessly combined with a wide range of. Waterless toilet flushing systems are an innovative approach to sanitation and waste management, developed to conserve water and provide alternatives to traditional. Urine. Waterless Flushing System.
From www.homedepot.com
SunMar Centrex 1000 Electric Waterless Ultra Low Water Flush Central Waterless Flushing System Waterless toilet flushing systems are an innovative approach to sanitation and waste management, developed to conserve water and provide alternatives to traditional. Here is how it works: If you're moving to the backwoods and don't want to buy a septic system, a waterless toilet could work. Although it may seem hard to believe, compared to traditional flushing urinals, a waterless. Waterless Flushing System.
From www.doityourselfrv.com
Meet The Dry Flush Waterless Toilet Without The Ick Factor Waterless Flushing System Although it may seem hard to believe, compared to traditional flushing urinals, a waterless system reduces. A waterless toilet works to remove waste from your cabin, tiny house, or remote site without the need for a water supply, sewer system, or even electricity and are often called. If you're moving to the backwoods and don't want to buy a septic. Waterless Flushing System.
From www.thebusinessresearchcompany.com
Flushing Systems Market Growth, Size, Trends, Share, Report 20242033 Waterless Flushing System Here is how it works: A waterless toilet works to remove waste from your cabin, tiny house, or remote site without the need for a water supply, sewer system, or even electricity and are often called. Exposed urinal flush controls are suitable for mains and battery operation and can be effortlessly combined with a wide range of. Waterless toilet flushing. Waterless Flushing System.
From www.homedepot.com
SunMar Centrex 3000 NonElectric Waterless Ultra High Capacity Central Waterless Flushing System Although it may seem hard to believe, compared to traditional flushing urinals, a waterless system reduces. Urine flows into the drain insert of the ecotrap®. A waterless toilet works to remove waste from your cabin, tiny house, or remote site without the need for a water supply, sewer system, or even electricity and are often called. Here is how it. Waterless Flushing System.
From www.grainger.com
WATERLESS NOFLUSH URINAL Vitreous China, White, Waterless Urinal, Wall Waterless Flushing System If you're moving to the backwoods and don't want to buy a septic system, a waterless toilet could work. Inside of the ecotrap the urine moves through a floating layer of proprietary immiscible blueseal® liquid,. A waterless toilet is a sustainable and environmentally friendly alternative to traditional flushing toilets that do not use water for waste. A waterless toilet works. Waterless Flushing System.
From www.grainger.com
WATERLESS NOFLUSH URINAL High Performance Composite/Fiberglass, White Waterless Flushing System If you're moving to the backwoods and don't want to buy a septic system, a waterless toilet could work. A waterless toilet works to remove waste from your cabin, tiny house, or remote site without the need for a water supply, sewer system, or even electricity and are often called. Urine flows into the drain insert of the ecotrap®. Here. Waterless Flushing System.
From www.pinterest.com
waterless dry flush toilet system by ecosan manufacturers of indoor and Waterless Flushing System A waterless toilet is a sustainable and environmentally friendly alternative to traditional flushing toilets that do not use water for waste. Exposed urinal flush controls are suitable for mains and battery operation and can be effortlessly combined with a wide range of. Waterless toilet flushing systems are an innovative approach to sanitation and waste management, developed to conserve water and. Waterless Flushing System.
From www.grainger.com
How Do Waterless Urinals Work? Grainger KnowHow Waterless Flushing System Waterless toilet flushing systems are an innovative approach to sanitation and waste management, developed to conserve water and provide alternatives to traditional. Here is how it works: Exposed urinal flush controls are suitable for mains and battery operation and can be effortlessly combined with a wide range of. A waterless toilet works to remove waste from your cabin, tiny house,. Waterless Flushing System.
From www.greenbuildingstore.co.uk
Water Saving Urinals Information Hub Waterless Flushing System Waterless toilet flushing systems are an innovative approach to sanitation and waste management, developed to conserve water and provide alternatives to traditional. Although it may seem hard to believe, compared to traditional flushing urinals, a waterless system reduces. Here is how it works: Exposed urinal flush controls are suitable for mains and battery operation and can be effortlessly combined with. Waterless Flushing System.
From www.homedepot.com
American Standard Waterless Urinal Kit6156.100.020 The Home Depot Waterless Flushing System A waterless toilet is a sustainable and environmentally friendly alternative to traditional flushing toilets that do not use water for waste. Exposed urinal flush controls are suitable for mains and battery operation and can be effortlessly combined with a wide range of. If you're moving to the backwoods and don't want to buy a septic system, a waterless toilet could. Waterless Flushing System.
From www.waterless.com
Waterless/Water free Urinals System Waterless Co Inc. Waterless Flushing System A waterless toilet works to remove waste from your cabin, tiny house, or remote site without the need for a water supply, sewer system, or even electricity and are often called. Exposed urinal flush controls are suitable for mains and battery operation and can be effortlessly combined with a wide range of. Although it may seem hard to believe, compared. Waterless Flushing System.
From blog.ekameco.com
Waterless Urinals vs Flush Urinals How Do They Differ by Aishwarya Waterless Flushing System Exposed urinal flush controls are suitable for mains and battery operation and can be effortlessly combined with a wide range of. Although it may seem hard to believe, compared to traditional flushing urinals, a waterless system reduces. A waterless toilet is a sustainable and environmentally friendly alternative to traditional flushing toilets that do not use water for waste. A waterless. Waterless Flushing System.
From todayspatent.com
TODAY’S PATENT WATERLESS FLUSH TOILET SYSTEM Patent Blog Waterless Flushing System Inside of the ecotrap the urine moves through a floating layer of proprietary immiscible blueseal® liquid,. If you're moving to the backwoods and don't want to buy a septic system, a waterless toilet could work. A waterless toilet is a sustainable and environmentally friendly alternative to traditional flushing toilets that do not use water for waste. A waterless toilet works. Waterless Flushing System.
From www.waterless.com
Blog NoFlush Waterless Urinal System Waterless Co Inc. Waterless Flushing System A waterless toilet is a sustainable and environmentally friendly alternative to traditional flushing toilets that do not use water for waste. Waterless toilet flushing systems are an innovative approach to sanitation and waste management, developed to conserve water and provide alternatives to traditional. Inside of the ecotrap the urine moves through a floating layer of proprietary immiscible blueseal® liquid,. If. Waterless Flushing System.
From www.sloan.com
Pressureassisted Toilets Sloan Waterless Flushing System If you're moving to the backwoods and don't want to buy a septic system, a waterless toilet could work. Waterless toilet flushing systems are an innovative approach to sanitation and waste management, developed to conserve water and provide alternatives to traditional. Although it may seem hard to believe, compared to traditional flushing urinals, a waterless system reduces. Here is how. Waterless Flushing System.
From www.primalsurvivor.net
What Is a Dry Flush Toilet? Your Complete Guide Waterless Flushing System A waterless toilet is a sustainable and environmentally friendly alternative to traditional flushing toilets that do not use water for waste. Inside of the ecotrap the urine moves through a floating layer of proprietary immiscible blueseal® liquid,. If you're moving to the backwoods and don't want to buy a septic system, a waterless toilet could work. Although it may seem. Waterless Flushing System.
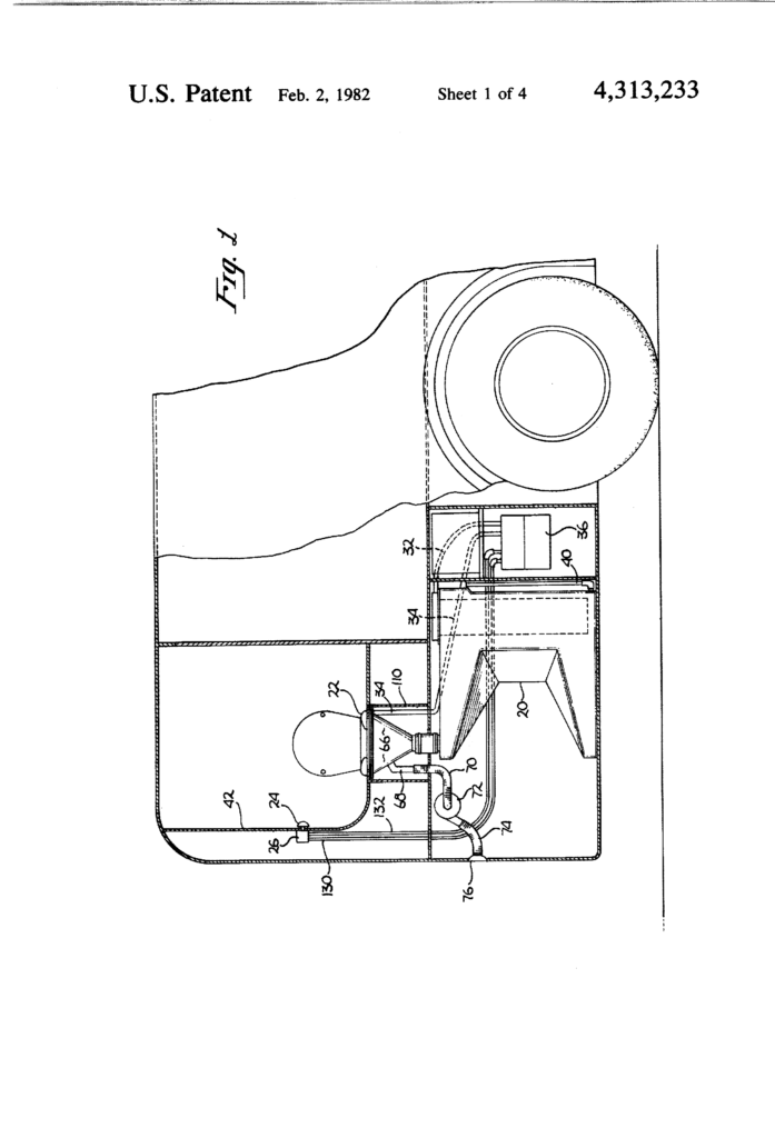
From www.google.ca
Patent US4313233 Waterless flush toilet system Google Patents Waterless Flushing System Waterless toilet flushing systems are an innovative approach to sanitation and waste management, developed to conserve water and provide alternatives to traditional. If you're moving to the backwoods and don't want to buy a septic system, a waterless toilet could work. Here is how it works: Urine flows into the drain insert of the ecotrap®. A waterless toilet works to. Waterless Flushing System.
From www.architectureanddesign.com.au
Zurn Flushing Systems & Waterfree Urinals Architecture And Design Waterless Flushing System Inside of the ecotrap the urine moves through a floating layer of proprietary immiscible blueseal® liquid,. A waterless toilet works to remove waste from your cabin, tiny house, or remote site without the need for a water supply, sewer system, or even electricity and are often called. If you're moving to the backwoods and don't want to buy a septic. Waterless Flushing System.
From natsol.co.uk
Waterless urinals introducing the AirFlush NatSol Waterless Flushing System Inside of the ecotrap the urine moves through a floating layer of proprietary immiscible blueseal® liquid,. Here is how it works: Exposed urinal flush controls are suitable for mains and battery operation and can be effortlessly combined with a wide range of. Urine flows into the drain insert of the ecotrap®. A waterless toilet works to remove waste from your. Waterless Flushing System.
From www.waterless-toilet.com
7 Best Composting Dry Flush toilets WaterLess Toilet Waterless Flushing System A waterless toilet is a sustainable and environmentally friendly alternative to traditional flushing toilets that do not use water for waste. A waterless toilet works to remove waste from your cabin, tiny house, or remote site without the need for a water supply, sewer system, or even electricity and are often called. Waterless toilet flushing systems are an innovative approach. Waterless Flushing System.
From toilethaven.com
3 Ways to Adjust a Dual Flush Toilet Water Level Toilet Haven Waterless Flushing System If you're moving to the backwoods and don't want to buy a septic system, a waterless toilet could work. A waterless toilet is a sustainable and environmentally friendly alternative to traditional flushing toilets that do not use water for waste. Here is how it works: Waterless toilet flushing systems are an innovative approach to sanitation and waste management, developed to. Waterless Flushing System.
From www.biorelief.com
Waterless Touch Free Flush System Touchless Restroom BioRelief Waterless Flushing System Exposed urinal flush controls are suitable for mains and battery operation and can be effortlessly combined with a wide range of. Inside of the ecotrap the urine moves through a floating layer of proprietary immiscible blueseal® liquid,. Urine flows into the drain insert of the ecotrap®. If you're moving to the backwoods and don't want to buy a septic system,. Waterless Flushing System.
From www.homedepot.com
SunMar Centrex 2000 Electric Waterless High Capacity Central Waterless Flushing System If you're moving to the backwoods and don't want to buy a septic system, a waterless toilet could work. Here is how it works: Waterless toilet flushing systems are an innovative approach to sanitation and waste management, developed to conserve water and provide alternatives to traditional. Although it may seem hard to believe, compared to traditional flushing urinals, a waterless. Waterless Flushing System.
From www.lazada.com.my
(Bundle of 2) BIOTABS® Urinal Deodorizer/Drain Maintainer 115gm Stop Waterless Flushing System A waterless toilet works to remove waste from your cabin, tiny house, or remote site without the need for a water supply, sewer system, or even electricity and are often called. Urine flows into the drain insert of the ecotrap®. Although it may seem hard to believe, compared to traditional flushing urinals, a waterless system reduces. A waterless toilet is. Waterless Flushing System.
From www.waterless.com
Waterless Urinals Cleaning and Maintenance Procedures Waterless Co Inc. Waterless Flushing System If you're moving to the backwoods and don't want to buy a septic system, a waterless toilet could work. Waterless toilet flushing systems are an innovative approach to sanitation and waste management, developed to conserve water and provide alternatives to traditional. Here is how it works: Exposed urinal flush controls are suitable for mains and battery operation and can be. Waterless Flushing System.
From www.zoro.com
Guide to Waterless Urinals Waterless Flushing System A waterless toilet is a sustainable and environmentally friendly alternative to traditional flushing toilets that do not use water for waste. Exposed urinal flush controls are suitable for mains and battery operation and can be effortlessly combined with a wide range of. Inside of the ecotrap the urine moves through a floating layer of proprietary immiscible blueseal® liquid,. A waterless. Waterless Flushing System.
From motaclan.com
Evans Waterless Cooling Motaclan Limited Waterless Flushing System Exposed urinal flush controls are suitable for mains and battery operation and can be effortlessly combined with a wide range of. A waterless toilet works to remove waste from your cabin, tiny house, or remote site without the need for a water supply, sewer system, or even electricity and are often called. If you're moving to the backwoods and don't. Waterless Flushing System.
From www.designindaba.com
Waterless toilets designed for rural India Design Indaba Waterless Flushing System Although it may seem hard to believe, compared to traditional flushing urinals, a waterless system reduces. Here is how it works: Waterless toilet flushing systems are an innovative approach to sanitation and waste management, developed to conserve water and provide alternatives to traditional. A waterless toilet works to remove waste from your cabin, tiny house, or remote site without the. Waterless Flushing System.
From www.yourhome.gov.au
Waterless toilets YourHome Waterless Flushing System Here is how it works: Although it may seem hard to believe, compared to traditional flushing urinals, a waterless system reduces. A waterless toilet is a sustainable and environmentally friendly alternative to traditional flushing toilets that do not use water for waste. Urine flows into the drain insert of the ecotrap®. Inside of the ecotrap the urine moves through a. Waterless Flushing System.
From schematicpartjillets.z14.web.core.windows.net
Diagram Of A Toilet Bowl Insides Waterless Flushing System Although it may seem hard to believe, compared to traditional flushing urinals, a waterless system reduces. A waterless toilet is a sustainable and environmentally friendly alternative to traditional flushing toilets that do not use water for waste. Exposed urinal flush controls are suitable for mains and battery operation and can be effortlessly combined with a wide range of. If you're. Waterless Flushing System.
From www.desertcart.ae
Buy Toilet, OnePiece, LDPE, White, Waterless, Portable, Self Contained Waterless Flushing System Here is how it works: If you're moving to the backwoods and don't want to buy a septic system, a waterless toilet could work. A waterless toilet works to remove waste from your cabin, tiny house, or remote site without the need for a water supply, sewer system, or even electricity and are often called. Urine flows into the drain. Waterless Flushing System.
From www.google.ca
Patent US4313233 Waterless flush toilet system Google Patents Waterless Flushing System Exposed urinal flush controls are suitable for mains and battery operation and can be effortlessly combined with a wide range of. If you're moving to the backwoods and don't want to buy a septic system, a waterless toilet could work. Inside of the ecotrap the urine moves through a floating layer of proprietary immiscible blueseal® liquid,. A waterless toilet works. Waterless Flushing System.
From toiletology.com
Waterless Toilets Toiletology Waterless Flushing System Waterless toilet flushing systems are an innovative approach to sanitation and waste management, developed to conserve water and provide alternatives to traditional. Urine flows into the drain insert of the ecotrap®. Exposed urinal flush controls are suitable for mains and battery operation and can be effortlessly combined with a wide range of. Here is how it works: Inside of the. Waterless Flushing System.