Jet 14 Deluxe Bandsaw . Deluxe band saw shown with optional fence is designed to meet the needs of today's most demanding. Jet deluxe pro band saw kit is a complete tool that comes with the saw and a 15”x15” stand. This stand includes a storage shelf and an easily accessible door. See the price on amazon! The jet 14” sfx steel frame bandsaw redefines the line between functionality and affordability. The jet 14” bandsaw also features over 13 inches of resaw capacity, and. This saw is equipped with jet’s easily adjustable blade guide system, makes adjustments quick and simple. The large, cast iron table features 360 sq.
from www.facebook.com
See the price on amazon! This stand includes a storage shelf and an easily accessible door. The jet 14” sfx steel frame bandsaw redefines the line between functionality and affordability. Jet deluxe pro band saw kit is a complete tool that comes with the saw and a 15”x15” stand. This saw is equipped with jet’s easily adjustable blade guide system, makes adjustments quick and simple. The large, cast iron table features 360 sq. The jet 14” bandsaw also features over 13 inches of resaw capacity, and. Deluxe band saw shown with optional fence is designed to meet the needs of today's most demanding.
JET 14" Deluxe Bandsaw Saws & Blades Royal Palm Beach, Florida
Jet 14 Deluxe Bandsaw This stand includes a storage shelf and an easily accessible door. Jet deluxe pro band saw kit is a complete tool that comes with the saw and a 15”x15” stand. Deluxe band saw shown with optional fence is designed to meet the needs of today's most demanding. See the price on amazon! The jet 14” sfx steel frame bandsaw redefines the line between functionality and affordability. This saw is equipped with jet’s easily adjustable blade guide system, makes adjustments quick and simple. The jet 14” bandsaw also features over 13 inches of resaw capacity, and. The large, cast iron table features 360 sq. This stand includes a storage shelf and an easily accessible door.
From www.woodworkingshop.com
Jet 14" Bandsaw Deluxe Pro JWBS14DXPRO Jet 14 Deluxe Bandsaw This saw is equipped with jet’s easily adjustable blade guide system, makes adjustments quick and simple. Deluxe band saw shown with optional fence is designed to meet the needs of today's most demanding. The jet 14” bandsaw also features over 13 inches of resaw capacity, and. The large, cast iron table features 360 sq. This stand includes a storage shelf. Jet 14 Deluxe Bandsaw.
From toolstoday.com
14" Deluxe Bandsaw Kit Jet JWBS14DXPRO High Resaw Capacity Jet 14 Deluxe Bandsaw The jet 14” bandsaw also features over 13 inches of resaw capacity, and. Deluxe band saw shown with optional fence is designed to meet the needs of today's most demanding. This stand includes a storage shelf and an easily accessible door. This saw is equipped with jet’s easily adjustable blade guide system, makes adjustments quick and simple. Jet deluxe pro. Jet 14 Deluxe Bandsaw.
From www.woodworkingshop.com
Jet 14" Bandsaw Deluxe Pro JWBS14DXPRO Jet 14 Deluxe Bandsaw This stand includes a storage shelf and an easily accessible door. This saw is equipped with jet’s easily adjustable blade guide system, makes adjustments quick and simple. The jet 14” sfx steel frame bandsaw redefines the line between functionality and affordability. The large, cast iron table features 360 sq. The jet 14” bandsaw also features over 13 inches of resaw. Jet 14 Deluxe Bandsaw.
From www.jmwood.com
JET 14" DELUXE PRO BANDSAW J.M. Wood Auction Company, Inc. Jet 14 Deluxe Bandsaw The jet 14” bandsaw also features over 13 inches of resaw capacity, and. See the price on amazon! This stand includes a storage shelf and an easily accessible door. This saw is equipped with jet’s easily adjustable blade guide system, makes adjustments quick and simple. Jet deluxe pro band saw kit is a complete tool that comes with the saw. Jet 14 Deluxe Bandsaw.
From www.woodworkingshop.com
Jet 14" Bandsaw Deluxe Pro JWBS14DXPRO Jet 14 Deluxe Bandsaw The jet 14” bandsaw also features over 13 inches of resaw capacity, and. Jet deluxe pro band saw kit is a complete tool that comes with the saw and a 15”x15” stand. This stand includes a storage shelf and an easily accessible door. The large, cast iron table features 360 sq. This saw is equipped with jet’s easily adjustable blade. Jet 14 Deluxe Bandsaw.
From toolstoday.com
14" Deluxe Bandsaw Kit Jet JWBS14DXPRO High Resaw Capacity Jet 14 Deluxe Bandsaw This stand includes a storage shelf and an easily accessible door. The large, cast iron table features 360 sq. Jet deluxe pro band saw kit is a complete tool that comes with the saw and a 15”x15” stand. The jet 14” sfx steel frame bandsaw redefines the line between functionality and affordability. The jet 14” bandsaw also features over 13. Jet 14 Deluxe Bandsaw.
From www.woodworkingshop.com
Jet 14" Bandsaw Deluxe Pro JWBS14DXPRO Jet 14 Deluxe Bandsaw Jet deluxe pro band saw kit is a complete tool that comes with the saw and a 15”x15” stand. The jet 14” sfx steel frame bandsaw redefines the line between functionality and affordability. The large, cast iron table features 360 sq. This saw is equipped with jet’s easily adjustable blade guide system, makes adjustments quick and simple. The jet 14”. Jet 14 Deluxe Bandsaw.
From www.youtube.com
JET JWBS14DXPRO 14Inch Deluxe Pro Band Saw Kit Review YouTube Jet 14 Deluxe Bandsaw This saw is equipped with jet’s easily adjustable blade guide system, makes adjustments quick and simple. The large, cast iron table features 360 sq. Jet deluxe pro band saw kit is a complete tool that comes with the saw and a 15”x15” stand. See the price on amazon! Deluxe band saw shown with optional fence is designed to meet the. Jet 14 Deluxe Bandsaw.
From jet.bandsaw.biz
Jet , 14” 710116K Deluxe Pro Bandsaw KitJWBS14DXPRO Jet 14 Deluxe Bandsaw This saw is equipped with jet’s easily adjustable blade guide system, makes adjustments quick and simple. Jet deluxe pro band saw kit is a complete tool that comes with the saw and a 15”x15” stand. The large, cast iron table features 360 sq. This stand includes a storage shelf and an easily accessible door. The jet 14” sfx steel frame. Jet 14 Deluxe Bandsaw.
From www.toolbarn.com
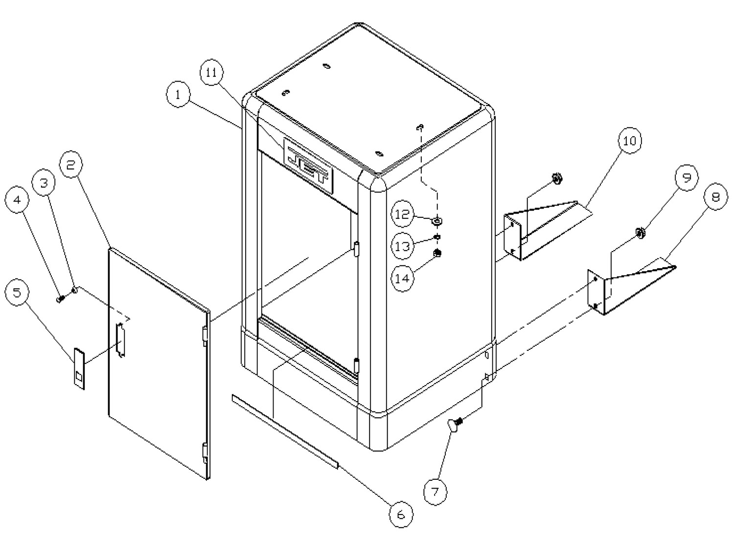
Jet Jwbs14Dxpro 14" Deluxe Pro Bandsaw Kit Model Schematic Parts Jet 14 Deluxe Bandsaw Jet deluxe pro band saw kit is a complete tool that comes with the saw and a 15”x15” stand. See the price on amazon! The jet 14” bandsaw also features over 13 inches of resaw capacity, and. This saw is equipped with jet’s easily adjustable blade guide system, makes adjustments quick and simple. The jet 14” sfx steel frame bandsaw. Jet 14 Deluxe Bandsaw.
From www.woodworkingshop.com
Jet 14" Bandsaw Deluxe Pro JWBS14DXPRO Jet 14 Deluxe Bandsaw This stand includes a storage shelf and an easily accessible door. The jet 14” bandsaw also features over 13 inches of resaw capacity, and. This saw is equipped with jet’s easily adjustable blade guide system, makes adjustments quick and simple. Jet deluxe pro band saw kit is a complete tool that comes with the saw and a 15”x15” stand. The. Jet 14 Deluxe Bandsaw.
From www.toolbarn.com
Jet Jwbs14Dxpro 14" Deluxe Pro Bandsaw Kit Model Schematic Parts Jet 14 Deluxe Bandsaw The jet 14” bandsaw also features over 13 inches of resaw capacity, and. See the price on amazon! The jet 14” sfx steel frame bandsaw redefines the line between functionality and affordability. The large, cast iron table features 360 sq. Deluxe band saw shown with optional fence is designed to meet the needs of today's most demanding. This saw is. Jet 14 Deluxe Bandsaw.
From www.finewoodworking.com
Jet JWBS14SF 14in. Bandsaw FineWoodworking Jet 14 Deluxe Bandsaw This saw is equipped with jet’s easily adjustable blade guide system, makes adjustments quick and simple. See the price on amazon! The large, cast iron table features 360 sq. Jet deluxe pro band saw kit is a complete tool that comes with the saw and a 15”x15” stand. Deluxe band saw shown with optional fence is designed to meet the. Jet 14 Deluxe Bandsaw.
From www.liveauctionworld.com
JET 14" WOODWORKING BANDSAW JWBS14CS Jet 14 Deluxe Bandsaw Deluxe band saw shown with optional fence is designed to meet the needs of today's most demanding. The large, cast iron table features 360 sq. The jet 14” bandsaw also features over 13 inches of resaw capacity, and. This stand includes a storage shelf and an easily accessible door. This saw is equipped with jet’s easily adjustable blade guide system,. Jet 14 Deluxe Bandsaw.
From toolstoday.com
14" Deluxe Bandsaw Kit Jet JWBS14DXPRO High Resaw Capacity Jet 14 Deluxe Bandsaw The large, cast iron table features 360 sq. The jet 14” sfx steel frame bandsaw redefines the line between functionality and affordability. Deluxe band saw shown with optional fence is designed to meet the needs of today's most demanding. See the price on amazon! Jet deluxe pro band saw kit is a complete tool that comes with the saw and. Jet 14 Deluxe Bandsaw.
From www.theindustrialdepot.com
JET 14" Deluxe Pro Bandsaw JET Woodworking Tools Jet 14 Deluxe Bandsaw See the price on amazon! The jet 14” sfx steel frame bandsaw redefines the line between functionality and affordability. This stand includes a storage shelf and an easily accessible door. This saw is equipped with jet’s easily adjustable blade guide system, makes adjustments quick and simple. The large, cast iron table features 360 sq. Jet deluxe pro band saw kit. Jet 14 Deluxe Bandsaw.
From www.jmwood.com
JET 14" DELUXE PRO BANDSAW J.M. Wood Auction Company, Inc. Jet 14 Deluxe Bandsaw The jet 14” sfx steel frame bandsaw redefines the line between functionality and affordability. The jet 14” bandsaw also features over 13 inches of resaw capacity, and. The large, cast iron table features 360 sq. Jet deluxe pro band saw kit is a complete tool that comes with the saw and a 15”x15” stand. Deluxe band saw shown with optional. Jet 14 Deluxe Bandsaw.
From www.facebook.com
JET 14" Deluxe Bandsaw Saws & Blades Royal Palm Beach, Florida Jet 14 Deluxe Bandsaw Jet deluxe pro band saw kit is a complete tool that comes with the saw and a 15”x15” stand. See the price on amazon! This stand includes a storage shelf and an easily accessible door. The jet 14” sfx steel frame bandsaw redefines the line between functionality and affordability. Deluxe band saw shown with optional fence is designed to meet. Jet 14 Deluxe Bandsaw.
From www.thewoodturningstore.com
Jet, JWBS14DXPRO, 14" Deluxe Pro Bandsaw Kit The Woodturning Store Jet 14 Deluxe Bandsaw The large, cast iron table features 360 sq. This saw is equipped with jet’s easily adjustable blade guide system, makes adjustments quick and simple. The jet 14” sfx steel frame bandsaw redefines the line between functionality and affordability. Jet deluxe pro band saw kit is a complete tool that comes with the saw and a 15”x15” stand. The jet 14”. Jet 14 Deluxe Bandsaw.
From www.northerntool.com
JET Deluxe Pro Band Saw — 14in., Model JWBS14DXPRO Northern Tool Jet 14 Deluxe Bandsaw The jet 14” bandsaw also features over 13 inches of resaw capacity, and. This saw is equipped with jet’s easily adjustable blade guide system, makes adjustments quick and simple. The jet 14” sfx steel frame bandsaw redefines the line between functionality and affordability. The large, cast iron table features 360 sq. Deluxe band saw shown with optional fence is designed. Jet 14 Deluxe Bandsaw.
From toolcraze.net
New JET JWBS14SFX 14 inch SFX Steel Frame Bandsaw 714400K Tool Craze Jet 14 Deluxe Bandsaw This saw is equipped with jet’s easily adjustable blade guide system, makes adjustments quick and simple. This stand includes a storage shelf and an easily accessible door. The jet 14” sfx steel frame bandsaw redefines the line between functionality and affordability. See the price on amazon! The large, cast iron table features 360 sq. The jet 14” bandsaw also features. Jet 14 Deluxe Bandsaw.
From www.jmwood.com
JET 14" DELUXE PRO BANDSAW J.M. Wood Auction Company, Inc. Jet 14 Deluxe Bandsaw See the price on amazon! The large, cast iron table features 360 sq. This stand includes a storage shelf and an easily accessible door. Deluxe band saw shown with optional fence is designed to meet the needs of today's most demanding. The jet 14” bandsaw also features over 13 inches of resaw capacity, and. Jet deluxe pro band saw kit. Jet 14 Deluxe Bandsaw.
From www.cpooutlets.com
JET 710116K 14 in. Deluxe Pro Band Saw Kit Jet 14 Deluxe Bandsaw The jet 14” bandsaw also features over 13 inches of resaw capacity, and. Deluxe band saw shown with optional fence is designed to meet the needs of today's most demanding. This saw is equipped with jet’s easily adjustable blade guide system, makes adjustments quick and simple. See the price on amazon! Jet deluxe pro band saw kit is a complete. Jet 14 Deluxe Bandsaw.
From toolstoday.com
14" Deluxe Bandsaw Kit Jet JWBS14DXPRO High Resaw Capacity Jet 14 Deluxe Bandsaw The jet 14” bandsaw also features over 13 inches of resaw capacity, and. Jet deluxe pro band saw kit is a complete tool that comes with the saw and a 15”x15” stand. This saw is equipped with jet’s easily adjustable blade guide system, makes adjustments quick and simple. This stand includes a storage shelf and an easily accessible door. Deluxe. Jet 14 Deluxe Bandsaw.
From www.woodworkingshop.com
Jet 14" Bandsaw Deluxe Pro JWBS14DXPRO Jet 14 Deluxe Bandsaw The jet 14” bandsaw also features over 13 inches of resaw capacity, and. The large, cast iron table features 360 sq. This stand includes a storage shelf and an easily accessible door. This saw is equipped with jet’s easily adjustable blade guide system, makes adjustments quick and simple. Deluxe band saw shown with optional fence is designed to meet the. Jet 14 Deluxe Bandsaw.
From www.woodworkingshop.com
Jet 14" Bandsaw Deluxe Pro JWBS14DXPRO Jet 14 Deluxe Bandsaw Jet deluxe pro band saw kit is a complete tool that comes with the saw and a 15”x15” stand. See the price on amazon! This stand includes a storage shelf and an easily accessible door. Deluxe band saw shown with optional fence is designed to meet the needs of today's most demanding. This saw is equipped with jet’s easily adjustable. Jet 14 Deluxe Bandsaw.
From www.liveauctionworld.com
JET JWBS14CS 14" WOODWORKING BANDSAW Jet 14 Deluxe Bandsaw The jet 14” bandsaw also features over 13 inches of resaw capacity, and. This saw is equipped with jet’s easily adjustable blade guide system, makes adjustments quick and simple. This stand includes a storage shelf and an easily accessible door. The jet 14” sfx steel frame bandsaw redefines the line between functionality and affordability. See the price on amazon! Deluxe. Jet 14 Deluxe Bandsaw.
From toolstoday.com
14" Deluxe Bandsaw Kit Jet JWBS14DXPRO High Resaw Capacity Jet 14 Deluxe Bandsaw See the price on amazon! The large, cast iron table features 360 sq. Deluxe band saw shown with optional fence is designed to meet the needs of today's most demanding. Jet deluxe pro band saw kit is a complete tool that comes with the saw and a 15”x15” stand. The jet 14” sfx steel frame bandsaw redefines the line between. Jet 14 Deluxe Bandsaw.
From www.factoryauthorizedoutlet.com
Jet JWBS14DXPRO, 14' Deluxe Pro Bandsaw Kit 710116K Jet 14 Deluxe Bandsaw See the price on amazon! This stand includes a storage shelf and an easily accessible door. Jet deluxe pro band saw kit is a complete tool that comes with the saw and a 15”x15” stand. The jet 14” sfx steel frame bandsaw redefines the line between functionality and affordability. The jet 14” bandsaw also features over 13 inches of resaw. Jet 14 Deluxe Bandsaw.
From www.flexibleassembly.com
Jet 708113A JWBS14OS, 14" Bandsaw, 3/4HP 1PH 115/230V, Open Stand Jet 14 Deluxe Bandsaw The jet 14” sfx steel frame bandsaw redefines the line between functionality and affordability. The large, cast iron table features 360 sq. The jet 14” bandsaw also features over 13 inches of resaw capacity, and. This stand includes a storage shelf and an easily accessible door. This saw is equipped with jet’s easily adjustable blade guide system, makes adjustments quick. Jet 14 Deluxe Bandsaw.
From www.woodworkingshop.com
Jet 14" Bandsaw Deluxe Pro JWBS14DXPRO Jet 14 Deluxe Bandsaw Jet deluxe pro band saw kit is a complete tool that comes with the saw and a 15”x15” stand. The jet 14” bandsaw also features over 13 inches of resaw capacity, and. Deluxe band saw shown with optional fence is designed to meet the needs of today's most demanding. This saw is equipped with jet’s easily adjustable blade guide system,. Jet 14 Deluxe Bandsaw.
From toolstoday.com
14" Deluxe Bandsaw Kit Jet JWBS14DXPRO High Resaw Capacity Jet 14 Deluxe Bandsaw This saw is equipped with jet’s easily adjustable blade guide system, makes adjustments quick and simple. See the price on amazon! The jet 14” sfx steel frame bandsaw redefines the line between functionality and affordability. Deluxe band saw shown with optional fence is designed to meet the needs of today's most demanding. Jet deluxe pro band saw kit is a. Jet 14 Deluxe Bandsaw.
From toolstoday.com
14" Deluxe Bandsaw Kit Jet JWBS14DXPRO High Resaw Capacity Jet 14 Deluxe Bandsaw The large, cast iron table features 360 sq. Jet deluxe pro band saw kit is a complete tool that comes with the saw and a 15”x15” stand. See the price on amazon! This stand includes a storage shelf and an easily accessible door. This saw is equipped with jet’s easily adjustable blade guide system, makes adjustments quick and simple. Deluxe. Jet 14 Deluxe Bandsaw.
From www.bidspotter.com
Jet 14" Deluxe Pro Vertical Band Saw, Model JWBS14DXPRO, S/N 18030509 Jet 14 Deluxe Bandsaw Jet deluxe pro band saw kit is a complete tool that comes with the saw and a 15”x15” stand. This saw is equipped with jet’s easily adjustable blade guide system, makes adjustments quick and simple. This stand includes a storage shelf and an easily accessible door. The large, cast iron table features 360 sq. Deluxe band saw shown with optional. Jet 14 Deluxe Bandsaw.
From www.factoryauthorizedoutlet.com
JET J8203K 1Hp 230/460V 14' Metal/Wood Variable Speed Vertical Bandsaw Jet 14 Deluxe Bandsaw The jet 14” bandsaw also features over 13 inches of resaw capacity, and. Deluxe band saw shown with optional fence is designed to meet the needs of today's most demanding. See the price on amazon! Jet deluxe pro band saw kit is a complete tool that comes with the saw and a 15”x15” stand. The large, cast iron table features. Jet 14 Deluxe Bandsaw.