Continuous Rod Warhead . learn how apl developed a warhead for the unified talos missile that used a double layer of steel rods accelerated by. rod warheads and continuous rod warheads. in the 70s and 80s missiles like phoenix, sparrow, and standard missile utilized cr warheads, designed to defeat aircraft. Early warhead experiments with short, straight, unconnected rods had shown that such. the continuous rod warhead era the continuous rod (cr) warhead was conceived at new mexico institute of mining and. some modification a continuous rod warhead could be designed to replace the nuclear warhead. They use rod type elongated fragments in large numbers to inflict higher penetration.
from www.okieboat.com
learn how apl developed a warhead for the unified talos missile that used a double layer of steel rods accelerated by. Early warhead experiments with short, straight, unconnected rods had shown that such. the continuous rod warhead era the continuous rod (cr) warhead was conceived at new mexico institute of mining and. They use rod type elongated fragments in large numbers to inflict higher penetration. rod warheads and continuous rod warheads. some modification a continuous rod warhead could be designed to replace the nuclear warhead. in the 70s and 80s missiles like phoenix, sparrow, and standard missile utilized cr warheads, designed to defeat aircraft.
Talos Missile Warhead History
Continuous Rod Warhead They use rod type elongated fragments in large numbers to inflict higher penetration. the continuous rod warhead era the continuous rod (cr) warhead was conceived at new mexico institute of mining and. in the 70s and 80s missiles like phoenix, sparrow, and standard missile utilized cr warheads, designed to defeat aircraft. They use rod type elongated fragments in large numbers to inflict higher penetration. Early warhead experiments with short, straight, unconnected rods had shown that such. some modification a continuous rod warhead could be designed to replace the nuclear warhead. rod warheads and continuous rod warheads. learn how apl developed a warhead for the unified talos missile that used a double layer of steel rods accelerated by.
From www.google.com
Patent US3298309 Continuous rod warhead Google Patents Continuous Rod Warhead learn how apl developed a warhead for the unified talos missile that used a double layer of steel rods accelerated by. They use rod type elongated fragments in large numbers to inflict higher penetration. in the 70s and 80s missiles like phoenix, sparrow, and standard missile utilized cr warheads, designed to defeat aircraft. Early warhead experiments with short,. Continuous Rod Warhead.
From www.scribd.com
A Technical History of the Development of Continuous Rod Warheads for Continuous Rod Warhead the continuous rod warhead era the continuous rod (cr) warhead was conceived at new mexico institute of mining and. some modification a continuous rod warhead could be designed to replace the nuclear warhead. Early warhead experiments with short, straight, unconnected rods had shown that such. They use rod type elongated fragments in large numbers to inflict higher penetration.. Continuous Rod Warhead.
From www.fromthedepthsgame.com
From The Depths Forum Continuousrod warhead Continuous Rod Warhead some modification a continuous rod warhead could be designed to replace the nuclear warhead. learn how apl developed a warhead for the unified talos missile that used a double layer of steel rods accelerated by. the continuous rod warhead era the continuous rod (cr) warhead was conceived at new mexico institute of mining and. Early warhead experiments. Continuous Rod Warhead.
From www.scribd.com
1959 Continuous Rod Warhead Damage to B29 Spar (Aeronautics) Wing Continuous Rod Warhead learn how apl developed a warhead for the unified talos missile that used a double layer of steel rods accelerated by. in the 70s and 80s missiles like phoenix, sparrow, and standard missile utilized cr warheads, designed to defeat aircraft. the continuous rod warhead era the continuous rod (cr) warhead was conceived at new mexico institute of. Continuous Rod Warhead.
From www.google.com
Patent US3224372 Multiprojectile continuous rod warhead Google Patents Continuous Rod Warhead rod warheads and continuous rod warheads. learn how apl developed a warhead for the unified talos missile that used a double layer of steel rods accelerated by. the continuous rod warhead era the continuous rod (cr) warhead was conceived at new mexico institute of mining and. some modification a continuous rod warhead could be designed to. Continuous Rod Warhead.
From www.slideserve.com
PPT Military Explosives and Warheads PowerPoint Presentation, free Continuous Rod Warhead rod warheads and continuous rod warheads. They use rod type elongated fragments in large numbers to inflict higher penetration. Early warhead experiments with short, straight, unconnected rods had shown that such. some modification a continuous rod warhead could be designed to replace the nuclear warhead. the continuous rod warhead era the continuous rod (cr) warhead was conceived. Continuous Rod Warhead.
From www.google.com
Patent US3490374 Continuous rod warhead Google Patents Continuous Rod Warhead in the 70s and 80s missiles like phoenix, sparrow, and standard missile utilized cr warheads, designed to defeat aircraft. some modification a continuous rod warhead could be designed to replace the nuclear warhead. Early warhead experiments with short, straight, unconnected rods had shown that such. learn how apl developed a warhead for the unified talos missile that. Continuous Rod Warhead.
From www.semanticscholar.org
Figure 5 from The Talos Continuousrod Warhead Semantic Scholar Continuous Rod Warhead learn how apl developed a warhead for the unified talos missile that used a double layer of steel rods accelerated by. rod warheads and continuous rod warheads. some modification a continuous rod warhead could be designed to replace the nuclear warhead. Early warhead experiments with short, straight, unconnected rods had shown that such. in the 70s. Continuous Rod Warhead.
From www.slideserve.com
PPT Military Explosives and Warheads PowerPoint Presentation ID393168 Continuous Rod Warhead They use rod type elongated fragments in large numbers to inflict higher penetration. learn how apl developed a warhead for the unified talos missile that used a double layer of steel rods accelerated by. some modification a continuous rod warhead could be designed to replace the nuclear warhead. Early warhead experiments with short, straight, unconnected rods had shown. Continuous Rod Warhead.
From www.okieboat.com
Talos Missile Warhead History Continuous Rod Warhead the continuous rod warhead era the continuous rod (cr) warhead was conceived at new mexico institute of mining and. Early warhead experiments with short, straight, unconnected rods had shown that such. rod warheads and continuous rod warheads. in the 70s and 80s missiles like phoenix, sparrow, and standard missile utilized cr warheads, designed to defeat aircraft. . Continuous Rod Warhead.
From alchetron.com
Continuous rod warhead Alchetron, The Free Social Encyclopedia Continuous Rod Warhead Early warhead experiments with short, straight, unconnected rods had shown that such. learn how apl developed a warhead for the unified talos missile that used a double layer of steel rods accelerated by. rod warheads and continuous rod warheads. the continuous rod warhead era the continuous rod (cr) warhead was conceived at new mexico institute of mining. Continuous Rod Warhead.
From www.google.com
Patent US3320888 Continuous rod warhead Google Patents Continuous Rod Warhead learn how apl developed a warhead for the unified talos missile that used a double layer of steel rods accelerated by. Early warhead experiments with short, straight, unconnected rods had shown that such. They use rod type elongated fragments in large numbers to inflict higher penetration. rod warheads and continuous rod warheads. in the 70s and 80s. Continuous Rod Warhead.
From www.okieboat.com
Talos Missile Warhead History Continuous Rod Warhead Early warhead experiments with short, straight, unconnected rods had shown that such. They use rod type elongated fragments in large numbers to inflict higher penetration. some modification a continuous rod warhead could be designed to replace the nuclear warhead. rod warheads and continuous rod warheads. learn how apl developed a warhead for the unified talos missile that. Continuous Rod Warhead.
From www.google.co.in
Patent US3440710 Method of fabricating a continuous rod warhead Continuous Rod Warhead They use rod type elongated fragments in large numbers to inflict higher penetration. Early warhead experiments with short, straight, unconnected rods had shown that such. learn how apl developed a warhead for the unified talos missile that used a double layer of steel rods accelerated by. the continuous rod warhead era the continuous rod (cr) warhead was conceived. Continuous Rod Warhead.
From www.okieboat.com
Talos Missile Warhead History Continuous Rod Warhead learn how apl developed a warhead for the unified talos missile that used a double layer of steel rods accelerated by. They use rod type elongated fragments in large numbers to inflict higher penetration. rod warheads and continuous rod warheads. some modification a continuous rod warhead could be designed to replace the nuclear warhead. in the. Continuous Rod Warhead.
From www.youtube.com
Continuous/Expanding Rod Missile Warhead FEA (Similar to RIM8 Talos or Continuous Rod Warhead They use rod type elongated fragments in large numbers to inflict higher penetration. rod warheads and continuous rod warheads. Early warhead experiments with short, straight, unconnected rods had shown that such. in the 70s and 80s missiles like phoenix, sparrow, and standard missile utilized cr warheads, designed to defeat aircraft. some modification a continuous rod warhead could. Continuous Rod Warhead.
From www.google.com
Patent US3224372 Multiprojectile continuous rod warhead Google Patents Continuous Rod Warhead the continuous rod warhead era the continuous rod (cr) warhead was conceived at new mexico institute of mining and. some modification a continuous rod warhead could be designed to replace the nuclear warhead. learn how apl developed a warhead for the unified talos missile that used a double layer of steel rods accelerated by. in the. Continuous Rod Warhead.
From www.semanticscholar.org
Figure 6 from The Talos Continuousrod Warhead Semantic Scholar Continuous Rod Warhead in the 70s and 80s missiles like phoenix, sparrow, and standard missile utilized cr warheads, designed to defeat aircraft. some modification a continuous rod warhead could be designed to replace the nuclear warhead. learn how apl developed a warhead for the unified talos missile that used a double layer of steel rods accelerated by. They use rod. Continuous Rod Warhead.
From www.ausairpower.net
Grisha's Stealth \xc2\xabPidgeon Shoot\xc2\xbb Continuous Rod Warhead in the 70s and 80s missiles like phoenix, sparrow, and standard missile utilized cr warheads, designed to defeat aircraft. some modification a continuous rod warhead could be designed to replace the nuclear warhead. rod warheads and continuous rod warheads. They use rod type elongated fragments in large numbers to inflict higher penetration. the continuous rod warhead. Continuous Rod Warhead.
From www.amazon.com
CONTINUOUS ROD WARHEAD LETHALITY TRIALS AGAINST B.29 AIRCRAFT WINGS (3/ Continuous Rod Warhead in the 70s and 80s missiles like phoenix, sparrow, and standard missile utilized cr warheads, designed to defeat aircraft. They use rod type elongated fragments in large numbers to inflict higher penetration. rod warheads and continuous rod warheads. Early warhead experiments with short, straight, unconnected rods had shown that such. learn how apl developed a warhead for. Continuous Rod Warhead.
From www.semanticscholar.org
Figure 5 from The Talos Continuousrod Warhead Semantic Scholar Continuous Rod Warhead They use rod type elongated fragments in large numbers to inflict higher penetration. the continuous rod warhead era the continuous rod (cr) warhead was conceived at new mexico institute of mining and. some modification a continuous rod warhead could be designed to replace the nuclear warhead. in the 70s and 80s missiles like phoenix, sparrow, and standard. Continuous Rod Warhead.
From thesovietarmourblog.blogspot.com
Tankograd Continuous Rod Warhead Early warhead experiments with short, straight, unconnected rods had shown that such. some modification a continuous rod warhead could be designed to replace the nuclear warhead. rod warheads and continuous rod warheads. in the 70s and 80s missiles like phoenix, sparrow, and standard missile utilized cr warheads, designed to defeat aircraft. learn how apl developed a. Continuous Rod Warhead.
From www.slideserve.com
PPT Military Explosives and Warheads PowerPoint Presentation, free Continuous Rod Warhead rod warheads and continuous rod warheads. Early warhead experiments with short, straight, unconnected rods had shown that such. some modification a continuous rod warhead could be designed to replace the nuclear warhead. in the 70s and 80s missiles like phoenix, sparrow, and standard missile utilized cr warheads, designed to defeat aircraft. the continuous rod warhead era. Continuous Rod Warhead.
From www.google.com.au
Patent US3490374 Continuous rod warhead Google Patents Continuous Rod Warhead rod warheads and continuous rod warheads. Early warhead experiments with short, straight, unconnected rods had shown that such. in the 70s and 80s missiles like phoenix, sparrow, and standard missile utilized cr warheads, designed to defeat aircraft. the continuous rod warhead era the continuous rod (cr) warhead was conceived at new mexico institute of mining and. . Continuous Rod Warhead.
From www.google.com
Patent US3249050 Continuous rod warhead Google Patents Continuous Rod Warhead Early warhead experiments with short, straight, unconnected rods had shown that such. rod warheads and continuous rod warheads. some modification a continuous rod warhead could be designed to replace the nuclear warhead. learn how apl developed a warhead for the unified talos missile that used a double layer of steel rods accelerated by. in the 70s. Continuous Rod Warhead.
From minutemanmissile.com
Minuteman Missile Nuclear Warheads Continuous Rod Warhead Early warhead experiments with short, straight, unconnected rods had shown that such. learn how apl developed a warhead for the unified talos missile that used a double layer of steel rods accelerated by. in the 70s and 80s missiles like phoenix, sparrow, and standard missile utilized cr warheads, designed to defeat aircraft. some modification a continuous rod. Continuous Rod Warhead.
From www.google.de
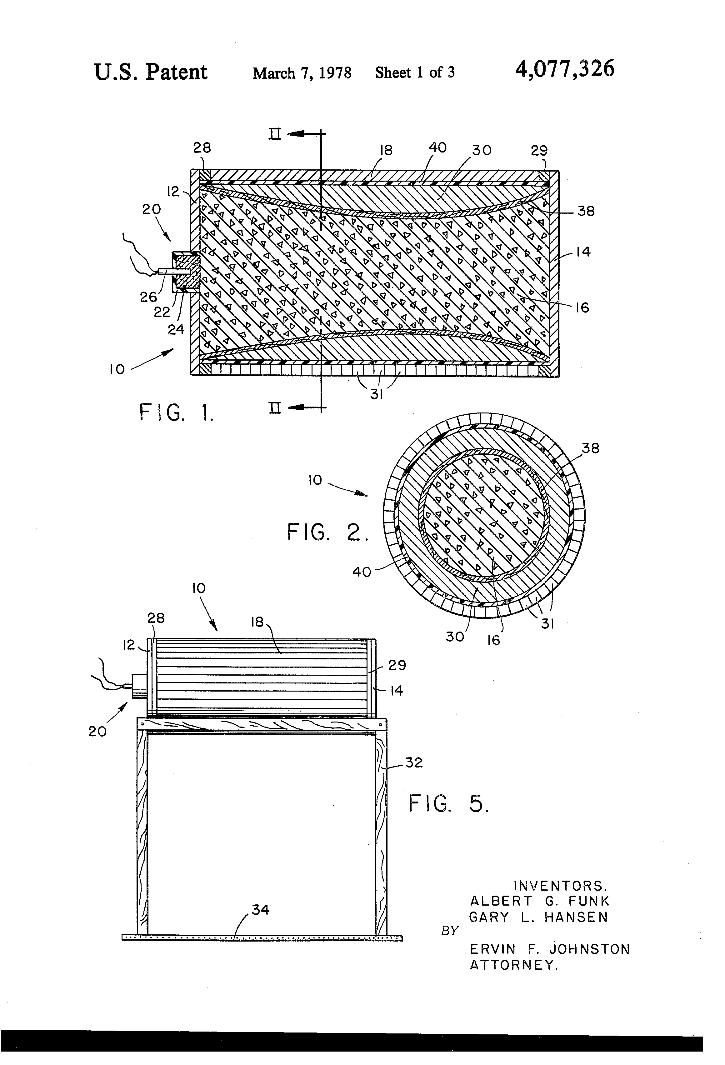
Patent US4077326 Impulse compensated continuous rod warhead Google Continuous Rod Warhead rod warheads and continuous rod warheads. They use rod type elongated fragments in large numbers to inflict higher penetration. in the 70s and 80s missiles like phoenix, sparrow, and standard missile utilized cr warheads, designed to defeat aircraft. Early warhead experiments with short, straight, unconnected rods had shown that such. learn how apl developed a warhead for. Continuous Rod Warhead.
From www.alamy.com
Continuous rod warhead hires stock photography and images Alamy Continuous Rod Warhead learn how apl developed a warhead for the unified talos missile that used a double layer of steel rods accelerated by. in the 70s and 80s missiles like phoenix, sparrow, and standard missile utilized cr warheads, designed to defeat aircraft. the continuous rod warhead era the continuous rod (cr) warhead was conceived at new mexico institute of. Continuous Rod Warhead.
From www.okieboat.com
Talos Missile Warhead History Continuous Rod Warhead in the 70s and 80s missiles like phoenix, sparrow, and standard missile utilized cr warheads, designed to defeat aircraft. They use rod type elongated fragments in large numbers to inflict higher penetration. Early warhead experiments with short, straight, unconnected rods had shown that such. the continuous rod warhead era the continuous rod (cr) warhead was conceived at new. Continuous Rod Warhead.
From www.okieboat.com
USS Oklahoma City Talos Missile Continuous Rod Warhead rod warheads and continuous rod warheads. in the 70s and 80s missiles like phoenix, sparrow, and standard missile utilized cr warheads, designed to defeat aircraft. learn how apl developed a warhead for the unified talos missile that used a double layer of steel rods accelerated by. some modification a continuous rod warhead could be designed to. Continuous Rod Warhead.
From www.airvectorswww.airvectors.net
[3.0] Lark, Talos, Terrier, & Tartar Continuous Rod Warhead the continuous rod warhead era the continuous rod (cr) warhead was conceived at new mexico institute of mining and. some modification a continuous rod warhead could be designed to replace the nuclear warhead. rod warheads and continuous rod warheads. learn how apl developed a warhead for the unified talos missile that used a double layer of. Continuous Rod Warhead.
From www.okieboat.com
Talos Missile Warhead History Continuous Rod Warhead Early warhead experiments with short, straight, unconnected rods had shown that such. in the 70s and 80s missiles like phoenix, sparrow, and standard missile utilized cr warheads, designed to defeat aircraft. rod warheads and continuous rod warheads. learn how apl developed a warhead for the unified talos missile that used a double layer of steel rods accelerated. Continuous Rod Warhead.
From www.google.com
Patent US3249050 Continuous rod warhead Google Patents Continuous Rod Warhead rod warheads and continuous rod warheads. the continuous rod warhead era the continuous rod (cr) warhead was conceived at new mexico institute of mining and. in the 70s and 80s missiles like phoenix, sparrow, and standard missile utilized cr warheads, designed to defeat aircraft. They use rod type elongated fragments in large numbers to inflict higher penetration.. Continuous Rod Warhead.
From www.okieboat.com
Talos Missile Warhead History Continuous Rod Warhead rod warheads and continuous rod warheads. They use rod type elongated fragments in large numbers to inflict higher penetration. some modification a continuous rod warhead could be designed to replace the nuclear warhead. learn how apl developed a warhead for the unified talos missile that used a double layer of steel rods accelerated by. in the. Continuous Rod Warhead.
From twitter.com
dharmic aeroplate v2 on Twitter "a pic finally of the patriots Continuous Rod Warhead Early warhead experiments with short, straight, unconnected rods had shown that such. the continuous rod warhead era the continuous rod (cr) warhead was conceived at new mexico institute of mining and. some modification a continuous rod warhead could be designed to replace the nuclear warhead. learn how apl developed a warhead for the unified talos missile that. Continuous Rod Warhead.