Battery Junction Box (Bjb) . A bmu typically has a microcontroller (mcu), which manages all of the functions within the battery. The bjb measures high voltages. Intelligent battery junction box for voltage and current synchronization. Intelligent battery junction box (bjb) discover how silicon innovations are enabling a shift toward a more modern. The rd772bjbtplevb is a battery junction box (bjb) reference design with electrical transport protocol link (etpl) communication. (cmu) and a battery junction box (bjb). The battery junction box (bjb) is the controlling part of the bms.
from www.nxp.com
(cmu) and a battery junction box (bjb). The rd772bjbtplevb is a battery junction box (bjb) reference design with electrical transport protocol link (etpl) communication. The bjb measures high voltages. Intelligent battery junction box (bjb) discover how silicon innovations are enabling a shift toward a more modern. A bmu typically has a microcontroller (mcu), which manages all of the functions within the battery. The battery junction box (bjb) is the controlling part of the bms. Intelligent battery junction box for voltage and current synchronization.
BESS1500 Battery Junction Box (BJB) NXP Semiconductors
Battery Junction Box (Bjb) The bjb measures high voltages. The rd772bjbtplevb is a battery junction box (bjb) reference design with electrical transport protocol link (etpl) communication. (cmu) and a battery junction box (bjb). Intelligent battery junction box for voltage and current synchronization. The bjb measures high voltages. Intelligent battery junction box (bjb) discover how silicon innovations are enabling a shift toward a more modern. The battery junction box (bjb) is the controlling part of the bms. A bmu typically has a microcontroller (mcu), which manages all of the functions within the battery.
From twitter.com
Texas Instruments on Twitter "An intelligent battery junction box (BJB Battery Junction Box (Bjb) Intelligent battery junction box for voltage and current synchronization. (cmu) and a battery junction box (bjb). The bjb measures high voltages. The rd772bjbtplevb is a battery junction box (bjb) reference design with electrical transport protocol link (etpl) communication. The battery junction box (bjb) is the controlling part of the bms. Intelligent battery junction box (bjb) discover how silicon innovations are. Battery Junction Box (Bjb).
From www.nxp.com
HVBMS Battery Junction Box (BJB) NXP Semiconductors Battery Junction Box (Bjb) The battery junction box (bjb) is the controlling part of the bms. Intelligent battery junction box for voltage and current synchronization. The rd772bjbtplevb is a battery junction box (bjb) reference design with electrical transport protocol link (etpl) communication. The bjb measures high voltages. A bmu typically has a microcontroller (mcu), which manages all of the functions within the battery. (cmu). Battery Junction Box (Bjb).
From charm.li
Battery Junction Box (BJB) — 2007 Ford Focus L42.0L VIN N Service Battery Junction Box (Bjb) The bjb measures high voltages. Intelligent battery junction box for voltage and current synchronization. The rd772bjbtplevb is a battery junction box (bjb) reference design with electrical transport protocol link (etpl) communication. (cmu) and a battery junction box (bjb). Intelligent battery junction box (bjb) discover how silicon innovations are enabling a shift toward a more modern. A bmu typically has a. Battery Junction Box (Bjb).
From www.nxp.com
BESS1500 Battery Junction Box (BJB) NXP Semiconductors Battery Junction Box (Bjb) The battery junction box (bjb) is the controlling part of the bms. Intelligent battery junction box for voltage and current synchronization. The rd772bjbtplevb is a battery junction box (bjb) reference design with electrical transport protocol link (etpl) communication. (cmu) and a battery junction box (bjb). Intelligent battery junction box (bjb) discover how silicon innovations are enabling a shift toward a. Battery Junction Box (Bjb).
From www.12voltplanet.co.uk
Power Jointing Box 300A 3 Way 12 Volt Battery Junction Box (Bjb) The rd772bjbtplevb is a battery junction box (bjb) reference design with electrical transport protocol link (etpl) communication. A bmu typically has a microcontroller (mcu), which manages all of the functions within the battery. Intelligent battery junction box (bjb) discover how silicon innovations are enabling a shift toward a more modern. The battery junction box (bjb) is the controlling part of. Battery Junction Box (Bjb).
From www.nxp.com
HVBMS Battery Junction Box (BJB) NXP Semiconductors Battery Junction Box (Bjb) The bjb measures high voltages. The battery junction box (bjb) is the controlling part of the bms. Intelligent battery junction box (bjb) discover how silicon innovations are enabling a shift toward a more modern. A bmu typically has a microcontroller (mcu), which manages all of the functions within the battery. Intelligent battery junction box for voltage and current synchronization. The. Battery Junction Box (Bjb).
From www.nxp.com
BESS1500 Battery Junction Box (BJB) NXP Semiconductors Battery Junction Box (Bjb) The rd772bjbtplevb is a battery junction box (bjb) reference design with electrical transport protocol link (etpl) communication. Intelligent battery junction box for voltage and current synchronization. (cmu) and a battery junction box (bjb). A bmu typically has a microcontroller (mcu), which manages all of the functions within the battery. Intelligent battery junction box (bjb) discover how silicon innovations are enabling. Battery Junction Box (Bjb).
From www.nxp.com
HVBMS Battery Junction Box (BJB) NXP Semiconductors Battery Junction Box (Bjb) The rd772bjbtplevb is a battery junction box (bjb) reference design with electrical transport protocol link (etpl) communication. (cmu) and a battery junction box (bjb). The bjb measures high voltages. A bmu typically has a microcontroller (mcu), which manages all of the functions within the battery. The battery junction box (bjb) is the controlling part of the bms. Intelligent battery junction. Battery Junction Box (Bjb).
From www.scribd.com
Battery Junction Box (BJB) PDF Battery Junction Box (Bjb) Intelligent battery junction box (bjb) discover how silicon innovations are enabling a shift toward a more modern. The rd772bjbtplevb is a battery junction box (bjb) reference design with electrical transport protocol link (etpl) communication. (cmu) and a battery junction box (bjb). A bmu typically has a microcontroller (mcu), which manages all of the functions within the battery. The battery junction. Battery Junction Box (Bjb).
From www.nxp.com
BESS1500 Battery Junction Box (BJB) NXP Semiconductors Battery Junction Box (Bjb) (cmu) and a battery junction box (bjb). The battery junction box (bjb) is the controlling part of the bms. Intelligent battery junction box (bjb) discover how silicon innovations are enabling a shift toward a more modern. A bmu typically has a microcontroller (mcu), which manages all of the functions within the battery. The bjb measures high voltages. The rd772bjbtplevb is. Battery Junction Box (Bjb).
From www.nxp.com
BESS1500 Battery Junction Box (BJB) NXP Semiconductors Battery Junction Box (Bjb) (cmu) and a battery junction box (bjb). Intelligent battery junction box for voltage and current synchronization. A bmu typically has a microcontroller (mcu), which manages all of the functions within the battery. The battery junction box (bjb) is the controlling part of the bms. Intelligent battery junction box (bjb) discover how silicon innovations are enabling a shift toward a more. Battery Junction Box (Bjb).
From www.nxp.com
HVBMS Battery Junction Box (BJB) NXP Semiconductors Battery Junction Box (Bjb) Intelligent battery junction box for voltage and current synchronization. The bjb measures high voltages. (cmu) and a battery junction box (bjb). The battery junction box (bjb) is the controlling part of the bms. The rd772bjbtplevb is a battery junction box (bjb) reference design with electrical transport protocol link (etpl) communication. A bmu typically has a microcontroller (mcu), which manages all. Battery Junction Box (Bjb).
From workshop-manuals.com
Ford Manuals > F 150 2WD V85.0L (2011) > Power and Ground Battery Junction Box (Bjb) The bjb measures high voltages. Intelligent battery junction box for voltage and current synchronization. Intelligent battery junction box (bjb) discover how silicon innovations are enabling a shift toward a more modern. A bmu typically has a microcontroller (mcu), which manages all of the functions within the battery. (cmu) and a battery junction box (bjb). The battery junction box (bjb) is. Battery Junction Box (Bjb).
From workshop-manuals.com
Ford Service and Repair Manuals > Escape 4WD L42.5L (2010 Battery Junction Box (Bjb) Intelligent battery junction box for voltage and current synchronization. Intelligent battery junction box (bjb) discover how silicon innovations are enabling a shift toward a more modern. The battery junction box (bjb) is the controlling part of the bms. (cmu) and a battery junction box (bjb). The rd772bjbtplevb is a battery junction box (bjb) reference design with electrical transport protocol link. Battery Junction Box (Bjb).
From www.goepel.com
Battery Junction Box (BJB) überprüfen GÖPEL electronic Battery Junction Box (Bjb) The battery junction box (bjb) is the controlling part of the bms. The rd772bjbtplevb is a battery junction box (bjb) reference design with electrical transport protocol link (etpl) communication. Intelligent battery junction box for voltage and current synchronization. A bmu typically has a microcontroller (mcu), which manages all of the functions within the battery. (cmu) and a battery junction box. Battery Junction Box (Bjb).
From workshop-manuals.com
Ford Service and Repair Manuals > Fusion FWD V63.5L (2010 Battery Junction Box (Bjb) The rd772bjbtplevb is a battery junction box (bjb) reference design with electrical transport protocol link (etpl) communication. Intelligent battery junction box for voltage and current synchronization. (cmu) and a battery junction box (bjb). The battery junction box (bjb) is the controlling part of the bms. The bjb measures high voltages. A bmu typically has a microcontroller (mcu), which manages all. Battery Junction Box (Bjb).
From www.nxp.com
HVBMS Battery Junction Box (BJB) NXP Semiconductors Battery Junction Box (Bjb) Intelligent battery junction box (bjb) discover how silicon innovations are enabling a shift toward a more modern. (cmu) and a battery junction box (bjb). The bjb measures high voltages. The rd772bjbtplevb is a battery junction box (bjb) reference design with electrical transport protocol link (etpl) communication. Intelligent battery junction box for voltage and current synchronization. A bmu typically has a. Battery Junction Box (Bjb).
From www.nxp.com
BESS1500 Battery Junction Box (BJB) NXP Semiconductors Battery Junction Box (Bjb) A bmu typically has a microcontroller (mcu), which manages all of the functions within the battery. The rd772bjbtplevb is a battery junction box (bjb) reference design with electrical transport protocol link (etpl) communication. Intelligent battery junction box for voltage and current synchronization. Intelligent battery junction box (bjb) discover how silicon innovations are enabling a shift toward a more modern. The. Battery Junction Box (Bjb).
From www.nxp.com
HVBMS Battery Junction Box (BJB) NXP Semiconductors Battery Junction Box (Bjb) The battery junction box (bjb) is the controlling part of the bms. The bjb measures high voltages. (cmu) and a battery junction box (bjb). Intelligent battery junction box (bjb) discover how silicon innovations are enabling a shift toward a more modern. A bmu typically has a microcontroller (mcu), which manages all of the functions within the battery. The rd772bjbtplevb is. Battery Junction Box (Bjb).
From www.goepel.com
Test the Battery Junction Box in ECars GÖPEL electronic Battery Junction Box (Bjb) The battery junction box (bjb) is the controlling part of the bms. The rd772bjbtplevb is a battery junction box (bjb) reference design with electrical transport protocol link (etpl) communication. The bjb measures high voltages. A bmu typically has a microcontroller (mcu), which manages all of the functions within the battery. Intelligent battery junction box (bjb) discover how silicon innovations are. Battery Junction Box (Bjb).
From www.nxp.com
BESS1500 Battery Junction Box (BJB) NXP Semiconductors Battery Junction Box (Bjb) A bmu typically has a microcontroller (mcu), which manages all of the functions within the battery. Intelligent battery junction box for voltage and current synchronization. The battery junction box (bjb) is the controlling part of the bms. The bjb measures high voltages. Intelligent battery junction box (bjb) discover how silicon innovations are enabling a shift toward a more modern. The. Battery Junction Box (Bjb).
From ampereev.com
HVJB5400 Specifications Ampere EV Battery Junction Box (Bjb) A bmu typically has a microcontroller (mcu), which manages all of the functions within the battery. The rd772bjbtplevb is a battery junction box (bjb) reference design with electrical transport protocol link (etpl) communication. Intelligent battery junction box (bjb) discover how silicon innovations are enabling a shift toward a more modern. The battery junction box (bjb) is the controlling part of. Battery Junction Box (Bjb).
From www.youtube.com
20162020 Ford F150 Alternator not charging fix! remove BjB fuse box Battery Junction Box (Bjb) The rd772bjbtplevb is a battery junction box (bjb) reference design with electrical transport protocol link (etpl) communication. A bmu typically has a microcontroller (mcu), which manages all of the functions within the battery. The bjb measures high voltages. The battery junction box (bjb) is the controlling part of the bms. (cmu) and a battery junction box (bjb). Intelligent battery junction. Battery Junction Box (Bjb).
From www.autoelectricsupplies.co.uk
Vehicle Electrical Accessories > Junction Boxes & Posts Battery Lead Battery Junction Box (Bjb) A bmu typically has a microcontroller (mcu), which manages all of the functions within the battery. (cmu) and a battery junction box (bjb). Intelligent battery junction box for voltage and current synchronization. The rd772bjbtplevb is a battery junction box (bjb) reference design with electrical transport protocol link (etpl) communication. The bjb measures high voltages. Intelligent battery junction box (bjb) discover. Battery Junction Box (Bjb).
From charm.li
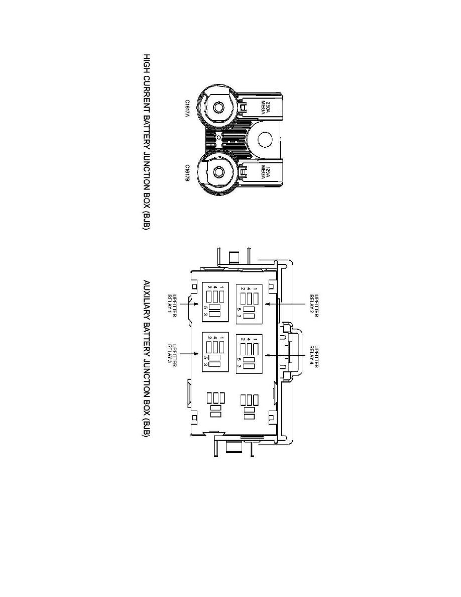
High Current Battery Junction Box (BJB) — 2013 Ford Truck F 150 4WD V8 Battery Junction Box (Bjb) A bmu typically has a microcontroller (mcu), which manages all of the functions within the battery. The rd772bjbtplevb is a battery junction box (bjb) reference design with electrical transport protocol link (etpl) communication. The bjb measures high voltages. (cmu) and a battery junction box (bjb). Intelligent battery junction box for voltage and current synchronization. Intelligent battery junction box (bjb) discover. Battery Junction Box (Bjb).
From www.youtube.com
Ford Super Duty BJB (Battery Junction Box) replacement 20202022 YouTube Battery Junction Box (Bjb) Intelligent battery junction box (bjb) discover how silicon innovations are enabling a shift toward a more modern. The rd772bjbtplevb is a battery junction box (bjb) reference design with electrical transport protocol link (etpl) communication. Intelligent battery junction box for voltage and current synchronization. The battery junction box (bjb) is the controlling part of the bms. (cmu) and a battery junction. Battery Junction Box (Bjb).
From www.topmost-led.com
ExBJB Junction Box / Panel Battery Junction Box (Bjb) Intelligent battery junction box for voltage and current synchronization. A bmu typically has a microcontroller (mcu), which manages all of the functions within the battery. (cmu) and a battery junction box (bjb). The battery junction box (bjb) is the controlling part of the bms. Intelligent battery junction box (bjb) discover how silicon innovations are enabling a shift toward a more. Battery Junction Box (Bjb).
From www.nxp.com
HVBMS Battery Junction Box (BJB) NXP Semiconductors Battery Junction Box (Bjb) Intelligent battery junction box (bjb) discover how silicon innovations are enabling a shift toward a more modern. (cmu) and a battery junction box (bjb). The rd772bjbtplevb is a battery junction box (bjb) reference design with electrical transport protocol link (etpl) communication. Intelligent battery junction box for voltage and current synchronization. A bmu typically has a microcontroller (mcu), which manages all. Battery Junction Box (Bjb).
From www.fordescape.org
Advice on Removing Battery Junction Box BJB Cover? 2013+ Ford Escape Battery Junction Box (Bjb) Intelligent battery junction box for voltage and current synchronization. Intelligent battery junction box (bjb) discover how silicon innovations are enabling a shift toward a more modern. The battery junction box (bjb) is the controlling part of the bms. A bmu typically has a microcontroller (mcu), which manages all of the functions within the battery. (cmu) and a battery junction box. Battery Junction Box (Bjb).
From www.nxp.com
HVBMS Battery Junction Box (BJB) NXP Semiconductors Battery Junction Box (Bjb) The rd772bjbtplevb is a battery junction box (bjb) reference design with electrical transport protocol link (etpl) communication. The bjb measures high voltages. A bmu typically has a microcontroller (mcu), which manages all of the functions within the battery. Intelligent battery junction box (bjb) discover how silicon innovations are enabling a shift toward a more modern. The battery junction box (bjb). Battery Junction Box (Bjb).
From www.linkedin.com
Battery Junction Box BJB Battery Junction Box (Bjb) The rd772bjbtplevb is a battery junction box (bjb) reference design with electrical transport protocol link (etpl) communication. Intelligent battery junction box (bjb) discover how silicon innovations are enabling a shift toward a more modern. (cmu) and a battery junction box (bjb). The bjb measures high voltages. A bmu typically has a microcontroller (mcu), which manages all of the functions within. Battery Junction Box (Bjb).
From www.vehiclewiringproducts.co.uk
Battery Cable Junction Box Two Stud Battery Junction Box (Bjb) The battery junction box (bjb) is the controlling part of the bms. A bmu typically has a microcontroller (mcu), which manages all of the functions within the battery. (cmu) and a battery junction box (bjb). Intelligent battery junction box for voltage and current synchronization. The rd772bjbtplevb is a battery junction box (bjb) reference design with electrical transport protocol link (etpl). Battery Junction Box (Bjb).
From www.macheforum.com
Teardown & Analysis Base AWD HVBJB (High Voltage Battery Junction Box Battery Junction Box (Bjb) Intelligent battery junction box (bjb) discover how silicon innovations are enabling a shift toward a more modern. The bjb measures high voltages. Intelligent battery junction box for voltage and current synchronization. (cmu) and a battery junction box (bjb). The rd772bjbtplevb is a battery junction box (bjb) reference design with electrical transport protocol link (etpl) communication. The battery junction box (bjb). Battery Junction Box (Bjb).
From www.nxp.com
HVBMS Battery Junction Box (BJB) NXP Semiconductors Battery Junction Box (Bjb) Intelligent battery junction box (bjb) discover how silicon innovations are enabling a shift toward a more modern. The rd772bjbtplevb is a battery junction box (bjb) reference design with electrical transport protocol link (etpl) communication. The battery junction box (bjb) is the controlling part of the bms. Intelligent battery junction box for voltage and current synchronization. A bmu typically has a. Battery Junction Box (Bjb).
From workshop-manuals.com
Ford Manuals > Fusion FWD L42.5L Hybrid (2010) > Power and Battery Junction Box (Bjb) Intelligent battery junction box (bjb) discover how silicon innovations are enabling a shift toward a more modern. The rd772bjbtplevb is a battery junction box (bjb) reference design with electrical transport protocol link (etpl) communication. The bjb measures high voltages. A bmu typically has a microcontroller (mcu), which manages all of the functions within the battery. (cmu) and a battery junction. Battery Junction Box (Bjb).