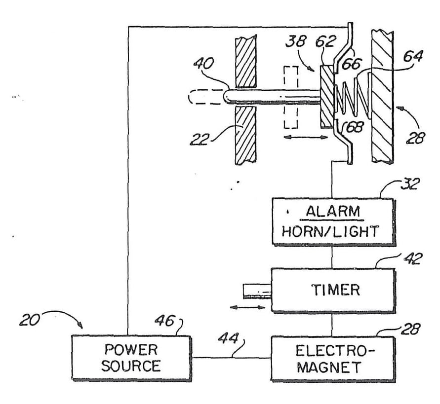
How Does A Delayed Egress Door Work . A delayed egress door is an exit in an establishment assigned with a special locking arrangement that prevents somebody from leaving an area. Delayed egress locks are security systems that hold the door open for 15 to 30 seconds to prevent unauthorized exits. Delayed egress systems are available in several configurations to suit a wide variety of door types, occupancies, and applications. An integrated delayed egress electromagnetic lock in which all logic. Delayed egress systems are typically configured in several ways: Delayed egress devices play a vital role in security across various settings, striking a balance between controlled egress and safety. It is the opposite of.
from www.locksmithledger.com
A delayed egress door is an exit in an establishment assigned with a special locking arrangement that prevents somebody from leaving an area. Delayed egress systems are typically configured in several ways: Delayed egress systems are available in several configurations to suit a wide variety of door types, occupancies, and applications. It is the opposite of. Delayed egress devices play a vital role in security across various settings, striking a balance between controlled egress and safety. Delayed egress locks are security systems that hold the door open for 15 to 30 seconds to prevent unauthorized exits. An integrated delayed egress electromagnetic lock in which all logic.
The Ins and Outs of Delayed Egress Locksmith Ledger
How Does A Delayed Egress Door Work An integrated delayed egress electromagnetic lock in which all logic. It is the opposite of. Delayed egress systems are typically configured in several ways: Delayed egress systems are available in several configurations to suit a wide variety of door types, occupancies, and applications. An integrated delayed egress electromagnetic lock in which all logic. Delayed egress locks are security systems that hold the door open for 15 to 30 seconds to prevent unauthorized exits. A delayed egress door is an exit in an establishment assigned with a special locking arrangement that prevents somebody from leaving an area. Delayed egress devices play a vital role in security across various settings, striking a balance between controlled egress and safety.
From www.electricallicenserenewal.com
NFPA 101 Lighting requirements for Doors Equipped with Delayed Egress. How Does A Delayed Egress Door Work Delayed egress locks are security systems that hold the door open for 15 to 30 seconds to prevent unauthorized exits. Delayed egress systems are available in several configurations to suit a wide variety of door types, occupancies, and applications. Delayed egress systems are typically configured in several ways: An integrated delayed egress electromagnetic lock in which all logic. Delayed egress. How Does A Delayed Egress Door Work.
From www.coffman.com
Healthcare Insights Security Control and Means of Egress Coffman How Does A Delayed Egress Door Work It is the opposite of. Delayed egress systems are available in several configurations to suit a wide variety of door types, occupancies, and applications. A delayed egress door is an exit in an establishment assigned with a special locking arrangement that prevents somebody from leaving an area. Delayed egress locks are security systems that hold the door open for 15. How Does A Delayed Egress Door Work.
From idighardware.com
MFA Auditorium Egress I Dig Hardware Answers to your door, hardware How Does A Delayed Egress Door Work Delayed egress devices play a vital role in security across various settings, striking a balance between controlled egress and safety. Delayed egress locks are security systems that hold the door open for 15 to 30 seconds to prevent unauthorized exits. Delayed egress systems are typically configured in several ways: A delayed egress door is an exit in an establishment assigned. How Does A Delayed Egress Door Work.
From www.hooverfence.com
Detex Weatherized Delayed Egress EasyKit for Pair of Doors Hoover How Does A Delayed Egress Door Work Delayed egress systems are available in several configurations to suit a wide variety of door types, occupancies, and applications. A delayed egress door is an exit in an establishment assigned with a special locking arrangement that prevents somebody from leaving an area. An integrated delayed egress electromagnetic lock in which all logic. It is the opposite of. Delayed egress devices. How Does A Delayed Egress Door Work.
From www.electricallicenserenewal.com
IBC Requirements for Delayed Egress. How Does A Delayed Egress Door Work Delayed egress locks are security systems that hold the door open for 15 to 30 seconds to prevent unauthorized exits. Delayed egress systems are typically configured in several ways: Delayed egress devices play a vital role in security across various settings, striking a balance between controlled egress and safety. It is the opposite of. An integrated delayed egress electromagnetic lock. How Does A Delayed Egress Door Work.
From www.locksmithledger.com
The Basics of Delayed Egress Locksmith Ledger How Does A Delayed Egress Door Work Delayed egress locks are security systems that hold the door open for 15 to 30 seconds to prevent unauthorized exits. It is the opposite of. A delayed egress door is an exit in an establishment assigned with a special locking arrangement that prevents somebody from leaving an area. Delayed egress systems are typically configured in several ways: An integrated delayed. How Does A Delayed Egress Door Work.
From www.locksmithledger.com
The Ins and Outs of Delayed Egress Locksmith Ledger How Does A Delayed Egress Door Work Delayed egress systems are available in several configurations to suit a wide variety of door types, occupancies, and applications. An integrated delayed egress electromagnetic lock in which all logic. Delayed egress systems are typically configured in several ways: It is the opposite of. Delayed egress locks are security systems that hold the door open for 15 to 30 seconds to. How Does A Delayed Egress Door Work.
From ipvm.com
Delayed Egress Access Control Tutorial How Does A Delayed Egress Door Work A delayed egress door is an exit in an establishment assigned with a special locking arrangement that prevents somebody from leaving an area. Delayed egress systems are available in several configurations to suit a wide variety of door types, occupancies, and applications. Delayed egress locks are security systems that hold the door open for 15 to 30 seconds to prevent. How Does A Delayed Egress Door Work.
From www.slideshare.net
Chapter 13 How Does A Delayed Egress Door Work Delayed egress locks are security systems that hold the door open for 15 to 30 seconds to prevent unauthorized exits. It is the opposite of. Delayed egress systems are available in several configurations to suit a wide variety of door types, occupancies, and applications. Delayed egress systems are typically configured in several ways: An integrated delayed egress electromagnetic lock in. How Does A Delayed Egress Door Work.
From www.kmthomas.ca
KM Thomas Easy Kit Delayed Egress Doors How Does A Delayed Egress Door Work It is the opposite of. An integrated delayed egress electromagnetic lock in which all logic. Delayed egress systems are available in several configurations to suit a wide variety of door types, occupancies, and applications. Delayed egress locks are security systems that hold the door open for 15 to 30 seconds to prevent unauthorized exits. A delayed egress door is an. How Does A Delayed Egress Door Work.
From solutions.sdcsecurity.com
Delayed Egress Locking Systems Overview Part 1 How Does A Delayed Egress Door Work Delayed egress systems are typically configured in several ways: It is the opposite of. Delayed egress locks are security systems that hold the door open for 15 to 30 seconds to prevent unauthorized exits. An integrated delayed egress electromagnetic lock in which all logic. A delayed egress door is an exit in an establishment assigned with a special locking arrangement. How Does A Delayed Egress Door Work.
From www.locksmithledger.com
Delayed Egress What, Where, Why And How? How Does A Delayed Egress Door Work A delayed egress door is an exit in an establishment assigned with a special locking arrangement that prevents somebody from leaving an area. Delayed egress devices play a vital role in security across various settings, striking a balance between controlled egress and safety. It is the opposite of. An integrated delayed egress electromagnetic lock in which all logic. Delayed egress. How Does A Delayed Egress Door Work.
From pezcame.com
Door Egress Hardware & Manual Doors On An Accessible Route Must Have A How Does A Delayed Egress Door Work A delayed egress door is an exit in an establishment assigned with a special locking arrangement that prevents somebody from leaving an area. An integrated delayed egress electromagnetic lock in which all logic. Delayed egress systems are available in several configurations to suit a wide variety of door types, occupancies, and applications. Delayed egress devices play a vital role in. How Does A Delayed Egress Door Work.
From idighardware.com
WW Delayed Egress MagLock I Dig Hardware Answers to your door How Does A Delayed Egress Door Work It is the opposite of. A delayed egress door is an exit in an establishment assigned with a special locking arrangement that prevents somebody from leaving an area. An integrated delayed egress electromagnetic lock in which all logic. Delayed egress systems are available in several configurations to suit a wide variety of door types, occupancies, and applications. Delayed egress devices. How Does A Delayed Egress Door Work.
From studylib.net
model 3101b delay egress system installation instructions How Does A Delayed Egress Door Work Delayed egress systems are available in several configurations to suit a wide variety of door types, occupancies, and applications. Delayed egress systems are typically configured in several ways: Delayed egress devices play a vital role in security across various settings, striking a balance between controlled egress and safety. Delayed egress locks are security systems that hold the door open for. How Does A Delayed Egress Door Work.
From www.youtube.com
Delayed Egress and The Active Shooter YouTube How Does A Delayed Egress Door Work An integrated delayed egress electromagnetic lock in which all logic. Delayed egress devices play a vital role in security across various settings, striking a balance between controlled egress and safety. Delayed egress systems are typically configured in several ways: A delayed egress door is an exit in an establishment assigned with a special locking arrangement that prevents somebody from leaving. How Does A Delayed Egress Door Work.
From idighardware.com
WW Delayed Egress Retrofit I Dig Hardware Answers to your door How Does A Delayed Egress Door Work It is the opposite of. Delayed egress systems are available in several configurations to suit a wide variety of door types, occupancies, and applications. Delayed egress locks are security systems that hold the door open for 15 to 30 seconds to prevent unauthorized exits. A delayed egress door is an exit in an establishment assigned with a special locking arrangement. How Does A Delayed Egress Door Work.
From www.locksmithledger.com
Delayed Egress Applications For Hospitals Locksmith Ledger How Does A Delayed Egress Door Work An integrated delayed egress electromagnetic lock in which all logic. A delayed egress door is an exit in an establishment assigned with a special locking arrangement that prevents somebody from leaving an area. Delayed egress systems are available in several configurations to suit a wide variety of door types, occupancies, and applications. Delayed egress locks are security systems that hold. How Does A Delayed Egress Door Work.
From axxessdoor.com
Delayed Egress Systems Safety and Security Solutions How Does A Delayed Egress Door Work Delayed egress locks are security systems that hold the door open for 15 to 30 seconds to prevent unauthorized exits. Delayed egress devices play a vital role in security across various settings, striking a balance between controlled egress and safety. It is the opposite of. Delayed egress systems are typically configured in several ways: An integrated delayed egress electromagnetic lock. How Does A Delayed Egress Door Work.
From idighardware.com
QQ Delayed Egress MagLocks I Dig Hardware Answers to your door How Does A Delayed Egress Door Work Delayed egress systems are available in several configurations to suit a wide variety of door types, occupancies, and applications. Delayed egress systems are typically configured in several ways: Delayed egress devices play a vital role in security across various settings, striking a balance between controlled egress and safety. It is the opposite of. Delayed egress locks are security systems that. How Does A Delayed Egress Door Work.
From www.locksmithledger.com
Delayed Egress What, Where, Why And How? How Does A Delayed Egress Door Work Delayed egress systems are typically configured in several ways: An integrated delayed egress electromagnetic lock in which all logic. Delayed egress devices play a vital role in security across various settings, striking a balance between controlled egress and safety. A delayed egress door is an exit in an establishment assigned with a special locking arrangement that prevents somebody from leaving. How Does A Delayed Egress Door Work.
From idighardware.com
Decoded Delayed Egress and Controlled Egress Locking Systems I Dig How Does A Delayed Egress Door Work A delayed egress door is an exit in an establishment assigned with a special locking arrangement that prevents somebody from leaving an area. Delayed egress locks are security systems that hold the door open for 15 to 30 seconds to prevent unauthorized exits. An integrated delayed egress electromagnetic lock in which all logic. Delayed egress systems are available in several. How Does A Delayed Egress Door Work.
From www.adasigndepot.com
Delayed Egress Exit Signs for Automatic Doors ADA Compliant ADA How Does A Delayed Egress Door Work Delayed egress systems are typically configured in several ways: Delayed egress devices play a vital role in security across various settings, striking a balance between controlled egress and safety. Delayed egress locks are security systems that hold the door open for 15 to 30 seconds to prevent unauthorized exits. A delayed egress door is an exit in an establishment assigned. How Does A Delayed Egress Door Work.
From idighardware.com
WWYD? Delayed Egress I Dig Hardware Answers to your door, hardware How Does A Delayed Egress Door Work Delayed egress systems are typically configured in several ways: An integrated delayed egress electromagnetic lock in which all logic. Delayed egress devices play a vital role in security across various settings, striking a balance between controlled egress and safety. Delayed egress locks are security systems that hold the door open for 15 to 30 seconds to prevent unauthorized exits. A. How Does A Delayed Egress Door Work.
From www.locksmithledger.com
Understanding Delayed Egress Locksmith Ledger How Does A Delayed Egress Door Work An integrated delayed egress electromagnetic lock in which all logic. Delayed egress systems are available in several configurations to suit a wide variety of door types, occupancies, and applications. Delayed egress locks are security systems that hold the door open for 15 to 30 seconds to prevent unauthorized exits. Delayed egress systems are typically configured in several ways: A delayed. How Does A Delayed Egress Door Work.
From www.locksmithledger.com
Delayed Egress The Fundamentals Locksmith Ledger How Does A Delayed Egress Door Work An integrated delayed egress electromagnetic lock in which all logic. A delayed egress door is an exit in an establishment assigned with a special locking arrangement that prevents somebody from leaving an area. Delayed egress systems are typically configured in several ways: Delayed egress systems are available in several configurations to suit a wide variety of door types, occupancies, and. How Does A Delayed Egress Door Work.
From www.locksmithledger.com
Delayed Egress What, Where, Why And How? How Does A Delayed Egress Door Work Delayed egress locks are security systems that hold the door open for 15 to 30 seconds to prevent unauthorized exits. Delayed egress systems are typically configured in several ways: An integrated delayed egress electromagnetic lock in which all logic. It is the opposite of. Delayed egress systems are available in several configurations to suit a wide variety of door types,. How Does A Delayed Egress Door Work.
From www.door-hardware-genius.com
path of egress » Door Hardware Genius How Does A Delayed Egress Door Work It is the opposite of. An integrated delayed egress electromagnetic lock in which all logic. Delayed egress devices play a vital role in security across various settings, striking a balance between controlled egress and safety. A delayed egress door is an exit in an establishment assigned with a special locking arrangement that prevents somebody from leaving an area. Delayed egress. How Does A Delayed Egress Door Work.
From www.locksmithledger.com
Delayed Egress The Fundamentals Locksmith Ledger How Does A Delayed Egress Door Work Delayed egress systems are available in several configurations to suit a wide variety of door types, occupancies, and applications. Delayed egress locks are security systems that hold the door open for 15 to 30 seconds to prevent unauthorized exits. Delayed egress systems are typically configured in several ways: Delayed egress devices play a vital role in security across various settings,. How Does A Delayed Egress Door Work.
From idighardware.com
5D Controlled Egress vs. Delayed Egress I Dig Hardware Answers to How Does A Delayed Egress Door Work Delayed egress systems are typically configured in several ways: It is the opposite of. A delayed egress door is an exit in an establishment assigned with a special locking arrangement that prevents somebody from leaving an area. Delayed egress systems are available in several configurations to suit a wide variety of door types, occupancies, and applications. Delayed egress devices play. How Does A Delayed Egress Door Work.
From idighardware.com
Infographic Delayed Egress or Controlled Egress? I Dig Hardware How Does A Delayed Egress Door Work Delayed egress systems are available in several configurations to suit a wide variety of door types, occupancies, and applications. Delayed egress systems are typically configured in several ways: Delayed egress locks are security systems that hold the door open for 15 to 30 seconds to prevent unauthorized exits. A delayed egress door is an exit in an establishment assigned with. How Does A Delayed Egress Door Work.
From www.locksmithledger.com
The Basics of Delayed Egress Locksmith Ledger How Does A Delayed Egress Door Work Delayed egress devices play a vital role in security across various settings, striking a balance between controlled egress and safety. It is the opposite of. Delayed egress locks are security systems that hold the door open for 15 to 30 seconds to prevent unauthorized exits. A delayed egress door is an exit in an establishment assigned with a special locking. How Does A Delayed Egress Door Work.
From www.cal-royal.com
Delayed Egress How Does A Delayed Egress Door Work It is the opposite of. Delayed egress devices play a vital role in security across various settings, striking a balance between controlled egress and safety. A delayed egress door is an exit in an establishment assigned with a special locking arrangement that prevents somebody from leaving an area. Delayed egress systems are available in several configurations to suit a wide. How Does A Delayed Egress Door Work.
From www.locksmithledger.com
Delayed Egress What, Where, Why And How? How Does A Delayed Egress Door Work An integrated delayed egress electromagnetic lock in which all logic. Delayed egress locks are security systems that hold the door open for 15 to 30 seconds to prevent unauthorized exits. It is the opposite of. A delayed egress door is an exit in an establishment assigned with a special locking arrangement that prevents somebody from leaving an area. Delayed egress. How Does A Delayed Egress Door Work.
From solutions.sdcsecurity.com
Security Door Controls Delayed Egress How Does A Delayed Egress Door Work Delayed egress systems are typically configured in several ways: Delayed egress devices play a vital role in security across various settings, striking a balance between controlled egress and safety. An integrated delayed egress electromagnetic lock in which all logic. A delayed egress door is an exit in an establishment assigned with a special locking arrangement that prevents somebody from leaving. How Does A Delayed Egress Door Work.