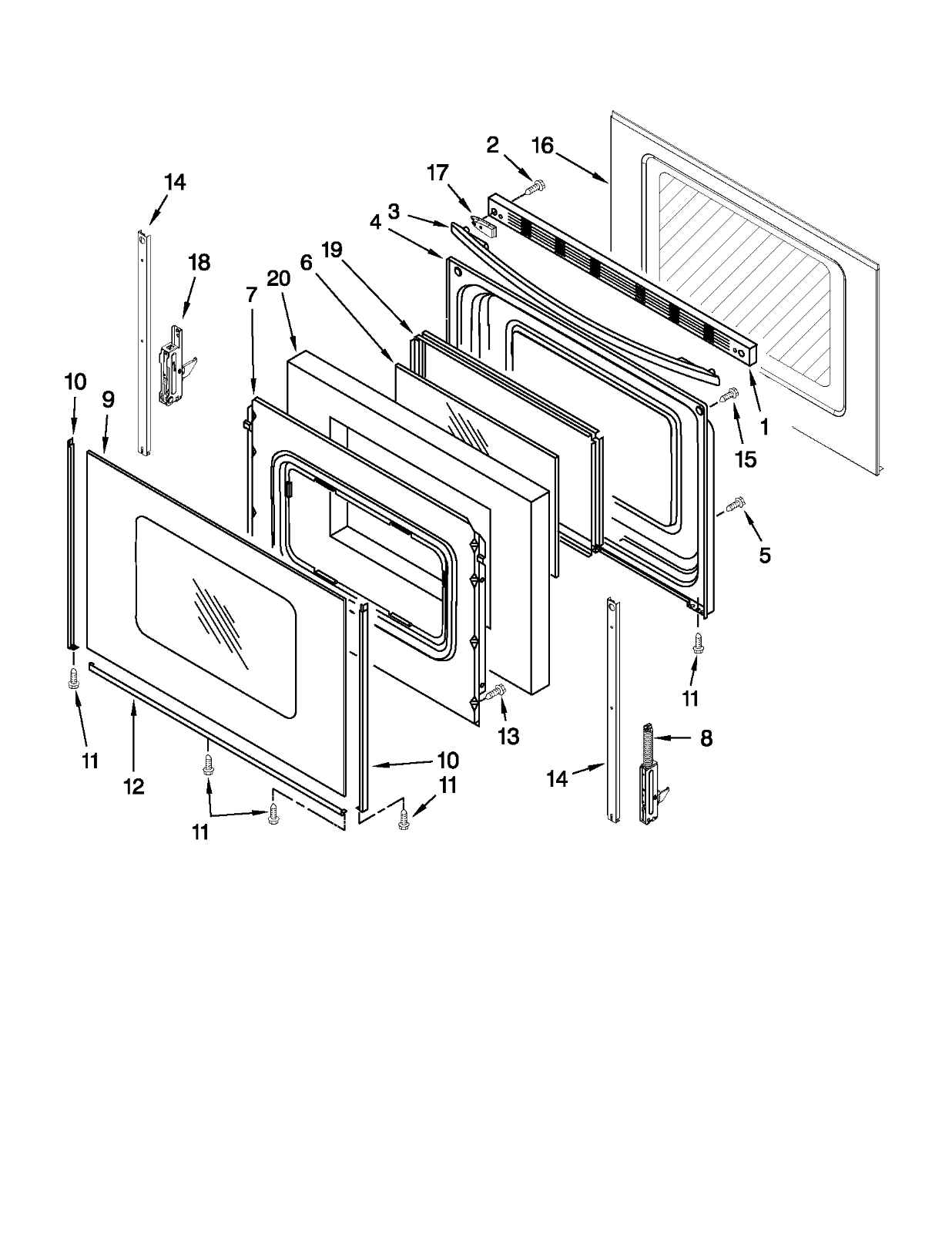
How To Replace Door Hinges On Whirlpool Oven . Whirlpool/kitchenaid/maytag oven door hinge w10347466. One on the left and one on the right. Oven doors have two hinges: How to replace a whirlpool oven door with hinge latches. If the hinge of your oven breaks or gets bent, you might need to fix your oven door. Using two hands, grasp the side edges of the door at the midpoint.
from www.youtube.com
If the hinge of your oven breaks or gets bent, you might need to fix your oven door. Whirlpool/kitchenaid/maytag oven door hinge w10347466. How to replace a whirlpool oven door with hinge latches. One on the left and one on the right. Using two hands, grasp the side edges of the door at the midpoint. Oven doors have two hinges:
Oven Door Hinge (part W10347466)How To Replace YouTube
How To Replace Door Hinges On Whirlpool Oven How to replace a whirlpool oven door with hinge latches. Oven doors have two hinges: One on the left and one on the right. Whirlpool/kitchenaid/maytag oven door hinge w10347466. How to replace a whirlpool oven door with hinge latches. If the hinge of your oven breaks or gets bent, you might need to fix your oven door. Using two hands, grasp the side edges of the door at the midpoint.
From www.youtube.com
How To Remove and Reinstall Oven Door Easy YouTube How To Replace Door Hinges On Whirlpool Oven If the hinge of your oven breaks or gets bent, you might need to fix your oven door. One on the left and one on the right. How to replace a whirlpool oven door with hinge latches. Oven doors have two hinges: Using two hands, grasp the side edges of the door at the midpoint. Whirlpool/kitchenaid/maytag oven door hinge w10347466. How To Replace Door Hinges On Whirlpool Oven.
From www.whirlpoolparts.com
Door Hinge WPW10299227 Whirlpool Replacement Parts How To Replace Door Hinges On Whirlpool Oven Whirlpool/kitchenaid/maytag oven door hinge w10347466. Using two hands, grasp the side edges of the door at the midpoint. One on the left and one on the right. How to replace a whirlpool oven door with hinge latches. If the hinge of your oven breaks or gets bent, you might need to fix your oven door. Oven doors have two hinges: How To Replace Door Hinges On Whirlpool Oven.
From www.how-to-repair.com
How To Clean Glass Oven Door Or Replace Oven Hinges? Hotpoint, Ariston & Whirlpool Ovens How How To Replace Door Hinges On Whirlpool Oven Using two hands, grasp the side edges of the door at the midpoint. How to replace a whirlpool oven door with hinge latches. Whirlpool/kitchenaid/maytag oven door hinge w10347466. One on the left and one on the right. Oven doors have two hinges: If the hinge of your oven breaks or gets bent, you might need to fix your oven door. How To Replace Door Hinges On Whirlpool Oven.
From www.bonanza.com
Whirlpool Range Left Oven Door Hinge (W10299227 / WPW10299227) {P4159} Cooking Appliance Parts How To Replace Door Hinges On Whirlpool Oven Whirlpool/kitchenaid/maytag oven door hinge w10347466. If the hinge of your oven breaks or gets bent, you might need to fix your oven door. One on the left and one on the right. How to replace a whirlpool oven door with hinge latches. Using two hands, grasp the side edges of the door at the midpoint. Oven doors have two hinges: How To Replace Door Hinges On Whirlpool Oven.
From fredsappliance.com
How to Replace Your Oven Door Hinges Fred's Appliance How To Replace Door Hinges On Whirlpool Oven How to replace a whirlpool oven door with hinge latches. Oven doors have two hinges: Using two hands, grasp the side edges of the door at the midpoint. One on the left and one on the right. Whirlpool/kitchenaid/maytag oven door hinge w10347466. If the hinge of your oven breaks or gets bent, you might need to fix your oven door. How To Replace Door Hinges On Whirlpool Oven.
From www.youtube.com
Dacor Oven Door Hinge Replacement YouTube How To Replace Door Hinges On Whirlpool Oven Using two hands, grasp the side edges of the door at the midpoint. Whirlpool/kitchenaid/maytag oven door hinge w10347466. One on the left and one on the right. How to replace a whirlpool oven door with hinge latches. If the hinge of your oven breaks or gets bent, you might need to fix your oven door. Oven doors have two hinges: How To Replace Door Hinges On Whirlpool Oven.
From www.youtube.com
Whirlpool Range/Oven Repair How to Replace the Exterior Door Glass YouTube How To Replace Door Hinges On Whirlpool Oven One on the left and one on the right. If the hinge of your oven breaks or gets bent, you might need to fix your oven door. Oven doors have two hinges: How to replace a whirlpool oven door with hinge latches. Using two hands, grasp the side edges of the door at the midpoint. Whirlpool/kitchenaid/maytag oven door hinge w10347466. How To Replace Door Hinges On Whirlpool Oven.
From www.justanswer.com
How do I replace the hinge on my oven door How To Replace Door Hinges On Whirlpool Oven If the hinge of your oven breaks or gets bent, you might need to fix your oven door. Whirlpool/kitchenaid/maytag oven door hinge w10347466. How to replace a whirlpool oven door with hinge latches. Using two hands, grasp the side edges of the door at the midpoint. One on the left and one on the right. Oven doors have two hinges: How To Replace Door Hinges On Whirlpool Oven.
From www.youtube.com
How To Clean Inside An Oven Door Glass Or Replace Oven Hinges? Hotpoint, Ariston & Whirlpool How To Replace Door Hinges On Whirlpool Oven How to replace a whirlpool oven door with hinge latches. If the hinge of your oven breaks or gets bent, you might need to fix your oven door. Whirlpool/kitchenaid/maytag oven door hinge w10347466. One on the left and one on the right. Oven doors have two hinges: Using two hands, grasp the side edges of the door at the midpoint. How To Replace Door Hinges On Whirlpool Oven.
From www.youtube.com
Whirlpool Oven Door Removal Old Style without hinge lock YouTube How To Replace Door Hinges On Whirlpool Oven If the hinge of your oven breaks or gets bent, you might need to fix your oven door. Oven doors have two hinges: How to replace a whirlpool oven door with hinge latches. Using two hands, grasp the side edges of the door at the midpoint. One on the left and one on the right. Whirlpool/kitchenaid/maytag oven door hinge w10347466. How To Replace Door Hinges On Whirlpool Oven.
From www.youtube.com
Whirlpool Gas Range Door Hinge Replacement W10420753 YouTube How To Replace Door Hinges On Whirlpool Oven How to replace a whirlpool oven door with hinge latches. Whirlpool/kitchenaid/maytag oven door hinge w10347466. One on the left and one on the right. Oven doors have two hinges: If the hinge of your oven breaks or gets bent, you might need to fix your oven door. Using two hands, grasp the side edges of the door at the midpoint. How To Replace Door Hinges On Whirlpool Oven.
From hxesxofyp.blob.core.windows.net
How To Replace Oven Door Hinges at Megan Robertson blog How To Replace Door Hinges On Whirlpool Oven Whirlpool/kitchenaid/maytag oven door hinge w10347466. If the hinge of your oven breaks or gets bent, you might need to fix your oven door. One on the left and one on the right. How to replace a whirlpool oven door with hinge latches. Oven doors have two hinges: Using two hands, grasp the side edges of the door at the midpoint. How To Replace Door Hinges On Whirlpool Oven.
From www.youtube.com
DIY Oven Door Hinge Replacement Kenmore oven repair YouTube How To Replace Door Hinges On Whirlpool Oven If the hinge of your oven breaks or gets bent, you might need to fix your oven door. Oven doors have two hinges: Whirlpool/kitchenaid/maytag oven door hinge w10347466. One on the left and one on the right. How to replace a whirlpool oven door with hinge latches. Using two hands, grasp the side edges of the door at the midpoint. How To Replace Door Hinges On Whirlpool Oven.
From www.youtube.com
Range/Stove/Oven Repair Replacing the Door Hinge (Whirlpool Part 74008014) YouTube How To Replace Door Hinges On Whirlpool Oven One on the left and one on the right. Whirlpool/kitchenaid/maytag oven door hinge w10347466. Using two hands, grasp the side edges of the door at the midpoint. How to replace a whirlpool oven door with hinge latches. If the hinge of your oven breaks or gets bent, you might need to fix your oven door. Oven doors have two hinges: How To Replace Door Hinges On Whirlpool Oven.
From www.how-to-repair.com
How To Clean Glass Oven Door Or Replace Oven Hinges? Hotpoint, Ariston & Whirlpool Ovens How How To Replace Door Hinges On Whirlpool Oven If the hinge of your oven breaks or gets bent, you might need to fix your oven door. Using two hands, grasp the side edges of the door at the midpoint. Whirlpool/kitchenaid/maytag oven door hinge w10347466. One on the left and one on the right. Oven doors have two hinges: How to replace a whirlpool oven door with hinge latches. How To Replace Door Hinges On Whirlpool Oven.
From www.youtube.com
Whirlpool Oven Repair How to Replace the Door Trim Left Side (Whirlpool Part W10761018 How To Replace Door Hinges On Whirlpool Oven How to replace a whirlpool oven door with hinge latches. If the hinge of your oven breaks or gets bent, you might need to fix your oven door. Whirlpool/kitchenaid/maytag oven door hinge w10347466. Oven doors have two hinges: Using two hands, grasp the side edges of the door at the midpoint. One on the left and one on the right. How To Replace Door Hinges On Whirlpool Oven.
From appliances.wonderhowto.com
How to Replace the hinges on a Smeg oven door « Home Appliances How To Replace Door Hinges On Whirlpool Oven How to replace a whirlpool oven door with hinge latches. Whirlpool/kitchenaid/maytag oven door hinge w10347466. If the hinge of your oven breaks or gets bent, you might need to fix your oven door. Using two hands, grasp the side edges of the door at the midpoint. Oven doors have two hinges: One on the left and one on the right. How To Replace Door Hinges On Whirlpool Oven.
From www.youtube.com
Range/Stove/Oven Repair Replacing the Door Hinge (WhirlpoolPart 9782033) YouTube How To Replace Door Hinges On Whirlpool Oven One on the left and one on the right. If the hinge of your oven breaks or gets bent, you might need to fix your oven door. Using two hands, grasp the side edges of the door at the midpoint. How to replace a whirlpool oven door with hinge latches. Whirlpool/kitchenaid/maytag oven door hinge w10347466. Oven doors have two hinges: How To Replace Door Hinges On Whirlpool Oven.
From www.youtube.com
How to Replace Oven Door Spare Parts YouTube How To Replace Door Hinges On Whirlpool Oven If the hinge of your oven breaks or gets bent, you might need to fix your oven door. Oven doors have two hinges: Whirlpool/kitchenaid/maytag oven door hinge w10347466. How to replace a whirlpool oven door with hinge latches. Using two hands, grasp the side edges of the door at the midpoint. One on the left and one on the right. How To Replace Door Hinges On Whirlpool Oven.
From hdsupplysolutions.com
Oven Door Repair HD Supply How To Replace Door Hinges On Whirlpool Oven One on the left and one on the right. If the hinge of your oven breaks or gets bent, you might need to fix your oven door. Oven doors have two hinges: Whirlpool/kitchenaid/maytag oven door hinge w10347466. Using two hands, grasp the side edges of the door at the midpoint. How to replace a whirlpool oven door with hinge latches. How To Replace Door Hinges On Whirlpool Oven.
From www.appliancepartspros.com
How To Replace An Oven Door Hinge (With Video!) AppliancePartsPros Blog How To Replace Door Hinges On Whirlpool Oven Oven doors have two hinges: If the hinge of your oven breaks or gets bent, you might need to fix your oven door. One on the left and one on the right. Whirlpool/kitchenaid/maytag oven door hinge w10347466. Using two hands, grasp the side edges of the door at the midpoint. How to replace a whirlpool oven door with hinge latches. How To Replace Door Hinges On Whirlpool Oven.
From www.youtube.com
Whirlpool Wall Oven Door Hinge Part WP4455526 YouTube How To Replace Door Hinges On Whirlpool Oven Using two hands, grasp the side edges of the door at the midpoint. How to replace a whirlpool oven door with hinge latches. Whirlpool/kitchenaid/maytag oven door hinge w10347466. Oven doors have two hinges: One on the left and one on the right. If the hinge of your oven breaks or gets bent, you might need to fix your oven door. How To Replace Door Hinges On Whirlpool Oven.
From www.reddit.com
Whirlpool oven door hinge won't go on all the way. fixit How To Replace Door Hinges On Whirlpool Oven How to replace a whirlpool oven door with hinge latches. If the hinge of your oven breaks or gets bent, you might need to fix your oven door. Using two hands, grasp the side edges of the door at the midpoint. Oven doors have two hinges: Whirlpool/kitchenaid/maytag oven door hinge w10347466. One on the left and one on the right. How To Replace Door Hinges On Whirlpool Oven.
From www.youtube.com
How to replace the Fridge Door Hinges Oven Spares & Parts 0800 0149 636 YouTube How To Replace Door Hinges On Whirlpool Oven One on the left and one on the right. How to replace a whirlpool oven door with hinge latches. Oven doors have two hinges: Whirlpool/kitchenaid/maytag oven door hinge w10347466. Using two hands, grasp the side edges of the door at the midpoint. If the hinge of your oven breaks or gets bent, you might need to fix your oven door. How To Replace Door Hinges On Whirlpool Oven.
From www.youtube.com
HOW TO REPLACE DOOR HINGES ON KITCHENAID WHIRLPOOL OVEN YouTube How To Replace Door Hinges On Whirlpool Oven One on the left and one on the right. If the hinge of your oven breaks or gets bent, you might need to fix your oven door. Oven doors have two hinges: Using two hands, grasp the side edges of the door at the midpoint. Whirlpool/kitchenaid/maytag oven door hinge w10347466. How to replace a whirlpool oven door with hinge latches. How To Replace Door Hinges On Whirlpool Oven.
From www.youtube.com
Oven Door Hinge (part W10347466)How To Replace YouTube How To Replace Door Hinges On Whirlpool Oven Oven doors have two hinges: Using two hands, grasp the side edges of the door at the midpoint. Whirlpool/kitchenaid/maytag oven door hinge w10347466. If the hinge of your oven breaks or gets bent, you might need to fix your oven door. How to replace a whirlpool oven door with hinge latches. One on the left and one on the right. How To Replace Door Hinges On Whirlpool Oven.
From www.youtube.com
How to replace Door Hinge (Right) part WP8534853 on your Whirlpool Dishwasher YouTube How To Replace Door Hinges On Whirlpool Oven Whirlpool/kitchenaid/maytag oven door hinge w10347466. Using two hands, grasp the side edges of the door at the midpoint. One on the left and one on the right. If the hinge of your oven breaks or gets bent, you might need to fix your oven door. Oven doors have two hinges: How to replace a whirlpool oven door with hinge latches. How To Replace Door Hinges On Whirlpool Oven.
From www.justanswer.com
I have a Maytag MGR5765QDS. The oven door hinge is giving us some trouble. One of the hinges How To Replace Door Hinges On Whirlpool Oven One on the left and one on the right. Whirlpool/kitchenaid/maytag oven door hinge w10347466. Oven doors have two hinges: If the hinge of your oven breaks or gets bent, you might need to fix your oven door. How to replace a whirlpool oven door with hinge latches. Using two hands, grasp the side edges of the door at the midpoint. How To Replace Door Hinges On Whirlpool Oven.
From www.youtube.com
How To Whirlpool/KitchenAid/Maytag Oven Door Hinge WP9760574 YouTube How To Replace Door Hinges On Whirlpool Oven Oven doors have two hinges: How to replace a whirlpool oven door with hinge latches. One on the left and one on the right. Whirlpool/kitchenaid/maytag oven door hinge w10347466. Using two hands, grasp the side edges of the door at the midpoint. If the hinge of your oven breaks or gets bent, you might need to fix your oven door. How To Replace Door Hinges On Whirlpool Oven.
From www.youtube.com
Whirlpool Gas Range Oven Door Hinge Replacement WPW10440013 YouTube How To Replace Door Hinges On Whirlpool Oven How to replace a whirlpool oven door with hinge latches. Oven doors have two hinges: Whirlpool/kitchenaid/maytag oven door hinge w10347466. One on the left and one on the right. Using two hands, grasp the side edges of the door at the midpoint. If the hinge of your oven breaks or gets bent, you might need to fix your oven door. How To Replace Door Hinges On Whirlpool Oven.
From www.youtube.com
How to Replace Oven Door Hinges YouTube How To Replace Door Hinges On Whirlpool Oven Whirlpool/kitchenaid/maytag oven door hinge w10347466. Oven doors have two hinges: One on the left and one on the right. How to replace a whirlpool oven door with hinge latches. If the hinge of your oven breaks or gets bent, you might need to fix your oven door. Using two hands, grasp the side edges of the door at the midpoint. How To Replace Door Hinges On Whirlpool Oven.
From cefcnwhx.blob.core.windows.net
How To Replace Oven Door Hinges Westinghouse at Sara Wise blog How To Replace Door Hinges On Whirlpool Oven Oven doors have two hinges: Using two hands, grasp the side edges of the door at the midpoint. If the hinge of your oven breaks or gets bent, you might need to fix your oven door. One on the left and one on the right. How to replace a whirlpool oven door with hinge latches. Whirlpool/kitchenaid/maytag oven door hinge w10347466. How To Replace Door Hinges On Whirlpool Oven.
From www.ovenrepairmelbourne.com.au
hinges Oven Repairs In Melbourne How To Replace Door Hinges On Whirlpool Oven Whirlpool/kitchenaid/maytag oven door hinge w10347466. One on the left and one on the right. How to replace a whirlpool oven door with hinge latches. If the hinge of your oven breaks or gets bent, you might need to fix your oven door. Oven doors have two hinges: Using two hands, grasp the side edges of the door at the midpoint. How To Replace Door Hinges On Whirlpool Oven.
From www.youtube.com
Range/Stove/Oven Repair Replacing the Door Handle (Whirlpool Part 74011768) YouTube How To Replace Door Hinges On Whirlpool Oven Using two hands, grasp the side edges of the door at the midpoint. Oven doors have two hinges: If the hinge of your oven breaks or gets bent, you might need to fix your oven door. One on the left and one on the right. Whirlpool/kitchenaid/maytag oven door hinge w10347466. How to replace a whirlpool oven door with hinge latches. How To Replace Door Hinges On Whirlpool Oven.
From paradiseapplianceservice.com
How to Replace Your Whirlpool Oven Door's Hinges Paradise Appliance Service How To Replace Door Hinges On Whirlpool Oven One on the left and one on the right. If the hinge of your oven breaks or gets bent, you might need to fix your oven door. How to replace a whirlpool oven door with hinge latches. Whirlpool/kitchenaid/maytag oven door hinge w10347466. Using two hands, grasp the side edges of the door at the midpoint. Oven doors have two hinges: How To Replace Door Hinges On Whirlpool Oven.