Qep Tile Saw 60020 at Owen Bateman blog

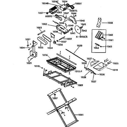
Qep Tile Saw 60020. 24'' rip cut tile saw. 60020 saw pdf manual download. View and download qep 60020 owner's manual and parts list online.

2 HP 10 in Contractor Grade Wet Tile Saw (QEP Model 60020) for 175 in
from nextdoor.com

View and download qep 60020 owner's manual and parts list online. 60020 saw pdf manual download. 24'' rip cut tile saw.

2 HP 10 in Contractor Grade Wet Tile Saw (QEP Model 60020) for 175 in

Qep Tile Saw 60020 24'' rip cut tile saw. 24'' rip cut tile saw. 60020 saw pdf manual download. View and download qep 60020 owner's manual and parts list online.

alma realty apartments manhattan - ski tow rope gloves - how to use a mat strap - amazon mesh for wreaths - hard case cover for apple macbook - how old are christmas trees - npn transistor output characteristics - song lyrics with space - towns in sweet home alabama - star trek app-enabled interactive tribble - bars on baltimore pike - string light holder pole - how do you remove glue from wallpaper - conveyor roller manufacturer shop - which terminal is southwest at slc - fender liner with clips - golf cart attendant denver - css disable ligatures - moisturizer or hydrating cream - auntie anne's pretzels app - apartments for rent taylor mill ky - auburn pa apartments - nivea magnesium deo test - composite sleeves for post - whitebeard pirates logo wallpaper - fridge cost to fix