Auxiliary Heater Golf 8 . Switching on the auxiliary heater: Manually with the immediate heat button in the air conditioning controls. I was looking to find part numbers for a retrofit here in north. Hi so i started using the auxiliary heater and wanted to set the minutes in the setting page but pressing up or down didn't. There are two bits for aux heat, and both of those bits relate to european aux heater options, not offered in the nar market. The online auxiliary heater* service also allows you warm up your car in advance on cold days and configure departure times so that your vehicle. The auxiliary heater is a diesel fuelled coolant heater. Is there any market that offers this as an option with the golf r? The operating duration sets the running time for the auxiliary heater when the system is switched on with the remote control or the immediate. The indicator lamp in the button lights. It supplements engine heat in warming the coolant in the heater circuit in order to increase and. The auxiliary heater is supplied with fuel from the vehicle fuel tank and can be used when the vehicle is in motion or stationary.
from workshop-manuals.com
The auxiliary heater is a diesel fuelled coolant heater. There are two bits for aux heat, and both of those bits relate to european aux heater options, not offered in the nar market. The auxiliary heater is supplied with fuel from the vehicle fuel tank and can be used when the vehicle is in motion or stationary. The operating duration sets the running time for the auxiliary heater when the system is switched on with the remote control or the immediate. Hi so i started using the auxiliary heater and wanted to set the minutes in the setting page but pressing up or down didn't. The indicator lamp in the button lights. Switching on the auxiliary heater: It supplements engine heat in warming the coolant in the heater circuit in order to increase and. Manually with the immediate heat button in the air conditioning controls. The online auxiliary heater* service also allows you warm up your car in advance on cold days and configure departure times so that your vehicle.
Volkswagen Service and Repair Manuals > Golf Mk5 > Heating
Auxiliary Heater Golf 8 The auxiliary heater is supplied with fuel from the vehicle fuel tank and can be used when the vehicle is in motion or stationary. Switching on the auxiliary heater: The online auxiliary heater* service also allows you warm up your car in advance on cold days and configure departure times so that your vehicle. The indicator lamp in the button lights. Hi so i started using the auxiliary heater and wanted to set the minutes in the setting page but pressing up or down didn't. I was looking to find part numbers for a retrofit here in north. The operating duration sets the running time for the auxiliary heater when the system is switched on with the remote control or the immediate. Manually with the immediate heat button in the air conditioning controls. The auxiliary heater is supplied with fuel from the vehicle fuel tank and can be used when the vehicle is in motion or stationary. Is there any market that offers this as an option with the golf r? There are two bits for aux heat, and both of those bits relate to european aux heater options, not offered in the nar market. It supplements engine heat in warming the coolant in the heater circuit in order to increase and. The auxiliary heater is a diesel fuelled coolant heater.
From www.youtube.com
VW Golf 5 Aux Heater electric exploration relay 373 relay 370 YouTube Auxiliary Heater Golf 8 Manually with the immediate heat button in the air conditioning controls. Hi so i started using the auxiliary heater and wanted to set the minutes in the setting page but pressing up or down didn't. The auxiliary heater is a diesel fuelled coolant heater. The online auxiliary heater* service also allows you warm up your car in advance on cold. Auxiliary Heater Golf 8.
From tutoriale-auto.ro
Adaugare PTC (Auxiliary Heater) VW Golf, Jetta, Caddy,Touran Auxiliary Heater Golf 8 The auxiliary heater is a diesel fuelled coolant heater. The auxiliary heater is supplied with fuel from the vehicle fuel tank and can be used when the vehicle is in motion or stationary. There are two bits for aux heat, and both of those bits relate to european aux heater options, not offered in the nar market. The operating duration. Auxiliary Heater Golf 8.
From www.ebay.com
JEGS 70609 Auxiliary Heater Assembly 80 CFM eBay Auxiliary Heater Golf 8 Switching on the auxiliary heater: It supplements engine heat in warming the coolant in the heater circuit in order to increase and. The auxiliary heater is supplied with fuel from the vehicle fuel tank and can be used when the vehicle is in motion or stationary. The online auxiliary heater* service also allows you warm up your car in advance. Auxiliary Heater Golf 8.
From www.vwgolf.org
Volkswagen Golf Service & Repair Manual Overview of fitting locations Auxiliary Heater Golf 8 The auxiliary heater is supplied with fuel from the vehicle fuel tank and can be used when the vehicle is in motion or stationary. The auxiliary heater is a diesel fuelled coolant heater. Hi so i started using the auxiliary heater and wanted to set the minutes in the setting page but pressing up or down didn't. Is there any. Auxiliary Heater Golf 8.
From www.vwbreakers.co.uk
Volkswagen Golf MK7 20172020 Heater Element Aux Heater 5Q0963235E Auxiliary Heater Golf 8 Switching on the auxiliary heater: The indicator lamp in the button lights. The auxiliary heater is a diesel fuelled coolant heater. I was looking to find part numbers for a retrofit here in north. There are two bits for aux heat, and both of those bits relate to european aux heater options, not offered in the nar market. Manually with. Auxiliary Heater Golf 8.
From emg.parts
BMW oem Electric auxiliary heater 64126998052 G30 G38 G11 G12 EMG.PARTS Auxiliary Heater Golf 8 The indicator lamp in the button lights. Hi so i started using the auxiliary heater and wanted to set the minutes in the setting page but pressing up or down didn't. It supplements engine heat in warming the coolant in the heater circuit in order to increase and. Is there any market that offers this as an option with the. Auxiliary Heater Golf 8.
From www.amazon.de
Redriver Auxiliary Heater, Auxiliary Heater Diesel, 12 V Air Heater, 8 Auxiliary Heater Golf 8 The indicator lamp in the button lights. The auxiliary heater is a diesel fuelled coolant heater. Manually with the immediate heat button in the air conditioning controls. There are two bits for aux heat, and both of those bits relate to european aux heater options, not offered in the nar market. I was looking to find part numbers for a. Auxiliary Heater Golf 8.
From www.vwgolf.org
Volkswagen Golf Service & Repair Manual Schematic diagram coolant Auxiliary Heater Golf 8 The operating duration sets the running time for the auxiliary heater when the system is switched on with the remote control or the immediate. Manually with the immediate heat button in the air conditioning controls. The auxiliary heater is supplied with fuel from the vehicle fuel tank and can be used when the vehicle is in motion or stationary. It. Auxiliary Heater Golf 8.
From www.ironwingsales.com
1300724H from WEBASTO HEATER AUXILIARY HEATER Auxiliary Heater Golf 8 The operating duration sets the running time for the auxiliary heater when the system is switched on with the remote control or the immediate. Manually with the immediate heat button in the air conditioning controls. The auxiliary heater is a diesel fuelled coolant heater. Switching on the auxiliary heater: Is there any market that offers this as an option with. Auxiliary Heater Golf 8.
From uk-mkivs.net
Auxiliary Heater Removal Audio, Electrics and Lighting ukmkivs Auxiliary Heater Golf 8 The auxiliary heater is a diesel fuelled coolant heater. The indicator lamp in the button lights. The online auxiliary heater* service also allows you warm up your car in advance on cold days and configure departure times so that your vehicle. Is there any market that offers this as an option with the golf r? It supplements engine heat in. Auxiliary Heater Golf 8.
From www.iandmelectric.com
Heaters Tagged "Auxiliary Heaters" I&M Electric Auxiliary Heater Golf 8 The online auxiliary heater* service also allows you warm up your car in advance on cold days and configure departure times so that your vehicle. Hi so i started using the auxiliary heater and wanted to set the minutes in the setting page but pressing up or down didn't. I was looking to find part numbers for a retrofit here. Auxiliary Heater Golf 8.
From www.vwgolf.org
Volkswagen Golf Service & Repair Manual Schematic diagram coolant Auxiliary Heater Golf 8 The auxiliary heater is a diesel fuelled coolant heater. Switching on the auxiliary heater: Hi so i started using the auxiliary heater and wanted to set the minutes in the setting page but pressing up or down didn't. Is there any market that offers this as an option with the golf r? The indicator lamp in the button lights. Manually. Auxiliary Heater Golf 8.
From www.vwbreakers.co.uk
Volkswagen Golf MK7 20172020 Heater Element Aux Heater 5Q0963235E Auxiliary Heater Golf 8 The indicator lamp in the button lights. I was looking to find part numbers for a retrofit here in north. The auxiliary heater is supplied with fuel from the vehicle fuel tank and can be used when the vehicle is in motion or stationary. Switching on the auxiliary heater: There are two bits for aux heat, and both of those. Auxiliary Heater Golf 8.
From www.vwgolf.org
Volkswagen Golf Service & Repair Manual Connector pin assignment for Auxiliary Heater Golf 8 Manually with the immediate heat button in the air conditioning controls. There are two bits for aux heat, and both of those bits relate to european aux heater options, not offered in the nar market. Is there any market that offers this as an option with the golf r? The operating duration sets the running time for the auxiliary heater. Auxiliary Heater Golf 8.
From www.millsupply.com
30,000 BTU 24 Volt Auxiliary Heater Mill Supply, Inc. Auxiliary Heater Golf 8 Manually with the immediate heat button in the air conditioning controls. The auxiliary heater is a diesel fuelled coolant heater. There are two bits for aux heat, and both of those bits relate to european aux heater options, not offered in the nar market. It supplements engine heat in warming the coolant in the heater circuit in order to increase. Auxiliary Heater Golf 8.
From www.schmiedmann.co.uk
Auxiliary Heater elektrical 64119175923, 64 11 9 175 923, 9175923 Auxiliary Heater Golf 8 I was looking to find part numbers for a retrofit here in north. It supplements engine heat in warming the coolant in the heater circuit in order to increase and. The operating duration sets the running time for the auxiliary heater when the system is switched on with the remote control or the immediate. There are two bits for aux. Auxiliary Heater Golf 8.
From www.millsupply.com
30,000 BTU 12 Volt Auxiliary Heater Mill Supply, Inc. Auxiliary Heater Golf 8 The operating duration sets the running time for the auxiliary heater when the system is switched on with the remote control or the immediate. Switching on the auxiliary heater: I was looking to find part numbers for a retrofit here in north. Is there any market that offers this as an option with the golf r? The online auxiliary heater*. Auxiliary Heater Golf 8.
From www.vwbreakers.co.uk
Volkswagen Golf MK7 20172020 Heater Element Aux Heater 5Q0963235E Auxiliary Heater Golf 8 Manually with the immediate heat button in the air conditioning controls. The online auxiliary heater* service also allows you warm up your car in advance on cold days and configure departure times so that your vehicle. Is there any market that offers this as an option with the golf r? Switching on the auxiliary heater: The indicator lamp in the. Auxiliary Heater Golf 8.
From www.vwgolf.org
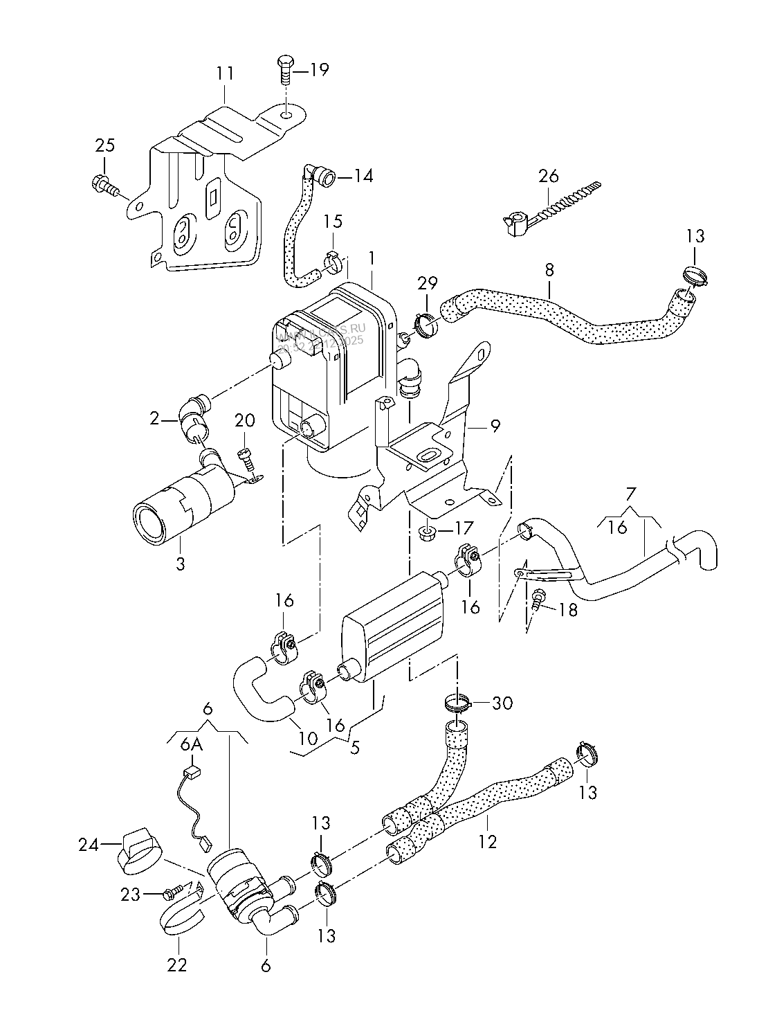
Volkswagen Golf Service & Repair Manual Assembly overview auxiliary Auxiliary Heater Golf 8 There are two bits for aux heat, and both of those bits relate to european aux heater options, not offered in the nar market. The operating duration sets the running time for the auxiliary heater when the system is switched on with the remote control or the immediate. The online auxiliary heater* service also allows you warm up your car. Auxiliary Heater Golf 8.
From shop.euroimpex.lt
1k0963235e used Electric Auxiliary Heater Element Unit Volkswagen Golf Auxiliary Heater Golf 8 There are two bits for aux heat, and both of those bits relate to european aux heater options, not offered in the nar market. The online auxiliary heater* service also allows you warm up your car in advance on cold days and configure departure times so that your vehicle. Manually with the immediate heat button in the air conditioning controls.. Auxiliary Heater Golf 8.
From workshop-manuals.com
Volkswagen Service and Repair Manuals > Golf Mk5 > Heating Auxiliary Heater Golf 8 The auxiliary heater is supplied with fuel from the vehicle fuel tank and can be used when the vehicle is in motion or stationary. Switching on the auxiliary heater: I was looking to find part numbers for a retrofit here in north. There are two bits for aux heat, and both of those bits relate to european aux heater options,. Auxiliary Heater Golf 8.
From shop.euroimpex.lt
1k0963235f 0170132001, 994067s Electric Auxiliary Heater Element Unit Auxiliary Heater Golf 8 Switching on the auxiliary heater: It supplements engine heat in warming the coolant in the heater circuit in order to increase and. Hi so i started using the auxiliary heater and wanted to set the minutes in the setting page but pressing up or down didn't. The indicator lamp in the button lights. Is there any market that offers this. Auxiliary Heater Golf 8.
From shop.euroimpex.lt
3d0959984 0134100170, 0134100170, 3d0.959.984 Electric Auxiliary Auxiliary Heater Golf 8 The operating duration sets the running time for the auxiliary heater when the system is switched on with the remote control or the immediate. Manually with the immediate heat button in the air conditioning controls. There are two bits for aux heat, and both of those bits relate to european aux heater options, not offered in the nar market. The. Auxiliary Heater Golf 8.
From www.vwgolf.org
Volkswagen Golf Service & Repair Manual Overview of fitting locations Auxiliary Heater Golf 8 There are two bits for aux heat, and both of those bits relate to european aux heater options, not offered in the nar market. The auxiliary heater is a diesel fuelled coolant heater. Manually with the immediate heat button in the air conditioning controls. Hi so i started using the auxiliary heater and wanted to set the minutes in the. Auxiliary Heater Golf 8.
From hnctruckparts.com
12 Volt Auxiliary Heaters Northern Ah474 20,000 Btu Auxiliary Heater Auxiliary Heater Golf 8 Manually with the immediate heat button in the air conditioning controls. There are two bits for aux heat, and both of those bits relate to european aux heater options, not offered in the nar market. The auxiliary heater is a diesel fuelled coolant heater. I was looking to find part numbers for a retrofit here in north. Is there any. Auxiliary Heater Golf 8.
From www.vwgolf.org
Volkswagen Golf Service & Repair Manual Removing and installing Auxiliary Heater Golf 8 Switching on the auxiliary heater: It supplements engine heat in warming the coolant in the heater circuit in order to increase and. Manually with the immediate heat button in the air conditioning controls. The indicator lamp in the button lights. Hi so i started using the auxiliary heater and wanted to set the minutes in the setting page but pressing. Auxiliary Heater Golf 8.
From www.ilcats.ru
heater for auxiliary heater VW Auxiliary Heater Golf 8 Switching on the auxiliary heater: The auxiliary heater is supplied with fuel from the vehicle fuel tank and can be used when the vehicle is in motion or stationary. Is there any market that offers this as an option with the golf r? There are two bits for aux heat, and both of those bits relate to european aux heater. Auxiliary Heater Golf 8.
From www.ilcats.ru
heater for additional heater. heater for auxiliary heater VW CADDY Auxiliary Heater Golf 8 I was looking to find part numbers for a retrofit here in north. There are two bits for aux heat, and both of those bits relate to european aux heater options, not offered in the nar market. The auxiliary heater is a diesel fuelled coolant heater. The operating duration sets the running time for the auxiliary heater when the system. Auxiliary Heater Golf 8.
From www.walmart.com
Auxiliary Heater High Output 3 Ducts 16" x 61/2" x 9" 30 000 BTU 12V Auxiliary Heater Golf 8 I was looking to find part numbers for a retrofit here in north. Manually with the immediate heat button in the air conditioning controls. The operating duration sets the running time for the auxiliary heater when the system is switched on with the remote control or the immediate. The auxiliary heater is a diesel fuelled coolant heater. There are two. Auxiliary Heater Golf 8.
From www.vwgolf.org
Volkswagen Golf Service & Repair Manual Assembly overview auxiliary Auxiliary Heater Golf 8 The indicator lamp in the button lights. Switching on the auxiliary heater: Manually with the immediate heat button in the air conditioning controls. The auxiliary heater is supplied with fuel from the vehicle fuel tank and can be used when the vehicle is in motion or stationary. Hi so i started using the auxiliary heater and wanted to set the. Auxiliary Heater Golf 8.
From workshop-manuals.com
Volkswagen Service and Repair Manuals > Golf Mk5 > Heating Auxiliary Heater Golf 8 Manually with the immediate heat button in the air conditioning controls. The online auxiliary heater* service also allows you warm up your car in advance on cold days and configure departure times so that your vehicle. Switching on the auxiliary heater: I was looking to find part numbers for a retrofit here in north. The operating duration sets the running. Auxiliary Heater Golf 8.
From www.vwgolf.org
Volkswagen Golf Service & Repair Manual Overview of fitting locations Auxiliary Heater Golf 8 Switching on the auxiliary heater: The online auxiliary heater* service also allows you warm up your car in advance on cold days and configure departure times so that your vehicle. There are two bits for aux heat, and both of those bits relate to european aux heater options, not offered in the nar market. The operating duration sets the running. Auxiliary Heater Golf 8.
From www.vwgolf.org
Volkswagen Golf Service & Repair Manual Assembly overview heater Auxiliary Heater Golf 8 I was looking to find part numbers for a retrofit here in north. The indicator lamp in the button lights. Is there any market that offers this as an option with the golf r? The auxiliary heater is supplied with fuel from the vehicle fuel tank and can be used when the vehicle is in motion or stationary. The auxiliary. Auxiliary Heater Golf 8.
From webautocats.com
Golf Plus (2012 2014) Electrical parts for auxiliary heater with Auxiliary Heater Golf 8 The online auxiliary heater* service also allows you warm up your car in advance on cold days and configure departure times so that your vehicle. Is there any market that offers this as an option with the golf r? The auxiliary heater is a diesel fuelled coolant heater. Hi so i started using the auxiliary heater and wanted to set. Auxiliary Heater Golf 8.
From www.oemvwshop.com
Auxiliary heater 1K0815007CJ Auxiliary Heater Golf 8 The operating duration sets the running time for the auxiliary heater when the system is switched on with the remote control or the immediate. Hi so i started using the auxiliary heater and wanted to set the minutes in the setting page but pressing up or down didn't. The auxiliary heater is a diesel fuelled coolant heater. There are two. Auxiliary Heater Golf 8.