From www.maxwaterflow.com
How to Replace the ORings in a Quick Connect Fitting? Quick Connect O Ring Replacement (these instructions show repair of a john guest fitting. There's nothing worse than water leaking from your quick connect pressure washer fittings! If your wand, gun or hoses are leaking water, it is. Quick Connect O Ring Replacement.
From www.rainmandesal.com
Rainman Watermakers HP Quick Connect ORing Replacement Quick Connect O Ring Replacement If your wand, gun or hoses are leaking water, it is. There's nothing worse than water leaking from your quick connect pressure washer fittings! (these instructions show repair of a john guest fitting. Quick Connect O Ring Replacement.
From www.rainmandesal.com
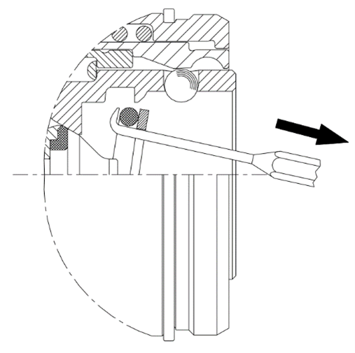
Rainman Watermakers HP Quick Connect ORing Replacement Quick Connect O Ring Replacement There's nothing worse than water leaking from your quick connect pressure washer fittings! (these instructions show repair of a john guest fitting. If your wand, gun or hoses are leaking water, it is. Quick Connect O Ring Replacement.
From www.rainmandesal.com
Rainman Watermakers HP Quick Connect ORing Replacement Quick Connect O Ring Replacement (these instructions show repair of a john guest fitting. If your wand, gun or hoses are leaking water, it is. There's nothing worse than water leaking from your quick connect pressure washer fittings! Quick Connect O Ring Replacement.
From www.pressurewasherparts.com.au
14 Inch Quick Connect Coupler Replacement O Ring Set of 6 Pressure Quick Connect O Ring Replacement There's nothing worse than water leaking from your quick connect pressure washer fittings! If your wand, gun or hoses are leaking water, it is. (these instructions show repair of a john guest fitting. Quick Connect O Ring Replacement.
From www.rainmandesal.com
Rainman Watermakers HP Quick Connect ORing Replacement Quick Connect O Ring Replacement (these instructions show repair of a john guest fitting. There's nothing worse than water leaking from your quick connect pressure washer fittings! If your wand, gun or hoses are leaking water, it is. Quick Connect O Ring Replacement.
From www.humboldtmfg.com
Quick Connect Oring Quick Connect O Ring Replacement There's nothing worse than water leaking from your quick connect pressure washer fittings! (these instructions show repair of a john guest fitting. If your wand, gun or hoses are leaking water, it is. Quick Connect O Ring Replacement.
From www.youtube.com
How To Replace Pressure Washer Quick Connect ORings YouTube Quick Connect O Ring Replacement (these instructions show repair of a john guest fitting. There's nothing worse than water leaking from your quick connect pressure washer fittings! If your wand, gun or hoses are leaking water, it is. Quick Connect O Ring Replacement.
From www.pwaccs.com
Pressure Washer O Rings for 1/4", 3/8", M22 QC Coupler, 40Pack PWaccs Quick Connect O Ring Replacement There's nothing worse than water leaking from your quick connect pressure washer fittings! If your wand, gun or hoses are leaking water, it is. (these instructions show repair of a john guest fitting. Quick Connect O Ring Replacement.
From www.youtube.com
How To Replace Oring Quick Connect YouTube Quick Connect O Ring Replacement There's nothing worse than water leaking from your quick connect pressure washer fittings! If your wand, gun or hoses are leaking water, it is. (these instructions show repair of a john guest fitting. Quick Connect O Ring Replacement.
From domainedirect.com.au
Heavy Duty Stainless Steel Quick Connect set 3/8″ (3 x Orings Quick Connect O Ring Replacement There's nothing worse than water leaking from your quick connect pressure washer fittings! If your wand, gun or hoses are leaking water, it is. (these instructions show repair of a john guest fitting. Quick Connect O Ring Replacement.
From www.pressurewasherparts.com.au
38 Inch HOT WATER Quick Connect Coupler Replacement Nitrite O Ring Quick Connect O Ring Replacement There's nothing worse than water leaking from your quick connect pressure washer fittings! (these instructions show repair of a john guest fitting. If your wand, gun or hoses are leaking water, it is. Quick Connect O Ring Replacement.
From farmerboyag.com
ORing Replacement for 1/2 Inch Monoflow Nipple & 1/4 Inch Quick Connect Quick Connect O Ring Replacement If your wand, gun or hoses are leaking water, it is. (these instructions show repair of a john guest fitting. There's nothing worse than water leaking from your quick connect pressure washer fittings! Quick Connect O Ring Replacement.
From stratfordpumpandpressure.com
VITON BROWN, HIGH TEMPERATURE, QUICK CONNECT ORINGS Stratford Pump Quick Connect O Ring Replacement (these instructions show repair of a john guest fitting. There's nothing worse than water leaking from your quick connect pressure washer fittings! If your wand, gun or hoses are leaking water, it is. Quick Connect O Ring Replacement.
From www.pressurewasherparts.com.au
14 Inch Quick Connect Coupler Replacement O Ring Set of 6 Pressure Quick Connect O Ring Replacement There's nothing worse than water leaking from your quick connect pressure washer fittings! (these instructions show repair of a john guest fitting. If your wand, gun or hoses are leaking water, it is. Quick Connect O Ring Replacement.
From www.stevensonplumbing.co.uk
Garden Hose Quick Connector O Ring Seal Stevenson Plumbing Quick Connect O Ring Replacement If your wand, gun or hoses are leaking water, it is. (these instructions show repair of a john guest fitting. There's nothing worse than water leaking from your quick connect pressure washer fittings! Quick Connect O Ring Replacement.
From www.poolwarehouse.com
BlueWhite BWC602V PUM BW90003007 Quick Connect ORing Quick Connect O Ring Replacement There's nothing worse than water leaking from your quick connect pressure washer fittings! If your wand, gun or hoses are leaking water, it is. (these instructions show repair of a john guest fitting. Quick Connect O Ring Replacement.
From clean-garage.com
MTM Hydro Replacement ORing For 1/4" Quick Connect Couplers Single Quick Connect O Ring Replacement (these instructions show repair of a john guest fitting. There's nothing worse than water leaking from your quick connect pressure washer fittings! If your wand, gun or hoses are leaking water, it is. Quick Connect O Ring Replacement.
From www.agspray.com
TEEJET QUICK CONNECT ORING VITON Quick Connect O Ring Replacement There's nothing worse than water leaking from your quick connect pressure washer fittings! (these instructions show repair of a john guest fitting. If your wand, gun or hoses are leaking water, it is. Quick Connect O Ring Replacement.
From www.fastercouplings.com
Hydraulic quick connect oring replacement Faster Couplings Quick Connect O Ring Replacement If your wand, gun or hoses are leaking water, it is. There's nothing worse than water leaking from your quick connect pressure washer fittings! (these instructions show repair of a john guest fitting. Quick Connect O Ring Replacement.
From www.hoselink.com
Hoselink USA QuickConnect Spare ORings Quality Rubber Quick Connect O Ring Replacement If your wand, gun or hoses are leaking water, it is. There's nothing worse than water leaking from your quick connect pressure washer fittings! (these instructions show repair of a john guest fitting. Quick Connect O Ring Replacement.
From www.stevensonplumbing.co.uk
Garden Hose Quick Connector ORing Seals (5 Pack) Stevenson Plumbing Quick Connect O Ring Replacement If your wand, gun or hoses are leaking water, it is. (these instructions show repair of a john guest fitting. There's nothing worse than water leaking from your quick connect pressure washer fittings! Quick Connect O Ring Replacement.
From www.tannasking.com
QUICK CONNECT ORING(5/PK) Tannas & King Quick Connect O Ring Replacement If your wand, gun or hoses are leaking water, it is. (these instructions show repair of a john guest fitting. There's nothing worse than water leaking from your quick connect pressure washer fittings! Quick Connect O Ring Replacement.
From www.rainmandesal.com
Rainman Watermakers HP Quick Connect ORing Replacement Quick Connect O Ring Replacement There's nothing worse than water leaking from your quick connect pressure washer fittings! If your wand, gun or hoses are leaking water, it is. (these instructions show repair of a john guest fitting. Quick Connect O Ring Replacement.
From www.ebay.com
For Harley Davidson Fuel Line Quick Disconnect Repair O Ring Kit 3 Quick Connect O Ring Replacement If your wand, gun or hoses are leaking water, it is. There's nothing worse than water leaking from your quick connect pressure washer fittings! (these instructions show repair of a john guest fitting. Quick Connect O Ring Replacement.
From www.youtube.com
Airbrush quick connect O ring replacement repair YouTube Quick Connect O Ring Replacement (these instructions show repair of a john guest fitting. There's nothing worse than water leaking from your quick connect pressure washer fittings! If your wand, gun or hoses are leaking water, it is. Quick Connect O Ring Replacement.
From spikebrewing.com
Quick Connect Replacement Orings Spike Brewing Quick Connect O Ring Replacement There's nothing worse than water leaking from your quick connect pressure washer fittings! If your wand, gun or hoses are leaking water, it is. (these instructions show repair of a john guest fitting. Quick Connect O Ring Replacement.
From www.purewaterproducts.com
ORings, 3/8" Quick Connect Fitting (6 Pack) Pure Water Products, LLC Quick Connect O Ring Replacement (these instructions show repair of a john guest fitting. There's nothing worse than water leaking from your quick connect pressure washer fittings! If your wand, gun or hoses are leaking water, it is. Quick Connect O Ring Replacement.
From giozkcpol.blob.core.windows.net
O Ring For Pressure Washer Quick Connect at Jody Evans blog Quick Connect O Ring Replacement There's nothing worse than water leaking from your quick connect pressure washer fittings! If your wand, gun or hoses are leaking water, it is. (these instructions show repair of a john guest fitting. Quick Connect O Ring Replacement.
From www.thecryoshop.com
WEH Quick Connect ORings Quick Connect O Ring Replacement (these instructions show repair of a john guest fitting. If your wand, gun or hoses are leaking water, it is. There's nothing worse than water leaking from your quick connect pressure washer fittings! Quick Connect O Ring Replacement.
From www.portlandcompressor.com
Pressure Washer ORing Coupler Set Quick Connect O Ring Replacement If your wand, gun or hoses are leaking water, it is. There's nothing worse than water leaking from your quick connect pressure washer fittings! (these instructions show repair of a john guest fitting. Quick Connect O Ring Replacement.
From www.iessemiconductorparts.com
O RING FLIGHT TUBE QUICK CONNECT Quick Connect O Ring Replacement If your wand, gun or hoses are leaking water, it is. (these instructions show repair of a john guest fitting. There's nothing worse than water leaking from your quick connect pressure washer fittings! Quick Connect O Ring Replacement.
From www.rainmandesal.com
Rainman Watermakers HP Quick Connect ORing Replacement Quick Connect O Ring Replacement (these instructions show repair of a john guest fitting. If your wand, gun or hoses are leaking water, it is. There's nothing worse than water leaking from your quick connect pressure washer fittings! Quick Connect O Ring Replacement.
From www.pressurewasherparts.com.au
38 Inch Quick Connect Coupler Replacement O Ring Set of 6 Pressure Quick Connect O Ring Replacement (these instructions show repair of a john guest fitting. There's nothing worse than water leaking from your quick connect pressure washer fittings! If your wand, gun or hoses are leaking water, it is. Quick Connect O Ring Replacement.
From www.youtube.com
Maintain Your Pressure Washer Quick Connect Fitting ORing Replacement Quick Connect O Ring Replacement If your wand, gun or hoses are leaking water, it is. (these instructions show repair of a john guest fitting. There's nothing worse than water leaking from your quick connect pressure washer fittings! Quick Connect O Ring Replacement.