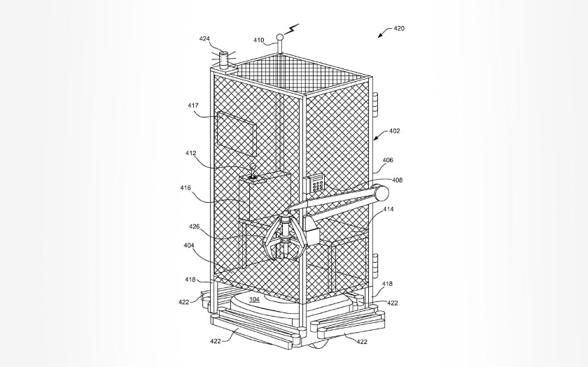
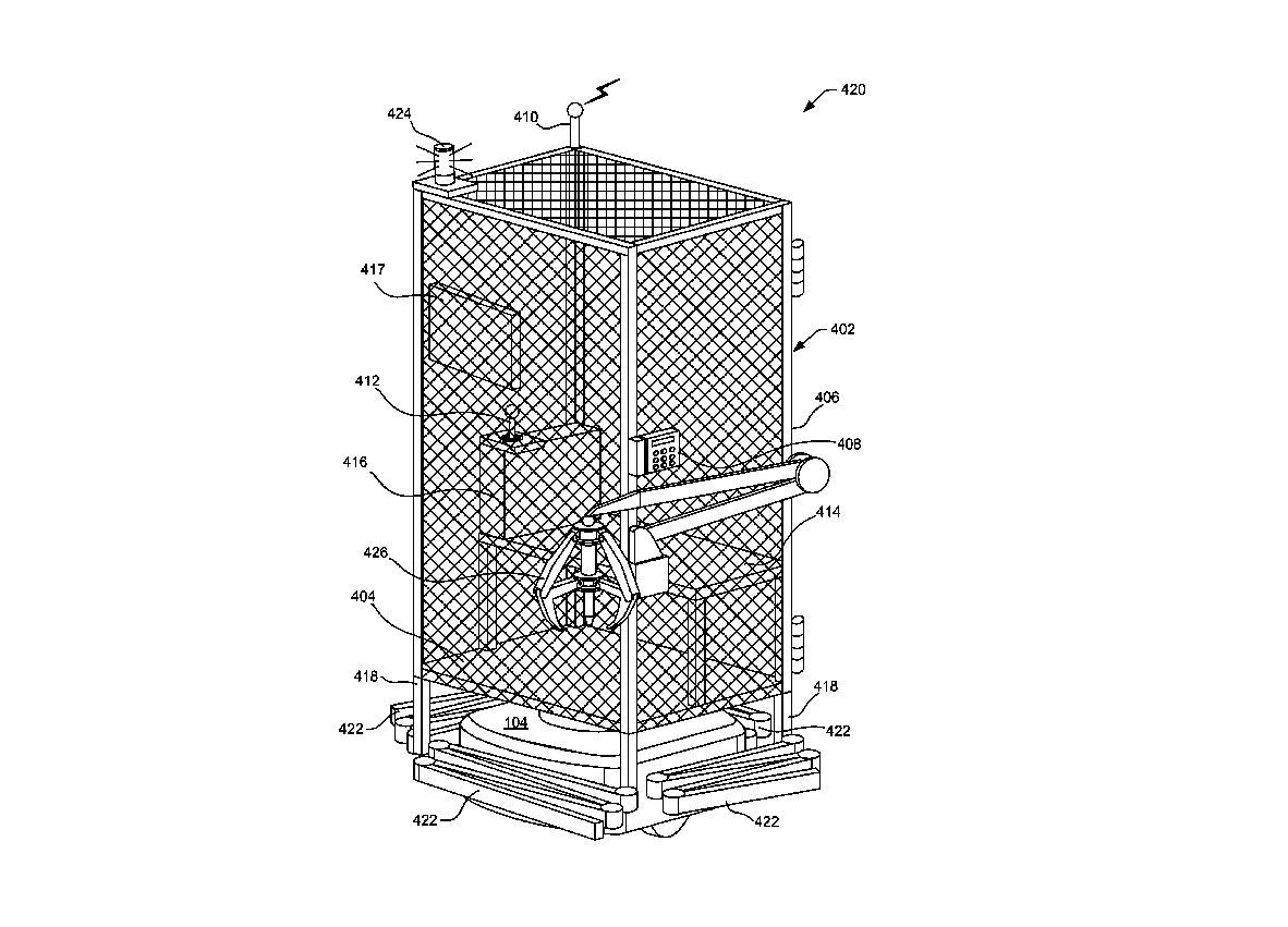
What Is A Wage Cage . The original patent documents depict a cage designed to carry employees around warehouses. Illustrations that accompany the patent, which was granted by the u.s. Wagie, also known as wagecuck, is a slang term popularized by 4chan which is used to describe both all people in employment in general as opposed to. The caged mobile workspace was designed to keep humans safe as they entered warehouse floors where robots zoom around,. The idea was that workers would get into this thing and use the claw to work in “robot only. Okay, to those who don’t know, this is what has been coined by the media as a “wage cage”. Today's video is discussing the wage cage and how/why you should avoid it.*****twitter:. The idea is that as warehouses.
from www.phonandroid.com
The caged mobile workspace was designed to keep humans safe as they entered warehouse floors where robots zoom around,. Today's video is discussing the wage cage and how/why you should avoid it.*****twitter:. The idea is that as warehouses. Wagie, also known as wagecuck, is a slang term popularized by 4chan which is used to describe both all people in employment in general as opposed to. The original patent documents depict a cage designed to carry employees around warehouses. Okay, to those who don’t know, this is what has been coined by the media as a “wage cage”. The idea was that workers would get into this thing and use the claw to work in “robot only. Illustrations that accompany the patent, which was granted by the u.s.
Amazon a brevetté... une cage pour salariés
What Is A Wage Cage Illustrations that accompany the patent, which was granted by the u.s. Wagie, also known as wagecuck, is a slang term popularized by 4chan which is used to describe both all people in employment in general as opposed to. The original patent documents depict a cage designed to carry employees around warehouses. Illustrations that accompany the patent, which was granted by the u.s. Today's video is discussing the wage cage and how/why you should avoid it.*****twitter:. The caged mobile workspace was designed to keep humans safe as they entered warehouse floors where robots zoom around,. The idea was that workers would get into this thing and use the claw to work in “robot only. The idea is that as warehouses. Okay, to those who don’t know, this is what has been coined by the media as a “wage cage”.
From feest.io
How to Escape the Wage Cage Feest.io What Is A Wage Cage The idea is that as warehouses. The idea was that workers would get into this thing and use the claw to work in “robot only. The caged mobile workspace was designed to keep humans safe as they entered warehouse floors where robots zoom around,. The original patent documents depict a cage designed to carry employees around warehouses. Okay, to those. What Is A Wage Cage.
From knowyourmeme.com
The Original Wage Cage Design Wage Cage Know Your Meme What Is A Wage Cage The caged mobile workspace was designed to keep humans safe as they entered warehouse floors where robots zoom around,. The idea was that workers would get into this thing and use the claw to work in “robot only. Illustrations that accompany the patent, which was granted by the u.s. Wagie, also known as wagecuck, is a slang term popularized by. What Is A Wage Cage.
From knowyourmeme.com
Back in your cage wagie Wage Cage Know Your Meme What Is A Wage Cage The caged mobile workspace was designed to keep humans safe as they entered warehouse floors where robots zoom around,. Illustrations that accompany the patent, which was granted by the u.s. The idea is that as warehouses. Wagie, also known as wagecuck, is a slang term popularized by 4chan which is used to describe both all people in employment in general. What Is A Wage Cage.
From scaredsick.bandcamp.com
WAGE CAGE Scared/Sick What Is A Wage Cage Today's video is discussing the wage cage and how/why you should avoid it.*****twitter:. The caged mobile workspace was designed to keep humans safe as they entered warehouse floors where robots zoom around,. The idea was that workers would get into this thing and use the claw to work in “robot only. The idea is that as warehouses. The original patent. What Is A Wage Cage.
From www.phonandroid.com
Amazon a brevetté... une cage pour salariés What Is A Wage Cage Okay, to those who don’t know, this is what has been coined by the media as a “wage cage”. Illustrations that accompany the patent, which was granted by the u.s. Today's video is discussing the wage cage and how/why you should avoid it.*****twitter:. The idea is that as warehouses. The caged mobile workspace was designed to keep humans safe as. What Is A Wage Cage.
From www.pinterest.com
Amazon Wage Cage Fashion, Tops, Sports jersey What Is A Wage Cage The caged mobile workspace was designed to keep humans safe as they entered warehouse floors where robots zoom around,. The idea is that as warehouses. Today's video is discussing the wage cage and how/why you should avoid it.*****twitter:. The original patent documents depict a cage designed to carry employees around warehouses. Illustrations that accompany the patent, which was granted by. What Is A Wage Cage.
From www.youtube.com
🤖Why Amazon Wanted to Put Workers in CageLike Devices + GIVEAWAY YouTube What Is A Wage Cage Today's video is discussing the wage cage and how/why you should avoid it.*****twitter:. Illustrations that accompany the patent, which was granted by the u.s. The idea was that workers would get into this thing and use the claw to work in “robot only. The idea is that as warehouses. The caged mobile workspace was designed to keep humans safe as. What Is A Wage Cage.
From www.youtube.com
𝅥𝅮 The Wage Cage 𝅘𝅥𝅮 YouTube What Is A Wage Cage Wagie, also known as wagecuck, is a slang term popularized by 4chan which is used to describe both all people in employment in general as opposed to. Okay, to those who don’t know, this is what has been coined by the media as a “wage cage”. The caged mobile workspace was designed to keep humans safe as they entered warehouse. What Is A Wage Cage.
From www.forbes.com
Escape The Minimum Wage Cage What Is A Wage Cage The caged mobile workspace was designed to keep humans safe as they entered warehouse floors where robots zoom around,. The idea is that as warehouses. Today's video is discussing the wage cage and how/why you should avoid it.*****twitter:. Illustrations that accompany the patent, which was granted by the u.s. The original patent documents depict a cage designed to carry employees. What Is A Wage Cage.
From ifunny.co
Wagie cage 9000 Improve worker productivity with the patented wage cage! No more wasted time on What Is A Wage Cage Today's video is discussing the wage cage and how/why you should avoid it.*****twitter:. The idea was that workers would get into this thing and use the claw to work in “robot only. The caged mobile workspace was designed to keep humans safe as they entered warehouse floors where robots zoom around,. Illustrations that accompany the patent, which was granted by. What Is A Wage Cage.
From songswave.com
The Wage Cage Scyphus mp3 buy, full tracklist What Is A Wage Cage The idea was that workers would get into this thing and use the claw to work in “robot only. The caged mobile workspace was designed to keep humans safe as they entered warehouse floors where robots zoom around,. The idea is that as warehouses. Okay, to those who don’t know, this is what has been coined by the media as. What Is A Wage Cage.
From knowyourmeme.com
Wage Cage Know Your Meme What Is A Wage Cage The idea was that workers would get into this thing and use the claw to work in “robot only. The idea is that as warehouses. Wagie, also known as wagecuck, is a slang term popularized by 4chan which is used to describe both all people in employment in general as opposed to. Okay, to those who don’t know, this is. What Is A Wage Cage.
From www.velvetjobs.com
Cage Cashier Salary (Actual 2024 Projected 2025) VelvetJobs What Is A Wage Cage Wagie, also known as wagecuck, is a slang term popularized by 4chan which is used to describe both all people in employment in general as opposed to. The idea was that workers would get into this thing and use the claw to work in “robot only. The caged mobile workspace was designed to keep humans safe as they entered warehouse. What Is A Wage Cage.
From www.youtube.com
The Wage Cage Alternative Cover YouTube What Is A Wage Cage Today's video is discussing the wage cage and how/why you should avoid it.*****twitter:. Illustrations that accompany the patent, which was granted by the u.s. Okay, to those who don’t know, this is what has been coined by the media as a “wage cage”. The idea was that workers would get into this thing and use the claw to work in. What Is A Wage Cage.
From thecontentauthority.com
Cage vs Wage Decoding Common Word MixUps What Is A Wage Cage Wagie, also known as wagecuck, is a slang term popularized by 4chan which is used to describe both all people in employment in general as opposed to. The idea is that as warehouses. Today's video is discussing the wage cage and how/why you should avoid it.*****twitter:. The idea was that workers would get into this thing and use the claw. What Is A Wage Cage.
From www.thrivetimeshow.com
Business Coach The Wage Cage Business Coaching What Is A Wage Cage The idea is that as warehouses. The idea was that workers would get into this thing and use the claw to work in “robot only. The caged mobile workspace was designed to keep humans safe as they entered warehouse floors where robots zoom around,. Illustrations that accompany the patent, which was granted by the u.s. Today's video is discussing the. What Is A Wage Cage.
From olianderson.co.uk
Wage Cage Escape Plan Shifting into Real Life Oli Anderson Coaching for Realness What Is A Wage Cage Today's video is discussing the wage cage and how/why you should avoid it.*****twitter:. Wagie, also known as wagecuck, is a slang term popularized by 4chan which is used to describe both all people in employment in general as opposed to. The original patent documents depict a cage designed to carry employees around warehouses. Okay, to those who don’t know, this. What Is A Wage Cage.
From olianderson.co.uk
Wage Cage Escape Plan Shifting into Real Life Oli Anderson Coaching for Realness What Is A Wage Cage Today's video is discussing the wage cage and how/why you should avoid it.*****twitter:. The idea is that as warehouses. Wagie, also known as wagecuck, is a slang term popularized by 4chan which is used to describe both all people in employment in general as opposed to. Illustrations that accompany the patent, which was granted by the u.s. The original patent. What Is A Wage Cage.
From www.start.gg
The Wage Cage Details What Is A Wage Cage Okay, to those who don’t know, this is what has been coined by the media as a “wage cage”. Illustrations that accompany the patent, which was granted by the u.s. Today's video is discussing the wage cage and how/why you should avoid it.*****twitter:. The caged mobile workspace was designed to keep humans safe as they entered warehouse floors where robots. What Is A Wage Cage.
From feest.io
How to Escape the Wage Cage Feest.io What Is A Wage Cage Illustrations that accompany the patent, which was granted by the u.s. The idea was that workers would get into this thing and use the claw to work in “robot only. The original patent documents depict a cage designed to carry employees around warehouses. Today's video is discussing the wage cage and how/why you should avoid it.*****twitter:. The caged mobile workspace. What Is A Wage Cage.
From www.albumoftheyear.org
STUNNER WAGE CAGE EP Reviews Album of The Year What Is A Wage Cage Today's video is discussing the wage cage and how/why you should avoid it.*****twitter:. The original patent documents depict a cage designed to carry employees around warehouses. The caged mobile workspace was designed to keep humans safe as they entered warehouse floors where robots zoom around,. Wagie, also known as wagecuck, is a slang term popularized by 4chan which is used. What Is A Wage Cage.
From mrsteinberg.com
Where Logistics will be in the 2020s What Is A Wage Cage The idea was that workers would get into this thing and use the claw to work in “robot only. Today's video is discussing the wage cage and how/why you should avoid it.*****twitter:. Illustrations that accompany the patent, which was granted by the u.s. The original patent documents depict a cage designed to carry employees around warehouses. Wagie, also known as. What Is A Wage Cage.
From www.youtube.com
Wage Cage Full Set 3/23/24 Cebars Euclid Tavern YouTube What Is A Wage Cage The idea is that as warehouses. Okay, to those who don’t know, this is what has been coined by the media as a “wage cage”. Wagie, also known as wagecuck, is a slang term popularized by 4chan which is used to describe both all people in employment in general as opposed to. Illustrations that accompany the patent, which was granted. What Is A Wage Cage.
From www.youtube.com
Amazon Wage Cage Special Secret Surprise Chamber YouTube What Is A Wage Cage Okay, to those who don’t know, this is what has been coined by the media as a “wage cage”. The idea is that as warehouses. Illustrations that accompany the patent, which was granted by the u.s. The idea was that workers would get into this thing and use the claw to work in “robot only. The original patent documents depict. What Is A Wage Cage.
From feest.io
How to Escape the Wage Cage Feest.io What Is A Wage Cage Okay, to those who don’t know, this is what has been coined by the media as a “wage cage”. The caged mobile workspace was designed to keep humans safe as they entered warehouse floors where robots zoom around,. The idea was that workers would get into this thing and use the claw to work in “robot only. Wagie, also known. What Is A Wage Cage.
From www.youtube.com
wage cage YouTube What Is A Wage Cage The idea is that as warehouses. Okay, to those who don’t know, this is what has been coined by the media as a “wage cage”. Wagie, also known as wagecuck, is a slang term popularized by 4chan which is used to describe both all people in employment in general as opposed to. The caged mobile workspace was designed to keep. What Is A Wage Cage.
From www.amazon.co.uk
EASY MONEY A StepByStep Guide to Escaping the Wage Cage, from to Crypto Assets What Is A Wage Cage Today's video is discussing the wage cage and how/why you should avoid it.*****twitter:. The idea was that workers would get into this thing and use the claw to work in “robot only. Wagie, also known as wagecuck, is a slang term popularized by 4chan which is used to describe both all people in employment in general as opposed to. Illustrations. What Is A Wage Cage.
From olianderson.co.uk
Wage Cage Escape Plan Shifting into Real Life Oli Anderson Coaching for Realness What Is A Wage Cage Illustrations that accompany the patent, which was granted by the u.s. The caged mobile workspace was designed to keep humans safe as they entered warehouse floors where robots zoom around,. Today's video is discussing the wage cage and how/why you should avoid it.*****twitter:. The idea is that as warehouses. The idea was that workers would get into this thing and. What Is A Wage Cage.
From twitter.com
Wage Cage Wojak (WageCageWojak) / Twitter What Is A Wage Cage The idea was that workers would get into this thing and use the claw to work in “robot only. The idea is that as warehouses. The caged mobile workspace was designed to keep humans safe as they entered warehouse floors where robots zoom around,. Okay, to those who don’t know, this is what has been coined by the media as. What Is A Wage Cage.
From knowyourmeme.com
Get Back to Your Wage Cage Wage Cage Know Your Meme What Is A Wage Cage Okay, to those who don’t know, this is what has been coined by the media as a “wage cage”. The idea is that as warehouses. The idea was that workers would get into this thing and use the claw to work in “robot only. The original patent documents depict a cage designed to carry employees around warehouses. Wagie, also known. What Is A Wage Cage.
From www.youtube.com
The Wage Cage YouTube What Is A Wage Cage Today's video is discussing the wage cage and how/why you should avoid it.*****twitter:. The original patent documents depict a cage designed to carry employees around warehouses. The idea is that as warehouses. Illustrations that accompany the patent, which was granted by the u.s. Wagie, also known as wagecuck, is a slang term popularized by 4chan which is used to describe. What Is A Wage Cage.
From knowyourmeme.com
Back to Work Wage Cage Know Your Meme What Is A Wage Cage Okay, to those who don’t know, this is what has been coined by the media as a “wage cage”. The original patent documents depict a cage designed to carry employees around warehouses. Illustrations that accompany the patent, which was granted by the u.s. The caged mobile workspace was designed to keep humans safe as they entered warehouse floors where robots. What Is A Wage Cage.
From www.reddit.com
Amazon literally patented cages for their workers r/fuckamazon What Is A Wage Cage The caged mobile workspace was designed to keep humans safe as they entered warehouse floors where robots zoom around,. Okay, to those who don’t know, this is what has been coined by the media as a “wage cage”. Illustrations that accompany the patent, which was granted by the u.s. Wagie, also known as wagecuck, is a slang term popularized by. What Is A Wage Cage.
From www.bls.gov
Gaming Cage Workers What Is A Wage Cage Okay, to those who don’t know, this is what has been coined by the media as a “wage cage”. The idea is that as warehouses. The caged mobile workspace was designed to keep humans safe as they entered warehouse floors where robots zoom around,. Wagie, also known as wagecuck, is a slang term popularized by 4chan which is used to. What Is A Wage Cage.
From www.youtube.com
Amazon Introduces The AmaZen Wage Cage ROTC Clip YouTube What Is A Wage Cage Okay, to those who don’t know, this is what has been coined by the media as a “wage cage”. The idea was that workers would get into this thing and use the claw to work in “robot only. Today's video is discussing the wage cage and how/why you should avoid it.*****twitter:. The caged mobile workspace was designed to keep humans. What Is A Wage Cage.