Does Yeti Have A Patent . Yeti coolers llc asked a texas judge to order waterbear global llc to recall drinkware products it says infringe its trade. Learn more about the patents. Google has not performed a legal analysis and. Yeti coolers llc priority date (the priority date is an assumption and is not a legal conclusion. As yeti has gained prominence, copycat brands have emerged. We have received many patents for our innovations in the cooler, bags, drinkware, and other gear space. Yeti is no stranger to patent filings, leveraging intellectual property protection to secure their innovative technologies. Looks like yeti has done both, with about 30 issued utility patents and 200 or so design patents, including us and foreign patents. And, they’ve litigated not just trade dress. The company has sued both retailers and competitors for patent infringement — walmart and the home depot for selling imitations of its rambler drinkware, and bayou ice boxes, mammoth coolers, and rtic, among others, for too closely mirroring the tundra.
        
         
         
        from www.kennythepirate.com 
     
        
        Learn more about the patents. Yeti is no stranger to patent filings, leveraging intellectual property protection to secure their innovative technologies. Yeti coolers llc asked a texas judge to order waterbear global llc to recall drinkware products it says infringe its trade. The company has sued both retailers and competitors for patent infringement — walmart and the home depot for selling imitations of its rambler drinkware, and bayou ice boxes, mammoth coolers, and rtic, among others, for too closely mirroring the tundra. Google has not performed a legal analysis and. Yeti coolers llc priority date (the priority date is an assumption and is not a legal conclusion. As yeti has gained prominence, copycat brands have emerged. Looks like yeti has done both, with about 30 issued utility patents and 200 or so design patents, including us and foreign patents. And, they’ve litigated not just trade dress. We have received many patents for our innovations in the cooler, bags, drinkware, and other gear space.
    
    	
            
	
		 
	 
         
    Disney Files New Patent Possible Yeti Animatronic Fix 
    Does Yeti Have A Patent  Yeti coolers llc priority date (the priority date is an assumption and is not a legal conclusion. And, they’ve litigated not just trade dress. We have received many patents for our innovations in the cooler, bags, drinkware, and other gear space. The company has sued both retailers and competitors for patent infringement — walmart and the home depot for selling imitations of its rambler drinkware, and bayou ice boxes, mammoth coolers, and rtic, among others, for too closely mirroring the tundra. As yeti has gained prominence, copycat brands have emerged. Yeti is no stranger to patent filings, leveraging intellectual property protection to secure their innovative technologies. Yeti coolers llc priority date (the priority date is an assumption and is not a legal conclusion. Learn more about the patents. Google has not performed a legal analysis and. Looks like yeti has done both, with about 30 issued utility patents and 200 or so design patents, including us and foreign patents. Yeti coolers llc asked a texas judge to order waterbear global llc to recall drinkware products it says infringe its trade.
            
	
		 
	 
         
 
    
         
        From www.thequint.com 
                    Yeti Images, What is Yeti Snowman History, Myths and Legends about Yeti Does Yeti Have A Patent  Looks like yeti has done both, with about 30 issued utility patents and 200 or so design patents, including us and foreign patents. As yeti has gained prominence, copycat brands have emerged. We have received many patents for our innovations in the cooler, bags, drinkware, and other gear space. Yeti is no stranger to patent filings, leveraging intellectual property protection. Does Yeti Have A Patent.
     
    
         
        From www.grunge.com 
                    The Legend Of The Yeti Explained Does Yeti Have A Patent  Yeti coolers llc asked a texas judge to order waterbear global llc to recall drinkware products it says infringe its trade. Learn more about the patents. We have received many patents for our innovations in the cooler, bags, drinkware, and other gear space. Yeti coolers llc priority date (the priority date is an assumption and is not a legal conclusion.. Does Yeti Have A Patent.
     
    
         
        From www.bikeandride.cz 
                    Yeti Bikes patent na unikátní 7čep, který možná nebude… BikeAndRide.cz Does Yeti Have A Patent  The company has sued both retailers and competitors for patent infringement — walmart and the home depot for selling imitations of its rambler drinkware, and bayou ice boxes, mammoth coolers, and rtic, among others, for too closely mirroring the tundra. Yeti is no stranger to patent filings, leveraging intellectual property protection to secure their innovative technologies. We have received many. Does Yeti Have A Patent.
     
    
         
        From www.pinkbike.com 
                    Examining Yeti's Patent for a New SixBar Suspension Design Pinkbike Does Yeti Have A Patent  Yeti coolers llc priority date (the priority date is an assumption and is not a legal conclusion. The company has sued both retailers and competitors for patent infringement — walmart and the home depot for selling imitations of its rambler drinkware, and bayou ice boxes, mammoth coolers, and rtic, among others, for too closely mirroring the tundra. Yeti is no. Does Yeti Have A Patent.
     
    
         
        From www.slideserve.com 
                    PPT What is yeti? PowerPoint Presentation, free download ID2623011 Does Yeti Have A Patent  Learn more about the patents. As yeti has gained prominence, copycat brands have emerged. Yeti coolers llc priority date (the priority date is an assumption and is not a legal conclusion. And, they’ve litigated not just trade dress. The company has sued both retailers and competitors for patent infringement — walmart and the home depot for selling imitations of its. Does Yeti Have A Patent.
     
    
         
        From www.ancient-origins.net 
                    The Common Western Depiction of the Yeti is Wrong Ancient Origins Does Yeti Have A Patent  Google has not performed a legal analysis and. As yeti has gained prominence, copycat brands have emerged. Yeti coolers llc asked a texas judge to order waterbear global llc to recall drinkware products it says infringe its trade. Yeti is no stranger to patent filings, leveraging intellectual property protection to secure their innovative technologies. Yeti coolers llc priority date (the. Does Yeti Have A Patent.
     
    
         
        From awesci.com 
                    Yeti Probably Does Exist + Fun Yeti Facts Awesci Science Everyday Does Yeti Have A Patent  Learn more about the patents. Yeti coolers llc asked a texas judge to order waterbear global llc to recall drinkware products it says infringe its trade. Looks like yeti has done both, with about 30 issued utility patents and 200 or so design patents, including us and foreign patents. Yeti is no stranger to patent filings, leveraging intellectual property protection. Does Yeti Have A Patent.
     
    
         
        From likeitviral.com 
                    Interesting Facts About Yeti The Abominable Snowman of Everest! Does Yeti Have A Patent  Looks like yeti has done both, with about 30 issued utility patents and 200 or so design patents, including us and foreign patents. We have received many patents for our innovations in the cooler, bags, drinkware, and other gear space. Yeti is no stranger to patent filings, leveraging intellectual property protection to secure their innovative technologies. Google has not performed. Does Yeti Have A Patent.
     
    
         
        From gearjunkie.com 
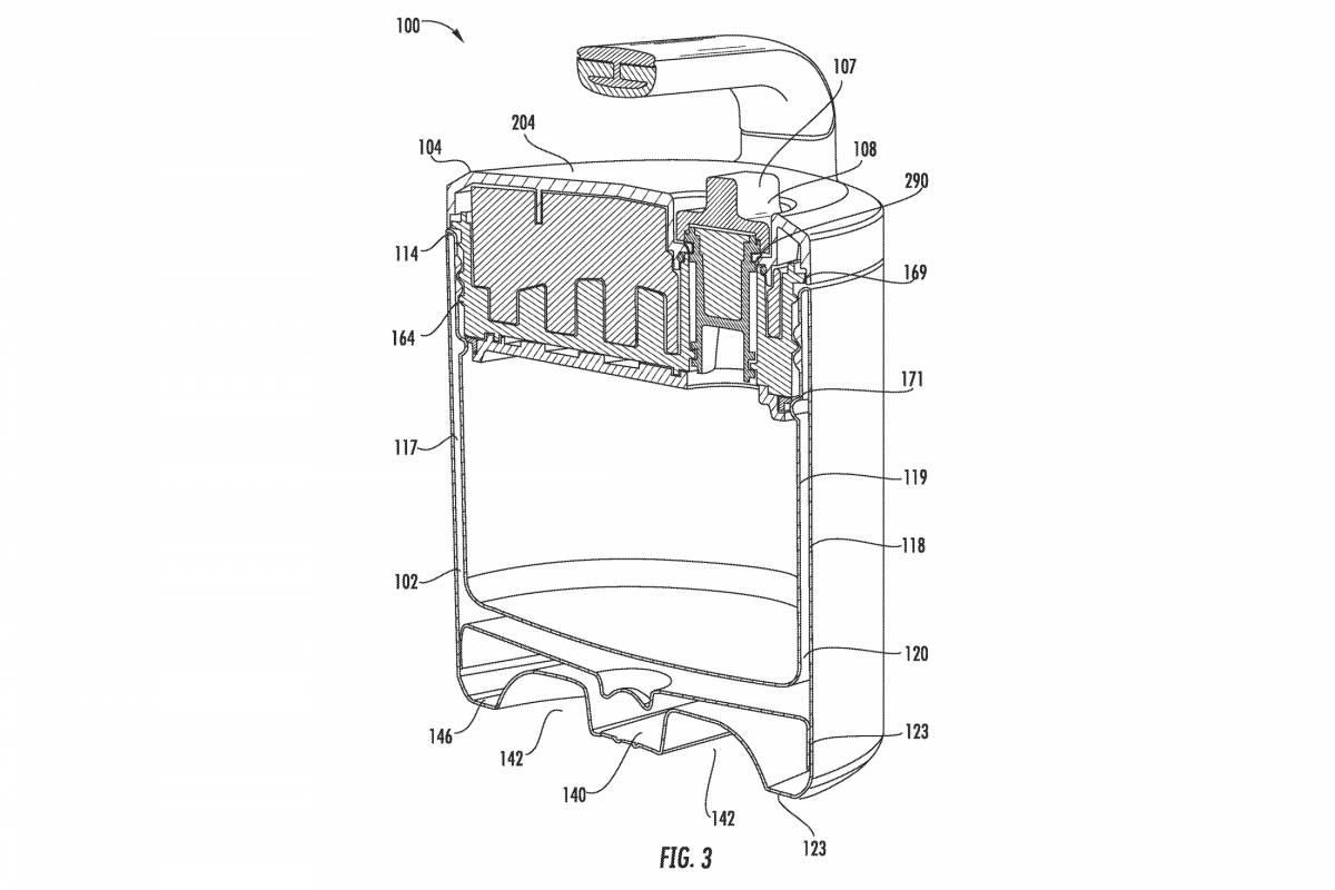
                    MetaCooler YETI Patents AutoVenting Food Jug to Hold Multiple Meals Does Yeti Have A Patent  As yeti has gained prominence, copycat brands have emerged. The company has sued both retailers and competitors for patent infringement — walmart and the home depot for selling imitations of its rambler drinkware, and bayou ice boxes, mammoth coolers, and rtic, among others, for too closely mirroring the tundra. And, they’ve litigated not just trade dress. Looks like yeti has. Does Yeti Have A Patent.
     
    
         
        From dev2.latestly.com 
                    Loch Ness, Bunyip, Yeti and Some Folklore Beasts That 'Apparently Does Yeti Have A Patent  And, they’ve litigated not just trade dress. Google has not performed a legal analysis and. The company has sued both retailers and competitors for patent infringement — walmart and the home depot for selling imitations of its rambler drinkware, and bayou ice boxes, mammoth coolers, and rtic, among others, for too closely mirroring the tundra. Yeti is no stranger to. Does Yeti Have A Patent.
     
    
         
        From seekingalpha.com 
                    A Millennial's View On Yeti's IPO Yeti Holdings (PendingYETI Does Yeti Have A Patent  Yeti coolers llc asked a texas judge to order waterbear global llc to recall drinkware products it says infringe its trade. Yeti is no stranger to patent filings, leveraging intellectual property protection to secure their innovative technologies. Looks like yeti has done both, with about 30 issued utility patents and 200 or so design patents, including us and foreign patents.. Does Yeti Have A Patent.
     
    
         
        From gearjunkie.com 
                    MetaCooler YETI Patents AutoVenting Food Jug to Hold Multiple Meals Does Yeti Have A Patent  Yeti is no stranger to patent filings, leveraging intellectual property protection to secure their innovative technologies. Looks like yeti has done both, with about 30 issued utility patents and 200 or so design patents, including us and foreign patents. Learn more about the patents. Google has not performed a legal analysis and. We have received many patents for our innovations. Does Yeti Have A Patent.
     
    
         
        From www.chron.com 
                    After settlement with Yeti, Rtic announces redesigned coolers, tumblers Does Yeti Have A Patent  Yeti is no stranger to patent filings, leveraging intellectual property protection to secure their innovative technologies. We have received many patents for our innovations in the cooler, bags, drinkware, and other gear space. Learn more about the patents. Google has not performed a legal analysis and. Looks like yeti has done both, with about 30 issued utility patents and 200. Does Yeti Have A Patent.
     
    
         
        From www.kennythepirate.com 
                    Disney Files New Patent Possible Yeti Animatronic Fix Does Yeti Have A Patent  Yeti is no stranger to patent filings, leveraging intellectual property protection to secure their innovative technologies. Learn more about the patents. Yeti coolers llc asked a texas judge to order waterbear global llc to recall drinkware products it says infringe its trade. The company has sued both retailers and competitors for patent infringement — walmart and the home depot for. Does Yeti Have A Patent.
     
    
         
        From survivalmagazine.org 
                    MetaCooler YETI Patents AutoVenting Food Jug to Hold Multiple Meals Does Yeti Have A Patent  We have received many patents for our innovations in the cooler, bags, drinkware, and other gear space. As yeti has gained prominence, copycat brands have emerged. Yeti coolers llc priority date (the priority date is an assumption and is not a legal conclusion. Google has not performed a legal analysis and. Learn more about the patents. Looks like yeti has. Does Yeti Have A Patent.
     
    
         
        From www.bikeandride.cz 
                    Yeti Bikes patent na unikátní 7čep, který možná nebude… BikeAndRide.cz Does Yeti Have A Patent  As yeti has gained prominence, copycat brands have emerged. Yeti coolers llc priority date (the priority date is an assumption and is not a legal conclusion. Yeti is no stranger to patent filings, leveraging intellectual property protection to secure their innovative technologies. Learn more about the patents. We have received many patents for our innovations in the cooler, bags, drinkware,. Does Yeti Have A Patent.
     
    
         
        From www.syfy.com 
                    Scientist claims he's got DNA evidence proving what the yeti really is Does Yeti Have A Patent  The company has sued both retailers and competitors for patent infringement — walmart and the home depot for selling imitations of its rambler drinkware, and bayou ice boxes, mammoth coolers, and rtic, among others, for too closely mirroring the tundra. And, they’ve litigated not just trade dress. Google has not performed a legal analysis and. Yeti coolers llc priority date. Does Yeti Have A Patent.
     
    
         
        From www.pinkbike.com 
                    Examining Yeti's Patent for a New SixBar Suspension Design Pinkbike Does Yeti Have A Patent  Yeti is no stranger to patent filings, leveraging intellectual property protection to secure their innovative technologies. Looks like yeti has done both, with about 30 issued utility patents and 200 or so design patents, including us and foreign patents. Yeti coolers llc asked a texas judge to order waterbear global llc to recall drinkware products it says infringe its trade.. Does Yeti Have A Patent.
     
    
         
        From www.science.org 
                    So much for the abominable snowman. Study finds that ‘yeti' DNA belongs Does Yeti Have A Patent  The company has sued both retailers and competitors for patent infringement — walmart and the home depot for selling imitations of its rambler drinkware, and bayou ice boxes, mammoth coolers, and rtic, among others, for too closely mirroring the tundra. And, they’ve litigated not just trade dress. Looks like yeti has done both, with about 30 issued utility patents and. Does Yeti Have A Patent.
     
    
         
        From www.youtube.com 
                    Mystery of Yeti Does it exist? YouTube Does Yeti Have A Patent  Learn more about the patents. Yeti coolers llc asked a texas judge to order waterbear global llc to recall drinkware products it says infringe its trade. As yeti has gained prominence, copycat brands have emerged. We have received many patents for our innovations in the cooler, bags, drinkware, and other gear space. Yeti is no stranger to patent filings, leveraging. Does Yeti Have A Patent.
     
    
         
        From www.itinerantangler.com 
                    » Yeti Debuts “Hopper” Softsided Cooler Does Yeti Have A Patent  Yeti coolers llc asked a texas judge to order waterbear global llc to recall drinkware products it says infringe its trade. Google has not performed a legal analysis and. Learn more about the patents. Yeti coolers llc priority date (the priority date is an assumption and is not a legal conclusion. Yeti is no stranger to patent filings, leveraging intellectual. Does Yeti Have A Patent.
     
    
         
        From www.bikeandride.cz 
                    Yeti Bikes patent na unikátní 7čep, který možná nebude… BikeAndRide.cz Does Yeti Have A Patent  Learn more about the patents. As yeti has gained prominence, copycat brands have emerged. We have received many patents for our innovations in the cooler, bags, drinkware, and other gear space. And, they’ve litigated not just trade dress. Yeti coolers llc asked a texas judge to order waterbear global llc to recall drinkware products it says infringe its trade. Looks. Does Yeti Have A Patent.
     
    
         
        From en.wikipedia.org 
                    Yeti Wikipedia Does Yeti Have A Patent  We have received many patents for our innovations in the cooler, bags, drinkware, and other gear space. The company has sued both retailers and competitors for patent infringement — walmart and the home depot for selling imitations of its rambler drinkware, and bayou ice boxes, mammoth coolers, and rtic, among others, for too closely mirroring the tundra. Learn more about. Does Yeti Have A Patent.
     
    
         
        From www.telegraph.co.uk 
                    Does the yeti exist? Scientists use DNA evidence in bid to solve Does Yeti Have A Patent  As yeti has gained prominence, copycat brands have emerged. Yeti coolers llc priority date (the priority date is an assumption and is not a legal conclusion. Learn more about the patents. And, they’ve litigated not just trade dress. The company has sued both retailers and competitors for patent infringement — walmart and the home depot for selling imitations of its. Does Yeti Have A Patent.
     
    
         
        From www.chron.com 
                    YetiRtic suit proves importance of patents Does Yeti Have A Patent  And, they’ve litigated not just trade dress. Yeti coolers llc asked a texas judge to order waterbear global llc to recall drinkware products it says infringe its trade. We have received many patents for our innovations in the cooler, bags, drinkware, and other gear space. Yeti is no stranger to patent filings, leveraging intellectual property protection to secure their innovative. Does Yeti Have A Patent.
     
    
         
        From explorersweb.com 
                    Guide The Yeti » Explorersweb Does Yeti Have A Patent  Yeti coolers llc asked a texas judge to order waterbear global llc to recall drinkware products it says infringe its trade. As yeti has gained prominence, copycat brands have emerged. Yeti is no stranger to patent filings, leveraging intellectual property protection to secure their innovative technologies. Google has not performed a legal analysis and. Looks like yeti has done both,. Does Yeti Have A Patent.
     
    
         
        From www.pinkbike.com 
                    Examining Yeti's Patent for a New SixBar Suspension Design Pinkbike Does Yeti Have A Patent  Looks like yeti has done both, with about 30 issued utility patents and 200 or so design patents, including us and foreign patents. Yeti coolers llc priority date (the priority date is an assumption and is not a legal conclusion. We have received many patents for our innovations in the cooler, bags, drinkware, and other gear space. The company has. Does Yeti Have A Patent.
     
    
         
        From www.oldyalebrewing.com 
                    Yeti The Man, The Myth, The Legend — Old Yale Brewing Does Yeti Have A Patent  We have received many patents for our innovations in the cooler, bags, drinkware, and other gear space. Google has not performed a legal analysis and. And, they’ve litigated not just trade dress. The company has sued both retailers and competitors for patent infringement — walmart and the home depot for selling imitations of its rambler drinkware, and bayou ice boxes,. Does Yeti Have A Patent.
     
    
         
        From www.rvandplaya.com 
                    Does Yeti Have a Lifetime Warranty (Secrets You Need To Know) Does Yeti Have A Patent  Looks like yeti has done both, with about 30 issued utility patents and 200 or so design patents, including us and foreign patents. The company has sued both retailers and competitors for patent infringement — walmart and the home depot for selling imitations of its rambler drinkware, and bayou ice boxes, mammoth coolers, and rtic, among others, for too closely. Does Yeti Have A Patent.
     
    
         
        From www.mysanantonio.com 
                    YetiRtic suit proves importance of patents San Antonio ExpressNews Does Yeti Have A Patent  We have received many patents for our innovations in the cooler, bags, drinkware, and other gear space. And, they’ve litigated not just trade dress. The company has sued both retailers and competitors for patent infringement — walmart and the home depot for selling imitations of its rambler drinkware, and bayou ice boxes, mammoth coolers, and rtic, among others, for too. Does Yeti Have A Patent.
     
    
         
        From www.bikeandride.cz 
                    Yeti Bikes patent na unikátní 7čep, který možná nebude… BikeAndRide.cz Does Yeti Have A Patent  And, they’ve litigated not just trade dress. As yeti has gained prominence, copycat brands have emerged. Looks like yeti has done both, with about 30 issued utility patents and 200 or so design patents, including us and foreign patents. Yeti is no stranger to patent filings, leveraging intellectual property protection to secure their innovative technologies. The company has sued both. Does Yeti Have A Patent.
     
    
         
        From tinybeans.com 
                    Just Dropped New Colors From YETI! Tinybeans Does Yeti Have A Patent  Learn more about the patents. And, they’ve litigated not just trade dress. We have received many patents for our innovations in the cooler, bags, drinkware, and other gear space. Looks like yeti has done both, with about 30 issued utility patents and 200 or so design patents, including us and foreign patents. Google has not performed a legal analysis and.. Does Yeti Have A Patent.
     
    
         
        From www.youtube.com 
                    Mystery of YETI. Does Yeti is Real? It Exist or Not? Act on Fact YouTube Does Yeti Have A Patent  We have received many patents for our innovations in the cooler, bags, drinkware, and other gear space. Yeti is no stranger to patent filings, leveraging intellectual property protection to secure their innovative technologies. As yeti has gained prominence, copycat brands have emerged. Yeti coolers llc asked a texas judge to order waterbear global llc to recall drinkware products it says. Does Yeti Have A Patent.
     
    
         
        From www.favreviews.com 
                    Exploring YETI Power Pink Color Collection in 2024 Does Yeti Have A Patent  Google has not performed a legal analysis and. Looks like yeti has done both, with about 30 issued utility patents and 200 or so design patents, including us and foreign patents. The company has sued both retailers and competitors for patent infringement — walmart and the home depot for selling imitations of its rambler drinkware, and bayou ice boxes, mammoth. Does Yeti Have A Patent.
     
    
         
        From www.bikeandride.cz 
                    Yeti Bikes patent na unikátní 7čep, který možná nebude… BikeAndRide.cz Does Yeti Have A Patent  And, they’ve litigated not just trade dress. As yeti has gained prominence, copycat brands have emerged. Learn more about the patents. Yeti coolers llc asked a texas judge to order waterbear global llc to recall drinkware products it says infringe its trade. Looks like yeti has done both, with about 30 issued utility patents and 200 or so design patents,. Does Yeti Have A Patent.