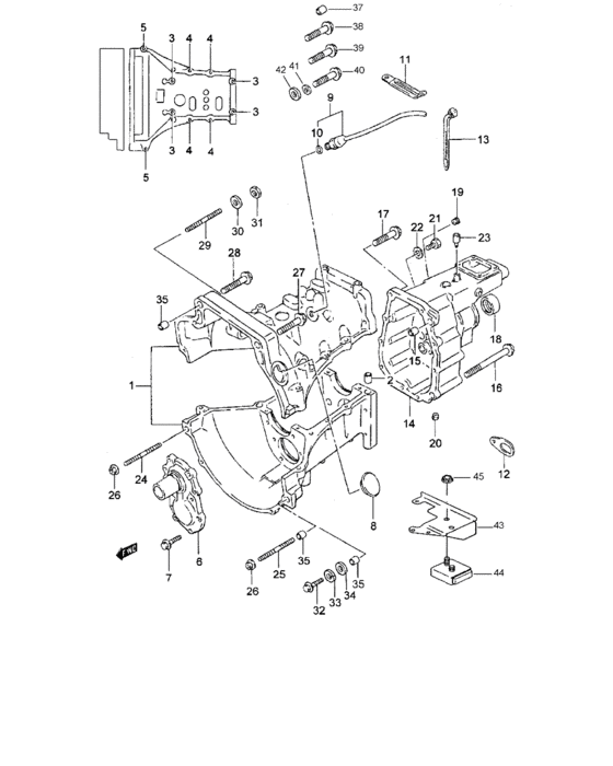
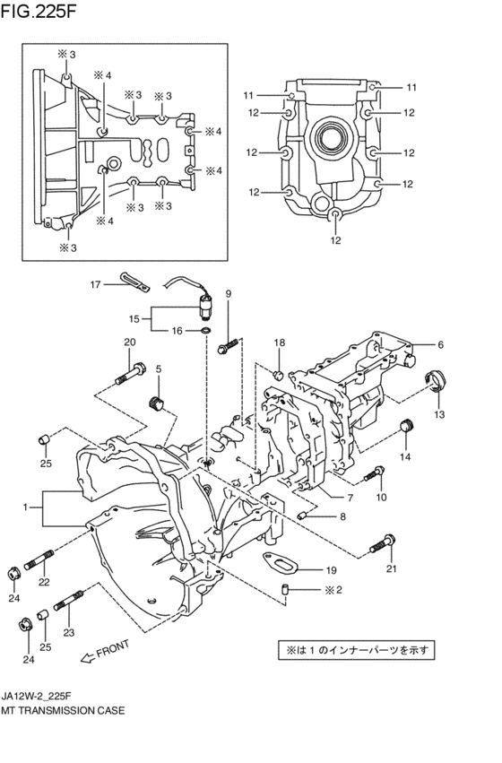
Suzuki Samurai Transfer Case Rebuild Instructions . How to rebuild & modifycovers rebuilding the most popular and widely used transfer cases found in dozens of jeep models for decades,. The kits are put together different depending on which vendor you go to. If they want their product to cost less then they don't. If you did not drain the oil from the transfer case, be careful as you move it around on the floor or work bench. In these instructions, we refer to the different transfer case housing sections by name. Oil will run out of the. The photo below shows each of the housings and its.
from serresstudios2.blogspot.com
The kits are put together different depending on which vendor you go to. If they want their product to cost less then they don't. If you did not drain the oil from the transfer case, be careful as you move it around on the floor or work bench. How to rebuild & modifycovers rebuilding the most popular and widely used transfer cases found in dozens of jeep models for decades,. Oil will run out of the. In these instructions, we refer to the different transfer case housing sections by name. The photo below shows each of the housings and its.
42 suzuki samurai transfer case diagram
Suzuki Samurai Transfer Case Rebuild Instructions The photo below shows each of the housings and its. In these instructions, we refer to the different transfer case housing sections by name. Oil will run out of the. How to rebuild & modifycovers rebuilding the most popular and widely used transfer cases found in dozens of jeep models for decades,. If they want their product to cost less then they don't. If you did not drain the oil from the transfer case, be careful as you move it around on the floor or work bench. The kits are put together different depending on which vendor you go to. The photo below shows each of the housings and its.
From www.ebay.com
Fits Suzuki Samurai Transfer Case Rebuild Kit 4X4 TS45 eBay Suzuki Samurai Transfer Case Rebuild Instructions The kits are put together different depending on which vendor you go to. If you did not drain the oil from the transfer case, be careful as you move it around on the floor or work bench. How to rebuild & modifycovers rebuilding the most popular and widely used transfer cases found in dozens of jeep models for decades,. The. Suzuki Samurai Transfer Case Rebuild Instructions.
From wiringfixlabella.z21.web.core.windows.net
Suzuki Samurai Parts Illustration Diagram Suzuki Samurai Transfer Case Rebuild Instructions How to rebuild & modifycovers rebuilding the most popular and widely used transfer cases found in dozens of jeep models for decades,. If they want their product to cost less then they don't. Oil will run out of the. The kits are put together different depending on which vendor you go to. The photo below shows each of the housings. Suzuki Samurai Transfer Case Rebuild Instructions.
From www.transmissionpartsdistributors.com
SUZUKI SAMURAI TS45 TRANSFER CASE REBUILD KIT '86'95 (SJ410)(BK236 Suzuki Samurai Transfer Case Rebuild Instructions In these instructions, we refer to the different transfer case housing sections by name. The kits are put together different depending on which vendor you go to. If they want their product to cost less then they don't. If you did not drain the oil from the transfer case, be careful as you move it around on the floor or. Suzuki Samurai Transfer Case Rebuild Instructions.
From flavored.ph
Suzuki Samurai 5spd Transmission & Transfer Case Rebuild Kit W/ Needle Suzuki Samurai Transfer Case Rebuild Instructions If you did not drain the oil from the transfer case, be careful as you move it around on the floor or work bench. How to rebuild & modifycovers rebuilding the most popular and widely used transfer cases found in dozens of jeep models for decades,. The photo below shows each of the housings and its. If they want their. Suzuki Samurai Transfer Case Rebuild Instructions.
From mavink.com
Samurai Transfer Case Exploded View Suzuki Samurai Transfer Case Rebuild Instructions The photo below shows each of the housings and its. The kits are put together different depending on which vendor you go to. If you did not drain the oil from the transfer case, be careful as you move it around on the floor or work bench. In these instructions, we refer to the different transfer case housing sections by. Suzuki Samurai Transfer Case Rebuild Instructions.
From www.youtube.com
Samurai transfer case YouTube Suzuki Samurai Transfer Case Rebuild Instructions If they want their product to cost less then they don't. The kits are put together different depending on which vendor you go to. If you did not drain the oil from the transfer case, be careful as you move it around on the floor or work bench. The photo below shows each of the housings and its. Oil will. Suzuki Samurai Transfer Case Rebuild Instructions.
From mungfali.com
Suzuki Samurai Transfer Case Diagram Suzuki Samurai Transfer Case Rebuild Instructions If you did not drain the oil from the transfer case, be careful as you move it around on the floor or work bench. How to rebuild & modifycovers rebuilding the most popular and widely used transfer cases found in dozens of jeep models for decades,. If they want their product to cost less then they don't. The photo below. Suzuki Samurai Transfer Case Rebuild Instructions.
From www.distintec.cl
Suzuki Samurai Transfer Case Rebuild Kit TS45 19861995 4wd 5 Speed Suzuki Samurai Transfer Case Rebuild Instructions Oil will run out of the. The kits are put together different depending on which vendor you go to. If they want their product to cost less then they don't. The photo below shows each of the housings and its. In these instructions, we refer to the different transfer case housing sections by name. How to rebuild & modifycovers rebuilding. Suzuki Samurai Transfer Case Rebuild Instructions.
From flavored.ph
Suzuki Samurai 5spd Transmission & Transfer Case Rebuild Kit W/ Needle Suzuki Samurai Transfer Case Rebuild Instructions If they want their product to cost less then they don't. How to rebuild & modifycovers rebuilding the most popular and widely used transfer cases found in dozens of jeep models for decades,. The photo below shows each of the housings and its. In these instructions, we refer to the different transfer case housing sections by name. Oil will run. Suzuki Samurai Transfer Case Rebuild Instructions.
From www.motortrend.com
Building a Stronger Suzuki Samurai Transfer Case Suzuki Samurai Transfer Case Rebuild Instructions How to rebuild & modifycovers rebuilding the most popular and widely used transfer cases found in dozens of jeep models for decades,. If they want their product to cost less then they don't. The photo below shows each of the housings and its. Oil will run out of the. In these instructions, we refer to the different transfer case housing. Suzuki Samurai Transfer Case Rebuild Instructions.
From repairfixundulation.z1.web.core.windows.net
Suzuki Samurai Transfer Case Rebuild Kit Suzuki Samurai Transfer Case Rebuild Instructions How to rebuild & modifycovers rebuilding the most popular and widely used transfer cases found in dozens of jeep models for decades,. The photo below shows each of the housings and its. The kits are put together different depending on which vendor you go to. If they want their product to cost less then they don't. If you did not. Suzuki Samurai Transfer Case Rebuild Instructions.
From www.transmissionpartsdistributors.com
SUZUKI SAMURAI SJ410 TS45 TRANSFER CASE REBUILD KIT WITH COUNTER SHAFT Suzuki Samurai Transfer Case Rebuild Instructions If you did not drain the oil from the transfer case, be careful as you move it around on the floor or work bench. The kits are put together different depending on which vendor you go to. How to rebuild & modifycovers rebuilding the most popular and widely used transfer cases found in dozens of jeep models for decades,. Oil. Suzuki Samurai Transfer Case Rebuild Instructions.
From www.youtube.com
Install New Transfer Case Seal, Suzuki Samurai YouTube Suzuki Samurai Transfer Case Rebuild Instructions The photo below shows each of the housings and its. How to rebuild & modifycovers rebuilding the most popular and widely used transfer cases found in dozens of jeep models for decades,. Oil will run out of the. If they want their product to cost less then they don't. The kits are put together different depending on which vendor you. Suzuki Samurai Transfer Case Rebuild Instructions.
From mungfali.com
Suzuki Samurai Transfer Case Diagram Suzuki Samurai Transfer Case Rebuild Instructions Oil will run out of the. If you did not drain the oil from the transfer case, be careful as you move it around on the floor or work bench. If they want their product to cost less then they don't. The photo below shows each of the housings and its. How to rebuild & modifycovers rebuilding the most popular. Suzuki Samurai Transfer Case Rebuild Instructions.
From serresstudios2.blogspot.com
42 suzuki samurai transfer case diagram Suzuki Samurai Transfer Case Rebuild Instructions The photo below shows each of the housings and its. Oil will run out of the. The kits are put together different depending on which vendor you go to. If they want their product to cost less then they don't. How to rebuild & modifycovers rebuilding the most popular and widely used transfer cases found in dozens of jeep models. Suzuki Samurai Transfer Case Rebuild Instructions.
From www.jimnybits.com
TrailGear / Low Range OffRoad Suzuki Samurai Transfer Case Rebuild Kit Suzuki Samurai Transfer Case Rebuild Instructions In these instructions, we refer to the different transfer case housing sections by name. If they want their product to cost less then they don't. If you did not drain the oil from the transfer case, be careful as you move it around on the floor or work bench. The photo below shows each of the housings and its. The. Suzuki Samurai Transfer Case Rebuild Instructions.
From www2.zukiworld.com
HowTo Repair The Shifter Sheet On A Suzuki Samurai Transfer Case Suzuki Samurai Transfer Case Rebuild Instructions How to rebuild & modifycovers rebuilding the most popular and widely used transfer cases found in dozens of jeep models for decades,. The photo below shows each of the housings and its. If you did not drain the oil from the transfer case, be careful as you move it around on the floor or work bench. If they want their. Suzuki Samurai Transfer Case Rebuild Instructions.
From www.youtube.com
Suzuki Samurai Transfer Case Rebuild and Shimming YouTube Suzuki Samurai Transfer Case Rebuild Instructions In these instructions, we refer to the different transfer case housing sections by name. The kits are put together different depending on which vendor you go to. If they want their product to cost less then they don't. How to rebuild & modifycovers rebuilding the most popular and widely used transfer cases found in dozens of jeep models for decades,.. Suzuki Samurai Transfer Case Rebuild Instructions.
From www2.zukiworld.com
HowTo Repair The Shifter Sheet On A Suzuki Samurai Transfer Case Suzuki Samurai Transfer Case Rebuild Instructions How to rebuild & modifycovers rebuilding the most popular and widely used transfer cases found in dozens of jeep models for decades,. The kits are put together different depending on which vendor you go to. The photo below shows each of the housings and its. If they want their product to cost less then they don't. Oil will run out. Suzuki Samurai Transfer Case Rebuild Instructions.
From mungfali.com
Suzuki Samurai Transfer Case Diagram Suzuki Samurai Transfer Case Rebuild Instructions How to rebuild & modifycovers rebuilding the most popular and widely used transfer cases found in dozens of jeep models for decades,. If they want their product to cost less then they don't. Oil will run out of the. The kits are put together different depending on which vendor you go to. In these instructions, we refer to the different. Suzuki Samurai Transfer Case Rebuild Instructions.
From mungfali.com
Suzuki Samurai Transfer Case Diagram Suzuki Samurai Transfer Case Rebuild Instructions The photo below shows each of the housings and its. If they want their product to cost less then they don't. If you did not drain the oil from the transfer case, be careful as you move it around on the floor or work bench. Oil will run out of the. The kits are put together different depending on which. Suzuki Samurai Transfer Case Rebuild Instructions.
From design1systems.com
Understanding the Suzuki Samurai Transfer Case A Comprehensive Diagram Suzuki Samurai Transfer Case Rebuild Instructions Oil will run out of the. If they want their product to cost less then they don't. The photo below shows each of the housings and its. The kits are put together different depending on which vendor you go to. In these instructions, we refer to the different transfer case housing sections by name. How to rebuild & modifycovers rebuilding. Suzuki Samurai Transfer Case Rebuild Instructions.
From workshopfixoharayuko.z21.web.core.windows.net
Suzuki Samurai Transfer Case Rebuild Kit Suzuki Samurai Transfer Case Rebuild Instructions In these instructions, we refer to the different transfer case housing sections by name. How to rebuild & modifycovers rebuilding the most popular and widely used transfer cases found in dozens of jeep models for decades,. If you did not drain the oil from the transfer case, be careful as you move it around on the floor or work bench.. Suzuki Samurai Transfer Case Rebuild Instructions.
From mungfali.com
Suzuki Samurai Transfer Case Diagram Suzuki Samurai Transfer Case Rebuild Instructions Oil will run out of the. The kits are put together different depending on which vendor you go to. The photo below shows each of the housings and its. In these instructions, we refer to the different transfer case housing sections by name. How to rebuild & modifycovers rebuilding the most popular and widely used transfer cases found in dozens. Suzuki Samurai Transfer Case Rebuild Instructions.
From www.youtube.com
Suzuki Samurai Transfer Case Rebuild Caja de Samurai Rectificado Suzuki Samurai Transfer Case Rebuild Instructions If you did not drain the oil from the transfer case, be careful as you move it around on the floor or work bench. If they want their product to cost less then they don't. How to rebuild & modifycovers rebuilding the most popular and widely used transfer cases found in dozens of jeep models for decades,. The photo below. Suzuki Samurai Transfer Case Rebuild Instructions.
From www.amazon.ca
Transparts Warehouse BK236 Suzuki Samurai 5 Speed Transfer Case Rebuild Suzuki Samurai Transfer Case Rebuild Instructions How to rebuild & modifycovers rebuilding the most popular and widely used transfer cases found in dozens of jeep models for decades,. In these instructions, we refer to the different transfer case housing sections by name. The kits are put together different depending on which vendor you go to. If you did not drain the oil from the transfer case,. Suzuki Samurai Transfer Case Rebuild Instructions.
From www.motortrend.com
Building a Stronger Suzuki Samurai Transfer Case Suzuki Samurai Transfer Case Rebuild Instructions In these instructions, we refer to the different transfer case housing sections by name. The photo below shows each of the housings and its. The kits are put together different depending on which vendor you go to. If you did not drain the oil from the transfer case, be careful as you move it around on the floor or work. Suzuki Samurai Transfer Case Rebuild Instructions.
From design1systems.com
Understanding the Suzuki Samurai Transfer Case A Comprehensive Diagram Suzuki Samurai Transfer Case Rebuild Instructions Oil will run out of the. How to rebuild & modifycovers rebuilding the most popular and widely used transfer cases found in dozens of jeep models for decades,. The photo below shows each of the housings and its. If they want their product to cost less then they don't. If you did not drain the oil from the transfer case,. Suzuki Samurai Transfer Case Rebuild Instructions.
From flavored.ph
Suzuki Samurai 5spd Transmission & Transfer Case Rebuild Kit W/ Needle Suzuki Samurai Transfer Case Rebuild Instructions The kits are put together different depending on which vendor you go to. If you did not drain the oil from the transfer case, be careful as you move it around on the floor or work bench. Oil will run out of the. If they want their product to cost less then they don't. How to rebuild & modifycovers rebuilding. Suzuki Samurai Transfer Case Rebuild Instructions.
From www.youtube.com
Installing Suzuki Samurai Transfer Case YouTube Suzuki Samurai Transfer Case Rebuild Instructions The photo below shows each of the housings and its. If they want their product to cost less then they don't. If you did not drain the oil from the transfer case, be careful as you move it around on the floor or work bench. How to rebuild & modifycovers rebuilding the most popular and widely used transfer cases found. Suzuki Samurai Transfer Case Rebuild Instructions.
From mungfali.com
Suzuki Samurai Transfer Case Diagram Suzuki Samurai Transfer Case Rebuild Instructions Oil will run out of the. In these instructions, we refer to the different transfer case housing sections by name. The kits are put together different depending on which vendor you go to. How to rebuild & modifycovers rebuilding the most popular and widely used transfer cases found in dozens of jeep models for decades,. If you did not drain. Suzuki Samurai Transfer Case Rebuild Instructions.
From mungfali.com
Suzuki Samurai Transfer Case Diagram Suzuki Samurai Transfer Case Rebuild Instructions How to rebuild & modifycovers rebuilding the most popular and widely used transfer cases found in dozens of jeep models for decades,. The photo below shows each of the housings and its. In these instructions, we refer to the different transfer case housing sections by name. If they want their product to cost less then they don't. Oil will run. Suzuki Samurai Transfer Case Rebuild Instructions.
From mungfali.com
Suzuki Samurai Transfer Case Diagram Suzuki Samurai Transfer Case Rebuild Instructions The kits are put together different depending on which vendor you go to. If they want their product to cost less then they don't. If you did not drain the oil from the transfer case, be careful as you move it around on the floor or work bench. How to rebuild & modifycovers rebuilding the most popular and widely used. Suzuki Samurai Transfer Case Rebuild Instructions.
From mungfali.com
Suzuki Samurai Transfer Case Diagram Suzuki Samurai Transfer Case Rebuild Instructions The kits are put together different depending on which vendor you go to. Oil will run out of the. If you did not drain the oil from the transfer case, be careful as you move it around on the floor or work bench. How to rebuild & modifycovers rebuilding the most popular and widely used transfer cases found in dozens. Suzuki Samurai Transfer Case Rebuild Instructions.
From mungfali.com
Suzuki Samurai Transfer Case Diagram Suzuki Samurai Transfer Case Rebuild Instructions The kits are put together different depending on which vendor you go to. In these instructions, we refer to the different transfer case housing sections by name. The photo below shows each of the housings and its. Oil will run out of the. How to rebuild & modifycovers rebuilding the most popular and widely used transfer cases found in dozens. Suzuki Samurai Transfer Case Rebuild Instructions.