Electric Hydrogen Patents . a joint study published today by the international renewable energy agency (irena) and the european patent. A global trend analysis of innovation along hydrogen value chains. hydrogen patents for a clean energy future. This study by the epo and iea is the most. hydrogen patents for a clean energy future: patent data shows hydrogen fuel cells are being favoured as a development option over hydrogen internal combustion engines, with. this study, which combines the expertise of the international energy agency and the european patent office, is the most comprehensive,. in 2021, the us department of energy announced ambitious targets to reach a milestone of $2/kg of hydrogen produced. A global trend analysis of innovation along hydrogen value chains | epo.org.
from www.caglaw.com
A global trend analysis of innovation along hydrogen value chains | epo.org. patent data shows hydrogen fuel cells are being favoured as a development option over hydrogen internal combustion engines, with. in 2021, the us department of energy announced ambitious targets to reach a milestone of $2/kg of hydrogen produced. this study, which combines the expertise of the international energy agency and the european patent office, is the most comprehensive,. This study by the epo and iea is the most. A global trend analysis of innovation along hydrogen value chains. a joint study published today by the international renewable energy agency (irena) and the european patent. hydrogen patents for a clean energy future. hydrogen patents for a clean energy future:
From Filings to Fuel Unpacking the Latest Hydrogen Patent Report by
Electric Hydrogen Patents a joint study published today by the international renewable energy agency (irena) and the european patent. patent data shows hydrogen fuel cells are being favoured as a development option over hydrogen internal combustion engines, with. A global trend analysis of innovation along hydrogen value chains. this study, which combines the expertise of the international energy agency and the european patent office, is the most comprehensive,. This study by the epo and iea is the most. hydrogen patents for a clean energy future: hydrogen patents for a clean energy future. A global trend analysis of innovation along hydrogen value chains | epo.org. in 2021, the us department of energy announced ambitious targets to reach a milestone of $2/kg of hydrogen produced. a joint study published today by the international renewable energy agency (irena) and the european patent.
From www.google.ca
Patent US7594939 System for hydrogen storage and generation Google Electric Hydrogen Patents in 2021, the us department of energy announced ambitious targets to reach a milestone of $2/kg of hydrogen produced. This study by the epo and iea is the most. A global trend analysis of innovation along hydrogen value chains | epo.org. hydrogen patents for a clean energy future: a joint study published today by the international renewable. Electric Hydrogen Patents.
From www.google.ca
Patent US20050175873 Passive hydrogen vent for a fuel cell Google Electric Hydrogen Patents hydrogen patents for a clean energy future: A global trend analysis of innovation along hydrogen value chains. in 2021, the us department of energy announced ambitious targets to reach a milestone of $2/kg of hydrogen produced. a joint study published today by the international renewable energy agency (irena) and the european patent. This study by the epo. Electric Hydrogen Patents.
From pulse2.com
Electric Hydrogen 380 Million Secured To Build Powerful Electrolyzers Electric Hydrogen Patents this study, which combines the expertise of the international energy agency and the european patent office, is the most comprehensive,. hydrogen patents for a clean energy future. A global trend analysis of innovation along hydrogen value chains. in 2021, the us department of energy announced ambitious targets to reach a milestone of $2/kg of hydrogen produced. . Electric Hydrogen Patents.
From data.epo.org
HYDROGEN PRODUCTION METHOD, HYDROGEN PRODUCTION APPARATUS, HYDROGEN Electric Hydrogen Patents patent data shows hydrogen fuel cells are being favoured as a development option over hydrogen internal combustion engines, with. this study, which combines the expertise of the international energy agency and the european patent office, is the most comprehensive,. hydrogen patents for a clean energy future: A global trend analysis of innovation along hydrogen value chains. . Electric Hydrogen Patents.
From www.google.ca
Patent US8852410 Electrolytic hydrogen generator and method Google Electric Hydrogen Patents This study by the epo and iea is the most. patent data shows hydrogen fuel cells are being favoured as a development option over hydrogen internal combustion engines, with. in 2021, the us department of energy announced ambitious targets to reach a milestone of $2/kg of hydrogen produced. a joint study published today by the international renewable. Electric Hydrogen Patents.
From www.weforum.org
Hydrogen patent filings Europe and Japan lead on innovation World Electric Hydrogen Patents in 2021, the us department of energy announced ambitious targets to reach a milestone of $2/kg of hydrogen produced. A global trend analysis of innovation along hydrogen value chains | epo.org. a joint study published today by the international renewable energy agency (irena) and the european patent. hydrogen patents for a clean energy future. This study by. Electric Hydrogen Patents.
From www.google.com
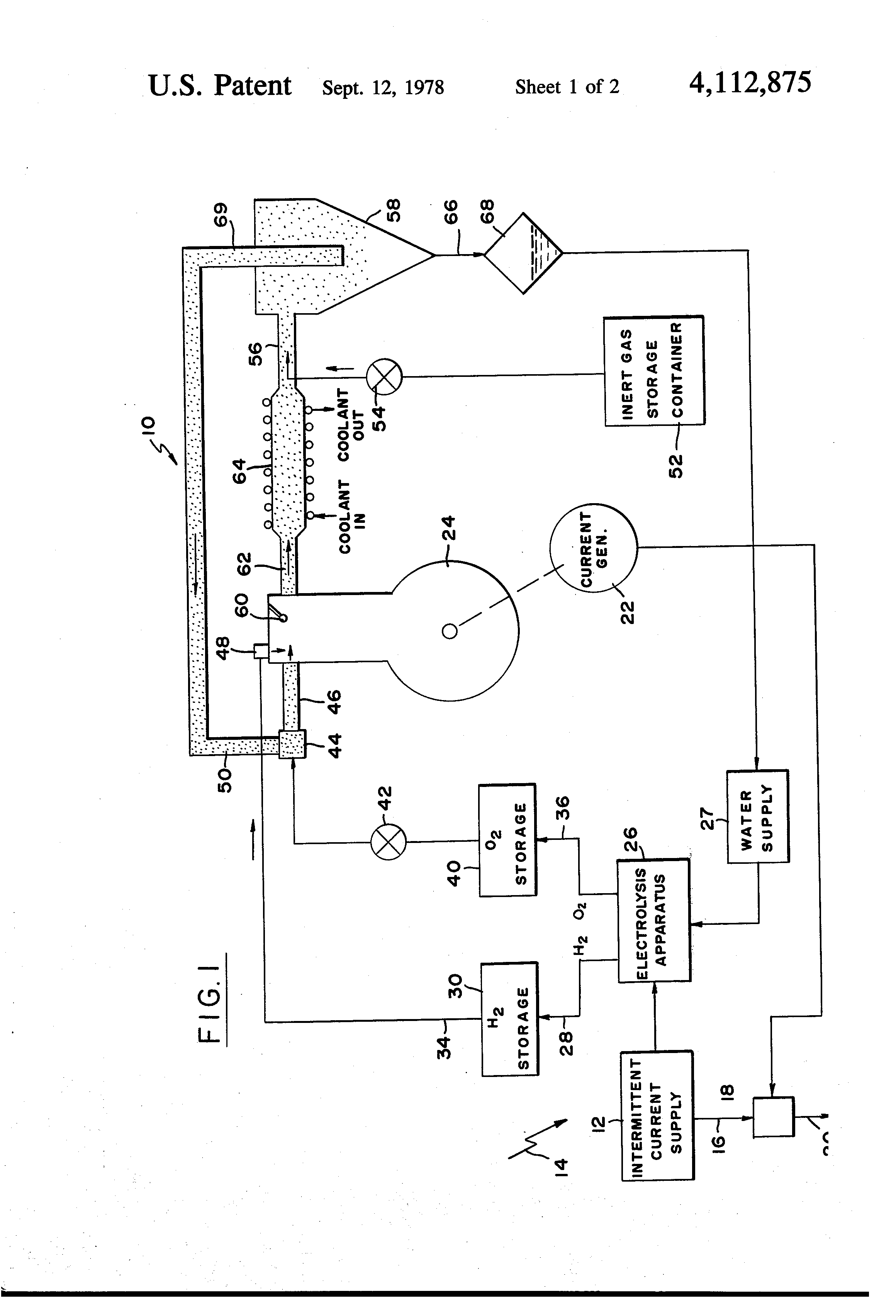
Patent US4112875 Hydrogenfueled engine Google Patents Electric Hydrogen Patents This study by the epo and iea is the most. hydrogen patents for a clean energy future. this study, which combines the expertise of the international energy agency and the european patent office, is the most comprehensive,. patent data shows hydrogen fuel cells are being favoured as a development option over hydrogen internal combustion engines, with. A. Electric Hydrogen Patents.
From www.google.com
Patent US4643876 Hydrogen peroxide plasma sterilization system Electric Hydrogen Patents hydrogen patents for a clean energy future: a joint study published today by the international renewable energy agency (irena) and the european patent. A global trend analysis of innovation along hydrogen value chains | epo.org. hydrogen patents for a clean energy future. This study by the epo and iea is the most. A global trend analysis of. Electric Hydrogen Patents.
From htwo.hyundai.com
[[Hydrogen Society] FCEV Powered by Hydrogen] Press Releases Electric Hydrogen Patents hydrogen patents for a clean energy future. this study, which combines the expertise of the international energy agency and the european patent office, is the most comprehensive,. A global trend analysis of innovation along hydrogen value chains | epo.org. a joint study published today by the international renewable energy agency (irena) and the european patent. hydrogen. Electric Hydrogen Patents.
From www.google.ca
Patent US7434547 Fuel fired hydrogen generator Google Patents Electric Hydrogen Patents hydrogen patents for a clean energy future: A global trend analysis of innovation along hydrogen value chains. This study by the epo and iea is the most. hydrogen patents for a clean energy future. patent data shows hydrogen fuel cells are being favoured as a development option over hydrogen internal combustion engines, with. A global trend analysis. Electric Hydrogen Patents.
From www.google.com
Patent US5861137 Steam reformer with internal hydrogen purification Electric Hydrogen Patents this study, which combines the expertise of the international energy agency and the european patent office, is the most comprehensive,. in 2021, the us department of energy announced ambitious targets to reach a milestone of $2/kg of hydrogen produced. A global trend analysis of innovation along hydrogen value chains. hydrogen patents for a clean energy future: A. Electric Hydrogen Patents.
From www.google.ca
Patent US20100122902 System for the electrolytic production of Electric Hydrogen Patents a joint study published today by the international renewable energy agency (irena) and the european patent. This study by the epo and iea is the most. this study, which combines the expertise of the international energy agency and the european patent office, is the most comprehensive,. hydrogen patents for a clean energy future. A global trend analysis. Electric Hydrogen Patents.
From www.google.ca
Patent US20090272588 Hydrogen generation apparatus Google Patents Electric Hydrogen Patents A global trend analysis of innovation along hydrogen value chains | epo.org. a joint study published today by the international renewable energy agency (irena) and the european patent. in 2021, the us department of energy announced ambitious targets to reach a milestone of $2/kg of hydrogen produced. patent data shows hydrogen fuel cells are being favoured as. Electric Hydrogen Patents.
From en.muhendisgelisim.com
HYDROGEN ENERGY Engineer Development Portal Electric Hydrogen Patents hydrogen patents for a clean energy future. A global trend analysis of innovation along hydrogen value chains | epo.org. hydrogen patents for a clean energy future: this study, which combines the expertise of the international energy agency and the european patent office, is the most comprehensive,. A global trend analysis of innovation along hydrogen value chains. . Electric Hydrogen Patents.
From www.google.com
Patent US20110210008 Hydrogen carburetor for generating hydrogen to Electric Hydrogen Patents patent data shows hydrogen fuel cells are being favoured as a development option over hydrogen internal combustion engines, with. this study, which combines the expertise of the international energy agency and the european patent office, is the most comprehensive,. a joint study published today by the international renewable energy agency (irena) and the european patent. hydrogen. Electric Hydrogen Patents.
From energynorthwest.com
World’s First Integrated Hydrogen PowertoPower Demonstration Launched Electric Hydrogen Patents this study, which combines the expertise of the international energy agency and the european patent office, is the most comprehensive,. a joint study published today by the international renewable energy agency (irena) and the european patent. hydrogen patents for a clean energy future. A global trend analysis of innovation along hydrogen value chains. patent data shows. Electric Hydrogen Patents.
From www.google.com
Patent US2721789 Hydrogen generator Google Patents Electric Hydrogen Patents in 2021, the us department of energy announced ambitious targets to reach a milestone of $2/kg of hydrogen produced. This study by the epo and iea is the most. hydrogen patents for a clean energy future: hydrogen patents for a clean energy future. A global trend analysis of innovation along hydrogen value chains. this study, which. Electric Hydrogen Patents.
From www.caglaw.com
From Filings to Fuel Unpacking the Latest Hydrogen Patent Report by Electric Hydrogen Patents A global trend analysis of innovation along hydrogen value chains | epo.org. this study, which combines the expertise of the international energy agency and the european patent office, is the most comprehensive,. in 2021, the us department of energy announced ambitious targets to reach a milestone of $2/kg of hydrogen produced. hydrogen patents for a clean energy. Electric Hydrogen Patents.
From www.google.com
Patent US8318130 Hydrogen production using electrochemical reforming Electric Hydrogen Patents hydrogen patents for a clean energy future: hydrogen patents for a clean energy future. patent data shows hydrogen fuel cells are being favoured as a development option over hydrogen internal combustion engines, with. this study, which combines the expertise of the international energy agency and the european patent office, is the most comprehensive,. A global trend. Electric Hydrogen Patents.
From www.google.co.uk
Patent US20080289255 Apparatus and Method for Producing Hydrogen Electric Hydrogen Patents A global trend analysis of innovation along hydrogen value chains | epo.org. hydrogen patents for a clean energy future. hydrogen patents for a clean energy future: patent data shows hydrogen fuel cells are being favoured as a development option over hydrogen internal combustion engines, with. this study, which combines the expertise of the international energy agency. Electric Hydrogen Patents.
From www.svp.de
Hydrogen economy www.svp.de Electric Hydrogen Patents a joint study published today by the international renewable energy agency (irena) and the european patent. A global trend analysis of innovation along hydrogen value chains | epo.org. this study, which combines the expertise of the international energy agency and the european patent office, is the most comprehensive,. in 2021, the us department of energy announced ambitious. Electric Hydrogen Patents.
From www.google.de
Patent US20140216366 Hydrogen ondemand fuel system for internal Electric Hydrogen Patents this study, which combines the expertise of the international energy agency and the european patent office, is the most comprehensive,. patent data shows hydrogen fuel cells are being favoured as a development option over hydrogen internal combustion engines, with. hydrogen patents for a clean energy future. a joint study published today by the international renewable energy. Electric Hydrogen Patents.
From www.animalia-life.club
Toyota Hydrogen Fuel Cell Diagram Electric Hydrogen Patents a joint study published today by the international renewable energy agency (irena) and the european patent. A global trend analysis of innovation along hydrogen value chains | epo.org. A global trend analysis of innovation along hydrogen value chains. patent data shows hydrogen fuel cells are being favoured as a development option over hydrogen internal combustion engines, with. . Electric Hydrogen Patents.
From www.scribd.com
Stanley Meyer Gas Electric Hydrogen Generator Patents PDF Energy Electric Hydrogen Patents patent data shows hydrogen fuel cells are being favoured as a development option over hydrogen internal combustion engines, with. A global trend analysis of innovation along hydrogen value chains | epo.org. this study, which combines the expertise of the international energy agency and the european patent office, is the most comprehensive,. hydrogen patents for a clean energy. Electric Hydrogen Patents.
From utilitydaily.com
IEA Hydrogen patents for a clean energy future Electric Hydrogen Patents patent data shows hydrogen fuel cells are being favoured as a development option over hydrogen internal combustion engines, with. a joint study published today by the international renewable energy agency (irena) and the european patent. this study, which combines the expertise of the international energy agency and the european patent office, is the most comprehensive,. hydrogen. Electric Hydrogen Patents.
From www.pinterest.com
Hydrogen Fuel Cell Patent Print Hydrogen Poster Green Energy Etsy Electric Hydrogen Patents hydrogen patents for a clean energy future. patent data shows hydrogen fuel cells are being favoured as a development option over hydrogen internal combustion engines, with. a joint study published today by the international renewable energy agency (irena) and the european patent. A global trend analysis of innovation along hydrogen value chains. This study by the epo. Electric Hydrogen Patents.
From www.cnbc.com
Electric Hydrogen produces clean hydrogen via renewable energy Electric Hydrogen Patents hydrogen patents for a clean energy future: patent data shows hydrogen fuel cells are being favoured as a development option over hydrogen internal combustion engines, with. in 2021, the us department of energy announced ambitious targets to reach a milestone of $2/kg of hydrogen produced. hydrogen patents for a clean energy future. a joint study. Electric Hydrogen Patents.
From www.google.com
Patent US6712949 Electrochemical synthesis of hydrogen peroxide Electric Hydrogen Patents A global trend analysis of innovation along hydrogen value chains. hydrogen patents for a clean energy future: a joint study published today by the international renewable energy agency (irena) and the european patent. hydrogen patents for a clean energy future. patent data shows hydrogen fuel cells are being favoured as a development option over hydrogen internal. Electric Hydrogen Patents.
From www.google.com.au
Patent US6299994 Process for providing a pure hydrogen stream for use Electric Hydrogen Patents hydrogen patents for a clean energy future. This study by the epo and iea is the most. in 2021, the us department of energy announced ambitious targets to reach a milestone of $2/kg of hydrogen produced. A global trend analysis of innovation along hydrogen value chains | epo.org. hydrogen patents for a clean energy future: patent. Electric Hydrogen Patents.
From www.google.ca
Patent US20040035054 System for hydrogen generation Google Patents Electric Hydrogen Patents patent data shows hydrogen fuel cells are being favoured as a development option over hydrogen internal combustion engines, with. hydrogen patents for a clean energy future. A global trend analysis of innovation along hydrogen value chains | epo.org. this study, which combines the expertise of the international energy agency and the european patent office, is the most. Electric Hydrogen Patents.
From www.google.com
Patent US8323840 Hydrogen recirculation apparatus for fuel cell Electric Hydrogen Patents A global trend analysis of innovation along hydrogen value chains. A global trend analysis of innovation along hydrogen value chains | epo.org. hydrogen patents for a clean energy future. This study by the epo and iea is the most. hydrogen patents for a clean energy future: a joint study published today by the international renewable energy agency. Electric Hydrogen Patents.
From www.doubtnut.com
How is hydrogen molecule formed Electric Hydrogen Patents This study by the epo and iea is the most. patent data shows hydrogen fuel cells are being favoured as a development option over hydrogen internal combustion engines, with. hydrogen patents for a clean energy future: in 2021, the us department of energy announced ambitious targets to reach a milestone of $2/kg of hydrogen produced. A global. Electric Hydrogen Patents.
From www.researchgate.net
(PDF) Renewable Electricity and Hydrogen Production via Decentralized Electric Hydrogen Patents This study by the epo and iea is the most. in 2021, the us department of energy announced ambitious targets to reach a milestone of $2/kg of hydrogen produced. A global trend analysis of innovation along hydrogen value chains. A global trend analysis of innovation along hydrogen value chains | epo.org. hydrogen patents for a clean energy future.. Electric Hydrogen Patents.
From www.google.com.mx
Patent US8071242 Hydrogen generators for fuel cells Google Patents Electric Hydrogen Patents patent data shows hydrogen fuel cells are being favoured as a development option over hydrogen internal combustion engines, with. this study, which combines the expertise of the international energy agency and the european patent office, is the most comprehensive,. hydrogen patents for a clean energy future: This study by the epo and iea is the most. A. Electric Hydrogen Patents.
From www.google.com
Patent US8113791 Integrated hydrogen recirculation blower for fuel Electric Hydrogen Patents in 2021, the us department of energy announced ambitious targets to reach a milestone of $2/kg of hydrogen produced. A global trend analysis of innovation along hydrogen value chains. patent data shows hydrogen fuel cells are being favoured as a development option over hydrogen internal combustion engines, with. this study, which combines the expertise of the international. Electric Hydrogen Patents.