Otl Amplifier Circuit Diagram . Otl = output trasformer less tube amplifiers. Ciclotron balanced design problems (type 1):. My consideration on problems of each design: First, let us consider what the output tube in an otl circuit must do that is different from amplifiers. Compare different otl circuits and their output impedance characteristics, efficiency, and. The 25w otl amplifier circuit. Finally, in order to drive normal loudspeakers, i decided that i needed a power. One of high power amplifier circuit with otl 100w output power amplifier.
from ha3ftv.ewk.hu
Compare different otl circuits and their output impedance characteristics, efficiency, and. Otl = output trasformer less tube amplifiers. Finally, in order to drive normal loudspeakers, i decided that i needed a power. Ciclotron balanced design problems (type 1):. The 25w otl amplifier circuit. My consideration on problems of each design: One of high power amplifier circuit with otl 100w output power amplifier. First, let us consider what the output tube in an otl circuit must do that is different from amplifiers.
OTL Amplifier With Tubes
Otl Amplifier Circuit Diagram The 25w otl amplifier circuit. Ciclotron balanced design problems (type 1):. The 25w otl amplifier circuit. First, let us consider what the output tube in an otl circuit must do that is different from amplifiers. My consideration on problems of each design: Otl = output trasformer less tube amplifiers. One of high power amplifier circuit with otl 100w output power amplifier. Compare different otl circuits and their output impedance characteristics, efficiency, and. Finally, in order to drive normal loudspeakers, i decided that i needed a power.
From www.audiodesignguide.com
OTL Otl Amplifier Circuit Diagram First, let us consider what the output tube in an otl circuit must do that is different from amplifiers. Ciclotron balanced design problems (type 1):. Otl = output trasformer less tube amplifiers. Compare different otl circuits and their output impedance characteristics, efficiency, and. My consideration on problems of each design: The 25w otl amplifier circuit. One of high power amplifier. Otl Amplifier Circuit Diagram.
From circuitdiagramcentre.blogspot.com
Three Simple 50w OTL audio amplifier circuit by 2N3055 Circuit Otl Amplifier Circuit Diagram Otl = output trasformer less tube amplifiers. First, let us consider what the output tube in an otl circuit must do that is different from amplifiers. My consideration on problems of each design: The 25w otl amplifier circuit. Finally, in order to drive normal loudspeakers, i decided that i needed a power. Compare different otl circuits and their output impedance. Otl Amplifier Circuit Diagram.
From audioxpress.com
You Can DIY! A 25W OTL Tube Amplifier audioXpress Otl Amplifier Circuit Diagram Finally, in order to drive normal loudspeakers, i decided that i needed a power. First, let us consider what the output tube in an otl circuit must do that is different from amplifiers. Compare different otl circuits and their output impedance characteristics, efficiency, and. Otl = output trasformer less tube amplifiers. The 25w otl amplifier circuit. One of high power. Otl Amplifier Circuit Diagram.
From ha3ftv.ewk.hu
OTL Amplifier With Tubes Otl Amplifier Circuit Diagram Finally, in order to drive normal loudspeakers, i decided that i needed a power. Compare different otl circuits and their output impedance characteristics, efficiency, and. One of high power amplifier circuit with otl 100w output power amplifier. First, let us consider what the output tube in an otl circuit must do that is different from amplifiers. The 25w otl amplifier. Otl Amplifier Circuit Diagram.
From radiolamp.net
Бестрансформаторный усилитель OTL на лампах 7242 Otl Amplifier Circuit Diagram Ciclotron balanced design problems (type 1):. The 25w otl amplifier circuit. One of high power amplifier circuit with otl 100w output power amplifier. Finally, in order to drive normal loudspeakers, i decided that i needed a power. My consideration on problems of each design: Otl = output trasformer less tube amplifiers. First, let us consider what the output tube in. Otl Amplifier Circuit Diagram.
From docslib.org
A 25W OTL Tube Amplifier Presenting a New OutputTransformerless Otl Amplifier Circuit Diagram Otl = output trasformer less tube amplifiers. One of high power amplifier circuit with otl 100w output power amplifier. My consideration on problems of each design: The 25w otl amplifier circuit. Finally, in order to drive normal loudspeakers, i decided that i needed a power. First, let us consider what the output tube in an otl circuit must do that. Otl Amplifier Circuit Diagram.
From www.eleccircuit.com
LM1875 amplifier circuit 30 watts Otl Amplifier Circuit Diagram First, let us consider what the output tube in an otl circuit must do that is different from amplifiers. Otl = output trasformer less tube amplifiers. One of high power amplifier circuit with otl 100w output power amplifier. My consideration on problems of each design: The 25w otl amplifier circuit. Finally, in order to drive normal loudspeakers, i decided that. Otl Amplifier Circuit Diagram.
From tronicspro.com
100W Amplifier Circuit 2N3055 Transistor TRONICSpro Otl Amplifier Circuit Diagram Ciclotron balanced design problems (type 1):. Finally, in order to drive normal loudspeakers, i decided that i needed a power. The 25w otl amplifier circuit. Otl = output trasformer less tube amplifiers. Compare different otl circuits and their output impedance characteristics, efficiency, and. My consideration on problems of each design: One of high power amplifier circuit with otl 100w output. Otl Amplifier Circuit Diagram.
From www.audiodesignguide.com
OTL Otl Amplifier Circuit Diagram Otl = output trasformer less tube amplifiers. One of high power amplifier circuit with otl 100w output power amplifier. Compare different otl circuits and their output impedance characteristics, efficiency, and. My consideration on problems of each design: First, let us consider what the output tube in an otl circuit must do that is different from amplifiers. The 25w otl amplifier. Otl Amplifier Circuit Diagram.
From www.eleccircuit.com
simple audio amplifier circuit diagram using transistor Otl Amplifier Circuit Diagram My consideration on problems of each design: Ciclotron balanced design problems (type 1):. One of high power amplifier circuit with otl 100w output power amplifier. Compare different otl circuits and their output impedance characteristics, efficiency, and. Finally, in order to drive normal loudspeakers, i decided that i needed a power. First, let us consider what the output tube in an. Otl Amplifier Circuit Diagram.
From www.eleccircuit.com
Three Simple 50w OTL audio amplifier circuit by 2N3055 Otl Amplifier Circuit Diagram The 25w otl amplifier circuit. Ciclotron balanced design problems (type 1):. Finally, in order to drive normal loudspeakers, i decided that i needed a power. Compare different otl circuits and their output impedance characteristics, efficiency, and. First, let us consider what the output tube in an otl circuit must do that is different from amplifiers. My consideration on problems of. Otl Amplifier Circuit Diagram.
From circuitdatamoeller.z19.web.core.windows.net
Digital Amplifier Circuit Diagram Otl Amplifier Circuit Diagram Otl = output trasformer less tube amplifiers. One of high power amplifier circuit with otl 100w output power amplifier. Ciclotron balanced design problems (type 1):. The 25w otl amplifier circuit. My consideration on problems of each design: First, let us consider what the output tube in an otl circuit must do that is different from amplifiers. Compare different otl circuits. Otl Amplifier Circuit Diagram.
From www.gammaelectronics.xyz
Saga of a Tube OTL Amplifier Otl Amplifier Circuit Diagram Finally, in order to drive normal loudspeakers, i decided that i needed a power. Compare different otl circuits and their output impedance characteristics, efficiency, and. The 25w otl amplifier circuit. Otl = output trasformer less tube amplifiers. Ciclotron balanced design problems (type 1):. One of high power amplifier circuit with otl 100w output power amplifier. My consideration on problems of. Otl Amplifier Circuit Diagram.
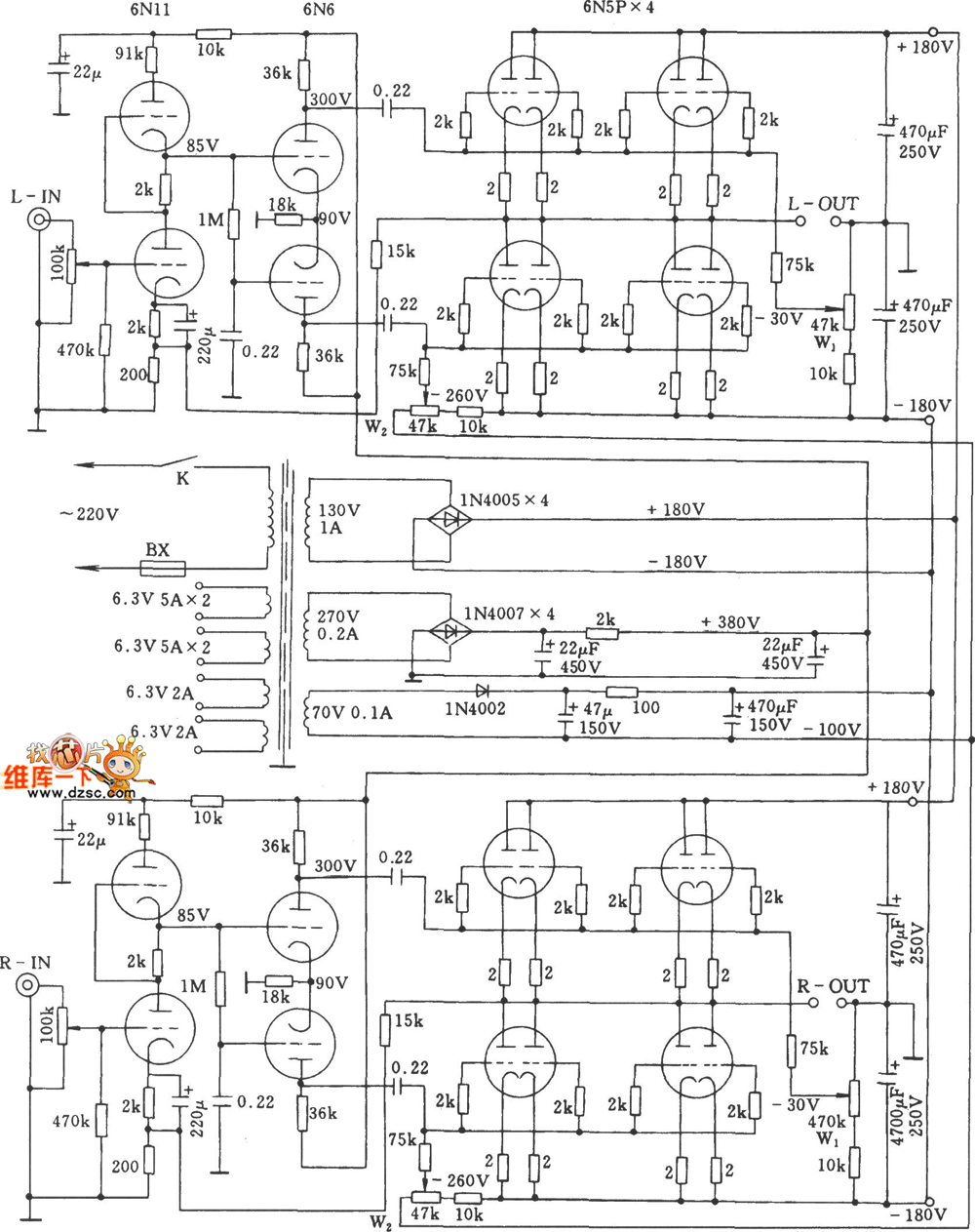
From www.seekic.com
The stereo OTL power amplifier circuit of 6N5P valve Amplifier Otl Amplifier Circuit Diagram One of high power amplifier circuit with otl 100w output power amplifier. Compare different otl circuits and their output impedance characteristics, efficiency, and. Otl = output trasformer less tube amplifiers. Finally, in order to drive normal loudspeakers, i decided that i needed a power. First, let us consider what the output tube in an otl circuit must do that is. Otl Amplifier Circuit Diagram.
From www.eleccircuit.com
60W RMS OTL integrated audio amplifier circuit Otl Amplifier Circuit Diagram Finally, in order to drive normal loudspeakers, i decided that i needed a power. My consideration on problems of each design: One of high power amplifier circuit with otl 100w output power amplifier. Compare different otl circuits and their output impedance characteristics, efficiency, and. Ciclotron balanced design problems (type 1):. Otl = output trasformer less tube amplifiers. The 25w otl. Otl Amplifier Circuit Diagram.
From www.homemade-circuits.com
6 Simple Class A Amplifier Circuits Explained Homemade Circuit Projects Otl Amplifier Circuit Diagram My consideration on problems of each design: One of high power amplifier circuit with otl 100w output power amplifier. First, let us consider what the output tube in an otl circuit must do that is different from amplifiers. Compare different otl circuits and their output impedance characteristics, efficiency, and. Finally, in order to drive normal loudspeakers, i decided that i. Otl Amplifier Circuit Diagram.
From www.eleccircuit.com
100w amplifier circuit with PCB Otl Amplifier Circuit Diagram My consideration on problems of each design: One of high power amplifier circuit with otl 100w output power amplifier. First, let us consider what the output tube in an otl circuit must do that is different from amplifiers. Finally, in order to drive normal loudspeakers, i decided that i needed a power. Otl = output trasformer less tube amplifiers. Ciclotron. Otl Amplifier Circuit Diagram.
From www.diyaudio.com
My Best OTL Amplifier diyAudio Otl Amplifier Circuit Diagram First, let us consider what the output tube in an otl circuit must do that is different from amplifiers. One of high power amplifier circuit with otl 100w output power amplifier. My consideration on problems of each design: Compare different otl circuits and their output impedance characteristics, efficiency, and. Otl = output trasformer less tube amplifiers. Ciclotron balanced design problems. Otl Amplifier Circuit Diagram.
From www.circuitdiagram.co
Transistor Power Amplifier Circuit Circuit Diagram Otl Amplifier Circuit Diagram Finally, in order to drive normal loudspeakers, i decided that i needed a power. Otl = output trasformer less tube amplifiers. One of high power amplifier circuit with otl 100w output power amplifier. My consideration on problems of each design: Ciclotron balanced design problems (type 1):. Compare different otl circuits and their output impedance characteristics, efficiency, and. First, let us. Otl Amplifier Circuit Diagram.
From www.seekic.com
New threepole power tube OTL power amplifier circuit diagram Otl Amplifier Circuit Diagram My consideration on problems of each design: One of high power amplifier circuit with otl 100w output power amplifier. Otl = output trasformer less tube amplifiers. Compare different otl circuits and their output impedance characteristics, efficiency, and. Ciclotron balanced design problems (type 1):. The 25w otl amplifier circuit. First, let us consider what the output tube in an otl circuit. Otl Amplifier Circuit Diagram.
From www.next.gr
Both tube OTL amplifier 01 under VacuumTube Valves Circuits 60454 Otl Amplifier Circuit Diagram Ciclotron balanced design problems (type 1):. Finally, in order to drive normal loudspeakers, i decided that i needed a power. One of high power amplifier circuit with otl 100w output power amplifier. Otl = output trasformer less tube amplifiers. The 25w otl amplifier circuit. First, let us consider what the output tube in an otl circuit must do that is. Otl Amplifier Circuit Diagram.
From electronicsdesign-deni.blogspot.com
Classic Amplifier Otl Circuit20wElectronic DesignSchematic Circuit Otl Amplifier Circuit Diagram Compare different otl circuits and their output impedance characteristics, efficiency, and. One of high power amplifier circuit with otl 100w output power amplifier. First, let us consider what the output tube in an otl circuit must do that is different from amplifiers. The 25w otl amplifier circuit. Otl = output trasformer less tube amplifiers. Finally, in order to drive normal. Otl Amplifier Circuit Diagram.
From wiringlibrarymargaret.z19.web.core.windows.net
National Mehta Amplifier Circuit Diagram Otl Amplifier Circuit Diagram The 25w otl amplifier circuit. Otl = output trasformer less tube amplifiers. Compare different otl circuits and their output impedance characteristics, efficiency, and. One of high power amplifier circuit with otl 100w output power amplifier. My consideration on problems of each design: Finally, in order to drive normal loudspeakers, i decided that i needed a power. Ciclotron balanced design problems. Otl Amplifier Circuit Diagram.
From www.next.gr
Application of the differential amplifier circuit OTL amplifier circuit Otl Amplifier Circuit Diagram Otl = output trasformer less tube amplifiers. First, let us consider what the output tube in an otl circuit must do that is different from amplifiers. The 25w otl amplifier circuit. One of high power amplifier circuit with otl 100w output power amplifier. Compare different otl circuits and their output impedance characteristics, efficiency, and. Finally, in order to drive normal. Otl Amplifier Circuit Diagram.
From tronicspro.com
100W MOSFET Audio Amplifier using IRF530 & IRF9530 Otl Amplifier Circuit Diagram Compare different otl circuits and their output impedance characteristics, efficiency, and. First, let us consider what the output tube in an otl circuit must do that is different from amplifiers. My consideration on problems of each design: One of high power amplifier circuit with otl 100w output power amplifier. Otl = output trasformer less tube amplifiers. Finally, in order to. Otl Amplifier Circuit Diagram.
From manualfixbrandt.z19.web.core.windows.net
Hifi Tube Amplifier Schematics Otl Amplifier Circuit Diagram One of high power amplifier circuit with otl 100w output power amplifier. Compare different otl circuits and their output impedance characteristics, efficiency, and. First, let us consider what the output tube in an otl circuit must do that is different from amplifiers. The 25w otl amplifier circuit. Ciclotron balanced design problems (type 1):. Otl = output trasformer less tube amplifiers.. Otl Amplifier Circuit Diagram.
From diagramdatasoftball.z14.web.core.windows.net
Simple Transistor Amplifier Circuit Diagram Otl Amplifier Circuit Diagram Finally, in order to drive normal loudspeakers, i decided that i needed a power. Ciclotron balanced design problems (type 1):. Compare different otl circuits and their output impedance characteristics, efficiency, and. My consideration on problems of each design: Otl = output trasformer less tube amplifiers. The 25w otl amplifier circuit. First, let us consider what the output tube in an. Otl Amplifier Circuit Diagram.
From www.audiosciencereview.com
Low Voltage Vacuum Tube OTL Audio Amplifier By Usagi Electric Audio Otl Amplifier Circuit Diagram My consideration on problems of each design: First, let us consider what the output tube in an otl circuit must do that is different from amplifiers. Finally, in order to drive normal loudspeakers, i decided that i needed a power. One of high power amplifier circuit with otl 100w output power amplifier. Ciclotron balanced design problems (type 1):. Otl =. Otl Amplifier Circuit Diagram.
From schematicfixgrunwald.z19.web.core.windows.net
Tube Headphone Amplifier Schematic Otl Amplifier Circuit Diagram My consideration on problems of each design: One of high power amplifier circuit with otl 100w output power amplifier. The 25w otl amplifier circuit. Compare different otl circuits and their output impedance characteristics, efficiency, and. Otl = output trasformer less tube amplifiers. First, let us consider what the output tube in an otl circuit must do that is different from. Otl Amplifier Circuit Diagram.
From schematicpartclaudia.z19.web.core.windows.net
Amplifier Circuit Diagram For Speakers Otl Amplifier Circuit Diagram My consideration on problems of each design: First, let us consider what the output tube in an otl circuit must do that is different from amplifiers. Compare different otl circuits and their output impedance characteristics, efficiency, and. Ciclotron balanced design problems (type 1):. The 25w otl amplifier circuit. Finally, in order to drive normal loudspeakers, i decided that i needed. Otl Amplifier Circuit Diagram.
From tronicspro.com
MOSFET Amplifier Circuit Diagram 30W DIY TRONICSpro Otl Amplifier Circuit Diagram Compare different otl circuits and their output impedance characteristics, efficiency, and. Finally, in order to drive normal loudspeakers, i decided that i needed a power. First, let us consider what the output tube in an otl circuit must do that is different from amplifiers. One of high power amplifier circuit with otl 100w output power amplifier. Otl = output trasformer. Otl Amplifier Circuit Diagram.
From wiringfixtentaclauw4.z13.web.core.windows.net
100w Amplifier Circuit Diagram Pdf Otl Amplifier Circuit Diagram One of high power amplifier circuit with otl 100w output power amplifier. Ciclotron balanced design problems (type 1):. Finally, in order to drive normal loudspeakers, i decided that i needed a power. First, let us consider what the output tube in an otl circuit must do that is different from amplifiers. Compare different otl circuits and their output impedance characteristics,. Otl Amplifier Circuit Diagram.
From www.seekic.com
1_watt_OTL_audio_power_amplifier_using_an_ECG1035 Amplifier_Circuit Otl Amplifier Circuit Diagram Otl = output trasformer less tube amplifiers. Compare different otl circuits and their output impedance characteristics, efficiency, and. The 25w otl amplifier circuit. One of high power amplifier circuit with otl 100w output power amplifier. My consideration on problems of each design: Ciclotron balanced design problems (type 1):. Finally, in order to drive normal loudspeakers, i decided that i needed. Otl Amplifier Circuit Diagram.
From www.homemade-circuits.com
60 Watt Amplifier Circuit Homemade Circuit Projects Otl Amplifier Circuit Diagram My consideration on problems of each design: The 25w otl amplifier circuit. Ciclotron balanced design problems (type 1):. Otl = output trasformer less tube amplifiers. Compare different otl circuits and their output impedance characteristics, efficiency, and. One of high power amplifier circuit with otl 100w output power amplifier. First, let us consider what the output tube in an otl circuit. Otl Amplifier Circuit Diagram.
From www.tubecad.com
More OTL amplifier design Otl Amplifier Circuit Diagram Finally, in order to drive normal loudspeakers, i decided that i needed a power. The 25w otl amplifier circuit. My consideration on problems of each design: Compare different otl circuits and their output impedance characteristics, efficiency, and. Ciclotron balanced design problems (type 1):. First, let us consider what the output tube in an otl circuit must do that is different. Otl Amplifier Circuit Diagram.