Ice Dispenser Diagram . use the diagram to find the number of the part you need. follett’s 110 series automatic load ice and water dispensers receive ice from follett’s 400 lb (181kg)/day ice machine located in. use the diagram to find the number of the part you need. Feeds ice out of the. research full troubleshooting tips in our service manuals, or look for replacement parts from our manitowoc ice parts lists and diagrams. find specific documentation for your manitowoc commercial ice machine or other manitowoc products. View larger | change section/diagram. Use the diagram to find the number of the part you need. please read and adhere to the following safety information while installing, using, or servicing your follett ice dispenser. Refrigerator ice dispenser crusher housing.
from www.geapplianceparts.com
Refrigerator ice dispenser crusher housing. use the diagram to find the number of the part you need. research full troubleshooting tips in our service manuals, or look for replacement parts from our manitowoc ice parts lists and diagrams. use the diagram to find the number of the part you need. find specific documentation for your manitowoc commercial ice machine or other manitowoc products. View larger | change section/diagram. Feeds ice out of the. please read and adhere to the following safety information while installing, using, or servicing your follett ice dispenser. follett’s 110 series automatic load ice and water dispensers receive ice from follett’s 400 lb (181kg)/day ice machine located in. Use the diagram to find the number of the part you need.
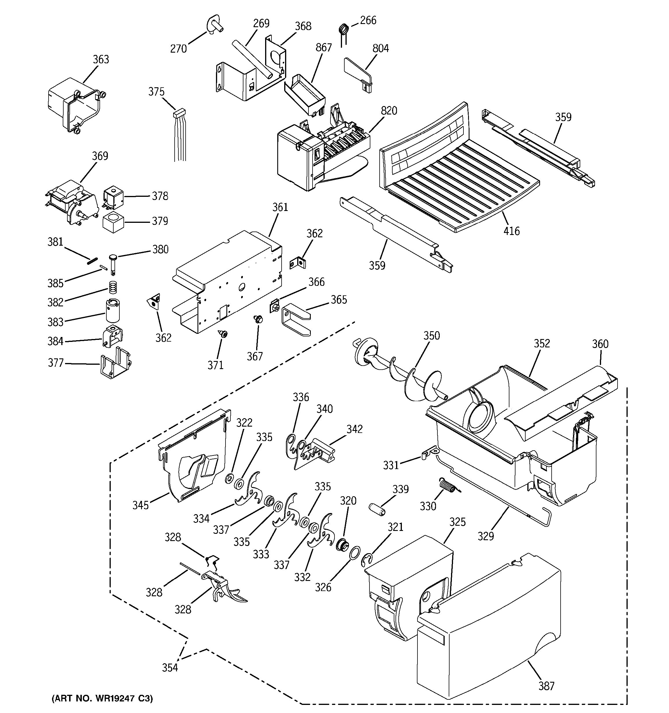
Assembly View for ICE MAKER & DISPENSER GSH25KGPACC
Ice Dispenser Diagram use the diagram to find the number of the part you need. use the diagram to find the number of the part you need. Refrigerator ice dispenser crusher housing. Feeds ice out of the. Use the diagram to find the number of the part you need. use the diagram to find the number of the part you need. find specific documentation for your manitowoc commercial ice machine or other manitowoc products. follett’s 110 series automatic load ice and water dispensers receive ice from follett’s 400 lb (181kg)/day ice machine located in. research full troubleshooting tips in our service manuals, or look for replacement parts from our manitowoc ice parts lists and diagrams. please read and adhere to the following safety information while installing, using, or servicing your follett ice dispenser. View larger | change section/diagram.
From galvinconanstuart.blogspot.com
Manitowoc Ice Machine Parts Diagram General Wiring Diagram Ice Dispenser Diagram use the diagram to find the number of the part you need. research full troubleshooting tips in our service manuals, or look for replacement parts from our manitowoc ice parts lists and diagrams. please read and adhere to the following safety information while installing, using, or servicing your follett ice dispenser. use the diagram to find. Ice Dispenser Diagram.
From www.geapplianceparts.com
Assembly View for ICE MAKER & DISPENSER GFSS6KKXASS Ice Dispenser Diagram please read and adhere to the following safety information while installing, using, or servicing your follett ice dispenser. research full troubleshooting tips in our service manuals, or look for replacement parts from our manitowoc ice parts lists and diagrams. Feeds ice out of the. Refrigerator ice dispenser crusher housing. View larger | change section/diagram. find specific documentation. Ice Dispenser Diagram.
From www.geapplianceparts.com
Assembly View for ICE MAKER & DISPENSER GSCS3KGYAFSS Ice Dispenser Diagram use the diagram to find the number of the part you need. follett’s 110 series automatic load ice and water dispensers receive ice from follett’s 400 lb (181kg)/day ice machine located in. find specific documentation for your manitowoc commercial ice machine or other manitowoc products. please read and adhere to the following safety information while installing,. Ice Dispenser Diagram.
From diagramweb.net
Maytag Sd2454gr Wiring Diagram Ice Dispenser Ice Dispenser Diagram research full troubleshooting tips in our service manuals, or look for replacement parts from our manitowoc ice parts lists and diagrams. Refrigerator ice dispenser crusher housing. please read and adhere to the following safety information while installing, using, or servicing your follett ice dispenser. follett’s 110 series automatic load ice and water dispensers receive ice from follett’s. Ice Dispenser Diagram.
From vohobu-marria.blogspot.com
40 Whirlpool Ice Maker Parts Diagram Diagram Resource Ice Dispenser Diagram View larger | change section/diagram. research full troubleshooting tips in our service manuals, or look for replacement parts from our manitowoc ice parts lists and diagrams. Feeds ice out of the. follett’s 110 series automatic load ice and water dispensers receive ice from follett’s 400 lb (181kg)/day ice machine located in. Use the diagram to find the number. Ice Dispenser Diagram.
From www.genuinereplacementparts.com
KitchenAid KTRS25QDBL00 Ice Cube Dispenser Guide Genuine OEM Ice Dispenser Diagram find specific documentation for your manitowoc commercial ice machine or other manitowoc products. research full troubleshooting tips in our service manuals, or look for replacement parts from our manitowoc ice parts lists and diagrams. use the diagram to find the number of the part you need. please read and adhere to the following safety information while. Ice Dispenser Diagram.
From wiringpartella.z6.web.core.windows.net
Kenmore Ice Maker Wiring Diagram Ice Dispenser Diagram Feeds ice out of the. View larger | change section/diagram. Use the diagram to find the number of the part you need. research full troubleshooting tips in our service manuals, or look for replacement parts from our manitowoc ice parts lists and diagrams. use the diagram to find the number of the part you need. find specific. Ice Dispenser Diagram.
From www.jackssmallengines.com
Frigidaire FPBC2278UF1 Parts Diagram for Freezer Ice Maker Ice Dispenser Diagram please read and adhere to the following safety information while installing, using, or servicing your follett ice dispenser. research full troubleshooting tips in our service manuals, or look for replacement parts from our manitowoc ice parts lists and diagrams. use the diagram to find the number of the part you need. Refrigerator ice dispenser crusher housing. . Ice Dispenser Diagram.
From www.jackssmallengines.com
GE GZS22IENBHDS Parts Diagram for Ice Maker & Dispenser Ice Dispenser Diagram research full troubleshooting tips in our service manuals, or look for replacement parts from our manitowoc ice parts lists and diagrams. View larger | change section/diagram. use the diagram to find the number of the part you need. Use the diagram to find the number of the part you need. please read and adhere to the following. Ice Dispenser Diagram.
From www.jackssmallengines.com
GE GZS22DMJEFES Parts Diagram for Ice Maker & Dispenser Ice Dispenser Diagram find specific documentation for your manitowoc commercial ice machine or other manitowoc products. View larger | change section/diagram. please read and adhere to the following safety information while installing, using, or servicing your follett ice dispenser. use the diagram to find the number of the part you need. Feeds ice out of the. research full troubleshooting. Ice Dispenser Diagram.
From jackssmallengines.com
Frigidaire FFSS2315TS0 Parts Diagram for Ice & Water Dispenser Ice Dispenser Diagram use the diagram to find the number of the part you need. find specific documentation for your manitowoc commercial ice machine or other manitowoc products. Refrigerator ice dispenser crusher housing. follett’s 110 series automatic load ice and water dispensers receive ice from follett’s 400 lb (181kg)/day ice machine located in. use the diagram to find the. Ice Dispenser Diagram.
From servicepartstec.blogspot.com
SEA BREEZE APPLIANCE PARTS AND TECHNICAL SERVICES ARSE66MBW Ice and Water Dispenser Diagram Ice Dispenser Diagram use the diagram to find the number of the part you need. View larger | change section/diagram. research full troubleshooting tips in our service manuals, or look for replacement parts from our manitowoc ice parts lists and diagrams. follett’s 110 series automatic load ice and water dispensers receive ice from follett’s 400 lb (181kg)/day ice machine located. Ice Dispenser Diagram.
From device.report
NEXEL 243318 Ice Dispenser User Manual Ice Dispenser Diagram Refrigerator ice dispenser crusher housing. Feeds ice out of the. Use the diagram to find the number of the part you need. please read and adhere to the following safety information while installing, using, or servicing your follett ice dispenser. View larger | change section/diagram. follett’s 110 series automatic load ice and water dispensers receive ice from follett’s. Ice Dispenser Diagram.
From diagramlibraryschemer.z19.web.core.windows.net
Frigidaire Ice Dispenser Parts Diagram Ice Dispenser Diagram follett’s 110 series automatic load ice and water dispensers receive ice from follett’s 400 lb (181kg)/day ice machine located in. research full troubleshooting tips in our service manuals, or look for replacement parts from our manitowoc ice parts lists and diagrams. View larger | change section/diagram. please read and adhere to the following safety information while installing,. Ice Dispenser Diagram.
From www.geapplianceparts.com
Assembly View for ICE MAKER & DISPENSER GSH25KGPACC Ice Dispenser Diagram Feeds ice out of the. use the diagram to find the number of the part you need. View larger | change section/diagram. research full troubleshooting tips in our service manuals, or look for replacement parts from our manitowoc ice parts lists and diagrams. find specific documentation for your manitowoc commercial ice machine or other manitowoc products. . Ice Dispenser Diagram.
From partsrush.com
SPA310, SRA340, SFA291, SCA330 30" Paddle Wheel style Western Pacific Distributors Ice Dispenser Diagram Refrigerator ice dispenser crusher housing. Use the diagram to find the number of the part you need. follett’s 110 series automatic load ice and water dispensers receive ice from follett’s 400 lb (181kg)/day ice machine located in. please read and adhere to the following safety information while installing, using, or servicing your follett ice dispenser. Feeds ice out. Ice Dispenser Diagram.
From www.jackssmallengines.com
GE GZS22DSJKFSS Parts Diagram for Ice Maker and Dispenser Ice Dispenser Diagram follett’s 110 series automatic load ice and water dispensers receive ice from follett’s 400 lb (181kg)/day ice machine located in. use the diagram to find the number of the part you need. please read and adhere to the following safety information while installing, using, or servicing your follett ice dispenser. Use the diagram to find the number. Ice Dispenser Diagram.
From www.jackssmallengines.com
Frigidaire FG4H2272UF Parts Diagram for Ice & Water Dispenser Ice Dispenser Diagram use the diagram to find the number of the part you need. follett’s 110 series automatic load ice and water dispensers receive ice from follett’s 400 lb (181kg)/day ice machine located in. View larger | change section/diagram. please read and adhere to the following safety information while installing, using, or servicing your follett ice dispenser. Use the. Ice Dispenser Diagram.
From diagramweb.net
Maytag Sd2454gr Wiring Diagram Ice Dispenser Ice Dispenser Diagram Feeds ice out of the. View larger | change section/diagram. please read and adhere to the following safety information while installing, using, or servicing your follett ice dispenser. use the diagram to find the number of the part you need. Use the diagram to find the number of the part you need. find specific documentation for your. Ice Dispenser Diagram.
From www.geapplianceparts.com
Assembly View for ICE MAKER & DISPENSER GFE29HGDABB Ice Dispenser Diagram View larger | change section/diagram. Use the diagram to find the number of the part you need. find specific documentation for your manitowoc commercial ice machine or other manitowoc products. Refrigerator ice dispenser crusher housing. use the diagram to find the number of the part you need. please read and adhere to the following safety information while. Ice Dispenser Diagram.
From www.jackssmallengines.com
Frigidaire FGSC2335TF0 Parts Diagram for Ice Container Ice Dispenser Diagram follett’s 110 series automatic load ice and water dispensers receive ice from follett’s 400 lb (181kg)/day ice machine located in. find specific documentation for your manitowoc commercial ice machine or other manitowoc products. Refrigerator ice dispenser crusher housing. please read and adhere to the following safety information while installing, using, or servicing your follett ice dispenser. . Ice Dispenser Diagram.
From www.jackssmallengines.com
Frigidaire FGHB2868TF0 Parts Diagram for Controls & Ice Dispenser Ice Dispenser Diagram follett’s 110 series automatic load ice and water dispensers receive ice from follett’s 400 lb (181kg)/day ice machine located in. Use the diagram to find the number of the part you need. find specific documentation for your manitowoc commercial ice machine or other manitowoc products. Refrigerator ice dispenser crusher housing. research full troubleshooting tips in our service. Ice Dispenser Diagram.
From www.geapplianceparts.com
Assembly View for ICE MAKER & DISPENSER CSHS6UGZBSS Ice Dispenser Diagram View larger | change section/diagram. research full troubleshooting tips in our service manuals, or look for replacement parts from our manitowoc ice parts lists and diagrams. use the diagram to find the number of the part you need. find specific documentation for your manitowoc commercial ice machine or other manitowoc products. Use the diagram to find the. Ice Dispenser Diagram.
From www.justanswer.com
Kenmore side by side ice dispenser will not work. it makes ice but will not dispense Ice Dispenser Diagram please read and adhere to the following safety information while installing, using, or servicing your follett ice dispenser. View larger | change section/diagram. Feeds ice out of the. research full troubleshooting tips in our service manuals, or look for replacement parts from our manitowoc ice parts lists and diagrams. Refrigerator ice dispenser crusher housing. Use the diagram to. Ice Dispenser Diagram.
From www.jackssmallengines.com
Frigidaire FGSS2635TF0 Parts Diagram for Ice & Water Dispenser Ice Dispenser Diagram Use the diagram to find the number of the part you need. please read and adhere to the following safety information while installing, using, or servicing your follett ice dispenser. use the diagram to find the number of the part you need. Refrigerator ice dispenser crusher housing. Feeds ice out of the. follett’s 110 series automatic load. Ice Dispenser Diagram.
From mydiagram.online
[DIAGRAM] Lg Ice Dispenser Wiring Diagram Ice Dispenser Diagram please read and adhere to the following safety information while installing, using, or servicing your follett ice dispenser. research full troubleshooting tips in our service manuals, or look for replacement parts from our manitowoc ice parts lists and diagrams. use the diagram to find the number of the part you need. follett’s 110 series automatic load. Ice Dispenser Diagram.
From circuitpartfriedmann.z19.web.core.windows.net
Whirlpool Ice Dispenser Parts Diagram Ice Dispenser Diagram research full troubleshooting tips in our service manuals, or look for replacement parts from our manitowoc ice parts lists and diagrams. find specific documentation for your manitowoc commercial ice machine or other manitowoc products. follett’s 110 series automatic load ice and water dispensers receive ice from follett’s 400 lb (181kg)/day ice machine located in. use the. Ice Dispenser Diagram.
From www.jackssmallengines.com
Frigidaire FFHX2325TS0 Parts Diagram for Ice & Water Dispenser Ice Dispenser Diagram research full troubleshooting tips in our service manuals, or look for replacement parts from our manitowoc ice parts lists and diagrams. follett’s 110 series automatic load ice and water dispensers receive ice from follett’s 400 lb (181kg)/day ice machine located in. Feeds ice out of the. please read and adhere to the following safety information while installing,. Ice Dispenser Diagram.
From galvinconanstuart.blogspot.com
Manitowoc Ice Machine Parts Diagram General Wiring Diagram Ice Dispenser Diagram View larger | change section/diagram. Refrigerator ice dispenser crusher housing. use the diagram to find the number of the part you need. research full troubleshooting tips in our service manuals, or look for replacement parts from our manitowoc ice parts lists and diagrams. follett’s 110 series automatic load ice and water dispensers receive ice from follett’s 400. Ice Dispenser Diagram.
From reviewmotors.co
Kenmore Elite Refrigerator Ice Dispenser Parts Diagram Reviewmotors.co Ice Dispenser Diagram use the diagram to find the number of the part you need. find specific documentation for your manitowoc commercial ice machine or other manitowoc products. follett’s 110 series automatic load ice and water dispensers receive ice from follett’s 400 lb (181kg)/day ice machine located in. Refrigerator ice dispenser crusher housing. please read and adhere to the. Ice Dispenser Diagram.
From www.jackssmallengines.com
Frigidaire FPSC2278UF1 Parts Diagram for Ice & Water Dispenser Ice Dispenser Diagram use the diagram to find the number of the part you need. use the diagram to find the number of the part you need. please read and adhere to the following safety information while installing, using, or servicing your follett ice dispenser. Feeds ice out of the. find specific documentation for your manitowoc commercial ice machine. Ice Dispenser Diagram.
From schematicbagnoly9.z22.web.core.windows.net
Amana Refrigerator Ice Maker Manual Ice Dispenser Diagram View larger | change section/diagram. follett’s 110 series automatic load ice and water dispensers receive ice from follett’s 400 lb (181kg)/day ice machine located in. find specific documentation for your manitowoc commercial ice machine or other manitowoc products. please read and adhere to the following safety information while installing, using, or servicing your follett ice dispenser. Refrigerator. Ice Dispenser Diagram.
From wiringdatabaseinfo.blogspot.com
Maytag Ice Maker Parts Diagram Wiring Site Resource Ice Dispenser Diagram Feeds ice out of the. find specific documentation for your manitowoc commercial ice machine or other manitowoc products. Refrigerator ice dispenser crusher housing. Use the diagram to find the number of the part you need. research full troubleshooting tips in our service manuals, or look for replacement parts from our manitowoc ice parts lists and diagrams. follett’s. Ice Dispenser Diagram.
From www.geapplianceparts.com
Assembly View for ICE MAKER & DISPENSER PSC23SGNABS Ice Dispenser Diagram find specific documentation for your manitowoc commercial ice machine or other manitowoc products. please read and adhere to the following safety information while installing, using, or servicing your follett ice dispenser. use the diagram to find the number of the part you need. Feeds ice out of the. research full troubleshooting tips in our service manuals,. Ice Dispenser Diagram.
From diagramweb.net
Maytag Sd2454gr Wiring Diagram Ice Dispenser Ice Dispenser Diagram View larger | change section/diagram. use the diagram to find the number of the part you need. Feeds ice out of the. Use the diagram to find the number of the part you need. follett’s 110 series automatic load ice and water dispensers receive ice from follett’s 400 lb (181kg)/day ice machine located in. use the diagram. Ice Dispenser Diagram.