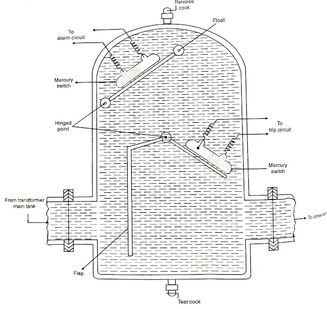
Why Buchholz Relay Tripped . The buchholz relay is installed at the middle of the connection pipe between. — to detect these phenomena, a buchholz relay is installed. — a relay that is used for the protection of the transformer from internal incipient fault is called the buchholz relay. — #buchholzrelay function checking#transformerprotection#industrialelectrical#electricalvideo#transformer#bolbulbul in this video you will. — the buchholz relay provides two main functions: — about press copyright contact us creators advertise developers terms. after detecting fault the buchholz relay provides tripping signal to the ht panel breaker. A buchholz relay is placed. — buchholz relay defined: A buchholz relay is a safety mechanism. Major fault occurred in transformer tank and generating gas in.
from www.electricaldesks.com
A buchholz relay is a safety mechanism. — a relay that is used for the protection of the transformer from internal incipient fault is called the buchholz relay. — #buchholzrelay function checking#transformerprotection#industrialelectrical#electricalvideo#transformer#bolbulbul in this video you will. A buchholz relay is placed. after detecting fault the buchholz relay provides tripping signal to the ht panel breaker. — to detect these phenomena, a buchholz relay is installed. The buchholz relay is installed at the middle of the connection pipe between. — buchholz relay defined: — about press copyright contact us creators advertise developers terms. Major fault occurred in transformer tank and generating gas in.
Buchholz Relay Construction, Working, Advantages, Disadvantages
Why Buchholz Relay Tripped The buchholz relay is installed at the middle of the connection pipe between. — #buchholzrelay function checking#transformerprotection#industrialelectrical#electricalvideo#transformer#bolbulbul in this video you will. — to detect these phenomena, a buchholz relay is installed. after detecting fault the buchholz relay provides tripping signal to the ht panel breaker. A buchholz relay is placed. — buchholz relay defined: Major fault occurred in transformer tank and generating gas in. A buchholz relay is a safety mechanism. The buchholz relay is installed at the middle of the connection pipe between. — a relay that is used for the protection of the transformer from internal incipient fault is called the buchholz relay. — the buchholz relay provides two main functions: — about press copyright contact us creators advertise developers terms.
From www.yourelectricalguide.com
Buchholz Relay Working Principle & Construction Your Electrical Guide Why Buchholz Relay Tripped A buchholz relay is placed. A buchholz relay is a safety mechanism. — #buchholzrelay function checking#transformerprotection#industrialelectrical#electricalvideo#transformer#bolbulbul in this video you will. after detecting fault the buchholz relay provides tripping signal to the ht panel breaker. — to detect these phenomena, a buchholz relay is installed. — buchholz relay defined: — the buchholz relay provides two. Why Buchholz Relay Tripped.
From www.electricaldesks.com
Buchholz Relay Construction, Working, Advantages, Disadvantages Why Buchholz Relay Tripped — buchholz relay defined: A buchholz relay is a safety mechanism. — about press copyright contact us creators advertise developers terms. — #buchholzrelay function checking#transformerprotection#industrialelectrical#electricalvideo#transformer#bolbulbul in this video you will. after detecting fault the buchholz relay provides tripping signal to the ht panel breaker. — to detect these phenomena, a buchholz relay is installed. . Why Buchholz Relay Tripped.
From hustleengineering.tech.blog
Buchholz Relay Hustle Engineering (EE) Why Buchholz Relay Tripped — a relay that is used for the protection of the transformer from internal incipient fault is called the buchholz relay. A buchholz relay is placed. — to detect these phenomena, a buchholz relay is installed. Major fault occurred in transformer tank and generating gas in. A buchholz relay is a safety mechanism. — #buchholzrelay function checking#transformerprotection#industrialelectrical#electricalvideo#transformer#bolbulbul. Why Buchholz Relay Tripped.
From www.youtube.com
Transformer Buchholz relay working principle and construction full Why Buchholz Relay Tripped — buchholz relay defined: — the buchholz relay provides two main functions: A buchholz relay is placed. Major fault occurred in transformer tank and generating gas in. — #buchholzrelay function checking#transformerprotection#industrialelectrical#electricalvideo#transformer#bolbulbul in this video you will. A buchholz relay is a safety mechanism. The buchholz relay is installed at the middle of the connection pipe between. . Why Buchholz Relay Tripped.
From globecore.com
Relé Buchholz principio de funcionamiento Why Buchholz Relay Tripped — about press copyright contact us creators advertise developers terms. — a relay that is used for the protection of the transformer from internal incipient fault is called the buchholz relay. The buchholz relay is installed at the middle of the connection pipe between. — buchholz relay defined: after detecting fault the buchholz relay provides tripping. Why Buchholz Relay Tripped.
From electricalgang.com
Buchholz Relay in Transformers The Definitive Guide Why Buchholz Relay Tripped — a relay that is used for the protection of the transformer from internal incipient fault is called the buchholz relay. — about press copyright contact us creators advertise developers terms. — the buchholz relay provides two main functions: — to detect these phenomena, a buchholz relay is installed. — buchholz relay defined: A buchholz. Why Buchholz Relay Tripped.
From instrumentationtools.com
What is a Buchholz Relay? Working Principle Why Buchholz Relay Tripped — buchholz relay defined: — about press copyright contact us creators advertise developers terms. after detecting fault the buchholz relay provides tripping signal to the ht panel breaker. — #buchholzrelay function checking#transformerprotection#industrialelectrical#electricalvideo#transformer#bolbulbul in this video you will. — a relay that is used for the protection of the transformer from internal incipient fault is called. Why Buchholz Relay Tripped.
From www.electricalclassroom.com
Buchholz Relay Principle, Construction and application Why Buchholz Relay Tripped — the buchholz relay provides two main functions: Major fault occurred in transformer tank and generating gas in. The buchholz relay is installed at the middle of the connection pipe between. — a relay that is used for the protection of the transformer from internal incipient fault is called the buchholz relay. — to detect these phenomena,. Why Buchholz Relay Tripped.
From www.electrical4u.net
Buchholz Relay Working Principle Electrical4u Why Buchholz Relay Tripped — buchholz relay defined: — #buchholzrelay function checking#transformerprotection#industrialelectrical#electricalvideo#transformer#bolbulbul in this video you will. — the buchholz relay provides two main functions: Major fault occurred in transformer tank and generating gas in. — about press copyright contact us creators advertise developers terms. after detecting fault the buchholz relay provides tripping signal to the ht panel breaker.. Why Buchholz Relay Tripped.
From www.itztli.es
"¡Descubre cómo funciona el Relé Buchholz en pocos pasos!" Why Buchholz Relay Tripped — about press copyright contact us creators advertise developers terms. Major fault occurred in transformer tank and generating gas in. — a relay that is used for the protection of the transformer from internal incipient fault is called the buchholz relay. after detecting fault the buchholz relay provides tripping signal to the ht panel breaker. —. Why Buchholz Relay Tripped.
From mectips.com
What is Buchholz relay? Which equipment is protected by it Why Buchholz Relay Tripped after detecting fault the buchholz relay provides tripping signal to the ht panel breaker. — about press copyright contact us creators advertise developers terms. — a relay that is used for the protection of the transformer from internal incipient fault is called the buchholz relay. — buchholz relay defined: — the buchholz relay provides two. Why Buchholz Relay Tripped.
From www.voltagelab.com
What is The Function of a Buchholz Relay? Voltage Lab Why Buchholz Relay Tripped — the buchholz relay provides two main functions: — to detect these phenomena, a buchholz relay is installed. — a relay that is used for the protection of the transformer from internal incipient fault is called the buchholz relay. A buchholz relay is a safety mechanism. — #buchholzrelay function checking#transformerprotection#industrialelectrical#electricalvideo#transformer#bolbulbul in this video you will. Major. Why Buchholz Relay Tripped.
From www.electricianeducations.com
Why is Buchholz relay tripped Why Buchholz Relay Tripped — #buchholzrelay function checking#transformerprotection#industrialelectrical#electricalvideo#transformer#bolbulbul in this video you will. — buchholz relay defined: — about press copyright contact us creators advertise developers terms. Major fault occurred in transformer tank and generating gas in. The buchholz relay is installed at the middle of the connection pipe between. after detecting fault the buchholz relay provides tripping signal to. Why Buchholz Relay Tripped.
From www.youtube.com
Working of Buchholz Relay Explained with Animation YouTube Why Buchholz Relay Tripped after detecting fault the buchholz relay provides tripping signal to the ht panel breaker. — buchholz relay defined: — #buchholzrelay function checking#transformerprotection#industrialelectrical#electricalvideo#transformer#bolbulbul in this video you will. Major fault occurred in transformer tank and generating gas in. — a relay that is used for the protection of the transformer from internal incipient fault is called the. Why Buchholz Relay Tripped.
From electricaltopic.com
Buchholz relayworking function,diagram,alarm & trip setting. Why Buchholz Relay Tripped — #buchholzrelay function checking#transformerprotection#industrialelectrical#electricalvideo#transformer#bolbulbul in this video you will. A buchholz relay is a safety mechanism. — the buchholz relay provides two main functions: — to detect these phenomena, a buchholz relay is installed. The buchholz relay is installed at the middle of the connection pipe between. — a relay that is used for the protection. Why Buchholz Relay Tripped.
From electricalmag.com
Buchholz Relay Working Principle ElectricalMag Why Buchholz Relay Tripped — the buchholz relay provides two main functions: A buchholz relay is placed. — buchholz relay defined: — about press copyright contact us creators advertise developers terms. The buchholz relay is installed at the middle of the connection pipe between. Major fault occurred in transformer tank and generating gas in. — #buchholzrelay function checking#transformerprotection#industrialelectrical#electricalvideo#transformer#bolbulbul in this. Why Buchholz Relay Tripped.
From electricalgang.com
Buchholz Relay in Transformers The Definitive Guide Why Buchholz Relay Tripped — to detect these phenomena, a buchholz relay is installed. The buchholz relay is installed at the middle of the connection pipe between. after detecting fault the buchholz relay provides tripping signal to the ht panel breaker. Major fault occurred in transformer tank and generating gas in. — buchholz relay defined: — the buchholz relay provides. Why Buchholz Relay Tripped.
From www.electricaldesks.com
Buchholz Relay Construction, Working, Advantages, Disadvantages Why Buchholz Relay Tripped A buchholz relay is a safety mechanism. after detecting fault the buchholz relay provides tripping signal to the ht panel breaker. — the buchholz relay provides two main functions: The buchholz relay is installed at the middle of the connection pipe between. — buchholz relay defined: — a relay that is used for the protection of. Why Buchholz Relay Tripped.
From savree.com
Transformer Buchholz Relay Explained saVRee saVRee Why Buchholz Relay Tripped — #buchholzrelay function checking#transformerprotection#industrialelectrical#electricalvideo#transformer#bolbulbul in this video you will. — buchholz relay defined: — the buchholz relay provides two main functions: — a relay that is used for the protection of the transformer from internal incipient fault is called the buchholz relay. The buchholz relay is installed at the middle of the connection pipe between. A. Why Buchholz Relay Tripped.
From electricalgang.com
Buchholz Relay in Transformers The Definitive Guide Why Buchholz Relay Tripped — about press copyright contact us creators advertise developers terms. A buchholz relay is a safety mechanism. Major fault occurred in transformer tank and generating gas in. — to detect these phenomena, a buchholz relay is installed. after detecting fault the buchholz relay provides tripping signal to the ht panel breaker. — the buchholz relay provides. Why Buchholz Relay Tripped.
From engineermind.in
Working and importance Of Buchholz Relay EngineerMind Why Buchholz Relay Tripped — a relay that is used for the protection of the transformer from internal incipient fault is called the buchholz relay. — the buchholz relay provides two main functions: The buchholz relay is installed at the middle of the connection pipe between. — #buchholzrelay function checking#transformerprotection#industrialelectrical#electricalvideo#transformer#bolbulbul in this video you will. — to detect these phenomena,. Why Buchholz Relay Tripped.
From www.vrogue.co
Working Of Buchholz Relay Explained With Animation Yo vrogue.co Why Buchholz Relay Tripped Major fault occurred in transformer tank and generating gas in. — about press copyright contact us creators advertise developers terms. The buchholz relay is installed at the middle of the connection pipe between. — buchholz relay defined: A buchholz relay is a safety mechanism. A buchholz relay is placed. after detecting fault the buchholz relay provides tripping. Why Buchholz Relay Tripped.
From www.engineeringa2z.com
Buchholz Relay Working Principle Engineeringa2z Why Buchholz Relay Tripped A buchholz relay is a safety mechanism. — buchholz relay defined: Major fault occurred in transformer tank and generating gas in. after detecting fault the buchholz relay provides tripping signal to the ht panel breaker. — #buchholzrelay function checking#transformerprotection#industrialelectrical#electricalvideo#transformer#bolbulbul in this video you will. — the buchholz relay provides two main functions: A buchholz relay is. Why Buchholz Relay Tripped.
From instrumentationtools.com
What is a Buchholz Relay? Working Principle Why Buchholz Relay Tripped — #buchholzrelay function checking#transformerprotection#industrialelectrical#electricalvideo#transformer#bolbulbul in this video you will. — to detect these phenomena, a buchholz relay is installed. — about press copyright contact us creators advertise developers terms. Major fault occurred in transformer tank and generating gas in. after detecting fault the buchholz relay provides tripping signal to the ht panel breaker. — a. Why Buchholz Relay Tripped.
From www.circuitdiagram.co
Schematic Diagram Of Buchholz Relays Why Buchholz Relay Tripped — to detect these phenomena, a buchholz relay is installed. — buchholz relay defined: — the buchholz relay provides two main functions: A buchholz relay is placed. Major fault occurred in transformer tank and generating gas in. — about press copyright contact us creators advertise developers terms. — a relay that is used for the. Why Buchholz Relay Tripped.
From electricaldesk.blogspot.com
Buchholz Relay Operation, Advantages & Disadvantages Electrical Desk Why Buchholz Relay Tripped — a relay that is used for the protection of the transformer from internal incipient fault is called the buchholz relay. — about press copyright contact us creators advertise developers terms. — buchholz relay defined: The buchholz relay is installed at the middle of the connection pipe between. after detecting fault the buchholz relay provides tripping. Why Buchholz Relay Tripped.
From electricalgang.com
Buchholz Relay in Transformers The Definitive Guide Why Buchholz Relay Tripped — the buchholz relay provides two main functions: — #buchholzrelay function checking#transformerprotection#industrialelectrical#electricalvideo#transformer#bolbulbul in this video you will. — a relay that is used for the protection of the transformer from internal incipient fault is called the buchholz relay. — buchholz relay defined: — about press copyright contact us creators advertise developers terms. — to. Why Buchholz Relay Tripped.
From www.vrogue.co
Buchholz Relaygas Actuated Relay In Transformers Cons vrogue.co Why Buchholz Relay Tripped — about press copyright contact us creators advertise developers terms. — #buchholzrelay function checking#transformerprotection#industrialelectrical#electricalvideo#transformer#bolbulbul in this video you will. — the buchholz relay provides two main functions: — a relay that is used for the protection of the transformer from internal incipient fault is called the buchholz relay. after detecting fault the buchholz relay provides. Why Buchholz Relay Tripped.
From electricalgang.com
Buchholz Relay in Transformers The Definitive Guide Why Buchholz Relay Tripped — a relay that is used for the protection of the transformer from internal incipient fault is called the buchholz relay. — to detect these phenomena, a buchholz relay is installed. — buchholz relay defined: — the buchholz relay provides two main functions: — about press copyright contact us creators advertise developers terms. —. Why Buchholz Relay Tripped.
From electricalbaba.com
Buchholz Relay Construction and Working Principle Electrical Concepts Why Buchholz Relay Tripped The buchholz relay is installed at the middle of the connection pipe between. — about press copyright contact us creators advertise developers terms. A buchholz relay is a safety mechanism. — to detect these phenomena, a buchholz relay is installed. — the buchholz relay provides two main functions: A buchholz relay is placed. — a relay. Why Buchholz Relay Tripped.
From owlcation.com
What Is a Buchholz Relay and How Does It Work? Owlcation Why Buchholz Relay Tripped Major fault occurred in transformer tank and generating gas in. — the buchholz relay provides two main functions: after detecting fault the buchholz relay provides tripping signal to the ht panel breaker. A buchholz relay is placed. A buchholz relay is a safety mechanism. The buchholz relay is installed at the middle of the connection pipe between. . Why Buchholz Relay Tripped.
From www.itztli.es
"¡Descubre cómo funciona el Relé Buchholz en pocos pasos!" Why Buchholz Relay Tripped — about press copyright contact us creators advertise developers terms. — a relay that is used for the protection of the transformer from internal incipient fault is called the buchholz relay. after detecting fault the buchholz relay provides tripping signal to the ht panel breaker. A buchholz relay is a safety mechanism. — #buchholzrelay function checking#transformerprotection#industrialelectrical#electricalvideo#transformer#bolbulbul. Why Buchholz Relay Tripped.
From www.electricaldesks.com
Electrical Desk All About Electrical Engineering Why Buchholz Relay Tripped — buchholz relay defined: — the buchholz relay provides two main functions: A buchholz relay is a safety mechanism. — to detect these phenomena, a buchholz relay is installed. Major fault occurred in transformer tank and generating gas in. The buchholz relay is installed at the middle of the connection pipe between. after detecting fault the. Why Buchholz Relay Tripped.
From www.electricalpaathshala.com
Buchholz relay Contruction and its operation Electrical Paathshala Why Buchholz Relay Tripped — the buchholz relay provides two main functions: — about press copyright contact us creators advertise developers terms. — #buchholzrelay function checking#transformerprotection#industrialelectrical#electricalvideo#transformer#bolbulbul in this video you will. A buchholz relay is placed. — a relay that is used for the protection of the transformer from internal incipient fault is called the buchholz relay. — to. Why Buchholz Relay Tripped.
From www.youtube.com
Buchholz Relay Tripping Circuit Test YouTube Why Buchholz Relay Tripped — to detect these phenomena, a buchholz relay is installed. — a relay that is used for the protection of the transformer from internal incipient fault is called the buchholz relay. — #buchholzrelay function checking#transformerprotection#industrialelectrical#electricalvideo#transformer#bolbulbul in this video you will. — about press copyright contact us creators advertise developers terms. A buchholz relay is placed. A. Why Buchholz Relay Tripped.