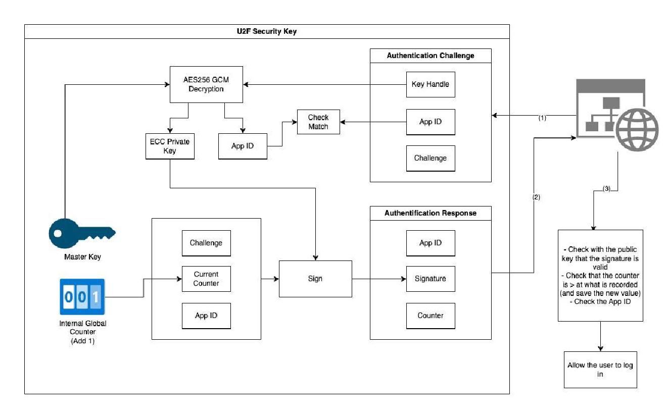
How Do Fido Security Keys Work . how do fido2 security keys even work? We’ll answer these and many other essential questions pertaining to this. by utilizing these techniques, fido2 activates a secret key stored securely on the user’s local device, such as a. by storing the private keys on the device and not on a server, fido prevents the keys to be breached through a single attack on the corporate network or cloud service, unlike password manager solutions like lastpass where a single security breach can expose millions of credentials. When a user wants to log in to a website, they insert the security key into their. how does fido2 work? With fido2, online users can enjoy a quick and secure login experience, largely unaware of. fido security keys use public key cryptography to authenticate users.
from www.identiv.com
fido security keys use public key cryptography to authenticate users. by storing the private keys on the device and not on a server, fido prevents the keys to be breached through a single attack on the corporate network or cloud service, unlike password manager solutions like lastpass where a single security breach can expose millions of credentials. by utilizing these techniques, fido2 activates a secret key stored securely on the user’s local device, such as a. When a user wants to log in to a website, they insert the security key into their. With fido2, online users can enjoy a quick and secure login experience, largely unaware of. how does fido2 work? We’ll answer these and many other essential questions pertaining to this. how do fido2 security keys even work?
Strong Authentication with FIDO Security Keys Identiv
How Do Fido Security Keys Work how do fido2 security keys even work? by storing the private keys on the device and not on a server, fido prevents the keys to be breached through a single attack on the corporate network or cloud service, unlike password manager solutions like lastpass where a single security breach can expose millions of credentials. With fido2, online users can enjoy a quick and secure login experience, largely unaware of. When a user wants to log in to a website, they insert the security key into their. how does fido2 work? by utilizing these techniques, fido2 activates a secret key stored securely on the user’s local device, such as a. fido security keys use public key cryptography to authenticate users. We’ll answer these and many other essential questions pertaining to this. how do fido2 security keys even work?
From deepnetsecurity.com
Security » FIDO Security Keys How Do Fido Security Keys Work We’ll answer these and many other essential questions pertaining to this. by storing the private keys on the device and not on a server, fido prevents the keys to be breached through a single attack on the corporate network or cloud service, unlike password manager solutions like lastpass where a single security breach can expose millions of credentials. . How Do Fido Security Keys Work.
From cleanerone.trendmicro.com
How to Use Security Keys to Protect Your Apple ID How Do Fido Security Keys Work how does fido2 work? fido security keys use public key cryptography to authenticate users. We’ll answer these and many other essential questions pertaining to this. by utilizing these techniques, fido2 activates a secret key stored securely on the user’s local device, such as a. When a user wants to log in to a website, they insert the. How Do Fido Security Keys Work.
From www.ixonae.com
TIL How FIDO U2F Security Keys Work How Do Fido Security Keys Work by storing the private keys on the device and not on a server, fido prevents the keys to be breached through a single attack on the corporate network or cloud service, unlike password manager solutions like lastpass where a single security breach can expose millions of credentials. fido security keys use public key cryptography to authenticate users. We’ll. How Do Fido Security Keys Work.
From www.identiv.com
Strong Authentication with FIDO Security Keys Identiv How Do Fido Security Keys Work fido security keys use public key cryptography to authenticate users. by utilizing these techniques, fido2 activates a secret key stored securely on the user’s local device, such as a. how do fido2 security keys even work? how does fido2 work? With fido2, online users can enjoy a quick and secure login experience, largely unaware of. We’ll. How Do Fido Security Keys Work.
From www.ixonae.com
TIL How FIDO U2F Security Keys Work How Do Fido Security Keys Work When a user wants to log in to a website, they insert the security key into their. how do fido2 security keys even work? With fido2, online users can enjoy a quick and secure login experience, largely unaware of. We’ll answer these and many other essential questions pertaining to this. fido security keys use public key cryptography to. How Do Fido Security Keys Work.
From www.youtube.com
FEITIAN Biometric FIDO Security Key YouTube How Do Fido Security Keys Work by utilizing these techniques, fido2 activates a secret key stored securely on the user’s local device, such as a. We’ll answer these and many other essential questions pertaining to this. by storing the private keys on the device and not on a server, fido prevents the keys to be breached through a single attack on the corporate network. How Do Fido Security Keys Work.
From www.identiv.com
Security Keys for Apple ID with Identiv uTrust FIDO2 Security Key How Do Fido Security Keys Work how does fido2 work? We’ll answer these and many other essential questions pertaining to this. by storing the private keys on the device and not on a server, fido prevents the keys to be breached through a single attack on the corporate network or cloud service, unlike password manager solutions like lastpass where a single security breach can. How Do Fido Security Keys Work.
From www.bio-key.com
FIDOkey Security Key BIOkey How Do Fido Security Keys Work We’ll answer these and many other essential questions pertaining to this. by storing the private keys on the device and not on a server, fido prevents the keys to be breached through a single attack on the corporate network or cloud service, unlike password manager solutions like lastpass where a single security breach can expose millions of credentials. . How Do Fido Security Keys Work.
From techdirectarchive.com
How to use a Fido Certified U2F Key for Authentication TechDirectArchive How Do Fido Security Keys Work We’ll answer these and many other essential questions pertaining to this. how does fido2 work? fido security keys use public key cryptography to authenticate users. by storing the private keys on the device and not on a server, fido prevents the keys to be breached through a single attack on the corporate network or cloud service, unlike. How Do Fido Security Keys Work.
From fidoalliance.org
FIDO Security Reference How Do Fido Security Keys Work how does fido2 work? how do fido2 security keys even work? When a user wants to log in to a website, they insert the security key into their. fido security keys use public key cryptography to authenticate users. We’ll answer these and many other essential questions pertaining to this. by storing the private keys on the. How Do Fido Security Keys Work.
From fido.ftsafe.com
FIDO Security Keys How Do Fido Security Keys Work fido security keys use public key cryptography to authenticate users. how do fido2 security keys even work? how does fido2 work? When a user wants to log in to a website, they insert the security key into their. by utilizing these techniques, fido2 activates a secret key stored securely on the user’s local device, such as. How Do Fido Security Keys Work.
From doubleoctopus.com
FIDO Authentication What Is It? Double Octopus How Do Fido Security Keys Work We’ll answer these and many other essential questions pertaining to this. how do fido2 security keys even work? by utilizing these techniques, fido2 activates a secret key stored securely on the user’s local device, such as a. fido security keys use public key cryptography to authenticate users. by storing the private keys on the device and. How Do Fido Security Keys Work.
From www.hanko.io
What are FIDO security keys and how to use them Hanko.io How Do Fido Security Keys Work by storing the private keys on the device and not on a server, fido prevents the keys to be breached through a single attack on the corporate network or cloud service, unlike password manager solutions like lastpass where a single security breach can expose millions of credentials. how does fido2 work? We’ll answer these and many other essential. How Do Fido Security Keys Work.
From www.ftsafe.com
FIDO Security Keys FEITIAN How Do Fido Security Keys Work When a user wants to log in to a website, they insert the security key into their. by storing the private keys on the device and not on a server, fido prevents the keys to be breached through a single attack on the corporate network or cloud service, unlike password manager solutions like lastpass where a single security breach. How Do Fido Security Keys Work.
From www.xda-developers.com
Here's how FIDO security keys will keep your Apple ID secure How Do Fido Security Keys Work When a user wants to log in to a website, they insert the security key into their. how do fido2 security keys even work? fido security keys use public key cryptography to authenticate users. We’ll answer these and many other essential questions pertaining to this. how does fido2 work? by storing the private keys on the. How Do Fido Security Keys Work.
From trustsec.net
FIDO2 Token TrustSEC How Do Fido Security Keys Work by storing the private keys on the device and not on a server, fido prevents the keys to be breached through a single attack on the corporate network or cloud service, unlike password manager solutions like lastpass where a single security breach can expose millions of credentials. fido security keys use public key cryptography to authenticate users. When. How Do Fido Security Keys Work.
From www.efani.com
The FIDO Security Key Unlocking the Benefits of Apple ID Protection How Do Fido Security Keys Work When a user wants to log in to a website, they insert the security key into their. by storing the private keys on the device and not on a server, fido prevents the keys to be breached through a single attack on the corporate network or cloud service, unlike password manager solutions like lastpass where a single security breach. How Do Fido Security Keys Work.
From www.digit.in
iOS 16.3 released with FIDO security keys for Apple ID Here's how it How Do Fido Security Keys Work how do fido2 security keys even work? by utilizing these techniques, fido2 activates a secret key stored securely on the user’s local device, such as a. how does fido2 work? With fido2, online users can enjoy a quick and secure login experience, largely unaware of. We’ll answer these and many other essential questions pertaining to this. When. How Do Fido Security Keys Work.
From www.deepnetsecurity.com
» FIDO U2F Security Keys How Do Fido Security Keys Work When a user wants to log in to a website, they insert the security key into their. We’ll answer these and many other essential questions pertaining to this. by utilizing these techniques, fido2 activates a secret key stored securely on the user’s local device, such as a. With fido2, online users can enjoy a quick and secure login experience,. How Do Fido Security Keys Work.
From shop.ftsafe.us
FEITIAN How FIDO U2F Security Keys Work for Users FEITIAN How Do Fido Security Keys Work how do fido2 security keys even work? fido security keys use public key cryptography to authenticate users. With fido2, online users can enjoy a quick and secure login experience, largely unaware of. When a user wants to log in to a website, they insert the security key into their. We’ll answer these and many other essential questions pertaining. How Do Fido Security Keys Work.
From www.youtube.com
FIDO U2F Yubico Security Key Review 2FA USB Security Key YouTube How Do Fido Security Keys Work When a user wants to log in to a website, they insert the security key into their. fido security keys use public key cryptography to authenticate users. how does fido2 work? We’ll answer these and many other essential questions pertaining to this. by utilizing these techniques, fido2 activates a secret key stored securely on the user’s local. How Do Fido Security Keys Work.
From www.hypr.com
FIDO Authentication Standards Guide to FIDO Authentication How Do Fido Security Keys Work When a user wants to log in to a website, they insert the security key into their. how does fido2 work? how do fido2 security keys even work? fido security keys use public key cryptography to authenticate users. With fido2, online users can enjoy a quick and secure login experience, largely unaware of. We’ll answer these and. How Do Fido Security Keys Work.
From www.ubuy.com.bd
Yubico FIDO Security Key USB & NFC, Two Factor Authentication, FIDO How Do Fido Security Keys Work by storing the private keys on the device and not on a server, fido prevents the keys to be breached through a single attack on the corporate network or cloud service, unlike password manager solutions like lastpass where a single security breach can expose millions of credentials. by utilizing these techniques, fido2 activates a secret key stored securely. How Do Fido Security Keys Work.
From fedoramagazine.org
Use FIDO U2F security keys with Fedora Linux Fedora Magazine How Do Fido Security Keys Work When a user wants to log in to a website, they insert the security key into their. We’ll answer these and many other essential questions pertaining to this. by storing the private keys on the device and not on a server, fido prevents the keys to be breached through a single attack on the corporate network or cloud service,. How Do Fido Security Keys Work.
From www.ixonae.com
TIL How FIDO U2F Security Keys Work How Do Fido Security Keys Work how does fido2 work? by storing the private keys on the device and not on a server, fido prevents the keys to be breached through a single attack on the corporate network or cloud service, unlike password manager solutions like lastpass where a single security breach can expose millions of credentials. We’ll answer these and many other essential. How Do Fido Security Keys Work.
From www.key-id.com
FIDO security keys overview KEYID Security Online How Do Fido Security Keys Work by utilizing these techniques, fido2 activates a secret key stored securely on the user’s local device, such as a. We’ll answer these and many other essential questions pertaining to this. by storing the private keys on the device and not on a server, fido prevents the keys to be breached through a single attack on the corporate network. How Do Fido Security Keys Work.
From support.nhs.net
Introduction to FIDO2 NHSmail Support How Do Fido Security Keys Work by storing the private keys on the device and not on a server, fido prevents the keys to be breached through a single attack on the corporate network or cloud service, unlike password manager solutions like lastpass where a single security breach can expose millions of credentials. how does fido2 work? With fido2, online users can enjoy a. How Do Fido Security Keys Work.
From identifysystems.com
FIDO Security Keys Identify Systems How Do Fido Security Keys Work by storing the private keys on the device and not on a server, fido prevents the keys to be breached through a single attack on the corporate network or cloud service, unlike password manager solutions like lastpass where a single security breach can expose millions of credentials. With fido2, online users can enjoy a quick and secure login experience,. How Do Fido Security Keys Work.
From www.pingidentity.com
Source How Do Fido Security Keys Work We’ll answer these and many other essential questions pertaining to this. by storing the private keys on the device and not on a server, fido prevents the keys to be breached through a single attack on the corporate network or cloud service, unlike password manager solutions like lastpass where a single security breach can expose millions of credentials. . How Do Fido Security Keys Work.
From flybrown970.weebly.com
How Do I Generate A Fido Security Key flybrown How Do Fido Security Keys Work how do fido2 security keys even work? fido security keys use public key cryptography to authenticate users. by utilizing these techniques, fido2 activates a secret key stored securely on the user’s local device, such as a. We’ll answer these and many other essential questions pertaining to this. When a user wants to log in to a website,. How Do Fido Security Keys Work.
From shop.ftsafe.us
FEITIAN Benefits of Using FIDO U2F Security Keys FEITIAN How Do Fido Security Keys Work When a user wants to log in to a website, they insert the security key into their. by storing the private keys on the device and not on a server, fido prevents the keys to be breached through a single attack on the corporate network or cloud service, unlike password manager solutions like lastpass where a single security breach. How Do Fido Security Keys Work.
From www.kelvinpapp.com
What is FIDO2 and why should you care? Cloud Insights How Do Fido Security Keys Work When a user wants to log in to a website, they insert the security key into their. by storing the private keys on the device and not on a server, fido prevents the keys to be breached through a single attack on the corporate network or cloud service, unlike password manager solutions like lastpass where a single security breach. How Do Fido Security Keys Work.
From www.pricepulse.app
Yubico FIDO Security Key NFC Two Factor Authentication USB and NFC How Do Fido Security Keys Work We’ll answer these and many other essential questions pertaining to this. fido security keys use public key cryptography to authenticate users. With fido2, online users can enjoy a quick and secure login experience, largely unaware of. When a user wants to log in to a website, they insert the security key into their. by storing the private keys. How Do Fido Security Keys Work.
From fido.ftsafe.com
FIDO Security Keys How Do Fido Security Keys Work how does fido2 work? by storing the private keys on the device and not on a server, fido prevents the keys to be breached through a single attack on the corporate network or cloud service, unlike password manager solutions like lastpass where a single security breach can expose millions of credentials. by utilizing these techniques, fido2 activates. How Do Fido Security Keys Work.
From xms.hhs.gov
How to Remove a FIDO Security Key How Do Fido Security Keys Work how do fido2 security keys even work? how does fido2 work? by storing the private keys on the device and not on a server, fido prevents the keys to be breached through a single attack on the corporate network or cloud service, unlike password manager solutions like lastpass where a single security breach can expose millions of. How Do Fido Security Keys Work.