Hank Haney Driving Range . hank haney 30 seconds to better golf: 4000 windsor dr, flower mound, tx, 75028. 4101 s custer rd. hank haney golf the ranch at park lane is a golf practice facility and driving range located in dallas, dallas county, texas. hank haney golf ranch at vista ridge in lewisville, texas: Follow hank haney golf ranch. We proved it with 60. hide advanced searchshow advanced search. Details, stats, scorecard, photos, reviews
from www.alamy.com
4000 windsor dr, flower mound, tx, 75028. hide advanced searchshow advanced search. Details, stats, scorecard, photos, reviews hank haney golf ranch at vista ridge in lewisville, texas: hank haney golf the ranch at park lane is a golf practice facility and driving range located in dallas, dallas county, texas. hank haney 30 seconds to better golf: We proved it with 60. 4101 s custer rd. Follow hank haney golf ranch.
Hank kuehne on driving range hires stock photography and images Alamy
Hank Haney Driving Range hank haney 30 seconds to better golf: hank haney golf ranch at vista ridge in lewisville, texas: Follow hank haney golf ranch. hide advanced searchshow advanced search. 4101 s custer rd. hank haney 30 seconds to better golf: We proved it with 60. 4000 windsor dr, flower mound, tx, 75028. Details, stats, scorecard, photos, reviews hank haney golf the ranch at park lane is a golf practice facility and driving range located in dallas, dallas county, texas.
From www.golfchannel.com
Hank Haney driving distance tips Golf Channel Hank Haney Driving Range Details, stats, scorecard, photos, reviews hide advanced searchshow advanced search. Follow hank haney golf ranch. 4101 s custer rd. hank haney golf the ranch at park lane is a golf practice facility and driving range located in dallas, dallas county, texas. hank haney golf ranch at vista ridge in lewisville, texas: 4000 windsor dr, flower mound,. Hank Haney Driving Range.
From www.hankhaney.com
Homepage Hank HaneyHank Haney Golf Hank Haney Driving Range hank haney golf ranch at vista ridge in lewisville, texas: hank haney golf the ranch at park lane is a golf practice facility and driving range located in dallas, dallas county, texas. Details, stats, scorecard, photos, reviews hank haney 30 seconds to better golf: Follow hank haney golf ranch. hide advanced searchshow advanced search. We proved. Hank Haney Driving Range.
From www.alamy.com
Hank kuehne on driving range hires stock photography and images Alamy Hank Haney Driving Range hank haney golf the ranch at park lane is a golf practice facility and driving range located in dallas, dallas county, texas. hank haney 30 seconds to better golf: hide advanced searchshow advanced search. 4000 windsor dr, flower mound, tx, 75028. hank haney golf ranch at vista ridge in lewisville, texas: 4101 s custer rd.. Hank Haney Driving Range.
From www.golfdigest.com
Hank Haney One Move to Better Impact Instruction Golf Digest Hank Haney Driving Range 4101 s custer rd. hank haney golf the ranch at park lane is a golf practice facility and driving range located in dallas, dallas county, texas. 4000 windsor dr, flower mound, tx, 75028. hide advanced searchshow advanced search. We proved it with 60. Follow hank haney golf ranch. hank haney golf ranch at vista ridge in. Hank Haney Driving Range.
From www.youtube.com
Hank Haney Driver Tip Fix Your Slice YouTube Hank Haney Driving Range hank haney 30 seconds to better golf: hank haney golf the ranch at park lane is a golf practice facility and driving range located in dallas, dallas county, texas. 4000 windsor dr, flower mound, tx, 75028. 4101 s custer rd. We proved it with 60. hide advanced searchshow advanced search. hank haney golf ranch at. Hank Haney Driving Range.
From www.golfdigest.com
Hank Haney 4 Obsolete Shots, and What to Play Today Instruction Hank Haney Driving Range hide advanced searchshow advanced search. hank haney golf ranch at vista ridge in lewisville, texas: Follow hank haney golf ranch. Details, stats, scorecard, photos, reviews We proved it with 60. hank haney 30 seconds to better golf: 4101 s custer rd. hank haney golf the ranch at park lane is a golf practice facility and. Hank Haney Driving Range.
From www.golfdigest.com
Hank Haney How To Hit Your Hybrid How To Golf Digest Hank Haney Driving Range hank haney golf the ranch at park lane is a golf practice facility and driving range located in dallas, dallas county, texas. We proved it with 60. hank haney 30 seconds to better golf: 4101 s custer rd. 4000 windsor dr, flower mound, tx, 75028. Follow hank haney golf ranch. hide advanced searchshow advanced search. . Hank Haney Driving Range.
From www.hankhaney.com
Homepage Hank HaneyHank Haney Golf Hank Haney Driving Range hank haney 30 seconds to better golf: Follow hank haney golf ranch. Details, stats, scorecard, photos, reviews hank haney golf ranch at vista ridge in lewisville, texas: 4101 s custer rd. We proved it with 60. hide advanced searchshow advanced search. 4000 windsor dr, flower mound, tx, 75028. hank haney golf the ranch at park. Hank Haney Driving Range.
From course.bluegolf.com
Hank Haney at Vista Ridge Course Profile Course Database Hank Haney Driving Range 4000 windsor dr, flower mound, tx, 75028. hide advanced searchshow advanced search. hank haney golf the ranch at park lane is a golf practice facility and driving range located in dallas, dallas county, texas. Follow hank haney golf ranch. Details, stats, scorecard, photos, reviews hank haney golf ranch at vista ridge in lewisville, texas: hank haney. Hank Haney Driving Range.
From www.youtube.com
Elite Athletes Put Their Long Drive Skills to the Test Ft. Hank Haney Hank Haney Driving Range hank haney golf the ranch at park lane is a golf practice facility and driving range located in dallas, dallas county, texas. 4000 windsor dr, flower mound, tx, 75028. hide advanced searchshow advanced search. 4101 s custer rd. We proved it with 60. Follow hank haney golf ranch. hank haney golf ranch at vista ridge in. Hank Haney Driving Range.
From www.youtube.com
Hank Haney Instruction Maximize Distance With Your Irons YouTube Hank Haney Driving Range 4000 windsor dr, flower mound, tx, 75028. 4101 s custer rd. hank haney 30 seconds to better golf: We proved it with 60. Details, stats, scorecard, photos, reviews hank haney golf the ranch at park lane is a golf practice facility and driving range located in dallas, dallas county, texas. Follow hank haney golf ranch. hank. Hank Haney Driving Range.
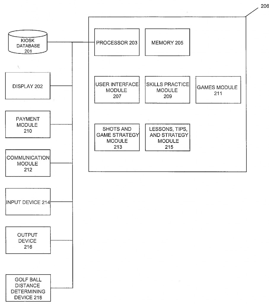
From golf-patents.com
Watch Out Hank Haney! Are Driving Range Kiosks the Future of Golf Hank Haney Driving Range We proved it with 60. hide advanced searchshow advanced search. Details, stats, scorecard, photos, reviews hank haney golf the ranch at park lane is a golf practice facility and driving range located in dallas, dallas county, texas. hank haney golf ranch at vista ridge in lewisville, texas: hank haney 30 seconds to better golf: 4101. Hank Haney Driving Range.
From americangolfer.blogspot.com
American Golfer Hank Haney Reveals Tour Distance Secrets in New Golf Hank Haney Driving Range We proved it with 60. Details, stats, scorecard, photos, reviews Follow hank haney golf ranch. 4101 s custer rd. hank haney golf the ranch at park lane is a golf practice facility and driving range located in dallas, dallas county, texas. hank haney golf ranch at vista ridge in lewisville, texas: hank haney 30 seconds to. Hank Haney Driving Range.
From www.performancegolf.com
How Pro Coach Hank Haney Can Help YOU Improve Your Golf Swing Hank Haney Driving Range Details, stats, scorecard, photos, reviews 4000 windsor dr, flower mound, tx, 75028. Follow hank haney golf ranch. 4101 s custer rd. hank haney golf the ranch at park lane is a golf practice facility and driving range located in dallas, dallas county, texas. hide advanced searchshow advanced search. hank haney golf ranch at vista ridge in. Hank Haney Driving Range.
From www.youtube.com
Hank Haney Pro Distance Drill YouTube Hank Haney Driving Range hank haney 30 seconds to better golf: hank haney golf ranch at vista ridge in lewisville, texas: Follow hank haney golf ranch. 4101 s custer rd. 4000 windsor dr, flower mound, tx, 75028. hide advanced searchshow advanced search. hank haney golf the ranch at park lane is a golf practice facility and driving range located. Hank Haney Driving Range.
From www.australiangolfdigest.com.au
Hank Haney Making a Tourquality Divot Australian Golf Digest Hank Haney Driving Range 4000 windsor dr, flower mound, tx, 75028. hank haney 30 seconds to better golf: hank haney golf the ranch at park lane is a golf practice facility and driving range located in dallas, dallas county, texas. Details, stats, scorecard, photos, reviews We proved it with 60. hide advanced searchshow advanced search. 4101 s custer rd. . Hank Haney Driving Range.
From traveldreamsmagazine.com
Hank Haney Reveals Tour Distance Secrets in New Golf Training Course Hank Haney Driving Range hide advanced searchshow advanced search. 4101 s custer rd. Follow hank haney golf ranch. hank haney golf ranch at vista ridge in lewisville, texas: 4000 windsor dr, flower mound, tx, 75028. hank haney golf the ranch at park lane is a golf practice facility and driving range located in dallas, dallas county, texas. Details, stats, scorecard,. Hank Haney Driving Range.
From www.ispot.tv
Swing Magic TV Commercial, 'Gain Distance' Featuring Hank Haney iSpot.tv Hank Haney Driving Range hank haney golf ranch at vista ridge in lewisville, texas: 4000 windsor dr, flower mound, tx, 75028. Details, stats, scorecard, photos, reviews We proved it with 60. Follow hank haney golf ranch. hank haney golf the ranch at park lane is a golf practice facility and driving range located in dallas, dallas county, texas. hide advanced searchshow. Hank Haney Driving Range.
From www.proventuresgroup.com
Proventures Equus Perfect Drive with Hank Haney Hank Haney Driving Range 4000 windsor dr, flower mound, tx, 75028. We proved it with 60. Details, stats, scorecard, photos, reviews 4101 s custer rd. hank haney golf ranch at vista ridge in lewisville, texas: hank haney 30 seconds to better golf: hide advanced searchshow advanced search. Follow hank haney golf ranch. hank haney golf the ranch at park. Hank Haney Driving Range.
From www.youtube.com
Action at Edgewood on range with Herm Edwards and Hank Haney YouTube Hank Haney Driving Range 4101 s custer rd. We proved it with 60. 4000 windsor dr, flower mound, tx, 75028. hank haney golf ranch at vista ridge in lewisville, texas: Follow hank haney golf ranch. hank haney golf the ranch at park lane is a golf practice facility and driving range located in dallas, dallas county, texas. hank haney 30. Hank Haney Driving Range.
From www.golfdigest.com
Hank Haney Simple Solid Strikes Instruction Golf Digest Hank Haney Driving Range hide advanced searchshow advanced search. hank haney golf ranch at vista ridge in lewisville, texas: 4101 s custer rd. 4000 windsor dr, flower mound, tx, 75028. hank haney 30 seconds to better golf: Follow hank haney golf ranch. We proved it with 60. Details, stats, scorecard, photos, reviews hank haney golf the ranch at park. Hank Haney Driving Range.
From www.alamy.com
NO FILM, NO VIDEO, NO TV, NO DOCUMENTARY USA's Tiger Woods embraced Hank Haney Driving Range Follow hank haney golf ranch. 4000 windsor dr, flower mound, tx, 75028. 4101 s custer rd. We proved it with 60. hank haney golf the ranch at park lane is a golf practice facility and driving range located in dallas, dallas county, texas. Details, stats, scorecard, photos, reviews hank haney golf ranch at vista ridge in lewisville,. Hank Haney Driving Range.
From www.golfdigest.com
Hank Haney Best Way To Read Putts How To Golf Digest Hank Haney Driving Range We proved it with 60. Details, stats, scorecard, photos, reviews hank haney golf the ranch at park lane is a golf practice facility and driving range located in dallas, dallas county, texas. hide advanced searchshow advanced search. 4101 s custer rd. 4000 windsor dr, flower mound, tx, 75028. hank haney golf ranch at vista ridge in. Hank Haney Driving Range.
From www.youtube.com
Hank Haney on How To Hit a Fade With Control on Your Drive Golf Tips Hank Haney Driving Range Details, stats, scorecard, photos, reviews 4000 windsor dr, flower mound, tx, 75028. We proved it with 60. hank haney golf ranch at vista ridge in lewisville, texas: Follow hank haney golf ranch. hank haney golf the ranch at park lane is a golf practice facility and driving range located in dallas, dallas county, texas. hank haney 30. Hank Haney Driving Range.
From www.golfmagic.com
WATCH Hank Haney fixes your slice GolfMagic Hank Haney Driving Range hank haney golf the ranch at park lane is a golf practice facility and driving range located in dallas, dallas county, texas. 4101 s custer rd. hank haney golf ranch at vista ridge in lewisville, texas: hank haney 30 seconds to better golf: We proved it with 60. 4000 windsor dr, flower mound, tx, 75028. Details,. Hank Haney Driving Range.
From www.alamy.com
TaylorMade Golf constructed a driving range in the heart of New York's Hank Haney Driving Range 4101 s custer rd. hank haney 30 seconds to better golf: Follow hank haney golf ranch. hide advanced searchshow advanced search. 4000 windsor dr, flower mound, tx, 75028. We proved it with 60. hank haney golf the ranch at park lane is a golf practice facility and driving range located in dallas, dallas county, texas. Details,. Hank Haney Driving Range.
From www.alamy.com
TaylorMade Golf constructed a driving range in the heart of New York's Hank Haney Driving Range 4101 s custer rd. 4000 windsor dr, flower mound, tx, 75028. hank haney golf ranch at vista ridge in lewisville, texas: Details, stats, scorecard, photos, reviews hank haney 30 seconds to better golf: We proved it with 60. hank haney golf the ranch at park lane is a golf practice facility and driving range located in. Hank Haney Driving Range.
From www.australiangolfdigest.com.au
Hank Haney Save 5 Shots Australian Golf Digest Hank Haney Driving Range hank haney golf the ranch at park lane is a golf practice facility and driving range located in dallas, dallas county, texas. Details, stats, scorecard, photos, reviews hank haney 30 seconds to better golf: hide advanced searchshow advanced search. 4101 s custer rd. 4000 windsor dr, flower mound, tx, 75028. hank haney golf ranch at. Hank Haney Driving Range.
From www.golfdigest.com
Hank Haney 4 Obsolete Shots, and What to Play Today How To Golf Digest Hank Haney Driving Range 4101 s custer rd. Details, stats, scorecard, photos, reviews hide advanced searchshow advanced search. We proved it with 60. Follow hank haney golf ranch. hank haney golf ranch at vista ridge in lewisville, texas: hank haney 30 seconds to better golf: 4000 windsor dr, flower mound, tx, 75028. hank haney golf the ranch at park. Hank Haney Driving Range.
From www.golfdigest.com
Hank Haney When you should putt and when you should chip from off the Hank Haney Driving Range Follow hank haney golf ranch. hide advanced searchshow advanced search. We proved it with 60. 4000 windsor dr, flower mound, tx, 75028. hank haney 30 seconds to better golf: 4101 s custer rd. hank haney golf ranch at vista ridge in lewisville, texas: hank haney golf the ranch at park lane is a golf practice. Hank Haney Driving Range.
From golfstayandplays.com
Hank Haney Golf Ranch at Vista Ridge GOLF STAY AND PLAYS Hank Haney Driving Range We proved it with 60. hank haney golf the ranch at park lane is a golf practice facility and driving range located in dallas, dallas county, texas. hank haney 30 seconds to better golf: 4000 windsor dr, flower mound, tx, 75028. 4101 s custer rd. hank haney golf ranch at vista ridge in lewisville, texas: Follow. Hank Haney Driving Range.
From course.bluegolf.com
Hank Haney at Vista Ridge Course Profile Course Database Hank Haney Driving Range hide advanced searchshow advanced search. 4101 s custer rd. We proved it with 60. Details, stats, scorecard, photos, reviews hank haney 30 seconds to better golf: 4000 windsor dr, flower mound, tx, 75028. hank haney golf the ranch at park lane is a golf practice facility and driving range located in dallas, dallas county, texas. Follow. Hank Haney Driving Range.
From www.australiangolfdigest.com.au
Hank Haney Sharpen Your Aim Australian Golf Digest Hank Haney Driving Range hank haney golf ranch at vista ridge in lewisville, texas: 4000 windsor dr, flower mound, tx, 75028. Follow hank haney golf ranch. 4101 s custer rd. hide advanced searchshow advanced search. hank haney 30 seconds to better golf: We proved it with 60. hank haney golf the ranch at park lane is a golf practice. Hank Haney Driving Range.
From www.alamy.com
Hank kuehne on driving range hires stock photography and images Alamy Hank Haney Driving Range 4101 s custer rd. Details, stats, scorecard, photos, reviews Follow hank haney golf ranch. We proved it with 60. hide advanced searchshow advanced search. hank haney 30 seconds to better golf: hank haney golf the ranch at park lane is a golf practice facility and driving range located in dallas, dallas county, texas. 4000 windsor dr,. Hank Haney Driving Range.
From golf-patents.com
Watch Out Hank Haney! Are Driving Range Kiosks the Future of Golf Hank Haney Driving Range hank haney 30 seconds to better golf: Follow hank haney golf ranch. hank haney golf ranch at vista ridge in lewisville, texas: hank haney golf the ranch at park lane is a golf practice facility and driving range located in dallas, dallas county, texas. Details, stats, scorecard, photos, reviews 4000 windsor dr, flower mound, tx, 75028. We. Hank Haney Driving Range.