How Do Roller Machine Work . A joint roller is a small device that helps you roll a uniform joint, since it distributes the cannabis evenly in a rolling paper. Plate roll machines consist of rollers that roll and bend the metal sheets. Joint rollers are made from metal or plastic and have a. All machines use cigarette tubes and operate in a similar way, which is to inject the tobacco into the tube. They work by pinching the flat sheet between two vertically opposed rolls while the third, offset roll—or bending roll—moves upward. How do rolling machines work? A plate rolling machine is a machine that will roll different kinds of sheet metal into a round or conical shape. It can be also called a “roll. Some machines have three rollers, while more advanced ones have. The end goal is to have a nicely packed. One of the (many) benefits of using a rolling machine is that it makes it simpler for you to consistently roll a perfect cigarette or joint.
from www.dreamstime.com
A joint roller is a small device that helps you roll a uniform joint, since it distributes the cannabis evenly in a rolling paper. It can be also called a “roll. A plate rolling machine is a machine that will roll different kinds of sheet metal into a round or conical shape. All machines use cigarette tubes and operate in a similar way, which is to inject the tobacco into the tube. One of the (many) benefits of using a rolling machine is that it makes it simpler for you to consistently roll a perfect cigarette or joint. Plate roll machines consist of rollers that roll and bend the metal sheets. How do rolling machines work? Some machines have three rollers, while more advanced ones have. The end goal is to have a nicely packed. Joint rollers are made from metal or plastic and have a.
Pneumatic Tire Roller Machine at Work Stock Image Image of pressure, finisher 118238559
How Do Roller Machine Work A plate rolling machine is a machine that will roll different kinds of sheet metal into a round or conical shape. The end goal is to have a nicely packed. One of the (many) benefits of using a rolling machine is that it makes it simpler for you to consistently roll a perfect cigarette or joint. It can be also called a “roll. Plate roll machines consist of rollers that roll and bend the metal sheets. How do rolling machines work? A plate rolling machine is a machine that will roll different kinds of sheet metal into a round or conical shape. Joint rollers are made from metal or plastic and have a. They work by pinching the flat sheet between two vertically opposed rolls while the third, offset roll—or bending roll—moves upward. All machines use cigarette tubes and operate in a similar way, which is to inject the tobacco into the tube. Some machines have three rollers, while more advanced ones have. A joint roller is a small device that helps you roll a uniform joint, since it distributes the cannabis evenly in a rolling paper.
From www.dreamstime.com
Roller Machine Working on the Asphalt Road Construction. Stock Image Image of bitumen, road How Do Roller Machine Work It can be also called a “roll. A joint roller is a small device that helps you roll a uniform joint, since it distributes the cannabis evenly in a rolling paper. How do rolling machines work? Some machines have three rollers, while more advanced ones have. Plate roll machines consist of rollers that roll and bend the metal sheets. One. How Do Roller Machine Work.
From www.bigrentz.com
6 Types of Rollers Commonly Used in Construction Projects BigRentz How Do Roller Machine Work It can be also called a “roll. A joint roller is a small device that helps you roll a uniform joint, since it distributes the cannabis evenly in a rolling paper. How do rolling machines work? Joint rollers are made from metal or plastic and have a. Some machines have three rollers, while more advanced ones have. One of the. How Do Roller Machine Work.
From www.youtube.com
JCB Backhoe Machine, Roller and Grader Working For Road Construction Widening and Leveling How Do Roller Machine Work They work by pinching the flat sheet between two vertically opposed rolls while the third, offset roll—or bending roll—moves upward. It can be also called a “roll. All machines use cigarette tubes and operate in a similar way, which is to inject the tobacco into the tube. A plate rolling machine is a machine that will roll different kinds of. How Do Roller Machine Work.
From www.alamy.com
Road roller machine and pavement spreader machine works Stock Photo Alamy How Do Roller Machine Work A joint roller is a small device that helps you roll a uniform joint, since it distributes the cannabis evenly in a rolling paper. They work by pinching the flat sheet between two vertically opposed rolls while the third, offset roll—or bending roll—moves upward. The end goal is to have a nicely packed. One of the (many) benefits of using. How Do Roller Machine Work.
From www.grainger.com
HILMAN ROLLERS Machine Roller Kit, 120,000 lb Load Capacity 3VH83KRS60SLP Grainger How Do Roller Machine Work A plate rolling machine is a machine that will roll different kinds of sheet metal into a round or conical shape. One of the (many) benefits of using a rolling machine is that it makes it simpler for you to consistently roll a perfect cigarette or joint. Plate roll machines consist of rollers that roll and bend the metal sheets.. How Do Roller Machine Work.
From www.dreamstime.com
Road Roller Machine Works Asphalt Road Construction Editorial Photography Image of steam How Do Roller Machine Work A plate rolling machine is a machine that will roll different kinds of sheet metal into a round or conical shape. It can be also called a “roll. They work by pinching the flat sheet between two vertically opposed rolls while the third, offset roll—or bending roll—moves upward. One of the (many) benefits of using a rolling machine is that. How Do Roller Machine Work.
From www.youtube.com
Pipe bending machine 3 roller YouTube How Do Roller Machine Work All machines use cigarette tubes and operate in a similar way, which is to inject the tobacco into the tube. Plate roll machines consist of rollers that roll and bend the metal sheets. A plate rolling machine is a machine that will roll different kinds of sheet metal into a round or conical shape. Joint rollers are made from metal. How Do Roller Machine Work.
From www.vecteezy.com
Hand drawn color children construction set of road roller machine 16645647 Vector Art at Vecteezy How Do Roller Machine Work The end goal is to have a nicely packed. Joint rollers are made from metal or plastic and have a. A joint roller is a small device that helps you roll a uniform joint, since it distributes the cannabis evenly in a rolling paper. Plate roll machines consist of rollers that roll and bend the metal sheets. A plate rolling. How Do Roller Machine Work.
From chinasmartcnc.com
CNC Four Roller Plate Rolling Machine Service for Komatsu manufacturing Bucket How Do Roller Machine Work One of the (many) benefits of using a rolling machine is that it makes it simpler for you to consistently roll a perfect cigarette or joint. How do rolling machines work? All machines use cigarette tubes and operate in a similar way, which is to inject the tobacco into the tube. Joint rollers are made from metal or plastic and. How Do Roller Machine Work.
From www.youtube.com
Asphalt paving Tarmac laying and roller machines Road works YouTube How Do Roller Machine Work The end goal is to have a nicely packed. Plate roll machines consist of rollers that roll and bend the metal sheets. It can be also called a “roll. How do rolling machines work? One of the (many) benefits of using a rolling machine is that it makes it simpler for you to consistently roll a perfect cigarette or joint.. How Do Roller Machine Work.
From cartoondealer.com
Roller Machine Working On The Asphalt Road Construction. RoyaltyFree Stock Image How Do Roller Machine Work A joint roller is a small device that helps you roll a uniform joint, since it distributes the cannabis evenly in a rolling paper. A plate rolling machine is a machine that will roll different kinds of sheet metal into a round or conical shape. How do rolling machines work? Joint rollers are made from metal or plastic and have. How Do Roller Machine Work.
From www.youtube.com
How About the Roller Printing Machine For Different Materials Requirement YouTube How Do Roller Machine Work One of the (many) benefits of using a rolling machine is that it makes it simpler for you to consistently roll a perfect cigarette or joint. A joint roller is a small device that helps you roll a uniform joint, since it distributes the cannabis evenly in a rolling paper. It can be also called a “roll. A plate rolling. How Do Roller Machine Work.
From engineeringlearn.com
Plate Rolling Machine Definition, Types, Parts, Working Principle & Advantages How Do Roller Machine Work Some machines have three rollers, while more advanced ones have. How do rolling machines work? A joint roller is a small device that helps you roll a uniform joint, since it distributes the cannabis evenly in a rolling paper. All machines use cigarette tubes and operate in a similar way, which is to inject the tobacco into the tube. The. How Do Roller Machine Work.
From www.dreamstime.com
Roller Machine Working on the Asphalt Road Construction. Stock Photo Image of work, asphalt How Do Roller Machine Work They work by pinching the flat sheet between two vertically opposed rolls while the third, offset roll—or bending roll—moves upward. Joint rollers are made from metal or plastic and have a. All machines use cigarette tubes and operate in a similar way, which is to inject the tobacco into the tube. The end goal is to have a nicely packed.. How Do Roller Machine Work.
From www.mdpi.com
Materials Free FullText A Study on the Pressure Mechanism Improvement of a RollerType How Do Roller Machine Work Some machines have three rollers, while more advanced ones have. All machines use cigarette tubes and operate in a similar way, which is to inject the tobacco into the tube. Joint rollers are made from metal or plastic and have a. A plate rolling machine is a machine that will roll different kinds of sheet metal into a round or. How Do Roller Machine Work.
From www.mdpi.com
Materials Free FullText A Study on the Pressure Mechanism Improvement of a RollerType How Do Roller Machine Work All machines use cigarette tubes and operate in a similar way, which is to inject the tobacco into the tube. The end goal is to have a nicely packed. One of the (many) benefits of using a rolling machine is that it makes it simpler for you to consistently roll a perfect cigarette or joint. Joint rollers are made from. How Do Roller Machine Work.
From www.dreamstime.com
Pneumatic Tire Roller Machine at Work Stock Image Image of pressure, finisher 118238559 How Do Roller Machine Work One of the (many) benefits of using a rolling machine is that it makes it simpler for you to consistently roll a perfect cigarette or joint. A joint roller is a small device that helps you roll a uniform joint, since it distributes the cannabis evenly in a rolling paper. How do rolling machines work? The end goal is to. How Do Roller Machine Work.
From www.mdpi.com
Materials Free FullText A Study on the Pressure Mechanism Improvement of a RollerType How Do Roller Machine Work Plate roll machines consist of rollers that roll and bend the metal sheets. All machines use cigarette tubes and operate in a similar way, which is to inject the tobacco into the tube. The end goal is to have a nicely packed. A joint roller is a small device that helps you roll a uniform joint, since it distributes the. How Do Roller Machine Work.
From www.mdpi.com
Materials Free FullText A Study on the Pressure Mechanism Improvement of a RollerType How Do Roller Machine Work Joint rollers are made from metal or plastic and have a. One of the (many) benefits of using a rolling machine is that it makes it simpler for you to consistently roll a perfect cigarette or joint. A plate rolling machine is a machine that will roll different kinds of sheet metal into a round or conical shape. They work. How Do Roller Machine Work.
From www.researchgate.net
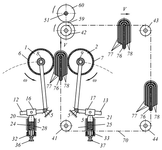
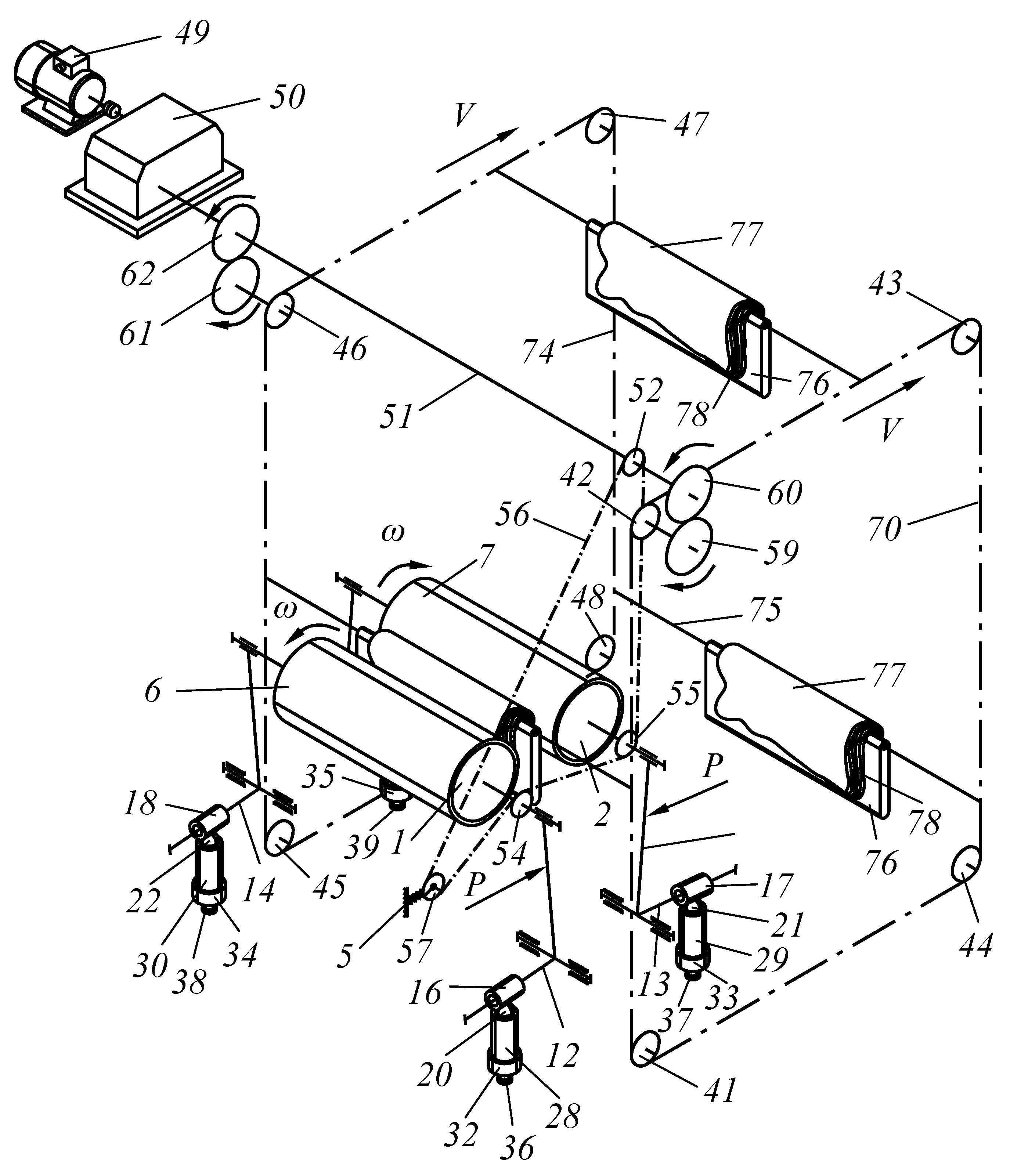
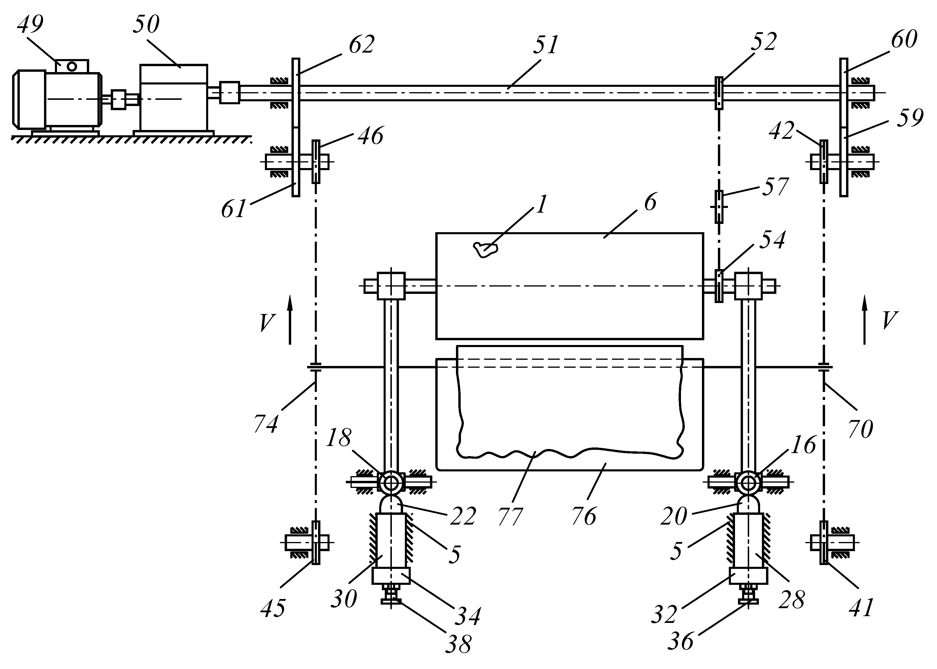
Measurement and control system of tworoller machine. Download Scientific Diagram How Do Roller Machine Work They work by pinching the flat sheet between two vertically opposed rolls while the third, offset roll—or bending roll—moves upward. It can be also called a “roll. Some machines have three rollers, while more advanced ones have. Plate roll machines consist of rollers that roll and bend the metal sheets. A joint roller is a small device that helps you. How Do Roller Machine Work.
From swforming.com
The Hidden Costs of Roller Machine Ownership Maintenance and Repairs SUNWAY Machine How Do Roller Machine Work All machines use cigarette tubes and operate in a similar way, which is to inject the tobacco into the tube. Joint rollers are made from metal or plastic and have a. How do rolling machines work? Some machines have three rollers, while more advanced ones have. A joint roller is a small device that helps you roll a uniform joint,. How Do Roller Machine Work.
From www.youtube.com
W11 mechanical 3roller symmetrical plate rolling machine YouTube How Do Roller Machine Work It can be also called a “roll. All machines use cigarette tubes and operate in a similar way, which is to inject the tobacco into the tube. How do rolling machines work? Plate roll machines consist of rollers that roll and bend the metal sheets. A plate rolling machine is a machine that will roll different kinds of sheet metal. How Do Roller Machine Work.
From nevonprojects.com
Manual Roller Bending Machine How Do Roller Machine Work Joint rollers are made from metal or plastic and have a. Some machines have three rollers, while more advanced ones have. A plate rolling machine is a machine that will roll different kinds of sheet metal into a round or conical shape. How do rolling machines work? A joint roller is a small device that helps you roll a uniform. How Do Roller Machine Work.
From www.youtube.com
CHANGE ROLLER MACHINE REMOVE AND INSTALL YouTube How Do Roller Machine Work All machines use cigarette tubes and operate in a similar way, which is to inject the tobacco into the tube. The end goal is to have a nicely packed. A plate rolling machine is a machine that will roll different kinds of sheet metal into a round or conical shape. Some machines have three rollers, while more advanced ones have.. How Do Roller Machine Work.
From www.dreamstime.com
Road Roller Working at Construction Site during Asphalt Road Repair. Paving Roller Machine on How Do Roller Machine Work A plate rolling machine is a machine that will roll different kinds of sheet metal into a round or conical shape. Plate roll machines consist of rollers that roll and bend the metal sheets. They work by pinching the flat sheet between two vertically opposed rolls while the third, offset roll—or bending roll—moves upward. Joint rollers are made from metal. How Do Roller Machine Work.
From www.youtube.com
How Does Roller Heat Press Machine Work? YouTube How Do Roller Machine Work A plate rolling machine is a machine that will roll different kinds of sheet metal into a round or conical shape. Joint rollers are made from metal or plastic and have a. How do rolling machines work? One of the (many) benefits of using a rolling machine is that it makes it simpler for you to consistently roll a perfect. How Do Roller Machine Work.
From guoaom.en.made-in-china.com
W11g Mechanical Plate Sheet Bending Roll, Mechanical Roller Machine, Mechanical Rolling Machine How Do Roller Machine Work Plate roll machines consist of rollers that roll and bend the metal sheets. One of the (many) benefits of using a rolling machine is that it makes it simpler for you to consistently roll a perfect cigarette or joint. All machines use cigarette tubes and operate in a similar way, which is to inject the tobacco into the tube. Some. How Do Roller Machine Work.
From www.youtube.com
How To Use A Raw Joint Roller Rolling Machine YouTube How Do Roller Machine Work The end goal is to have a nicely packed. A plate rolling machine is a machine that will roll different kinds of sheet metal into a round or conical shape. One of the (many) benefits of using a rolling machine is that it makes it simpler for you to consistently roll a perfect cigarette or joint. They work by pinching. How Do Roller Machine Work.
From grumpsplace.com
7 Most Common Types of Compaction Rollers Used In Construction Grumps Place How Do Roller Machine Work Joint rollers are made from metal or plastic and have a. How do rolling machines work? All machines use cigarette tubes and operate in a similar way, which is to inject the tobacco into the tube. One of the (many) benefits of using a rolling machine is that it makes it simpler for you to consistently roll a perfect cigarette. How Do Roller Machine Work.
From www.youtube.com
Fullyautomatic Big Paint Roller Finishing Machine YouTube How Do Roller Machine Work A joint roller is a small device that helps you roll a uniform joint, since it distributes the cannabis evenly in a rolling paper. All machines use cigarette tubes and operate in a similar way, which is to inject the tobacco into the tube. Joint rollers are made from metal or plastic and have a. Some machines have three rollers,. How Do Roller Machine Work.
From www.youtube.com
4roller plate rolling machine,W12 CNC 4roller rolling machine for ChinaACCURL YouTube How Do Roller Machine Work The end goal is to have a nicely packed. A joint roller is a small device that helps you roll a uniform joint, since it distributes the cannabis evenly in a rolling paper. A plate rolling machine is a machine that will roll different kinds of sheet metal into a round or conical shape. One of the (many) benefits of. How Do Roller Machine Work.
From www.scnindustrial.com
HILMAN ROLLERS Machine Rollers SCN Industrial How Do Roller Machine Work It can be also called a “roll. They work by pinching the flat sheet between two vertically opposed rolls while the third, offset roll—or bending roll—moves upward. Joint rollers are made from metal or plastic and have a. Some machines have three rollers, while more advanced ones have. A plate rolling machine is a machine that will roll different kinds. How Do Roller Machine Work.
From www.youtube.com
How Does The Raymond Roller Mill Work? YouTube How Do Roller Machine Work How do rolling machines work? A joint roller is a small device that helps you roll a uniform joint, since it distributes the cannabis evenly in a rolling paper. A plate rolling machine is a machine that will roll different kinds of sheet metal into a round or conical shape. One of the (many) benefits of using a rolling machine. How Do Roller Machine Work.
From www.alamy.com
Roller machine hires stock photography and images Alamy How Do Roller Machine Work Some machines have three rollers, while more advanced ones have. A joint roller is a small device that helps you roll a uniform joint, since it distributes the cannabis evenly in a rolling paper. All machines use cigarette tubes and operate in a similar way, which is to inject the tobacco into the tube. Plate roll machines consist of rollers. How Do Roller Machine Work.
From www.dreamstime.com
Paving Roller Machine during Road Work at Construction Site for Paving Works. Asphalt Paver Road How Do Roller Machine Work How do rolling machines work? The end goal is to have a nicely packed. It can be also called a “roll. A joint roller is a small device that helps you roll a uniform joint, since it distributes the cannabis evenly in a rolling paper. Some machines have three rollers, while more advanced ones have. Plate roll machines consist of. How Do Roller Machine Work.