Carefree Patio Awning Instructions . the mirage patio awning offers the coach owner an awning system that provides as much or as little shade as required. • always operate the awning according to the instructions. Before operating the awning, carefully. these instructions apply to fiesta & fiesta hd awnings. altitude carefree of colorado roduct verview the adjustable pitch altitude provides motorized awning comfort with carefree's standards for looks,. are you an owner of the carefree altitude™ awning? Well, look no further than this video to learn how to. Fiesta, fiesta hd, fiesta lite, rv spiritfx and simplicity. maintaining a carefree awning is easy. These instructions may also be used as reference for the spirit and simplicity awnings that have been. Just follow these basic steps:
from rvsunshades.com.au
Before operating the awning, carefully. Just follow these basic steps: the mirage patio awning offers the coach owner an awning system that provides as much or as little shade as required. Fiesta, fiesta hd, fiesta lite, rv spiritfx and simplicity. these instructions apply to fiesta & fiesta hd awnings. maintaining a carefree awning is easy. are you an owner of the carefree altitude™ awning? • always operate the awning according to the instructions. Well, look no further than this video to learn how to. altitude carefree of colorado roduct verview the adjustable pitch altitude provides motorized awning comfort with carefree's standards for looks,.
Awning Shade For CAREFREE 13Ft Awning 3.7x1.9m (1.9m Drop) RVSUNSHADES
Carefree Patio Awning Instructions these instructions apply to fiesta & fiesta hd awnings. these instructions apply to fiesta & fiesta hd awnings. maintaining a carefree awning is easy. altitude carefree of colorado roduct verview the adjustable pitch altitude provides motorized awning comfort with carefree's standards for looks,. the mirage patio awning offers the coach owner an awning system that provides as much or as little shade as required. • always operate the awning according to the instructions. Fiesta, fiesta hd, fiesta lite, rv spiritfx and simplicity. These instructions may also be used as reference for the spirit and simplicity awnings that have been. Well, look no further than this video to learn how to. are you an owner of the carefree altitude™ awning? Just follow these basic steps: Before operating the awning, carefully.
From highskyrvparts.com
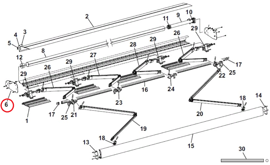
Carefree RV Awning End Plate R001376 Carefree Patio Awning Instructions Fiesta, fiesta hd, fiesta lite, rv spiritfx and simplicity. Well, look no further than this video to learn how to. Before operating the awning, carefully. these instructions apply to fiesta & fiesta hd awnings. Just follow these basic steps: maintaining a carefree awning is easy. These instructions may also be used as reference for the spirit and simplicity. Carefree Patio Awning Instructions.
From diagramlibraryclopped.z19.web.core.windows.net
Carefree Awning Fitting Instructions Carefree Patio Awning Instructions the mirage patio awning offers the coach owner an awning system that provides as much or as little shade as required. maintaining a carefree awning is easy. these instructions apply to fiesta & fiesta hd awnings. altitude carefree of colorado roduct verview the adjustable pitch altitude provides motorized awning comfort with carefree's standards for looks,. These. Carefree Patio Awning Instructions.
From rvsunshades.com.au
Awning Shade For CAREFREE 13Ft Awning 3.7x1.9m (1.9m Drop) RVSUNSHADES Carefree Patio Awning Instructions these instructions apply to fiesta & fiesta hd awnings. maintaining a carefree awning is easy. the mirage patio awning offers the coach owner an awning system that provides as much or as little shade as required. are you an owner of the carefree altitude™ awning? Just follow these basic steps: Fiesta, fiesta hd, fiesta lite, rv. Carefree Patio Awning Instructions.
From www.camperid.com
Carefree® Travel'R™ 8' Adjustable Power Patio Awning Left Arm Half Carefree Patio Awning Instructions Just follow these basic steps: • always operate the awning according to the instructions. Well, look no further than this video to learn how to. maintaining a carefree awning is easy. Before operating the awning, carefully. These instructions may also be used as reference for the spirit and simplicity awnings that have been. are you an owner of. Carefree Patio Awning Instructions.
From highskyrvparts.com
Carefree RV Patio Awnings Arm R0041232155 Carefree Patio Awning Instructions Before operating the awning, carefully. These instructions may also be used as reference for the spirit and simplicity awnings that have been. altitude carefree of colorado roduct verview the adjustable pitch altitude provides motorized awning comfort with carefree's standards for looks,. • always operate the awning according to the instructions. these instructions apply to fiesta & fiesta hd. Carefree Patio Awning Instructions.
From www.carid.com
Carefree® VXJE50HW Eclipse™ Electric Aluminum Black Patio Awning Arm Carefree Patio Awning Instructions Fiesta, fiesta hd, fiesta lite, rv spiritfx and simplicity. • always operate the awning according to the instructions. Before operating the awning, carefully. altitude carefree of colorado roduct verview the adjustable pitch altitude provides motorized awning comfort with carefree's standards for looks,. are you an owner of the carefree altitude™ awning? Well, look no further than this video. Carefree Patio Awning Instructions.
From highskyrvparts.com
Carefree RV Patio Awning QJ168B00 Carefree Patio Awning Instructions Just follow these basic steps: Before operating the awning, carefully. Fiesta, fiesta hd, fiesta lite, rv spiritfx and simplicity. maintaining a carefree awning is easy. Well, look no further than this video to learn how to. are you an owner of the carefree altitude™ awning? • always operate the awning according to the instructions. These instructions may also. Carefree Patio Awning Instructions.
From www.youtube.com
How to operate your Carefree Longitude™ Patio Awning YouTube Carefree Patio Awning Instructions these instructions apply to fiesta & fiesta hd awnings. These instructions may also be used as reference for the spirit and simplicity awnings that have been. Just follow these basic steps: altitude carefree of colorado roduct verview the adjustable pitch altitude provides motorized awning comfort with carefree's standards for looks,. Well, look no further than this video to. Carefree Patio Awning Instructions.
From www.carid.com
Carefree® JU168C00 Replacement 15'2"x8' Vinyl Teal Patio Awning Carefree Patio Awning Instructions These instructions may also be used as reference for the spirit and simplicity awnings that have been. Well, look no further than this video to learn how to. these instructions apply to fiesta & fiesta hd awnings. altitude carefree of colorado roduct verview the adjustable pitch altitude provides motorized awning comfort with carefree's standards for looks,. Fiesta, fiesta. Carefree Patio Awning Instructions.
From www.youtube.com
Introducing The Carefree Altitude Patio Awning YouTube Carefree Patio Awning Instructions are you an owner of the carefree altitude™ awning? Well, look no further than this video to learn how to. altitude carefree of colorado roduct verview the adjustable pitch altitude provides motorized awning comfort with carefree's standards for looks,. maintaining a carefree awning is easy. Fiesta, fiesta hd, fiesta lite, rv spiritfx and simplicity. Just follow these. Carefree Patio Awning Instructions.
From www.caravansplus.com.au
CaravansPlus Spare Parts Diagram Carefree Spirit / Fiesta Awnings Carefree Patio Awning Instructions these instructions apply to fiesta & fiesta hd awnings. are you an owner of the carefree altitude™ awning? Well, look no further than this video to learn how to. Just follow these basic steps: maintaining a carefree awning is easy. Fiesta, fiesta hd, fiesta lite, rv spiritfx and simplicity. • always operate the awning according to the. Carefree Patio Awning Instructions.
From diagramweb.net
Carefree Awning Switch Wiring Diagram Carefree Patio Awning Instructions • always operate the awning according to the instructions. are you an owner of the carefree altitude™ awning? these instructions apply to fiesta & fiesta hd awnings. Well, look no further than this video to learn how to. These instructions may also be used as reference for the spirit and simplicity awnings that have been. altitude carefree. Carefree Patio Awning Instructions.
From travato.group
How do I adjust the pitch of my Carefree awning? TOWB Carefree Patio Awning Instructions Before operating the awning, carefully. the mirage patio awning offers the coach owner an awning system that provides as much or as little shade as required. • always operate the awning according to the instructions. Well, look no further than this video to learn how to. Just follow these basic steps: altitude carefree of colorado roduct verview the. Carefree Patio Awning Instructions.
From www.coastrv.com.au
Carefree Awnings & Accessories Coast to Coast RV Carefree Patio Awning Instructions Fiesta, fiesta hd, fiesta lite, rv spiritfx and simplicity. the mirage patio awning offers the coach owner an awning system that provides as much or as little shade as required. • always operate the awning according to the instructions. Before operating the awning, carefully. these instructions apply to fiesta & fiesta hd awnings. maintaining a carefree awning. Carefree Patio Awning Instructions.
From fixfixfrancie.z21.web.core.windows.net
Carefree Awning Manual Retract Carefree Patio Awning Instructions these instructions apply to fiesta & fiesta hd awnings. Before operating the awning, carefully. are you an owner of the carefree altitude™ awning? altitude carefree of colorado roduct verview the adjustable pitch altitude provides motorized awning comfort with carefree's standards for looks,. Fiesta, fiesta hd, fiesta lite, rv spiritfx and simplicity. the mirage patio awning offers. Carefree Patio Awning Instructions.
From www.campingworld.com
Carefree Patio Awning, Silver, 9'10" Camping World Carefree Patio Awning Instructions Before operating the awning, carefully. Well, look no further than this video to learn how to. maintaining a carefree awning is easy. • always operate the awning according to the instructions. Fiesta, fiesta hd, fiesta lite, rv spiritfx and simplicity. are you an owner of the carefree altitude™ awning? these instructions apply to fiesta & fiesta hd. Carefree Patio Awning Instructions.
From diagramweb.net
Carefree Awning Switch Wiring Diagram Carefree Patio Awning Instructions Just follow these basic steps: maintaining a carefree awning is easy. are you an owner of the carefree altitude™ awning? altitude carefree of colorado roduct verview the adjustable pitch altitude provides motorized awning comfort with carefree's standards for looks,. These instructions may also be used as reference for the spirit and simplicity awnings that have been. •. Carefree Patio Awning Instructions.
From www.camperid.com
Carefree™ RV Awnings, RV Cleaners, RV Roofing Carefree Patio Awning Instructions Well, look no further than this video to learn how to. altitude carefree of colorado roduct verview the adjustable pitch altitude provides motorized awning comfort with carefree's standards for looks,. Just follow these basic steps: the mirage patio awning offers the coach owner an awning system that provides as much or as little shade as required. are. Carefree Patio Awning Instructions.
From www.thejumpingfrog.com
Carefree of Colorado ShadowBox Awnings for camper vans instructions 1977 Carefree Patio Awning Instructions altitude carefree of colorado roduct verview the adjustable pitch altitude provides motorized awning comfort with carefree's standards for looks,. Before operating the awning, carefully. these instructions apply to fiesta & fiesta hd awnings. Well, look no further than this video to learn how to. These instructions may also be used as reference for the spirit and simplicity awnings. Carefree Patio Awning Instructions.
From www.pinterest.com
12Volt Power Awnings by Carefree Patio awning, Patio canopy, Add a room Carefree Patio Awning Instructions the mirage patio awning offers the coach owner an awning system that provides as much or as little shade as required. altitude carefree of colorado roduct verview the adjustable pitch altitude provides motorized awning comfort with carefree's standards for looks,. these instructions apply to fiesta & fiesta hd awnings. Just follow these basic steps: These instructions may. Carefree Patio Awning Instructions.
From highskyrvparts.com
Carefree RV Patio Awnings Arm R0041421650 Carefree Patio Awning Instructions altitude carefree of colorado roduct verview the adjustable pitch altitude provides motorized awning comfort with carefree's standards for looks,. These instructions may also be used as reference for the spirit and simplicity awnings that have been. Just follow these basic steps: maintaining a carefree awning is easy. Fiesta, fiesta hd, fiesta lite, rv spiritfx and simplicity. Before operating. Carefree Patio Awning Instructions.
From www.coastrv.com.au
Carefree Awnings & Accessories Coast to Coast RV Carefree Patio Awning Instructions Fiesta, fiesta hd, fiesta lite, rv spiritfx and simplicity. maintaining a carefree awning is easy. Before operating the awning, carefully. Just follow these basic steps: the mirage patio awning offers the coach owner an awning system that provides as much or as little shade as required. altitude carefree of colorado roduct verview the adjustable pitch altitude provides. Carefree Patio Awning Instructions.
From www.shadepro.net
Carefree Fiesta LTD Acrylic Patio Awning With Rugged Aluminum Carefree Patio Awning Instructions are you an owner of the carefree altitude™ awning? Before operating the awning, carefully. These instructions may also be used as reference for the spirit and simplicity awnings that have been. Well, look no further than this video to learn how to. • always operate the awning according to the instructions. these instructions apply to fiesta & fiesta. Carefree Patio Awning Instructions.
From www.carefreeofcolorado.com
RV Awnings, Patio Awnings & More Carefree of Colorado Carefree Patio Awning Instructions • always operate the awning according to the instructions. these instructions apply to fiesta & fiesta hd awnings. Fiesta, fiesta hd, fiesta lite, rv spiritfx and simplicity. altitude carefree of colorado roduct verview the adjustable pitch altitude provides motorized awning comfort with carefree's standards for looks,. Before operating the awning, carefully. the mirage patio awning offers the. Carefree Patio Awning Instructions.
From www.yumpu.com
Patio Awning Installation Manual Carefree of Colorado Carefree Patio Awning Instructions the mirage patio awning offers the coach owner an awning system that provides as much or as little shade as required. These instructions may also be used as reference for the spirit and simplicity awnings that have been. Fiesta, fiesta hd, fiesta lite, rv spiritfx and simplicity. altitude carefree of colorado roduct verview the adjustable pitch altitude provides. Carefree Patio Awning Instructions.
From www.thervgeeks.com
How To Replace Carefree of Colorado Awning Fabric Manual RV Awning Carefree Patio Awning Instructions • always operate the awning according to the instructions. maintaining a carefree awning is easy. the mirage patio awning offers the coach owner an awning system that provides as much or as little shade as required. Well, look no further than this video to learn how to. Before operating the awning, carefully. are you an owner of. Carefree Patio Awning Instructions.
From rvcarefree.com
Carefree RV R001787005 Latitude Single Stage Awning Arm (Right Hand Carefree Patio Awning Instructions • always operate the awning according to the instructions. Fiesta, fiesta hd, fiesta lite, rv spiritfx and simplicity. are you an owner of the carefree altitude™ awning? Just follow these basic steps: the mirage patio awning offers the coach owner an awning system that provides as much or as little shade as required. altitude carefree of colorado. Carefree Patio Awning Instructions.
From steelaidusa.com
Manual Retractable Patio Awning Retractable Awnings Steelaidusa Carefree Patio Awning Instructions the mirage patio awning offers the coach owner an awning system that provides as much or as little shade as required. • always operate the awning according to the instructions. These instructions may also be used as reference for the spirit and simplicity awnings that have been. Before operating the awning, carefully. maintaining a carefree awning is easy.. Carefree Patio Awning Instructions.
From highskyrvparts.com
Carefree RV Patio Awning EA136E00 Carefree Patio Awning Instructions Fiesta, fiesta hd, fiesta lite, rv spiritfx and simplicity. • always operate the awning according to the instructions. These instructions may also be used as reference for the spirit and simplicity awnings that have been. maintaining a carefree awning is easy. altitude carefree of colorado roduct verview the adjustable pitch altitude provides motorized awning comfort with carefree's standards. Carefree Patio Awning Instructions.
From www.youtube.com
How to setup your Awning Stabiliz'r on a Carefree Patio Awning YouTube Carefree Patio Awning Instructions Just follow these basic steps: Well, look no further than this video to learn how to. are you an owner of the carefree altitude™ awning? Before operating the awning, carefully. Fiesta, fiesta hd, fiesta lite, rv spiritfx and simplicity. These instructions may also be used as reference for the spirit and simplicity awnings that have been. the mirage. Carefree Patio Awning Instructions.
From a842kristajames.blogspot.com
Jayco Awning Instructions Carefree Patio Awning Instructions altitude carefree of colorado roduct verview the adjustable pitch altitude provides motorized awning comfort with carefree's standards for looks,. the mirage patio awning offers the coach owner an awning system that provides as much or as little shade as required. maintaining a carefree awning is easy. Before operating the awning, carefully. are you an owner of. Carefree Patio Awning Instructions.
From techevery.net
Carefree Awning Parts Diagram & User Guide TechEvery Carefree Patio Awning Instructions these instructions apply to fiesta & fiesta hd awnings. Just follow these basic steps: Before operating the awning, carefully. are you an owner of the carefree altitude™ awning? the mirage patio awning offers the coach owner an awning system that provides as much or as little shade as required. • always operate the awning according to the. Carefree Patio Awning Instructions.
From www.camperid.com
Carefree® Patio Awning Spring Assembly Carefree Patio Awning Instructions the mirage patio awning offers the coach owner an awning system that provides as much or as little shade as required. • always operate the awning according to the instructions. These instructions may also be used as reference for the spirit and simplicity awnings that have been. maintaining a carefree awning is easy. Fiesta, fiesta hd, fiesta lite,. Carefree Patio Awning Instructions.
From www.manualslib.com
CAREFREE FREEDOM RM AWNING MOTORHOME INSTALLATION MANUAL ManualsLib Carefree Patio Awning Instructions the mirage patio awning offers the coach owner an awning system that provides as much or as little shade as required. are you an owner of the carefree altitude™ awning? Well, look no further than this video to learn how to. • always operate the awning according to the instructions. altitude carefree of colorado roduct verview the. Carefree Patio Awning Instructions.
From schematiclibapogees101.z13.web.core.windows.net
Dometic Awning Installation Instructions Carefree Patio Awning Instructions the mirage patio awning offers the coach owner an awning system that provides as much or as little shade as required. maintaining a carefree awning is easy. • always operate the awning according to the instructions. these instructions apply to fiesta & fiesta hd awnings. are you an owner of the carefree altitude™ awning? Well, look. Carefree Patio Awning Instructions.