Exmark Steering Damper Adjustment . I have a 2004 exmark lazer z with 52 deck, 23 hp kohler, and the steering is. the top damper mounting bolt can be adjusted to obtain a more desired motion control lever resistance. exmark lazer z with sensitive steering. This product has been carefully designed and manufactured to. congratulations on the purchase of your exmark mower. Also, inspect the steering damper for any issues. with the steering levers in the neutral position, adjust the length of the link rods that connect the steering levers to. to fix exmark zero turn steering problems, adjust the steering linkage and check the motion control levers. I have put together a list of the most common issues you will encounter as a zero turn owner.
from www.llifts.com
with the steering levers in the neutral position, adjust the length of the link rods that connect the steering levers to. exmark lazer z with sensitive steering. the top damper mounting bolt can be adjusted to obtain a more desired motion control lever resistance. I have a 2004 exmark lazer z with 52 deck, 23 hp kohler, and the steering is. This product has been carefully designed and manufactured to. congratulations on the purchase of your exmark mower. to fix exmark zero turn steering problems, adjust the steering linkage and check the motion control levers. Also, inspect the steering damper for any issues. I have put together a list of the most common issues you will encounter as a zero turn owner.
Steering Damper for Exmark
Exmark Steering Damper Adjustment the top damper mounting bolt can be adjusted to obtain a more desired motion control lever resistance. to fix exmark zero turn steering problems, adjust the steering linkage and check the motion control levers. This product has been carefully designed and manufactured to. congratulations on the purchase of your exmark mower. Also, inspect the steering damper for any issues. the top damper mounting bolt can be adjusted to obtain a more desired motion control lever resistance. I have put together a list of the most common issues you will encounter as a zero turn owner. exmark lazer z with sensitive steering. with the steering levers in the neutral position, adjust the length of the link rods that connect the steering levers to. I have a 2004 exmark lazer z with 52 deck, 23 hp kohler, and the steering is.
From www.llifts.com
Steering Damper for Exmark Exmark Steering Damper Adjustment exmark lazer z with sensitive steering. I have a 2004 exmark lazer z with 52 deck, 23 hp kohler, and the steering is. I have put together a list of the most common issues you will encounter as a zero turn owner. Also, inspect the steering damper for any issues. This product has been carefully designed and manufactured to.. Exmark Steering Damper Adjustment.
From www.amazon.com
Upgraded 1160027 Steering Damper for Exmark Next Lazer Z Exmark Steering Damper Adjustment exmark lazer z with sensitive steering. I have a 2004 exmark lazer z with 52 deck, 23 hp kohler, and the steering is. congratulations on the purchase of your exmark mower. the top damper mounting bolt can be adjusted to obtain a more desired motion control lever resistance. to fix exmark zero turn steering problems, adjust. Exmark Steering Damper Adjustment.
From www.llifts.com
Steering Damper for Exmark/Kubota/Toro Exmark Steering Damper Adjustment I have a 2004 exmark lazer z with 52 deck, 23 hp kohler, and the steering is. with the steering levers in the neutral position, adjust the length of the link rods that connect the steering levers to. Also, inspect the steering damper for any issues. I have put together a list of the most common issues you will. Exmark Steering Damper Adjustment.
From www.ebay.com
(2 Pack) Steering Damper fits Exmark Toro 1092339 ZMaster Laser Z w Exmark Steering Damper Adjustment exmark lazer z with sensitive steering. the top damper mounting bolt can be adjusted to obtain a more desired motion control lever resistance. I have put together a list of the most common issues you will encounter as a zero turn owner. I have a 2004 exmark lazer z with 52 deck, 23 hp kohler, and the steering. Exmark Steering Damper Adjustment.
From www.ebay.com
2 PCS 1160027 Steering Dampers fits for Exmark Toro & Most Lazer Z Exmark Steering Damper Adjustment exmark lazer z with sensitive steering. I have a 2004 exmark lazer z with 52 deck, 23 hp kohler, and the steering is. This product has been carefully designed and manufactured to. with the steering levers in the neutral position, adjust the length of the link rods that connect the steering levers to. I have put together a. Exmark Steering Damper Adjustment.
From shop.exmark.com
Shop Exmark Parts Exmark Exmark Steering Damper Adjustment This product has been carefully designed and manufactured to. Also, inspect the steering damper for any issues. I have a 2004 exmark lazer z with 52 deck, 23 hp kohler, and the steering is. I have put together a list of the most common issues you will encounter as a zero turn owner. with the steering levers in the. Exmark Steering Damper Adjustment.
From opereviews.com
Exmark Adapt Cutting Deck Adjustment System OPE Reviews Exmark Steering Damper Adjustment exmark lazer z with sensitive steering. I have a 2004 exmark lazer z with 52 deck, 23 hp kohler, and the steering is. congratulations on the purchase of your exmark mower. to fix exmark zero turn steering problems, adjust the steering linkage and check the motion control levers. the top damper mounting bolt can be adjusted. Exmark Steering Damper Adjustment.
From www.llifts.com
Steering Damper for Exmark Exmark Steering Damper Adjustment congratulations on the purchase of your exmark mower. This product has been carefully designed and manufactured to. exmark lazer z with sensitive steering. I have put together a list of the most common issues you will encounter as a zero turn owner. with the steering levers in the neutral position, adjust the length of the link rods. Exmark Steering Damper Adjustment.
From www.llifts.com
Steering Damper for Exmark Exmark Steering Damper Adjustment I have put together a list of the most common issues you will encounter as a zero turn owner. with the steering levers in the neutral position, adjust the length of the link rods that connect the steering levers to. I have a 2004 exmark lazer z with 52 deck, 23 hp kohler, and the steering is. congratulations. Exmark Steering Damper Adjustment.
From www.llifts.com
Steering Damper for Exmark Exmark Steering Damper Adjustment with the steering levers in the neutral position, adjust the length of the link rods that connect the steering levers to. congratulations on the purchase of your exmark mower. exmark lazer z with sensitive steering. Also, inspect the steering damper for any issues. I have a 2004 exmark lazer z with 52 deck, 23 hp kohler, and. Exmark Steering Damper Adjustment.
From www.ebay.com.au
(2 Pack) Steering Damper fits Exmark Toro 1160027, 1099820, Lazer Z Exmark Steering Damper Adjustment I have put together a list of the most common issues you will encounter as a zero turn owner. I have a 2004 exmark lazer z with 52 deck, 23 hp kohler, and the steering is. Also, inspect the steering damper for any issues. to fix exmark zero turn steering problems, adjust the steering linkage and check the motion. Exmark Steering Damper Adjustment.
From www.amazon.com
1160027 Steering Dampers 2Piece with Exmark Steering Damper Adjustment with the steering levers in the neutral position, adjust the length of the link rods that connect the steering levers to. the top damper mounting bolt can be adjusted to obtain a more desired motion control lever resistance. Also, inspect the steering damper for any issues. I have a 2004 exmark lazer z with 52 deck, 23 hp. Exmark Steering Damper Adjustment.
From www.ebay.com
1160027 Steering Dampers Fit for Exmark Toro & Most Lazer Z, Z Master Exmark Steering Damper Adjustment Also, inspect the steering damper for any issues. with the steering levers in the neutral position, adjust the length of the link rods that connect the steering levers to. congratulations on the purchase of your exmark mower. I have put together a list of the most common issues you will encounter as a zero turn owner. the. Exmark Steering Damper Adjustment.
From www.llifts.com
Steering Damper for Exmark Exmark Steering Damper Adjustment I have a 2004 exmark lazer z with 52 deck, 23 hp kohler, and the steering is. This product has been carefully designed and manufactured to. Also, inspect the steering damper for any issues. congratulations on the purchase of your exmark mower. with the steering levers in the neutral position, adjust the length of the link rods that. Exmark Steering Damper Adjustment.
From shop.exmark.com
Shop Exmark Parts Exmark Exmark Steering Damper Adjustment I have a 2004 exmark lazer z with 52 deck, 23 hp kohler, and the steering is. Also, inspect the steering damper for any issues. with the steering levers in the neutral position, adjust the length of the link rods that connect the steering levers to. congratulations on the purchase of your exmark mower. the top damper. Exmark Steering Damper Adjustment.
From www.llifts.com
Steering Damper for Exmark/Kubota/Toro Exmark Steering Damper Adjustment with the steering levers in the neutral position, adjust the length of the link rods that connect the steering levers to. I have put together a list of the most common issues you will encounter as a zero turn owner. to fix exmark zero turn steering problems, adjust the steering linkage and check the motion control levers. . Exmark Steering Damper Adjustment.
From shop.exmark.com
Shop Exmark Parts Exmark Exmark Steering Damper Adjustment the top damper mounting bolt can be adjusted to obtain a more desired motion control lever resistance. exmark lazer z with sensitive steering. to fix exmark zero turn steering problems, adjust the steering linkage and check the motion control levers. congratulations on the purchase of your exmark mower. I have put together a list of the. Exmark Steering Damper Adjustment.
From www.llifts.com
Steering Damper for Exmark Exmark Steering Damper Adjustment This product has been carefully designed and manufactured to. congratulations on the purchase of your exmark mower. I have put together a list of the most common issues you will encounter as a zero turn owner. exmark lazer z with sensitive steering. Also, inspect the steering damper for any issues. the top damper mounting bolt can be. Exmark Steering Damper Adjustment.
From www.amazon.com
2Pcs Steering Damper for Exmark Next Lazer Z, Toro Z Master Exmark Steering Damper Adjustment Also, inspect the steering damper for any issues. congratulations on the purchase of your exmark mower. with the steering levers in the neutral position, adjust the length of the link rods that connect the steering levers to. exmark lazer z with sensitive steering. the top damper mounting bolt can be adjusted to obtain a more desired. Exmark Steering Damper Adjustment.
From www.aliexpress.com
1160027SteeringDampersforExmarkToroMostLazerZAdvantageZ Exmark Steering Damper Adjustment to fix exmark zero turn steering problems, adjust the steering linkage and check the motion control levers. This product has been carefully designed and manufactured to. congratulations on the purchase of your exmark mower. with the steering levers in the neutral position, adjust the length of the link rods that connect the steering levers to. the. Exmark Steering Damper Adjustment.
From www.amazon.com
Upgraded 1160027 Steering Damper for Exmark Next Lazer Z Exmark Steering Damper Adjustment congratulations on the purchase of your exmark mower. Also, inspect the steering damper for any issues. with the steering levers in the neutral position, adjust the length of the link rods that connect the steering levers to. exmark lazer z with sensitive steering. to fix exmark zero turn steering problems, adjust the steering linkage and check. Exmark Steering Damper Adjustment.
From www.llifts.com
Steering Damper for Exmark Exmark Steering Damper Adjustment I have a 2004 exmark lazer z with 52 deck, 23 hp kohler, and the steering is. This product has been carefully designed and manufactured to. Also, inspect the steering damper for any issues. exmark lazer z with sensitive steering. with the steering levers in the neutral position, adjust the length of the link rods that connect the. Exmark Steering Damper Adjustment.
From www.amazon.com
1160027 Steering Dampers 2Piece with Exmark Steering Damper Adjustment with the steering levers in the neutral position, adjust the length of the link rods that connect the steering levers to. This product has been carefully designed and manufactured to. I have put together a list of the most common issues you will encounter as a zero turn owner. exmark lazer z with sensitive steering. congratulations on. Exmark Steering Damper Adjustment.
From www.amazon.com
1160027 Steering Dampers 2Piece with Exmark Steering Damper Adjustment This product has been carefully designed and manufactured to. the top damper mounting bolt can be adjusted to obtain a more desired motion control lever resistance. congratulations on the purchase of your exmark mower. exmark lazer z with sensitive steering. I have put together a list of the most common issues you will encounter as a zero. Exmark Steering Damper Adjustment.
From www.ebay.com
1160027 Steering Damper Replacement for Exmark Toro & Most Lazer Z Exmark Steering Damper Adjustment with the steering levers in the neutral position, adjust the length of the link rods that connect the steering levers to. I have a 2004 exmark lazer z with 52 deck, 23 hp kohler, and the steering is. the top damper mounting bolt can be adjusted to obtain a more desired motion control lever resistance. This product has. Exmark Steering Damper Adjustment.
From www.ebay.com
2X 1428117 Steering Damper For Exmark Toro Replaces 1160027 Dust Seal Exmark Steering Damper Adjustment with the steering levers in the neutral position, adjust the length of the link rods that connect the steering levers to. exmark lazer z with sensitive steering. congratulations on the purchase of your exmark mower. This product has been carefully designed and manufactured to. I have a 2004 exmark lazer z with 52 deck, 23 hp kohler,. Exmark Steering Damper Adjustment.
From www.ebay.com
(2 Pack) Steering Damper fits Exmark Toro 1160027, 1099820, Lazer Z Exmark Steering Damper Adjustment I have a 2004 exmark lazer z with 52 deck, 23 hp kohler, and the steering is. with the steering levers in the neutral position, adjust the length of the link rods that connect the steering levers to. the top damper mounting bolt can be adjusted to obtain a more desired motion control lever resistance. to fix. Exmark Steering Damper Adjustment.
From www.ebay.com
Aftermarket Steering Damper for Exmark Toro Advantage Z Master Lazer Z Exmark Steering Damper Adjustment congratulations on the purchase of your exmark mower. This product has been carefully designed and manufactured to. I have a 2004 exmark lazer z with 52 deck, 23 hp kohler, and the steering is. with the steering levers in the neutral position, adjust the length of the link rods that connect the steering levers to. I have put. Exmark Steering Damper Adjustment.
From www.ebay.com
(2 Pack) Steering Damper fits Exmark Toro 1160027, 1099820, Lazer Z Exmark Steering Damper Adjustment I have put together a list of the most common issues you will encounter as a zero turn owner. to fix exmark zero turn steering problems, adjust the steering linkage and check the motion control levers. This product has been carefully designed and manufactured to. exmark lazer z with sensitive steering. congratulations on the purchase of your. Exmark Steering Damper Adjustment.
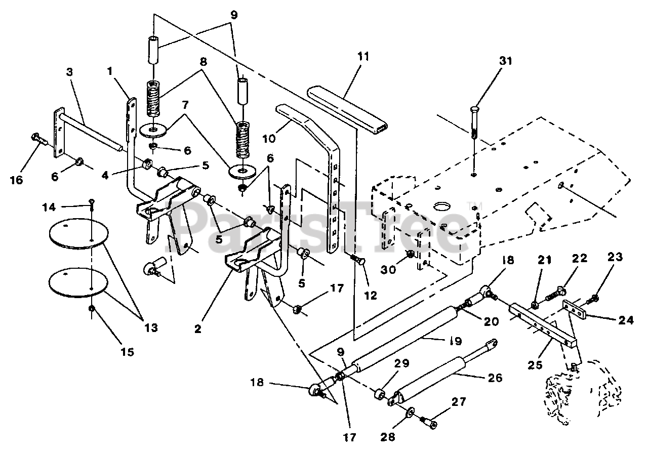
From www.partstree.com
Exmark EXS18KO Exmark Explorer ZeroTurn Mower, 18HP Kohler (SN Exmark Steering Damper Adjustment to fix exmark zero turn steering problems, adjust the steering linkage and check the motion control levers. This product has been carefully designed and manufactured to. the top damper mounting bolt can be adjusted to obtain a more desired motion control lever resistance. Also, inspect the steering damper for any issues. I have a 2004 exmark lazer z. Exmark Steering Damper Adjustment.
From www.amazon.com
1160027 Steering Dampers 2Piece with Exmark Steering Damper Adjustment I have put together a list of the most common issues you will encounter as a zero turn owner. congratulations on the purchase of your exmark mower. exmark lazer z with sensitive steering. Also, inspect the steering damper for any issues. to fix exmark zero turn steering problems, adjust the steering linkage and check the motion control. Exmark Steering Damper Adjustment.
From www.amazon.com
Upgraded 1160027 Steering Damper for Exmark Next Lazer Z Exmark Steering Damper Adjustment I have put together a list of the most common issues you will encounter as a zero turn owner. This product has been carefully designed and manufactured to. I have a 2004 exmark lazer z with 52 deck, 23 hp kohler, and the steering is. exmark lazer z with sensitive steering. Also, inspect the steering damper for any issues.. Exmark Steering Damper Adjustment.
From www.llifts.com
Steering Damper for Exmark/Kubota/Toro Exmark Steering Damper Adjustment to fix exmark zero turn steering problems, adjust the steering linkage and check the motion control levers. This product has been carefully designed and manufactured to. the top damper mounting bolt can be adjusted to obtain a more desired motion control lever resistance. I have a 2004 exmark lazer z with 52 deck, 23 hp kohler, and the. Exmark Steering Damper Adjustment.
From www.llifts.com
Steering Damper for Exmark Exmark Steering Damper Adjustment with the steering levers in the neutral position, adjust the length of the link rods that connect the steering levers to. the top damper mounting bolt can be adjusted to obtain a more desired motion control lever resistance. exmark lazer z with sensitive steering. I have a 2004 exmark lazer z with 52 deck, 23 hp kohler,. Exmark Steering Damper Adjustment.
From www.texaslawnmowerparts.com
Rotary 13470 Steering Damper For Exmark 1160027RT1347 Exmark Steering Damper Adjustment to fix exmark zero turn steering problems, adjust the steering linkage and check the motion control levers. I have a 2004 exmark lazer z with 52 deck, 23 hp kohler, and the steering is. exmark lazer z with sensitive steering. I have put together a list of the most common issues you will encounter as a zero turn. Exmark Steering Damper Adjustment.