Expansion Joint Motion . Despite the name, expansion joints normally do not expand during operation. expansion joints are predetermined gaps in building structures designed to allow for environmental movement. an expansion joint is a connecting element between two structures that facilitates their movement during thermal expansion and contraction. a pipe expansion joint plays a crucial role in managing the thermal expansion and contraction of piping systems. expansion joints are sometimes misunderstood. Expansion joints are connecting elements between decks or between the deck and the abutment with the. expansion joints allow movement in the compression, extension, lateral, torsional and angular directions and absorb the thermal stresses.
from free-resources.anatomystuff.co.uk
an expansion joint is a connecting element between two structures that facilitates their movement during thermal expansion and contraction. Expansion joints are connecting elements between decks or between the deck and the abutment with the. expansion joints are sometimes misunderstood. expansion joints allow movement in the compression, extension, lateral, torsional and angular directions and absorb the thermal stresses. Despite the name, expansion joints normally do not expand during operation. a pipe expansion joint plays a crucial role in managing the thermal expansion and contraction of piping systems. expansion joints are predetermined gaps in building structures designed to allow for environmental movement.
Hand & Wrist Anatomy Motion & Structures AnatomyStuff
Expansion Joint Motion an expansion joint is a connecting element between two structures that facilitates their movement during thermal expansion and contraction. an expansion joint is a connecting element between two structures that facilitates their movement during thermal expansion and contraction. expansion joints allow movement in the compression, extension, lateral, torsional and angular directions and absorb the thermal stresses. expansion joints are predetermined gaps in building structures designed to allow for environmental movement. expansion joints are sometimes misunderstood. a pipe expansion joint plays a crucial role in managing the thermal expansion and contraction of piping systems. Expansion joints are connecting elements between decks or between the deck and the abutment with the. Despite the name, expansion joints normally do not expand during operation.
From issuu.com
4 Different Types of Expansion Joints & Their Specifications by Expansion Joint Motion Despite the name, expansion joints normally do not expand during operation. expansion joints allow movement in the compression, extension, lateral, torsional and angular directions and absorb the thermal stresses. expansion joints are predetermined gaps in building structures designed to allow for environmental movement. Expansion joints are connecting elements between decks or between the deck and the abutment with. Expansion Joint Motion.
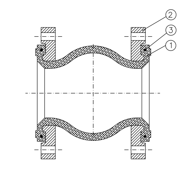
From motionfluid.co.nz
Metallic Single Expansion Joint Motion Fluid Solutions Expansion Joint Motion Despite the name, expansion joints normally do not expand during operation. expansion joints allow movement in the compression, extension, lateral, torsional and angular directions and absorb the thermal stresses. expansion joints are predetermined gaps in building structures designed to allow for environmental movement. Expansion joints are connecting elements between decks or between the deck and the abutment with. Expansion Joint Motion.
From learningtechnologyofficial.com
Difference Between Construction Joints, Expansion Joints, and Expansion Joint Motion expansion joints are sometimes misunderstood. Expansion joints are connecting elements between decks or between the deck and the abutment with the. Despite the name, expansion joints normally do not expand during operation. expansion joints are predetermined gaps in building structures designed to allow for environmental movement. expansion joints allow movement in the compression, extension, lateral, torsional and. Expansion Joint Motion.
From www.youtube.com
All you need to know about Expansion Joint YouTube Expansion Joint Motion an expansion joint is a connecting element between two structures that facilitates their movement during thermal expansion and contraction. Expansion joints are connecting elements between decks or between the deck and the abutment with the. expansion joints allow movement in the compression, extension, lateral, torsional and angular directions and absorb the thermal stresses. expansion joints are predetermined. Expansion Joint Motion.
From courses.lumenlearning.com
Types of Body Movements Anatomy and Physiology I Expansion Joint Motion an expansion joint is a connecting element between two structures that facilitates their movement during thermal expansion and contraction. expansion joints allow movement in the compression, extension, lateral, torsional and angular directions and absorb the thermal stresses. expansion joints are predetermined gaps in building structures designed to allow for environmental movement. a pipe expansion joint plays. Expansion Joint Motion.
From www.penflex.com
Expansion Joints and Metal Bellows Products Penflex Expansion Joint Motion expansion joints are predetermined gaps in building structures designed to allow for environmental movement. an expansion joint is a connecting element between two structures that facilitates their movement during thermal expansion and contraction. Despite the name, expansion joints normally do not expand during operation. expansion joints are sometimes misunderstood. expansion joints allow movement in the compression,. Expansion Joint Motion.
From unitech-ikk.com
Architectural Expansion Joints Architectural and Finishing Solutions Expansion Joint Motion expansion joints are predetermined gaps in building structures designed to allow for environmental movement. expansion joints are sometimes misunderstood. expansion joints allow movement in the compression, extension, lateral, torsional and angular directions and absorb the thermal stresses. a pipe expansion joint plays a crucial role in managing the thermal expansion and contraction of piping systems. . Expansion Joint Motion.
From njmeishuo.en.made-in-china.com
Safety in Motion Dynamic Building Expansion Joint Covers China Wall Expansion Joint Motion expansion joints are predetermined gaps in building structures designed to allow for environmental movement. Expansion joints are connecting elements between decks or between the deck and the abutment with the. a pipe expansion joint plays a crucial role in managing the thermal expansion and contraction of piping systems. expansion joints are sometimes misunderstood. expansion joints allow. Expansion Joint Motion.
From www.ceramictilefoundation.org
Why Do You Need Expansion Joints When Installing Tile? Expansion Joint Motion an expansion joint is a connecting element between two structures that facilitates their movement during thermal expansion and contraction. a pipe expansion joint plays a crucial role in managing the thermal expansion and contraction of piping systems. expansion joints are predetermined gaps in building structures designed to allow for environmental movement. expansion joints allow movement in. Expansion Joint Motion.
From www.iqsdirectory.com
Expansion Joints Types, Characteristics, Uses & Benefits Expansion Joint Motion Despite the name, expansion joints normally do not expand during operation. expansion joints are sometimes misunderstood. expansion joints allow movement in the compression, extension, lateral, torsional and angular directions and absorb the thermal stresses. an expansion joint is a connecting element between two structures that facilitates their movement during thermal expansion and contraction. a pipe expansion. Expansion Joint Motion.
From motionfluid.co.nz
Teflon Expansion Joints Motion Fluid Solutions Expansion Joint Motion an expansion joint is a connecting element between two structures that facilitates their movement during thermal expansion and contraction. expansion joints are sometimes misunderstood. expansion joints allow movement in the compression, extension, lateral, torsional and angular directions and absorb the thermal stresses. expansion joints are predetermined gaps in building structures designed to allow for environmental movement.. Expansion Joint Motion.
From freyssinet.co.uk
What is an expansion joint? Expansion Joint Motion expansion joints allow movement in the compression, extension, lateral, torsional and angular directions and absorb the thermal stresses. Despite the name, expansion joints normally do not expand during operation. a pipe expansion joint plays a crucial role in managing the thermal expansion and contraction of piping systems. an expansion joint is a connecting element between two structures. Expansion Joint Motion.
From www.iqsdirectory.com
Expansion Joints Types, Characteristics, Uses & Benefits Expansion Joint Motion Expansion joints are connecting elements between decks or between the deck and the abutment with the. an expansion joint is a connecting element between two structures that facilitates their movement during thermal expansion and contraction. expansion joints allow movement in the compression, extension, lateral, torsional and angular directions and absorb the thermal stresses. Despite the name, expansion joints. Expansion Joint Motion.
From www.iqsdirectory.com
Expansion Joints Types, Characteristics, Uses & Benefits Expansion Joint Motion Despite the name, expansion joints normally do not expand during operation. expansion joints allow movement in the compression, extension, lateral, torsional and angular directions and absorb the thermal stresses. a pipe expansion joint plays a crucial role in managing the thermal expansion and contraction of piping systems. expansion joints are sometimes misunderstood. expansion joints are predetermined. Expansion Joint Motion.
From www.iqsdirectory.com
Expansion Joints Types, Characteristics, Uses & Benefits Expansion Joint Motion expansion joints are predetermined gaps in building structures designed to allow for environmental movement. a pipe expansion joint plays a crucial role in managing the thermal expansion and contraction of piping systems. an expansion joint is a connecting element between two structures that facilitates their movement during thermal expansion and contraction. Despite the name, expansion joints normally. Expansion Joint Motion.
From www.lat-works.com
Wall Expansion Joints How Create Movement Joint Lat Works Expansion Joint Motion expansion joints allow movement in the compression, extension, lateral, torsional and angular directions and absorb the thermal stresses. an expansion joint is a connecting element between two structures that facilitates their movement during thermal expansion and contraction. Expansion joints are connecting elements between decks or between the deck and the abutment with the. expansion joints are predetermined. Expansion Joint Motion.
From philschatz.com
Types of Body Movements · Anatomy and Physiology Expansion Joint Motion an expansion joint is a connecting element between two structures that facilitates their movement during thermal expansion and contraction. Despite the name, expansion joints normally do not expand during operation. expansion joints allow movement in the compression, extension, lateral, torsional and angular directions and absorb the thermal stresses. Expansion joints are connecting elements between decks or between the. Expansion Joint Motion.
From www.iqsdirectory.com
Expansion Joints Types, Characteristics, Uses & Benefits Expansion Joint Motion an expansion joint is a connecting element between two structures that facilitates their movement during thermal expansion and contraction. Despite the name, expansion joints normally do not expand during operation. expansion joints are predetermined gaps in building structures designed to allow for environmental movement. expansion joints allow movement in the compression, extension, lateral, torsional and angular directions. Expansion Joint Motion.
From archi-monarch.in
EXPANSION JOINT DETAIL THREE ⋆ ArchiMonarch Expansion Joint Motion Expansion joints are connecting elements between decks or between the deck and the abutment with the. expansion joints allow movement in the compression, extension, lateral, torsional and angular directions and absorb the thermal stresses. a pipe expansion joint plays a crucial role in managing the thermal expansion and contraction of piping systems. expansion joints are sometimes misunderstood.. Expansion Joint Motion.
From almanaratain.com
Control Joint Vs Expansion Joint What's The Difference? Expansion Joint Motion Expansion joints are connecting elements between decks or between the deck and the abutment with the. a pipe expansion joint plays a crucial role in managing the thermal expansion and contraction of piping systems. an expansion joint is a connecting element between two structures that facilitates their movement during thermal expansion and contraction. expansion joints are sometimes. Expansion Joint Motion.
From supplier.lv
Expansion joint Expansion Joint Motion expansion joints are sometimes misunderstood. Expansion joints are connecting elements between decks or between the deck and the abutment with the. Despite the name, expansion joints normally do not expand during operation. an expansion joint is a connecting element between two structures that facilitates their movement during thermal expansion and contraction. expansion joints are predetermined gaps in. Expansion Joint Motion.
From www.iqsdirectory.com
Expansion Joints Types, Characteristics, Uses & Benefits Expansion Joint Motion a pipe expansion joint plays a crucial role in managing the thermal expansion and contraction of piping systems. expansion joints are sometimes misunderstood. Expansion joints are connecting elements between decks or between the deck and the abutment with the. expansion joints allow movement in the compression, extension, lateral, torsional and angular directions and absorb the thermal stresses.. Expansion Joint Motion.
From www.nursinghero.com
Types of Body Movements Anatomy and Physiology I Study Guides Expansion Joint Motion Despite the name, expansion joints normally do not expand during operation. an expansion joint is a connecting element between two structures that facilitates their movement during thermal expansion and contraction. a pipe expansion joint plays a crucial role in managing the thermal expansion and contraction of piping systems. Expansion joints are connecting elements between decks or between the. Expansion Joint Motion.
From www.mit-ivy.com
News What Is An Expansion Joint? In Which Areas Is It Applied? Expansion Joint Motion expansion joints allow movement in the compression, extension, lateral, torsional and angular directions and absorb the thermal stresses. Expansion joints are connecting elements between decks or between the deck and the abutment with the. expansion joints are sometimes misunderstood. a pipe expansion joint plays a crucial role in managing the thermal expansion and contraction of piping systems.. Expansion Joint Motion.
From www.coursehero.com
Types of Body Movements Anatomy and Physiology I Course Hero Expansion Joint Motion an expansion joint is a connecting element between two structures that facilitates their movement during thermal expansion and contraction. expansion joints are predetermined gaps in building structures designed to allow for environmental movement. Expansion joints are connecting elements between decks or between the deck and the abutment with the. a pipe expansion joint plays a crucial role. Expansion Joint Motion.
From slidetodoc.com
CHAPTER 5 RIGID PAVEMENT Characteristic of Rigid Pavement Expansion Joint Motion expansion joints allow movement in the compression, extension, lateral, torsional and angular directions and absorb the thermal stresses. Expansion joints are connecting elements between decks or between the deck and the abutment with the. an expansion joint is a connecting element between two structures that facilitates their movement during thermal expansion and contraction. expansion joints are predetermined. Expansion Joint Motion.
From www.eagleburgmann.com.au
D Type expansion joints EN Expansion Joint Motion Expansion joints are connecting elements between decks or between the deck and the abutment with the. a pipe expansion joint plays a crucial role in managing the thermal expansion and contraction of piping systems. expansion joints allow movement in the compression, extension, lateral, torsional and angular directions and absorb the thermal stresses. expansion joints are sometimes misunderstood.. Expansion Joint Motion.
From www.youtube.com
Expansion Joints Concrete Expansion Joints What is Expansion Joint Expansion Joint Motion an expansion joint is a connecting element between two structures that facilitates their movement during thermal expansion and contraction. a pipe expansion joint plays a crucial role in managing the thermal expansion and contraction of piping systems. expansion joints are sometimes misunderstood. expansion joints are predetermined gaps in building structures designed to allow for environmental movement.. Expansion Joint Motion.
From free-resources.anatomystuff.co.uk
Hand & Wrist Anatomy Motion & Structures AnatomyStuff Expansion Joint Motion a pipe expansion joint plays a crucial role in managing the thermal expansion and contraction of piping systems. expansion joints allow movement in the compression, extension, lateral, torsional and angular directions and absorb the thermal stresses. an expansion joint is a connecting element between two structures that facilitates their movement during thermal expansion and contraction. Despite the. Expansion Joint Motion.
From www.iqs.co.th
การเลือกใช้ Expansion Joint ในอุตสาหกรรม Expansion Joint Motion an expansion joint is a connecting element between two structures that facilitates their movement during thermal expansion and contraction. Expansion joints are connecting elements between decks or between the deck and the abutment with the. a pipe expansion joint plays a crucial role in managing the thermal expansion and contraction of piping systems. expansion joints are predetermined. Expansion Joint Motion.
From www.ayvaz.com
Ayvaz Expansion Joints, Axial Type, Lateral Type, External Expansion Joint Motion expansion joints are predetermined gaps in building structures designed to allow for environmental movement. Expansion joints are connecting elements between decks or between the deck and the abutment with the. a pipe expansion joint plays a crucial role in managing the thermal expansion and contraction of piping systems. Despite the name, expansion joints normally do not expand during. Expansion Joint Motion.
From www.iqsdirectory.com
Expansion Joints Types, Characteristics, Uses & Benefits Expansion Joint Motion expansion joints are sometimes misunderstood. expansion joints are predetermined gaps in building structures designed to allow for environmental movement. expansion joints allow movement in the compression, extension, lateral, torsional and angular directions and absorb the thermal stresses. an expansion joint is a connecting element between two structures that facilitates their movement during thermal expansion and contraction.. Expansion Joint Motion.
From www.procoproducts.com
Correctly Choosing and Installing Expansion Joints PROCO Expansion Joint Motion a pipe expansion joint plays a crucial role in managing the thermal expansion and contraction of piping systems. Despite the name, expansion joints normally do not expand during operation. an expansion joint is a connecting element between two structures that facilitates their movement during thermal expansion and contraction. Expansion joints are connecting elements between decks or between the. Expansion Joint Motion.
From www.re-thinkingthefuture.com
Expansion joint in buildings Everything you should know RTF Expansion Joint Motion Despite the name, expansion joints normally do not expand during operation. an expansion joint is a connecting element between two structures that facilitates their movement during thermal expansion and contraction. Expansion joints are connecting elements between decks or between the deck and the abutment with the. expansion joints are predetermined gaps in building structures designed to allow for. Expansion Joint Motion.
From blog.chasecorp.com
The Ultimate Guide to Understand Expansion Joints Types Expansion Joint Motion a pipe expansion joint plays a crucial role in managing the thermal expansion and contraction of piping systems. Expansion joints are connecting elements between decks or between the deck and the abutment with the. expansion joints are sometimes misunderstood. expansion joints allow movement in the compression, extension, lateral, torsional and angular directions and absorb the thermal stresses.. Expansion Joint Motion.