Barometric Pressure Circuit High . The cost of fixing this. The diagnosis involves checking the sensor and its wiring for. Learn about the causes and symptoms of p0108, a generic powertrain code that indicates a high voltage reading from the map sensor. Find possible solutions and related dtc. The p0108 code is a diagnostic trouble code that indicates a problem with the manifold absolute pressure (map) sensor. The p0108 diagnostic trouble code (dtc) indicates that there is a high input signal from the manifold. The automobile fault code p2227 indicates a problem with the barometric pressure circuit range or performance. If you encounter the p2229 trouble code, it indicates a high electrical value detected in the barometric pressure sensor a circuit.this sensor plays an important role in measuring atmospheric pressure, which is essential for determining the correct fuel mixtures in your vehicle. The p2229 code stands for “barometric pressure sensor a high,” which means the powertrain control module (pcm) senses a high electrical reading from the barometric pressure. The key to understanding this code lies in grasping how sensor calibration and atmospheric variations can impact. The estimated repair time for this fault code is 1.0 hour. The fault code p2229 indicates a problem with the barometric pressure sensor circuit.
from hxeiifurp.blob.core.windows.net
The automobile fault code p2227 indicates a problem with the barometric pressure circuit range or performance. The diagnosis involves checking the sensor and its wiring for. The fault code p2229 indicates a problem with the barometric pressure sensor circuit. The estimated repair time for this fault code is 1.0 hour. The key to understanding this code lies in grasping how sensor calibration and atmospheric variations can impact. Find possible solutions and related dtc. If you encounter the p2229 trouble code, it indicates a high electrical value detected in the barometric pressure sensor a circuit.this sensor plays an important role in measuring atmospheric pressure, which is essential for determining the correct fuel mixtures in your vehicle. The p0108 code is a diagnostic trouble code that indicates a problem with the manifold absolute pressure (map) sensor. The p0108 diagnostic trouble code (dtc) indicates that there is a high input signal from the manifold. The p2229 code stands for “barometric pressure sensor a high,” which means the powertrain control module (pcm) senses a high electrical reading from the barometric pressure.
Barometric Pressure Switch at Daryl Cunningham blog
Barometric Pressure Circuit High The p2229 code stands for “barometric pressure sensor a high,” which means the powertrain control module (pcm) senses a high electrical reading from the barometric pressure. The cost of fixing this. The fault code p2229 indicates a problem with the barometric pressure sensor circuit. The diagnosis involves checking the sensor and its wiring for. The p0108 diagnostic trouble code (dtc) indicates that there is a high input signal from the manifold. Learn about the causes and symptoms of p0108, a generic powertrain code that indicates a high voltage reading from the map sensor. The estimated repair time for this fault code is 1.0 hour. The automobile fault code p2227 indicates a problem with the barometric pressure circuit range or performance. If you encounter the p2229 trouble code, it indicates a high electrical value detected in the barometric pressure sensor a circuit.this sensor plays an important role in measuring atmospheric pressure, which is essential for determining the correct fuel mixtures in your vehicle. Find possible solutions and related dtc. The key to understanding this code lies in grasping how sensor calibration and atmospheric variations can impact. The p2229 code stands for “barometric pressure sensor a high,” which means the powertrain control module (pcm) senses a high electrical reading from the barometric pressure. The p0108 code is a diagnostic trouble code that indicates a problem with the manifold absolute pressure (map) sensor.
From mitsubishitechinfo.com
13DTC P2228 Barometric Pressure Circuit Low Input Barometric Pressure Circuit High The cost of fixing this. The p2229 code stands for “barometric pressure sensor a high,” which means the powertrain control module (pcm) senses a high electrical reading from the barometric pressure. Find possible solutions and related dtc. The automobile fault code p2227 indicates a problem with the barometric pressure circuit range or performance. The fault code p2229 indicates a problem. Barometric Pressure Circuit High.
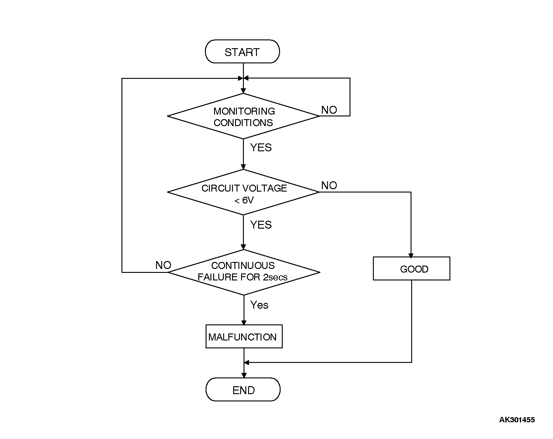
From www.youcanic.com
VW P0108 Code Manifold Air Pressure (MAP) Barometric Pressure Sensor Barometric Pressure Circuit High The p2229 code stands for “barometric pressure sensor a high,” which means the powertrain control module (pcm) senses a high electrical reading from the barometric pressure. The automobile fault code p2227 indicates a problem with the barometric pressure circuit range or performance. The estimated repair time for this fault code is 1.0 hour. The p0108 diagnostic trouble code (dtc) indicates. Barometric Pressure Circuit High.
From themotorguy.com
P0106 OBDII Trouble Code Manifold Air Pressure (MAP) Barometric Barometric Pressure Circuit High If you encounter the p2229 trouble code, it indicates a high electrical value detected in the barometric pressure sensor a circuit.this sensor plays an important role in measuring atmospheric pressure, which is essential for determining the correct fuel mixtures in your vehicle. The fault code p2229 indicates a problem with the barometric pressure sensor circuit. Find possible solutions and related. Barometric Pressure Circuit High.
From opposite-lock.com
Barometric Pressure Circuit Range/Performance Come for the cars, stay Barometric Pressure Circuit High The cost of fixing this. The estimated repair time for this fault code is 1.0 hour. Find possible solutions and related dtc. The p2229 code stands for “barometric pressure sensor a high,” which means the powertrain control module (pcm) senses a high electrical reading from the barometric pressure. The p0108 diagnostic trouble code (dtc) indicates that there is a high. Barometric Pressure Circuit High.
From mitsubishitechinfo.com
13ADTC P2229 Barometric Pressure Circuit High Input Barometric Pressure Circuit High The automobile fault code p2227 indicates a problem with the barometric pressure circuit range or performance. The p2229 code stands for “barometric pressure sensor a high,” which means the powertrain control module (pcm) senses a high electrical reading from the barometric pressure. The fault code p2229 indicates a problem with the barometric pressure sensor circuit. The cost of fixing this.. Barometric Pressure Circuit High.
From car-problems-fix.com
Fix P0109 Guide to Manifold/Barometric Pressure Circuit Barometric Pressure Circuit High The p0108 code is a diagnostic trouble code that indicates a problem with the manifold absolute pressure (map) sensor. The cost of fixing this. The diagnosis involves checking the sensor and its wiring for. If you encounter the p2229 trouble code, it indicates a high electrical value detected in the barometric pressure sensor a circuit.this sensor plays an important role. Barometric Pressure Circuit High.
From www.blog-teknisi.com
SPN 108 FMI 4 (Fault Code 222) Blog.Teknisi Barometric Pressure Circuit High The automobile fault code p2227 indicates a problem with the barometric pressure circuit range or performance. The p0108 code is a diagnostic trouble code that indicates a problem with the manifold absolute pressure (map) sensor. Find possible solutions and related dtc. The p2229 code stands for “barometric pressure sensor a high,” which means the powertrain control module (pcm) senses a. Barometric Pressure Circuit High.
From hxeiifurp.blob.core.windows.net
Barometric Pressure Switch at Daryl Cunningham blog Barometric Pressure Circuit High The p0108 code is a diagnostic trouble code that indicates a problem with the manifold absolute pressure (map) sensor. The p0108 diagnostic trouble code (dtc) indicates that there is a high input signal from the manifold. Find possible solutions and related dtc. If you encounter the p2229 trouble code, it indicates a high electrical value detected in the barometric pressure. Barometric Pressure Circuit High.
From symbolpic.blogspot.com
P2227 Barometric Pressure Circuit Range Performance symbol Barometric Pressure Circuit High The p0108 code is a diagnostic trouble code that indicates a problem with the manifold absolute pressure (map) sensor. The diagnosis involves checking the sensor and its wiring for. If you encounter the p2229 trouble code, it indicates a high electrical value detected in the barometric pressure sensor a circuit.this sensor plays an important role in measuring atmospheric pressure, which. Barometric Pressure Circuit High.
From www.youtube.com
P0106 Mainfold Absolute Pressure / Barometric Pressure circuit Range Barometric Pressure Circuit High The automobile fault code p2227 indicates a problem with the barometric pressure circuit range or performance. The fault code p2229 indicates a problem with the barometric pressure sensor circuit. The p2229 code stands for “barometric pressure sensor a high,” which means the powertrain control module (pcm) senses a high electrical reading from the barometric pressure. Learn about the causes and. Barometric Pressure Circuit High.
From www.nrgsystems.com
BP20 Barometric Pressure Sensor Barometric Pressure Circuit High The estimated repair time for this fault code is 1.0 hour. The p0108 code is a diagnostic trouble code that indicates a problem with the manifold absolute pressure (map) sensor. The key to understanding this code lies in grasping how sensor calibration and atmospheric variations can impact. The p0108 diagnostic trouble code (dtc) indicates that there is a high input. Barometric Pressure Circuit High.
From mitsubishitechinfo.com
13DTC P2227 Barometric Pressure Circuit Range/Performance Problem Barometric Pressure Circuit High The p0108 code is a diagnostic trouble code that indicates a problem with the manifold absolute pressure (map) sensor. If you encounter the p2229 trouble code, it indicates a high electrical value detected in the barometric pressure sensor a circuit.this sensor plays an important role in measuring atmospheric pressure, which is essential for determining the correct fuel mixtures in your. Barometric Pressure Circuit High.
From mitsubishitechinfo.com
13ADTC P0108 Manifold Absolute Pressure Circuit High Input Barometric Pressure Circuit High The automobile fault code p2227 indicates a problem with the barometric pressure circuit range or performance. If you encounter the p2229 trouble code, it indicates a high electrical value detected in the barometric pressure sensor a circuit.this sensor plays an important role in measuring atmospheric pressure, which is essential for determining the correct fuel mixtures in your vehicle. The diagnosis. Barometric Pressure Circuit High.
From 12geeks.com
BMP180 Barometric Pressure/Temperature/Altitude Sensor 5V ready Barometric Pressure Circuit High The p0108 code is a diagnostic trouble code that indicates a problem with the manifold absolute pressure (map) sensor. The estimated repair time for this fault code is 1.0 hour. If you encounter the p2229 trouble code, it indicates a high electrical value detected in the barometric pressure sensor a circuit.this sensor plays an important role in measuring atmospheric pressure,. Barometric Pressure Circuit High.
From ceporvrx.blob.core.windows.net
Barometric Pressure Engine Fault at Tracy Ferguson blog Barometric Pressure Circuit High The cost of fixing this. Find possible solutions and related dtc. The diagnosis involves checking the sensor and its wiring for. If you encounter the p2229 trouble code, it indicates a high electrical value detected in the barometric pressure sensor a circuit.this sensor plays an important role in measuring atmospheric pressure, which is essential for determining the correct fuel mixtures. Barometric Pressure Circuit High.
From www.blog-teknisi.com
Atmospheric/ Barometric Pressure Voltage High Diagnostic Code SPN Barometric Pressure Circuit High The cost of fixing this. The key to understanding this code lies in grasping how sensor calibration and atmospheric variations can impact. The p0108 diagnostic trouble code (dtc) indicates that there is a high input signal from the manifold. Find possible solutions and related dtc. The estimated repair time for this fault code is 1.0 hour. The automobile fault code. Barometric Pressure Circuit High.
From www.homemade-circuits.com
Barometric Pressure Sensor Circuit Working and Interfacing Details Barometric Pressure Circuit High The p2229 code stands for “barometric pressure sensor a high,” which means the powertrain control module (pcm) senses a high electrical reading from the barometric pressure. The cost of fixing this. If you encounter the p2229 trouble code, it indicates a high electrical value detected in the barometric pressure sensor a circuit.this sensor plays an important role in measuring atmospheric. Barometric Pressure Circuit High.
From mitsubishitechinfo.com
13DTC P2229 Barometric Pressure Circuit High Input Barometric Pressure Circuit High The key to understanding this code lies in grasping how sensor calibration and atmospheric variations can impact. The automobile fault code p2227 indicates a problem with the barometric pressure circuit range or performance. Learn about the causes and symptoms of p0108, a generic powertrain code that indicates a high voltage reading from the map sensor. The diagnosis involves checking the. Barometric Pressure Circuit High.
From www.subaruforester.org
('09'13) 2009 SH P0108 manifold absolute pressure barometric Barometric Pressure Circuit High The p0108 diagnostic trouble code (dtc) indicates that there is a high input signal from the manifold. The p2229 code stands for “barometric pressure sensor a high,” which means the powertrain control module (pcm) senses a high electrical reading from the barometric pressure. If you encounter the p2229 trouble code, it indicates a high electrical value detected in the barometric. Barometric Pressure Circuit High.
From obdvietnam.vn
P2229 Barometric pressure circuit high Mạch áp suất khí quyển cao Barometric Pressure Circuit High The p0108 code is a diagnostic trouble code that indicates a problem with the manifold absolute pressure (map) sensor. The estimated repair time for this fault code is 1.0 hour. The key to understanding this code lies in grasping how sensor calibration and atmospheric variations can impact. The fault code p2229 indicates a problem with the barometric pressure sensor circuit.. Barometric Pressure Circuit High.
From www.blog-teknisi.com
SPN 108 FMI 3 (Fault Code 221) Blog.Teknisi Barometric Pressure Circuit High The fault code p2229 indicates a problem with the barometric pressure sensor circuit. Find possible solutions and related dtc. The automobile fault code p2227 indicates a problem with the barometric pressure circuit range or performance. The estimated repair time for this fault code is 1.0 hour. The p0108 diagnostic trouble code (dtc) indicates that there is a high input signal. Barometric Pressure Circuit High.
From fixenginekeehoonsg.z13.web.core.windows.net
P0108 Manifold Absolute Pressure/barometric Pressure Circuit Barometric Pressure Circuit High The key to understanding this code lies in grasping how sensor calibration and atmospheric variations can impact. The p0108 diagnostic trouble code (dtc) indicates that there is a high input signal from the manifold. The automobile fault code p2227 indicates a problem with the barometric pressure circuit range or performance. The p0108 code is a diagnostic trouble code that indicates. Barometric Pressure Circuit High.
From www.youtube.com
How to fix p0105 manifold absolute pressure/barometric pressure circuit Barometric Pressure Circuit High The p0108 code is a diagnostic trouble code that indicates a problem with the manifold absolute pressure (map) sensor. Learn about the causes and symptoms of p0108, a generic powertrain code that indicates a high voltage reading from the map sensor. Find possible solutions and related dtc. The automobile fault code p2227 indicates a problem with the barometric pressure circuit. Barometric Pressure Circuit High.
From sciencing.com
What Is a High or Low Reading in Barometric Pressure? Sciencing Barometric Pressure Circuit High The diagnosis involves checking the sensor and its wiring for. The p0108 code is a diagnostic trouble code that indicates a problem with the manifold absolute pressure (map) sensor. The fault code p2229 indicates a problem with the barometric pressure sensor circuit. The estimated repair time for this fault code is 1.0 hour. Find possible solutions and related dtc. If. Barometric Pressure Circuit High.
From www.samarins.com
P0106 Manifold Absolute Pressure/Barometric Pressure Circuit Range Barometric Pressure Circuit High The key to understanding this code lies in grasping how sensor calibration and atmospheric variations can impact. The automobile fault code p2227 indicates a problem with the barometric pressure circuit range or performance. The p2229 code stands for “barometric pressure sensor a high,” which means the powertrain control module (pcm) senses a high electrical reading from the barometric pressure. The. Barometric Pressure Circuit High.
From studylib.net
Global Average Barometric Pressure January Barometric Pressure Circuit High Find possible solutions and related dtc. The diagnosis involves checking the sensor and its wiring for. The p2229 code stands for “barometric pressure sensor a high,” which means the powertrain control module (pcm) senses a high electrical reading from the barometric pressure. The cost of fixing this. The automobile fault code p2227 indicates a problem with the barometric pressure circuit. Barometric Pressure Circuit High.
From mitsubishitechinfo.com
13DTC P2229 Barometric Pressure Circuit High Input Barometric Pressure Circuit High The p0108 code is a diagnostic trouble code that indicates a problem with the manifold absolute pressure (map) sensor. The estimated repair time for this fault code is 1.0 hour. Learn about the causes and symptoms of p0108, a generic powertrain code that indicates a high voltage reading from the map sensor. The p2229 code stands for “barometric pressure sensor. Barometric Pressure Circuit High.
From rlx.sk
BMP390 High Precision Barometric Pressure Sensor, Barometric Pressure Barometric Pressure Circuit High The p0108 code is a diagnostic trouble code that indicates a problem with the manifold absolute pressure (map) sensor. The cost of fixing this. Learn about the causes and symptoms of p0108, a generic powertrain code that indicates a high voltage reading from the map sensor. The p2229 code stands for “barometric pressure sensor a high,” which means the powertrain. Barometric Pressure Circuit High.
From www.carparts.com
P2229 Code Barometric Pressure Sensor A High In The Garage with Barometric Pressure Circuit High The automobile fault code p2227 indicates a problem with the barometric pressure circuit range or performance. If you encounter the p2229 trouble code, it indicates a high electrical value detected in the barometric pressure sensor a circuit.this sensor plays an important role in measuring atmospheric pressure, which is essential for determining the correct fuel mixtures in your vehicle. The key. Barometric Pressure Circuit High.
From www.youtube.com
DODGE JOURNEY CODE P0108 MANIFOLD ABSOLUTE PRESSURE BAROMETRIC PRESSURE Barometric Pressure Circuit High The diagnosis involves checking the sensor and its wiring for. The automobile fault code p2227 indicates a problem with the barometric pressure circuit range or performance. The key to understanding this code lies in grasping how sensor calibration and atmospheric variations can impact. The p0108 diagnostic trouble code (dtc) indicates that there is a high input signal from the manifold.. Barometric Pressure Circuit High.
From www.youcanic.com
VW P0108 Code Manifold Air Pressure (MAP) Barometric Pressure Sensor Barometric Pressure Circuit High The p0108 diagnostic trouble code (dtc) indicates that there is a high input signal from the manifold. The fault code p2229 indicates a problem with the barometric pressure sensor circuit. The estimated repair time for this fault code is 1.0 hour. The key to understanding this code lies in grasping how sensor calibration and atmospheric variations can impact. If you. Barometric Pressure Circuit High.
From www.subaruforester.org
('09'13) 2009 SH P0108 manifold absolute pressure barometric Barometric Pressure Circuit High The cost of fixing this. The p0108 code is a diagnostic trouble code that indicates a problem with the manifold absolute pressure (map) sensor. Learn about the causes and symptoms of p0108, a generic powertrain code that indicates a high voltage reading from the map sensor. Find possible solutions and related dtc. If you encounter the p2229 trouble code, it. Barometric Pressure Circuit High.
From www.subaruforester.org
('09'13) 2009 SH P0108 manifold absolute pressure barometric Barometric Pressure Circuit High Find possible solutions and related dtc. Learn about the causes and symptoms of p0108, a generic powertrain code that indicates a high voltage reading from the map sensor. The automobile fault code p2227 indicates a problem with the barometric pressure circuit range or performance. The estimated repair time for this fault code is 1.0 hour. The fault code p2229 indicates. Barometric Pressure Circuit High.
From www.circuitbasics.com
How to Set Up the BMP180 Barometric Pressure Sensor on an Arduino Barometric Pressure Circuit High The p2229 code stands for “barometric pressure sensor a high,” which means the powertrain control module (pcm) senses a high electrical reading from the barometric pressure. The key to understanding this code lies in grasping how sensor calibration and atmospheric variations can impact. Learn about the causes and symptoms of p0108, a generic powertrain code that indicates a high voltage. Barometric Pressure Circuit High.
From www.youtube.com
CODE P0108 MANIFOLD ABSOLUTE PRESSURE BAROMETRIC PRESSURE CIRCUIT HIGH Barometric Pressure Circuit High Find possible solutions and related dtc. The p0108 code is a diagnostic trouble code that indicates a problem with the manifold absolute pressure (map) sensor. The diagnosis involves checking the sensor and its wiring for. The p0108 diagnostic trouble code (dtc) indicates that there is a high input signal from the manifold. Learn about the causes and symptoms of p0108,. Barometric Pressure Circuit High.