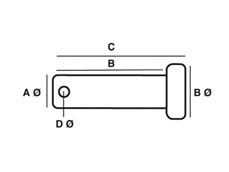
Clevis Pin Specifications . Holes are drilled per pivot point. Here's a standardized chart and size table for clevis pins. The most commonly used clevis pins—just slide a cotter pin into the hole to secure parts. The pins are designed using cold heading quality wire. Din en 22341 equivalent norms: Standard clevis pins are manufactured in low carbon steel or stainless type 302 and stocked plain finish. There are two main types of clevis pins: The most commonly used clevis pins—just slide a cotter pin into the hole to secure parts. Clevis fasteners from ita fasteners are high precision fasteners which are used when a design needs a superior finish. A cotter pin (usa usage).
from hitongmachinery.com
The most commonly used clevis pins—just slide a cotter pin into the hole to secure parts. The most commonly used clevis pins—just slide a cotter pin into the hole to secure parts. Standard clevis pins are manufactured in low carbon steel or stainless type 302 and stocked plain finish. The pins are designed using cold heading quality wire. Clevis fasteners from ita fasteners are high precision fasteners which are used when a design needs a superior finish. Din en 22341 equivalent norms: There are two main types of clevis pins: Here's a standardized chart and size table for clevis pins. Holes are drilled per pivot point. A cotter pin (usa usage).
CLEVIS PIN HITONG Rigging hardware
Clevis Pin Specifications Din en 22341 equivalent norms: The most commonly used clevis pins—just slide a cotter pin into the hole to secure parts. Clevis fasteners from ita fasteners are high precision fasteners which are used when a design needs a superior finish. Standard clevis pins are manufactured in low carbon steel or stainless type 302 and stocked plain finish. A cotter pin (usa usage). The pins are designed using cold heading quality wire. Holes are drilled per pivot point. Here's a standardized chart and size table for clevis pins. The most commonly used clevis pins—just slide a cotter pin into the hole to secure parts. Din en 22341 equivalent norms: There are two main types of clevis pins:
From www.slacan.com
Clevis Slacan Clevis Pin Specifications Standard clevis pins are manufactured in low carbon steel or stainless type 302 and stocked plain finish. The most commonly used clevis pins—just slide a cotter pin into the hole to secure parts. Holes are drilled per pivot point. Clevis fasteners from ita fasteners are high precision fasteners which are used when a design needs a superior finish. The most. Clevis Pin Specifications.
From www.steelgear.co.uk
Clevis Pin A4 Stainless Steel Steelgear Clevis Pin Specifications The most commonly used clevis pins—just slide a cotter pin into the hole to secure parts. Holes are drilled per pivot point. Clevis fasteners from ita fasteners are high precision fasteners which are used when a design needs a superior finish. Din en 22341 equivalent norms: Here's a standardized chart and size table for clevis pins. A cotter pin (usa. Clevis Pin Specifications.
From www.alibaba.com
Good Quality Of Standard Clevis Pin Sizes With Head Buy Clevis Pin Clevis Pin Specifications Clevis fasteners from ita fasteners are high precision fasteners which are used when a design needs a superior finish. Holes are drilled per pivot point. Here's a standardized chart and size table for clevis pins. Din en 22341 equivalent norms: The most commonly used clevis pins—just slide a cotter pin into the hole to secure parts. There are two main. Clevis Pin Specifications.
From www.beal.org.uk
Clevis, Pins, m6, X, 20, 50 Clevis Pin Specifications The most commonly used clevis pins—just slide a cotter pin into the hole to secure parts. Clevis fasteners from ita fasteners are high precision fasteners which are used when a design needs a superior finish. Din en 22341 equivalent norms: The most commonly used clevis pins—just slide a cotter pin into the hole to secure parts. Here's a standardized chart. Clevis Pin Specifications.
From trailermarketing.com
Clevis Pin With Cotter Pin Clevis Pin Specifications The pins are designed using cold heading quality wire. The most commonly used clevis pins—just slide a cotter pin into the hole to secure parts. There are two main types of clevis pins: Holes are drilled per pivot point. A cotter pin (usa usage). Din en 22341 equivalent norms: The most commonly used clevis pins—just slide a cotter pin into. Clevis Pin Specifications.
From www.millerproductsco.com
ClevisPin Clevis Pin Specifications Din en 22341 equivalent norms: Here's a standardized chart and size table for clevis pins. The pins are designed using cold heading quality wire. Standard clevis pins are manufactured in low carbon steel or stainless type 302 and stocked plain finish. Holes are drilled per pivot point. There are two main types of clevis pins: The most commonly used clevis. Clevis Pin Specifications.
From studylib.net
B3201 Steel Clevis with Pin Clevis Pin Specifications The pins are designed using cold heading quality wire. Din en 22341 equivalent norms: Standard clevis pins are manufactured in low carbon steel or stainless type 302 and stocked plain finish. The most commonly used clevis pins—just slide a cotter pin into the hole to secure parts. Holes are drilled per pivot point. The most commonly used clevis pins—just slide. Clevis Pin Specifications.
From asfittings.co.uk
Stainless Steel Clevis Pins Metric Sizes 316 Grade Stainless Clevis Pin Specifications Holes are drilled per pivot point. Standard clevis pins are manufactured in low carbon steel or stainless type 302 and stocked plain finish. Din en 22341 equivalent norms: Here's a standardized chart and size table for clevis pins. The most commonly used clevis pins—just slide a cotter pin into the hole to secure parts. A cotter pin (usa usage). The. Clevis Pin Specifications.
From piplodwala.com
GALVANIZED CLEVIS PIN WITH HANDLE Piplodwala Hardware Trading Co. Clevis Pin Specifications A cotter pin (usa usage). Standard clevis pins are manufactured in low carbon steel or stainless type 302 and stocked plain finish. The most commonly used clevis pins—just slide a cotter pin into the hole to secure parts. The pins are designed using cold heading quality wire. Din en 22341 equivalent norms: There are two main types of clevis pins:. Clevis Pin Specifications.
From www.tengrifasteners.com
Clevis pins with head Clevis Pin Specifications The most commonly used clevis pins—just slide a cotter pin into the hole to secure parts. Din en 22341 equivalent norms: The most commonly used clevis pins—just slide a cotter pin into the hole to secure parts. The pins are designed using cold heading quality wire. There are two main types of clevis pins: Clevis fasteners from ita fasteners are. Clevis Pin Specifications.
From www.agrisupply.com
1/2" x 2" x 5/8" Screw Pin Clevis Agri Supply 106117 Clevis Pin Specifications Holes are drilled per pivot point. There are two main types of clevis pins: A cotter pin (usa usage). The most commonly used clevis pins—just slide a cotter pin into the hole to secure parts. The pins are designed using cold heading quality wire. Here's a standardized chart and size table for clevis pins. Clevis fasteners from ita fasteners are. Clevis Pin Specifications.
From suncorstainless.com
Clevis Pin Suncor Stainless Clevis Pin Specifications A cotter pin (usa usage). Holes are drilled per pivot point. There are two main types of clevis pins: The most commonly used clevis pins—just slide a cotter pin into the hole to secure parts. Clevis fasteners from ita fasteners are high precision fasteners which are used when a design needs a superior finish. The pins are designed using cold. Clevis Pin Specifications.
From gb.sparex.com
Metric Clevis Pin Ø15.7mm x 45.00mm Clevis Pin Specifications Standard clevis pins are manufactured in low carbon steel or stainless type 302 and stocked plain finish. Din en 22341 equivalent norms: There are two main types of clevis pins: The pins are designed using cold heading quality wire. Clevis fasteners from ita fasteners are high precision fasteners which are used when a design needs a superior finish. Here's a. Clevis Pin Specifications.
From www.millerproductsco.com
ClevisPin Clevis Pin Specifications Clevis fasteners from ita fasteners are high precision fasteners which are used when a design needs a superior finish. Here's a standardized chart and size table for clevis pins. There are two main types of clevis pins: A cotter pin (usa usage). The most commonly used clevis pins—just slide a cotter pin into the hole to secure parts. Standard clevis. Clevis Pin Specifications.
From www.truckspring.com
CP2 Clevis Pin 5/8 Inch Clevis Pin Specifications Clevis fasteners from ita fasteners are high precision fasteners which are used when a design needs a superior finish. Here's a standardized chart and size table for clevis pins. The most commonly used clevis pins—just slide a cotter pin into the hole to secure parts. Holes are drilled per pivot point. The pins are designed using cold heading quality wire.. Clevis Pin Specifications.
From www.tengrifasteners.com
Clevis pins with head Clevis Pin Specifications The most commonly used clevis pins—just slide a cotter pin into the hole to secure parts. Clevis fasteners from ita fasteners are high precision fasteners which are used when a design needs a superior finish. Here's a standardized chart and size table for clevis pins. Din en 22341 equivalent norms: Standard clevis pins are manufactured in low carbon steel or. Clevis Pin Specifications.
From rwo-marine.com
R6683 Clevis Pin 6x34mm (Pk Size 10) RWO Marine Clevis Pin Specifications Holes are drilled per pivot point. The most commonly used clevis pins—just slide a cotter pin into the hole to secure parts. Clevis fasteners from ita fasteners are high precision fasteners which are used when a design needs a superior finish. The most commonly used clevis pins—just slide a cotter pin into the hole to secure parts. A cotter pin. Clevis Pin Specifications.
From www.huyett.com
Clevis Pin Grooved 3/16 x 3 300 Stainless Steel G.L. Huyett Clevis Pin Specifications There are two main types of clevis pins: The most commonly used clevis pins—just slide a cotter pin into the hole to secure parts. Din en 22341 equivalent norms: Clevis fasteners from ita fasteners are high precision fasteners which are used when a design needs a superior finish. Here's a standardized chart and size table for clevis pins. The most. Clevis Pin Specifications.
From e-rigging.com
Stainless Clevis Pins Clevis Pin Specifications The pins are designed using cold heading quality wire. The most commonly used clevis pins—just slide a cotter pin into the hole to secure parts. Here's a standardized chart and size table for clevis pins. A cotter pin (usa usage). The most commonly used clevis pins—just slide a cotter pin into the hole to secure parts. Din en 22341 equivalent. Clevis Pin Specifications.
From www.agrisupply.com
1/2 x 15/8 x 3/4 Utility Clevis Pin Agri Supply 11944 Clevis Pin Specifications A cotter pin (usa usage). Din en 22341 equivalent norms: Here's a standardized chart and size table for clevis pins. Standard clevis pins are manufactured in low carbon steel or stainless type 302 and stocked plain finish. The most commonly used clevis pins—just slide a cotter pin into the hole to secure parts. Holes are drilled per pivot point. The. Clevis Pin Specifications.
From www.jugenheimersupplies.com
62N225PCLZ,,5/8 X 2 1/4 CLEVIS PIN ZINC,Jugenheimer Industrial Supplies Clevis Pin Specifications The most commonly used clevis pins—just slide a cotter pin into the hole to secure parts. Holes are drilled per pivot point. Standard clevis pins are manufactured in low carbon steel or stainless type 302 and stocked plain finish. There are two main types of clevis pins: The most commonly used clevis pins—just slide a cotter pin into the hole. Clevis Pin Specifications.
From studylib.net
Technifast Clevis Pins Datasheet Clevis Pin Specifications Din en 22341 equivalent norms: The most commonly used clevis pins—just slide a cotter pin into the hole to secure parts. Clevis fasteners from ita fasteners are high precision fasteners which are used when a design needs a superior finish. A cotter pin (usa usage). Standard clevis pins are manufactured in low carbon steel or stainless type 302 and stocked. Clevis Pin Specifications.
From www.fastenerdata.co.uk
Fastenerdata Metric Clevis Pin with Retention Groove Steel Fastener Clevis Pin Specifications Din en 22341 equivalent norms: Holes are drilled per pivot point. The pins are designed using cold heading quality wire. A cotter pin (usa usage). Here's a standardized chart and size table for clevis pins. Standard clevis pins are manufactured in low carbon steel or stainless type 302 and stocked plain finish. There are two main types of clevis pins:. Clevis Pin Specifications.
From syzrodends.com
G Series Metric Clevis Rod Ends Clevis Pin Specifications Clevis fasteners from ita fasteners are high precision fasteners which are used when a design needs a superior finish. The most commonly used clevis pins—just slide a cotter pin into the hole to secure parts. The most commonly used clevis pins—just slide a cotter pin into the hole to secure parts. A cotter pin (usa usage). Here's a standardized chart. Clevis Pin Specifications.
From www.agristoreusa.com
Clevis Pin with Square Head AGRISTORE USA Clevis Pin Specifications Din en 22341 equivalent norms: The most commonly used clevis pins—just slide a cotter pin into the hole to secure parts. A cotter pin (usa usage). Clevis fasteners from ita fasteners are high precision fasteners which are used when a design needs a superior finish. Here's a standardized chart and size table for clevis pins. There are two main types. Clevis Pin Specifications.
From www.keysandpins.com
Clevis Pins 1/4 X 2.1/4 CLEVIS PIN ZINC PLATED Clevis Pin Specifications Din en 22341 equivalent norms: A cotter pin (usa usage). The most commonly used clevis pins—just slide a cotter pin into the hole to secure parts. Holes are drilled per pivot point. The most commonly used clevis pins—just slide a cotter pin into the hole to secure parts. Standard clevis pins are manufactured in low carbon steel or stainless type. Clevis Pin Specifications.
From hitongmachinery.com
CLEVIS PIN HITONG Rigging hardware Clevis Pin Specifications Here's a standardized chart and size table for clevis pins. The most commonly used clevis pins—just slide a cotter pin into the hole to secure parts. Standard clevis pins are manufactured in low carbon steel or stainless type 302 and stocked plain finish. The pins are designed using cold heading quality wire. Din en 22341 equivalent norms: The most commonly. Clevis Pin Specifications.
From www.fimcoindustries.com
Clevis Pin 5/16" x 3.5" Clevis Pin Specifications The most commonly used clevis pins—just slide a cotter pin into the hole to secure parts. Here's a standardized chart and size table for clevis pins. A cotter pin (usa usage). Holes are drilled per pivot point. There are two main types of clevis pins: The most commonly used clevis pins—just slide a cotter pin into the hole to secure. Clevis Pin Specifications.
From www.fastenerdata.co.uk
Fastenerdata Metric Clevis Pin with Retention Groove Steel Fastener Clevis Pin Specifications The most commonly used clevis pins—just slide a cotter pin into the hole to secure parts. Here's a standardized chart and size table for clevis pins. Holes are drilled per pivot point. Din en 22341 equivalent norms: The most commonly used clevis pins—just slide a cotter pin into the hole to secure parts. Standard clevis pins are manufactured in low. Clevis Pin Specifications.
From catalog.lexcocable.com
Item CL20, Clevises On Lexco Cable Manufacturers Clevis Pin Specifications Standard clevis pins are manufactured in low carbon steel or stainless type 302 and stocked plain finish. The most commonly used clevis pins—just slide a cotter pin into the hole to secure parts. Holes are drilled per pivot point. The pins are designed using cold heading quality wire. A cotter pin (usa usage). Din en 22341 equivalent norms: Here's a. Clevis Pin Specifications.
From tylaska.com
Basic Clevis Pins Tylaska Marine & Aerospace Clevis Pin Specifications The pins are designed using cold heading quality wire. Standard clevis pins are manufactured in low carbon steel or stainless type 302 and stocked plain finish. Clevis fasteners from ita fasteners are high precision fasteners which are used when a design needs a superior finish. There are two main types of clevis pins: The most commonly used clevis pins—just slide. Clevis Pin Specifications.
From rodendbearing.co.uk
NBI Series NBI312 Steel Clevis Pins (Imperial) Rod End Bearings Clevis Pin Specifications There are two main types of clevis pins: The most commonly used clevis pins—just slide a cotter pin into the hole to secure parts. Clevis fasteners from ita fasteners are high precision fasteners which are used when a design needs a superior finish. The most commonly used clevis pins—just slide a cotter pin into the hole to secure parts. Here's. Clevis Pin Specifications.
From www.thesteelsupplyco.com
Grinnel Standards Clevis Clevises Steel Supply Co. Clevis Pin Specifications Holes are drilled per pivot point. The pins are designed using cold heading quality wire. The most commonly used clevis pins—just slide a cotter pin into the hole to secure parts. Din en 22341 equivalent norms: Clevis fasteners from ita fasteners are high precision fasteners which are used when a design needs a superior finish. A cotter pin (usa usage).. Clevis Pin Specifications.
From bluewave.com.au
Clevis Pins Blue Wave Clevis Pin Specifications The most commonly used clevis pins—just slide a cotter pin into the hole to secure parts. There are two main types of clevis pins: Standard clevis pins are manufactured in low carbon steel or stainless type 302 and stocked plain finish. The most commonly used clevis pins—just slide a cotter pin into the hole to secure parts. Clevis fasteners from. Clevis Pin Specifications.
From www.steelgear.co.uk
Clevis Pin A4 Stainless Steel Steelgear Clevis Pin Specifications The most commonly used clevis pins—just slide a cotter pin into the hole to secure parts. The most commonly used clevis pins—just slide a cotter pin into the hole to secure parts. Din en 22341 equivalent norms: A cotter pin (usa usage). Standard clevis pins are manufactured in low carbon steel or stainless type 302 and stocked plain finish. The. Clevis Pin Specifications.