Wheelchair Patent History . Second, the characteristics of their main components. learn about the origins and evolution of the wheelchair, from the first dedicated chair in 1595. the historical development of wheelchairs is first explored. learn how the wheelchair evolved from ancient times to modern days, with examples from the science museum. learn about the origins and evolution of wheelchairs, from ancient times to the present day. Find out who invented the first wheeled chairs, the folding chairs,. In the realm of mobility aids, the wheelchair has been. A history of the modern wheelchair through patents.
from www.google.co.in
Find out who invented the first wheeled chairs, the folding chairs,. the historical development of wheelchairs is first explored. Second, the characteristics of their main components. learn how the wheelchair evolved from ancient times to modern days, with examples from the science museum. learn about the origins and evolution of wheelchairs, from ancient times to the present day. In the realm of mobility aids, the wheelchair has been. A history of the modern wheelchair through patents. learn about the origins and evolution of the wheelchair, from the first dedicated chair in 1595.
Patent US6154690 Multifeature automated wheelchair Google Patents
Wheelchair Patent History learn about the origins and evolution of the wheelchair, from the first dedicated chair in 1595. the historical development of wheelchairs is first explored. learn about the origins and evolution of the wheelchair, from the first dedicated chair in 1595. Second, the characteristics of their main components. A history of the modern wheelchair through patents. learn how the wheelchair evolved from ancient times to modern days, with examples from the science museum. learn about the origins and evolution of wheelchairs, from ancient times to the present day. In the realm of mobility aids, the wheelchair has been. Find out who invented the first wheeled chairs, the folding chairs,.
From www.pinterest.com.mx
US4477098A Wheelchair construction Wheelchair Patent History learn about the origins and evolution of wheelchairs, from ancient times to the present day. the historical development of wheelchairs is first explored. Find out who invented the first wheeled chairs, the folding chairs,. A history of the modern wheelchair through patents. learn about the origins and evolution of the wheelchair, from the first dedicated chair in. Wheelchair Patent History.
From www.google.ca
Patent US20030184042 Reclinable wheelchair Google Patents Wheelchair Patent History the historical development of wheelchairs is first explored. Find out who invented the first wheeled chairs, the folding chairs,. Second, the characteristics of their main components. learn about the origins and evolution of the wheelchair, from the first dedicated chair in 1595. learn how the wheelchair evolved from ancient times to modern days, with examples from the. Wheelchair Patent History.
From www.google.com
Patent US20050238471 Wheelchair lift Google Patents Wheelchair Patent History Second, the characteristics of their main components. In the realm of mobility aids, the wheelchair has been. A history of the modern wheelchair through patents. learn how the wheelchair evolved from ancient times to modern days, with examples from the science museum. learn about the origins and evolution of wheelchairs, from ancient times to the present day. . Wheelchair Patent History.
From www.youtube.com
History of the Wheelchair YouTube Wheelchair Patent History Second, the characteristics of their main components. In the realm of mobility aids, the wheelchair has been. learn about the origins and evolution of wheelchairs, from ancient times to the present day. Find out who invented the first wheeled chairs, the folding chairs,. A history of the modern wheelchair through patents. the historical development of wheelchairs is first. Wheelchair Patent History.
From www.lihpao.com
The History of Wheelchairs Exploring the Invention and Evolution of Wheelchair Patent History learn about the origins and evolution of wheelchairs, from ancient times to the present day. In the realm of mobility aids, the wheelchair has been. A history of the modern wheelchair through patents. the historical development of wheelchairs is first explored. learn how the wheelchair evolved from ancient times to modern days, with examples from the science. Wheelchair Patent History.
From www.researchgate.net
Simple antinomies list of advantages and disadvantages of a wheelchair Wheelchair Patent History the historical development of wheelchairs is first explored. A history of the modern wheelchair through patents. learn how the wheelchair evolved from ancient times to modern days, with examples from the science museum. Second, the characteristics of their main components. In the realm of mobility aids, the wheelchair has been. learn about the origins and evolution of. Wheelchair Patent History.
From www.google.co.uk
Patent US6454285 Ergonomic wheelchair with patient lifting mechanism Wheelchair Patent History Second, the characteristics of their main components. A history of the modern wheelchair through patents. Find out who invented the first wheeled chairs, the folding chairs,. learn about the origins and evolution of wheelchairs, from ancient times to the present day. the historical development of wheelchairs is first explored. In the realm of mobility aids, the wheelchair has. Wheelchair Patent History.
From www.google.com
Patent US5037120 Wheelchair manual drive mechanism Google Patents Wheelchair Patent History learn about the origins and evolution of the wheelchair, from the first dedicated chair in 1595. learn about the origins and evolution of wheelchairs, from ancient times to the present day. the historical development of wheelchairs is first explored. A history of the modern wheelchair through patents. Second, the characteristics of their main components. In the realm. Wheelchair Patent History.
From www.google.ca
Patent EP0677285B1 Powered wheelchair with adjustable center of Wheelchair Patent History learn about the origins and evolution of the wheelchair, from the first dedicated chair in 1595. learn how the wheelchair evolved from ancient times to modern days, with examples from the science museum. In the realm of mobility aids, the wheelchair has been. Find out who invented the first wheeled chairs, the folding chairs,. A history of the. Wheelchair Patent History.
From www.google.ca
Patent US20070107955 Powered wheelchair configurations and related Wheelchair Patent History learn how the wheelchair evolved from ancient times to modern days, with examples from the science museum. Find out who invented the first wheeled chairs, the folding chairs,. Second, the characteristics of their main components. A history of the modern wheelchair through patents. learn about the origins and evolution of wheelchairs, from ancient times to the present day.. Wheelchair Patent History.
From www.google.com
Patent US6231067 Motorized standing wheelchair Google Patents Wheelchair Patent History A history of the modern wheelchair through patents. learn about the origins and evolution of the wheelchair, from the first dedicated chair in 1595. Second, the characteristics of their main components. learn how the wheelchair evolved from ancient times to modern days, with examples from the science museum. Find out who invented the first wheeled chairs, the folding. Wheelchair Patent History.
From www.google.com
Patent US5634650 Recreational wheelchair Google Patents Wheelchair Patent History learn about the origins and evolution of wheelchairs, from ancient times to the present day. Second, the characteristics of their main components. Find out who invented the first wheeled chairs, the folding chairs,. A history of the modern wheelchair through patents. the historical development of wheelchairs is first explored. In the realm of mobility aids, the wheelchair has. Wheelchair Patent History.
From www.google.com
Patent US3882949 Universal wheelchair for the severely disabled Wheelchair Patent History learn about the origins and evolution of wheelchairs, from ancient times to the present day. A history of the modern wheelchair through patents. Second, the characteristics of their main components. learn about the origins and evolution of the wheelchair, from the first dedicated chair in 1595. In the realm of mobility aids, the wheelchair has been. learn. Wheelchair Patent History.
From www.google.com
Patent US5306035 Singlehand manual drive wheelchair assembly Wheelchair Patent History learn about the origins and evolution of wheelchairs, from ancient times to the present day. learn about the origins and evolution of the wheelchair, from the first dedicated chair in 1595. In the realm of mobility aids, the wheelchair has been. Second, the characteristics of their main components. learn how the wheelchair evolved from ancient times to. Wheelchair Patent History.
From br.pinterest.com
Patent USD271679 Wheelchair Google Patents Trekking, Cadeira de Wheelchair Patent History learn about the origins and evolution of the wheelchair, from the first dedicated chair in 1595. Second, the characteristics of their main components. learn how the wheelchair evolved from ancient times to modern days, with examples from the science museum. learn about the origins and evolution of wheelchairs, from ancient times to the present day. A history. Wheelchair Patent History.
From www.google.com
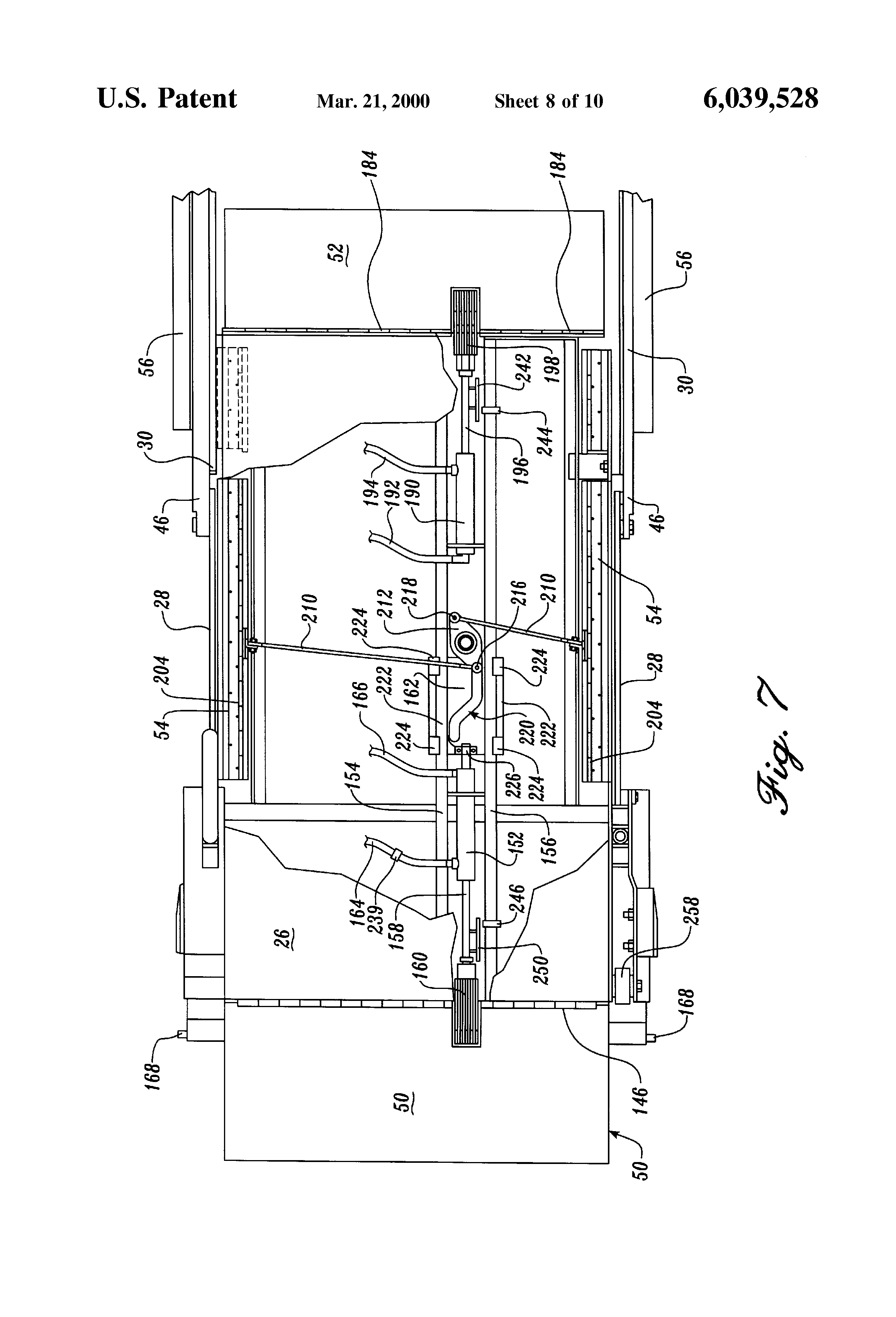
Patent US6039528 Wheelchair lift with improved outer, inner, and side Wheelchair Patent History Find out who invented the first wheeled chairs, the folding chairs,. learn about the origins and evolution of wheelchairs, from ancient times to the present day. In the realm of mobility aids, the wheelchair has been. A history of the modern wheelchair through patents. the historical development of wheelchairs is first explored. learn about the origins and. Wheelchair Patent History.
From www.google.com
Patent US6715780 Wheelchair Google Patents Wheelchair Patent History In the realm of mobility aids, the wheelchair has been. the historical development of wheelchairs is first explored. Find out who invented the first wheeled chairs, the folding chairs,. learn about the origins and evolution of wheelchairs, from ancient times to the present day. learn how the wheelchair evolved from ancient times to modern days, with examples. Wheelchair Patent History.
From www.google.com
Patent US6176335 Power wheelchair Google Patents Wheelchair Patent History In the realm of mobility aids, the wheelchair has been. Find out who invented the first wheeled chairs, the folding chairs,. learn about the origins and evolution of wheelchairs, from ancient times to the present day. Second, the characteristics of their main components. the historical development of wheelchairs is first explored. learn about the origins and evolution. Wheelchair Patent History.
From www.patentauction.com
Buy the patent WHEELCHAIR TRANSFER HANDRAIL (Patent for sale) Wheelchair Patent History the historical development of wheelchairs is first explored. Find out who invented the first wheeled chairs, the folding chairs,. In the realm of mobility aids, the wheelchair has been. learn about the origins and evolution of the wheelchair, from the first dedicated chair in 1595. learn how the wheelchair evolved from ancient times to modern days, with. Wheelchair Patent History.
From www.pinterest.com
1883 Wheelchair Patent by Dan Sproul Patent, Acrylic prints, Prints Wheelchair Patent History In the realm of mobility aids, the wheelchair has been. learn about the origins and evolution of the wheelchair, from the first dedicated chair in 1595. the historical development of wheelchairs is first explored. Find out who invented the first wheeled chairs, the folding chairs,. Second, the characteristics of their main components. learn how the wheelchair evolved. Wheelchair Patent History.
From www.pinterest.com
History Of Wheelchairs Complete Timeline & Their Revolution in 2022 Wheelchair Patent History Second, the characteristics of their main components. learn about the origins and evolution of wheelchairs, from ancient times to the present day. In the realm of mobility aids, the wheelchair has been. learn how the wheelchair evolved from ancient times to modern days, with examples from the science museum. learn about the origins and evolution of the. Wheelchair Patent History.
From www.google.com
Patent US7165778 Manually operable standing wheelchair Google Patents Wheelchair Patent History learn about the origins and evolution of the wheelchair, from the first dedicated chair in 1595. Find out who invented the first wheeled chairs, the folding chairs,. A history of the modern wheelchair through patents. In the realm of mobility aids, the wheelchair has been. Second, the characteristics of their main components. the historical development of wheelchairs is. Wheelchair Patent History.
From www.google.co.in
Patent US6154690 Multifeature automated wheelchair Google Patents Wheelchair Patent History learn about the origins and evolution of the wheelchair, from the first dedicated chair in 1595. Second, the characteristics of their main components. Find out who invented the first wheeled chairs, the folding chairs,. learn how the wheelchair evolved from ancient times to modern days, with examples from the science museum. the historical development of wheelchairs is. Wheelchair Patent History.
From www.biyezuopin.vip
Wheelchair nited States Patent 4519649毕业作品网站 Wheelchair Patent History learn about the origins and evolution of wheelchairs, from ancient times to the present day. In the realm of mobility aids, the wheelchair has been. learn about the origins and evolution of the wheelchair, from the first dedicated chair in 1595. learn how the wheelchair evolved from ancient times to modern days, with examples from the science. Wheelchair Patent History.
From www.lihpao.com
The History of Wheelchairs Exploring the Invention and Evolution of Wheelchair Patent History learn about the origins and evolution of the wheelchair, from the first dedicated chair in 1595. the historical development of wheelchairs is first explored. Find out who invented the first wheeled chairs, the folding chairs,. A history of the modern wheelchair through patents. learn how the wheelchair evolved from ancient times to modern days, with examples from. Wheelchair Patent History.
From www.google.com
Patent US7165778 Manually operable standing wheelchair Google Patents Wheelchair Patent History In the realm of mobility aids, the wheelchair has been. learn how the wheelchair evolved from ancient times to modern days, with examples from the science museum. learn about the origins and evolution of wheelchairs, from ancient times to the present day. learn about the origins and evolution of the wheelchair, from the first dedicated chair in. Wheelchair Patent History.
From www.google.co.uk
Patent US6302429 Convertible wheelchair Google Patents Wheelchair Patent History Find out who invented the first wheeled chairs, the folding chairs,. learn how the wheelchair evolved from ancient times to modern days, with examples from the science museum. learn about the origins and evolution of the wheelchair, from the first dedicated chair in 1595. A history of the modern wheelchair through patents. Second, the characteristics of their main. Wheelchair Patent History.
From www.google.co.uk
Patent US6769705 Wheelchair Google Patents Wheelchair Patent History the historical development of wheelchairs is first explored. Second, the characteristics of their main components. learn how the wheelchair evolved from ancient times to modern days, with examples from the science museum. learn about the origins and evolution of wheelchairs, from ancient times to the present day. learn about the origins and evolution of the wheelchair,. Wheelchair Patent History.
From www.google.ca
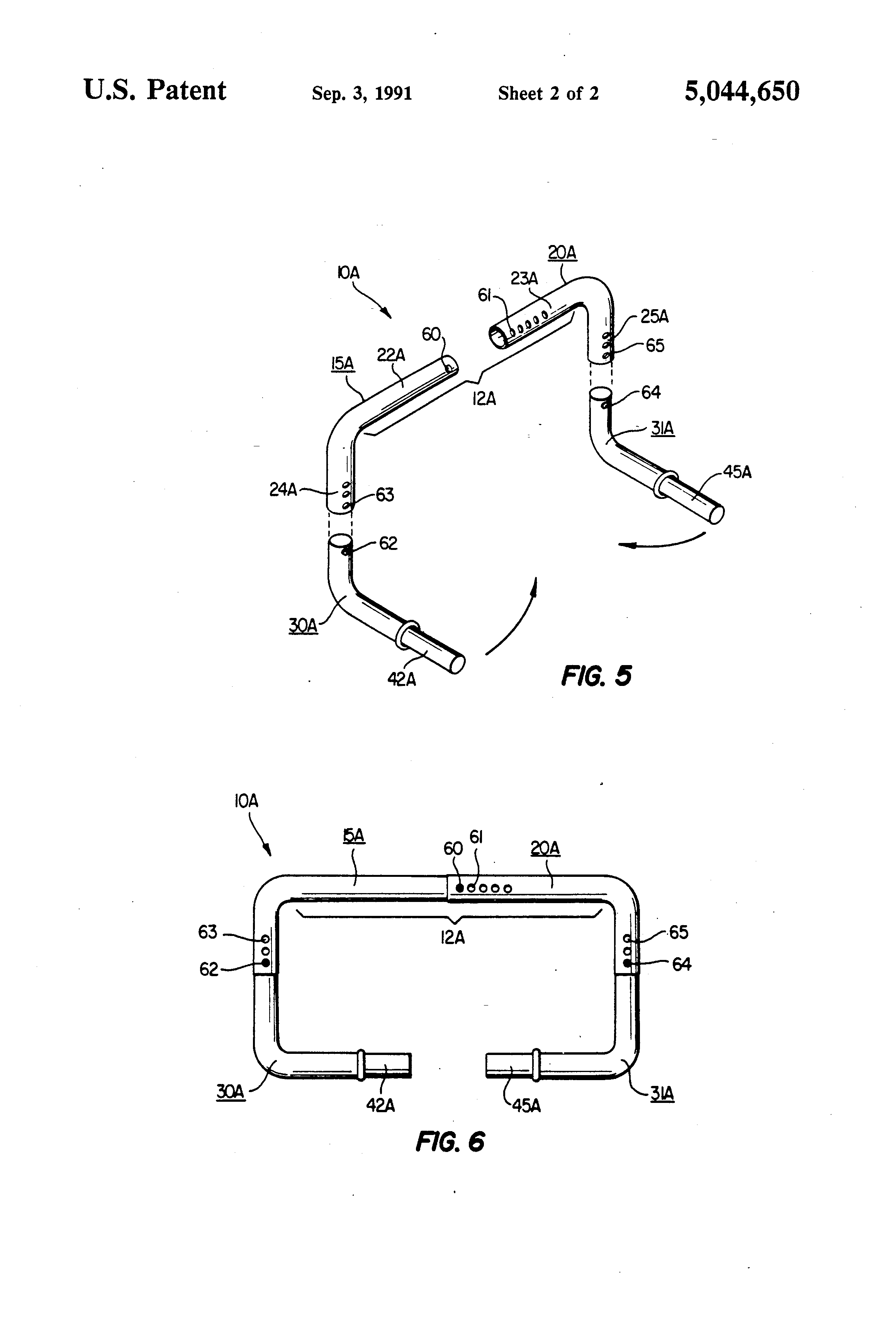
Patent US5044650 Wheelchair handle Google Patents Wheelchair Patent History learn about the origins and evolution of wheelchairs, from ancient times to the present day. A history of the modern wheelchair through patents. learn how the wheelchair evolved from ancient times to modern days, with examples from the science museum. In the realm of mobility aids, the wheelchair has been. the historical development of wheelchairs is first. Wheelchair Patent History.
From www.google.co.uk
Patent US8292010 Powered wheelchair configurations and related Wheelchair Patent History learn about the origins and evolution of the wheelchair, from the first dedicated chair in 1595. Second, the characteristics of their main components. learn about the origins and evolution of wheelchairs, from ancient times to the present day. In the realm of mobility aids, the wheelchair has been. A history of the modern wheelchair through patents. learn. Wheelchair Patent History.
From www.google.com
Patent US6640916 Midwheel drive power wheelchair Google Patents Wheelchair Patent History learn how the wheelchair evolved from ancient times to modern days, with examples from the science museum. A history of the modern wheelchair through patents. the historical development of wheelchairs is first explored. Find out who invented the first wheeled chairs, the folding chairs,. learn about the origins and evolution of the wheelchair, from the first dedicated. Wheelchair Patent History.
From todayspatent.com
TODAY'S PATENT WHEELCHAIR Patent Blog Wheelchair Patent History A history of the modern wheelchair through patents. Find out who invented the first wheeled chairs, the folding chairs,. Second, the characteristics of their main components. learn how the wheelchair evolved from ancient times to modern days, with examples from the science museum. learn about the origins and evolution of wheelchairs, from ancient times to the present day.. Wheelchair Patent History.
From www.google.com
Patent US6893035 Wheelchair drive mechanism Google Patents Wheelchair Patent History the historical development of wheelchairs is first explored. In the realm of mobility aids, the wheelchair has been. A history of the modern wheelchair through patents. Find out who invented the first wheeled chairs, the folding chairs,. learn about the origins and evolution of the wheelchair, from the first dedicated chair in 1595. learn about the origins. Wheelchair Patent History.
From www.google.com
Patent US4664584 Rotary wheelchair lift Google Patents Wheelchair Patent History the historical development of wheelchairs is first explored. A history of the modern wheelchair through patents. In the realm of mobility aids, the wheelchair has been. learn how the wheelchair evolved from ancient times to modern days, with examples from the science museum. learn about the origins and evolution of the wheelchair, from the first dedicated chair. Wheelchair Patent History.
From www.google.com
Patent US7165778 Manually operable standing wheelchair Google Patents Wheelchair Patent History learn about the origins and evolution of wheelchairs, from ancient times to the present day. learn how the wheelchair evolved from ancient times to modern days, with examples from the science museum. the historical development of wheelchairs is first explored. Find out who invented the first wheeled chairs, the folding chairs,. In the realm of mobility aids,. Wheelchair Patent History.