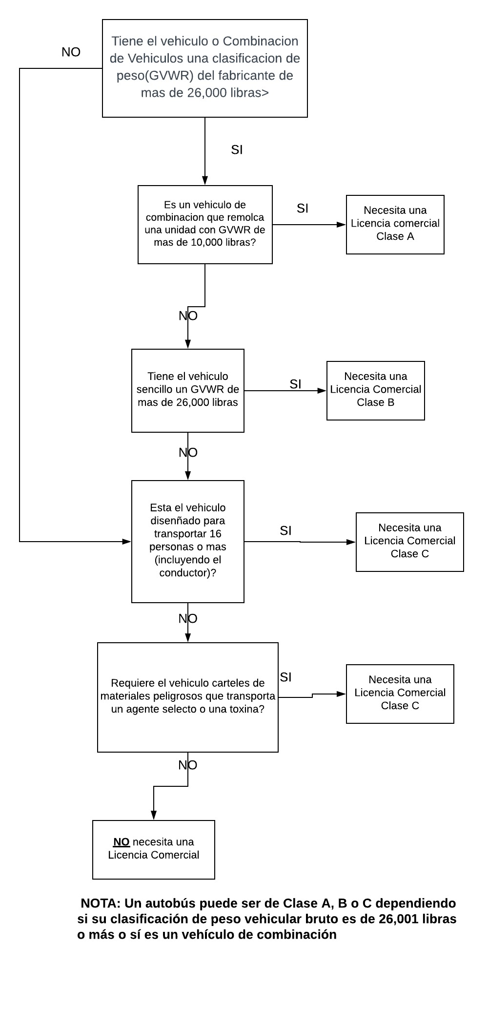
Como Sacar La Cdl En Texas . Schedule an appointment online or find a third party. el manual de la cdl y revise el proceso de tres pasos para las pruebas: Lo primero que debe hacer el solicitante de una licencia cdl en texas es obtener un clp o permiso de aprendiz comercial, un documento que deben mantener por al menos 14 días, sin cometer infracciones, mientras se preparan para el examen de manejo correspondiente. Inspección previa al viaje del vehículo, control básico. si quieres obtener o renovar tu licencia cdl en texas, debes conocer las reglas comerciales de texas y superar el examen de requisitos especiales. prepara el examen de manejo de texas de cdl en español con esta práctica online basada en el manual oficial. learn how to apply for, renew, or replace a cdl in texas and access other resources and information. aprenda cómo obtener una licencia de conducir comercial (cdl) en texas, que requiere capacitación y pruebas según la. ¿cómo sacar la licencia cdl en español en texas?
from www.automovilesbecars.com
Inspección previa al viaje del vehículo, control básico. learn how to apply for, renew, or replace a cdl in texas and access other resources and information. aprenda cómo obtener una licencia de conducir comercial (cdl) en texas, que requiere capacitación y pruebas según la. prepara el examen de manejo de texas de cdl en español con esta práctica online basada en el manual oficial. el manual de la cdl y revise el proceso de tres pasos para las pruebas: ¿cómo sacar la licencia cdl en español en texas? Schedule an appointment online or find a third party. si quieres obtener o renovar tu licencia cdl en texas, debes conocer las reglas comerciales de texas y superar el examen de requisitos especiales. Lo primero que debe hacer el solicitante de una licencia cdl en texas es obtener un clp o permiso de aprendiz comercial, un documento que deben mantener por al menos 14 días, sin cometer infracciones, mientras se preparan para el examen de manejo correspondiente.
≫ Todas las claves para obtener la licencia CDL en español en Texas 2023
Como Sacar La Cdl En Texas aprenda cómo obtener una licencia de conducir comercial (cdl) en texas, que requiere capacitación y pruebas según la. Lo primero que debe hacer el solicitante de una licencia cdl en texas es obtener un clp o permiso de aprendiz comercial, un documento que deben mantener por al menos 14 días, sin cometer infracciones, mientras se preparan para el examen de manejo correspondiente. Inspección previa al viaje del vehículo, control básico. el manual de la cdl y revise el proceso de tres pasos para las pruebas: learn how to apply for, renew, or replace a cdl in texas and access other resources and information. aprenda cómo obtener una licencia de conducir comercial (cdl) en texas, que requiere capacitación y pruebas según la. ¿cómo sacar la licencia cdl en español en texas? si quieres obtener o renovar tu licencia cdl en texas, debes conocer las reglas comerciales de texas y superar el examen de requisitos especiales. Schedule an appointment online or find a third party. prepara el examen de manejo de texas de cdl en español con esta práctica online basada en el manual oficial.
From www.youtube.com
Como sacar la Licencia Comercial (CDL) YouTube Como Sacar La Cdl En Texas prepara el examen de manejo de texas de cdl en español con esta práctica online basada en el manual oficial. Inspección previa al viaje del vehículo, control básico. el manual de la cdl y revise el proceso de tres pasos para las pruebas: learn how to apply for, renew, or replace a cdl in texas and access. Como Sacar La Cdl En Texas.
From siempreauto.com
Cómo sacar la licencia CDL en español en Texas requisitos y trámites Como Sacar La Cdl En Texas el manual de la cdl y revise el proceso de tres pasos para las pruebas: si quieres obtener o renovar tu licencia cdl en texas, debes conocer las reglas comerciales de texas y superar el examen de requisitos especiales. learn how to apply for, renew, or replace a cdl in texas and access other resources and information.. Como Sacar La Cdl En Texas.
From www.youtube.com
Como sacar licensia CDL A en Texas ( Houston TX ) YouTube Como Sacar La Cdl En Texas prepara el examen de manejo de texas de cdl en español con esta práctica online basada en el manual oficial. Schedule an appointment online or find a third party. Lo primero que debe hacer el solicitante de una licencia cdl en texas es obtener un clp o permiso de aprendiz comercial, un documento que deben mantener por al menos. Como Sacar La Cdl En Texas.
From siempreauto.com
Cómo sacar la licencia CDL en español en Texas requisitos y trámites Como Sacar La Cdl En Texas prepara el examen de manejo de texas de cdl en español con esta práctica online basada en el manual oficial. Inspección previa al viaje del vehículo, control básico. ¿cómo sacar la licencia cdl en español en texas? el manual de la cdl y revise el proceso de tres pasos para las pruebas: si quieres obtener o. Como Sacar La Cdl En Texas.
From requisitosusa.com
Infórmate Sobre Los Requisitos Para Licencia Cdl En Texas Requisitos USA Como Sacar La Cdl En Texas prepara el examen de manejo de texas de cdl en español con esta práctica online basada en el manual oficial. si quieres obtener o renovar tu licencia cdl en texas, debes conocer las reglas comerciales de texas y superar el examen de requisitos especiales. Lo primero que debe hacer el solicitante de una licencia cdl en texas es. Como Sacar La Cdl En Texas.
From schematicodtautobuses5n.z4.web.core.windows.net
Manual Cdl En Español Texas Como Sacar La Cdl En Texas aprenda cómo obtener una licencia de conducir comercial (cdl) en texas, que requiere capacitación y pruebas según la. Schedule an appointment online or find a third party. si quieres obtener o renovar tu licencia cdl en texas, debes conocer las reglas comerciales de texas y superar el examen de requisitos especiales. learn how to apply for, renew,. Como Sacar La Cdl En Texas.
From www.youtube.com
COMO SACAR LA CDL ? YouTube Como Sacar La Cdl En Texas Lo primero que debe hacer el solicitante de una licencia cdl en texas es obtener un clp o permiso de aprendiz comercial, un documento que deben mantener por al menos 14 días, sin cometer infracciones, mientras se preparan para el examen de manejo correspondiente. ¿cómo sacar la licencia cdl en español en texas? Inspección previa al viaje del vehículo,. Como Sacar La Cdl En Texas.
From enginedbpenny.z6.web.core.windows.net
Manual De Cdl En Español Texas Como Sacar La Cdl En Texas Schedule an appointment online or find a third party. ¿cómo sacar la licencia cdl en español en texas? Lo primero que debe hacer el solicitante de una licencia cdl en texas es obtener un clp o permiso de aprendiz comercial, un documento que deben mantener por al menos 14 días, sin cometer infracciones, mientras se preparan para el examen. Como Sacar La Cdl En Texas.
From schematicodtautobuses5n.z4.web.core.windows.net
Manual Cdl En Español Texas Como Sacar La Cdl En Texas Schedule an appointment online or find a third party. aprenda cómo obtener una licencia de conducir comercial (cdl) en texas, que requiere capacitación y pruebas según la. si quieres obtener o renovar tu licencia cdl en texas, debes conocer las reglas comerciales de texas y superar el examen de requisitos especiales. ¿cómo sacar la licencia cdl en. Como Sacar La Cdl En Texas.
From www.youtube.com
005Consejos de Como sacar la CDL en Texas (Parte 3) YouTube Como Sacar La Cdl En Texas Inspección previa al viaje del vehículo, control básico. el manual de la cdl y revise el proceso de tres pasos para las pruebas: ¿cómo sacar la licencia cdl en español en texas? si quieres obtener o renovar tu licencia cdl en texas, debes conocer las reglas comerciales de texas y superar el examen de requisitos especiales. . Como Sacar La Cdl En Texas.
From www.youtube.com
¿Cómo obtener la CDL? Aprenda sobre licencias comerciales con Doris Como Sacar La Cdl En Texas ¿cómo sacar la licencia cdl en español en texas? learn how to apply for, renew, or replace a cdl in texas and access other resources and information. aprenda cómo obtener una licencia de conducir comercial (cdl) en texas, que requiere capacitación y pruebas según la. el manual de la cdl y revise el proceso de tres. Como Sacar La Cdl En Texas.
From ofeliawnyssa.pages.dev
How To Get Cdl In Texas 2024 Rebe Valery Como Sacar La Cdl En Texas aprenda cómo obtener una licencia de conducir comercial (cdl) en texas, que requiere capacitación y pruebas según la. Lo primero que debe hacer el solicitante de una licencia cdl en texas es obtener un clp o permiso de aprendiz comercial, un documento que deben mantener por al menos 14 días, sin cometer infracciones, mientras se preparan para el examen. Como Sacar La Cdl En Texas.
From carros-en-usa.com
Guía Paso a Paso sobre Cómo Sacar la Licencia CDL en Texas Requisitos Como Sacar La Cdl En Texas ¿cómo sacar la licencia cdl en español en texas? Inspección previa al viaje del vehículo, control básico. Lo primero que debe hacer el solicitante de una licencia cdl en texas es obtener un clp o permiso de aprendiz comercial, un documento que deben mantener por al menos 14 días, sin cometer infracciones, mientras se preparan para el examen de. Como Sacar La Cdl En Texas.
From www.cdlenespanol.com
Como Obtener la CDL ? Preguntas y Respuestas CDL en Español Como Sacar La Cdl En Texas aprenda cómo obtener una licencia de conducir comercial (cdl) en texas, que requiere capacitación y pruebas según la. Lo primero que debe hacer el solicitante de una licencia cdl en texas es obtener un clp o permiso de aprendiz comercial, un documento que deben mantener por al menos 14 días, sin cometer infracciones, mientras se preparan para el examen. Como Sacar La Cdl En Texas.
From circuitpartharvey.z21.web.core.windows.net
Manual Para Cdl En Espanol Texas Como Sacar La Cdl En Texas Inspección previa al viaje del vehículo, control básico. prepara el examen de manejo de texas de cdl en español con esta práctica online basada en el manual oficial. el manual de la cdl y revise el proceso de tres pasos para las pruebas: Schedule an appointment online or find a third party. aprenda cómo obtener una licencia. Como Sacar La Cdl En Texas.
From www.automovilesbecars.com
≫ Todas las claves para obtener la licencia CDL en español en Texas 2023 Como Sacar La Cdl En Texas el manual de la cdl y revise el proceso de tres pasos para las pruebas: Lo primero que debe hacer el solicitante de una licencia cdl en texas es obtener un clp o permiso de aprendiz comercial, un documento que deben mantener por al menos 14 días, sin cometer infracciones, mientras se preparan para el examen de manejo correspondiente.. Como Sacar La Cdl En Texas.
From carrosenusa.com
Cómo sacar licencia CDL en Texas Requisitos en 2024 Como Sacar La Cdl En Texas Inspección previa al viaje del vehículo, control básico. el manual de la cdl y revise el proceso de tres pasos para las pruebas: Schedule an appointment online or find a third party. Lo primero que debe hacer el solicitante de una licencia cdl en texas es obtener un clp o permiso de aprendiz comercial, un documento que deben mantener. Como Sacar La Cdl En Texas.
From www.youtube.com
sacar tu Licencia CDL? (2023) YouTube Como Sacar La Cdl En Texas Lo primero que debe hacer el solicitante de una licencia cdl en texas es obtener un clp o permiso de aprendiz comercial, un documento que deben mantener por al menos 14 días, sin cometer infracciones, mientras se preparan para el examen de manejo correspondiente. ¿cómo sacar la licencia cdl en español en texas? learn how to apply for,. Como Sacar La Cdl En Texas.
From autoterminal.us
¿Qué se necesita para sacar la licencia CDL en Estados Unidos Como Sacar La Cdl En Texas aprenda cómo obtener una licencia de conducir comercial (cdl) en texas, que requiere capacitación y pruebas según la. Inspección previa al viaje del vehículo, control básico. Lo primero que debe hacer el solicitante de una licencia cdl en texas es obtener un clp o permiso de aprendiz comercial, un documento que deben mantener por al menos 14 días, sin. Como Sacar La Cdl En Texas.
From www.busconomico.us
¿Cómo obtener la licencia de conducir en Texas? Como Sacar La Cdl En Texas si quieres obtener o renovar tu licencia cdl en texas, debes conocer las reglas comerciales de texas y superar el examen de requisitos especiales. learn how to apply for, renew, or replace a cdl in texas and access other resources and information. el manual de la cdl y revise el proceso de tres pasos para las pruebas:. Como Sacar La Cdl En Texas.
From circuitenginehecate.z19.web.core.windows.net
Manual Para Cdl En Espanol Texas Como Sacar La Cdl En Texas learn how to apply for, renew, or replace a cdl in texas and access other resources and information. aprenda cómo obtener una licencia de conducir comercial (cdl) en texas, que requiere capacitación y pruebas según la. Lo primero que debe hacer el solicitante de una licencia cdl en texas es obtener un clp o permiso de aprendiz comercial,. Como Sacar La Cdl En Texas.
From showmethat.es
Como sacar la licencia de conducir en Texas 2024 Show Me That Como Sacar La Cdl En Texas el manual de la cdl y revise el proceso de tres pasos para las pruebas: Schedule an appointment online or find a third party. si quieres obtener o renovar tu licencia cdl en texas, debes conocer las reglas comerciales de texas y superar el examen de requisitos especiales. ¿cómo sacar la licencia cdl en español en texas?. Como Sacar La Cdl En Texas.
From www.youtube.com
Requisitos para sacar la CDL 2022. Reglas del 7 de febrero. Cómo venir Como Sacar La Cdl En Texas prepara el examen de manejo de texas de cdl en español con esta práctica online basada en el manual oficial. aprenda cómo obtener una licencia de conducir comercial (cdl) en texas, que requiere capacitación y pruebas según la. Lo primero que debe hacer el solicitante de una licencia cdl en texas es obtener un clp o permiso de. Como Sacar La Cdl En Texas.
From www.youtube.com
Como sacar la licencia cdl Las 3 formas de sacar la licencia y tips Como Sacar La Cdl En Texas Inspección previa al viaje del vehículo, control básico. Schedule an appointment online or find a third party. aprenda cómo obtener una licencia de conducir comercial (cdl) en texas, que requiere capacitación y pruebas según la. ¿cómo sacar la licencia cdl en español en texas? el manual de la cdl y revise el proceso de tres pasos para. Como Sacar La Cdl En Texas.
From licenciatexas.com
Pasos para obtener una Licencia de Conducir Comercial (CDL) en Texas Como Sacar La Cdl En Texas aprenda cómo obtener una licencia de conducir comercial (cdl) en texas, que requiere capacitación y pruebas según la. Lo primero que debe hacer el solicitante de una licencia cdl en texas es obtener un clp o permiso de aprendiz comercial, un documento que deben mantener por al menos 14 días, sin cometer infracciones, mientras se preparan para el examen. Como Sacar La Cdl En Texas.
From www.youtube.com
pasos para sacar la CDL o licencia comercial YouTube Como Sacar La Cdl En Texas Lo primero que debe hacer el solicitante de una licencia cdl en texas es obtener un clp o permiso de aprendiz comercial, un documento que deben mantener por al menos 14 días, sin cometer infracciones, mientras se preparan para el examen de manejo correspondiente. ¿cómo sacar la licencia cdl en español en texas? aprenda cómo obtener una licencia. Como Sacar La Cdl En Texas.
From wirefixkmquadrennia.z13.web.core.windows.net
Manual De Cdl En Espanol Texas Como Sacar La Cdl En Texas ¿cómo sacar la licencia cdl en español en texas? Schedule an appointment online or find a third party. el manual de la cdl y revise el proceso de tres pasos para las pruebas: Lo primero que debe hacer el solicitante de una licencia cdl en texas es obtener un clp o permiso de aprendiz comercial, un documento que. Como Sacar La Cdl En Texas.
From www.youtube.com
10 Pasos Para Sacar La CDL A Y Ser Camionero En Estados Unidos YouTube Como Sacar La Cdl En Texas prepara el examen de manejo de texas de cdl en español con esta práctica online basada en el manual oficial. ¿cómo sacar la licencia cdl en español en texas? Lo primero que debe hacer el solicitante de una licencia cdl en texas es obtener un clp o permiso de aprendiz comercial, un documento que deben mantener por al. Como Sacar La Cdl En Texas.
From www.youtube.com
Texas CDL Como obtener una CDL en el Estado de Texas¿Necesito una Como Sacar La Cdl En Texas learn how to apply for, renew, or replace a cdl in texas and access other resources and information. Lo primero que debe hacer el solicitante de una licencia cdl en texas es obtener un clp o permiso de aprendiz comercial, un documento que deben mantener por al menos 14 días, sin cometer infracciones, mientras se preparan para el examen. Como Sacar La Cdl En Texas.
From driverresourcecenter.com
How to Get a CDL in Texas Driver Resource Center Como Sacar La Cdl En Texas Lo primero que debe hacer el solicitante de una licencia cdl en texas es obtener un clp o permiso de aprendiz comercial, un documento que deben mantener por al menos 14 días, sin cometer infracciones, mientras se preparan para el examen de manejo correspondiente. prepara el examen de manejo de texas de cdl en español con esta práctica online. Como Sacar La Cdl En Texas.
From brzinsurance.com
¿Cómo obtener la CDL, la licencia de conducir profesional en EE.UU.? Como Sacar La Cdl En Texas prepara el examen de manejo de texas de cdl en español con esta práctica online basada en el manual oficial. Lo primero que debe hacer el solicitante de una licencia cdl en texas es obtener un clp o permiso de aprendiz comercial, un documento que deben mantener por al menos 14 días, sin cometer infracciones, mientras se preparan para. Como Sacar La Cdl En Texas.
From comoreclamar.net
Todo lo que necesitas saber para validar tu certificado de ASUME Como Como Sacar La Cdl En Texas Lo primero que debe hacer el solicitante de una licencia cdl en texas es obtener un clp o permiso de aprendiz comercial, un documento que deben mantener por al menos 14 días, sin cometer infracciones, mientras se preparan para el examen de manejo correspondiente. Schedule an appointment online or find a third party. learn how to apply for, renew,. Como Sacar La Cdl En Texas.
From siempreauto.com
Cómo sacar la licencia comercial en Texas Siempre Auto Como Sacar La Cdl En Texas el manual de la cdl y revise el proceso de tres pasos para las pruebas: ¿cómo sacar la licencia cdl en español en texas? aprenda cómo obtener una licencia de conducir comercial (cdl) en texas, que requiere capacitación y pruebas según la. Schedule an appointment online or find a third party. Inspección previa al viaje del vehículo,. Como Sacar La Cdl En Texas.
From citaparalicencia.com
Cómo Sacar Licencia de Conducir CDL clase B en Texas 2024 Como Sacar La Cdl En Texas si quieres obtener o renovar tu licencia cdl en texas, debes conocer las reglas comerciales de texas y superar el examen de requisitos especiales. ¿cómo sacar la licencia cdl en español en texas? aprenda cómo obtener una licencia de conducir comercial (cdl) en texas, que requiere capacitación y pruebas según la. Schedule an appointment online or find. Como Sacar La Cdl En Texas.
From enginedbpenny.z6.web.core.windows.net
Manual De Cdl En Español Texas Como Sacar La Cdl En Texas aprenda cómo obtener una licencia de conducir comercial (cdl) en texas, que requiere capacitación y pruebas según la. prepara el examen de manejo de texas de cdl en español con esta práctica online basada en el manual oficial. si quieres obtener o renovar tu licencia cdl en texas, debes conocer las reglas comerciales de texas y superar. Como Sacar La Cdl En Texas.