White Liquor Paper Making . In the kraft pulp process the active cooking chemicals (white liquor) are sodium hydroxide (naoh) and sodium sulfide (na 2 s). This paper discusses the basic. It is so called white liquor because it should be distinguished to other liquids in the pulping process like black. The andritz product portfolio is designed for traditional white liquor production, white liquor oxidation, and modified delignification liquors for kraft pulping. Tons of black liquor dry solids that need to be processed through the chemical recovery process. White liquor is cooking liquor that used in the kraft pulping. White liquor is fresh pulping liquor for the kraft process, consisting of the active pulping species naoh and na 2 s, small amounts of na 2 co 3. The kraft pulping process involves cooking wood chips or other lignocellulosic materials in an alkaline solution of sodium hydroxide and sodium sulfide (known as “white liquor”) under high temperature and pressure in a large vessel called a digester.
from resources.johncrane.com
The kraft pulping process involves cooking wood chips or other lignocellulosic materials in an alkaline solution of sodium hydroxide and sodium sulfide (known as “white liquor”) under high temperature and pressure in a large vessel called a digester. The andritz product portfolio is designed for traditional white liquor production, white liquor oxidation, and modified delignification liquors for kraft pulping. In the kraft pulp process the active cooking chemicals (white liquor) are sodium hydroxide (naoh) and sodium sulfide (na 2 s). This paper discusses the basic. White liquor is fresh pulping liquor for the kraft process, consisting of the active pulping species naoh and na 2 s, small amounts of na 2 co 3. It is so called white liquor because it should be distinguished to other liquids in the pulping process like black. White liquor is cooking liquor that used in the kraft pulping. Tons of black liquor dry solids that need to be processed through the chemical recovery process.
Whitepaper Black Liquor in Pulp and Paper Mills
White Liquor Paper Making White liquor is fresh pulping liquor for the kraft process, consisting of the active pulping species naoh and na 2 s, small amounts of na 2 co 3. The kraft pulping process involves cooking wood chips or other lignocellulosic materials in an alkaline solution of sodium hydroxide and sodium sulfide (known as “white liquor”) under high temperature and pressure in a large vessel called a digester. White liquor is cooking liquor that used in the kraft pulping. In the kraft pulp process the active cooking chemicals (white liquor) are sodium hydroxide (naoh) and sodium sulfide (na 2 s). White liquor is fresh pulping liquor for the kraft process, consisting of the active pulping species naoh and na 2 s, small amounts of na 2 co 3. This paper discusses the basic. Tons of black liquor dry solids that need to be processed through the chemical recovery process. It is so called white liquor because it should be distinguished to other liquids in the pulping process like black. The andritz product portfolio is designed for traditional white liquor production, white liquor oxidation, and modified delignification liquors for kraft pulping.
From resources.johncrane.com
Whitepaper Black Liquor in Pulp and Paper Mills White Liquor Paper Making The andritz product portfolio is designed for traditional white liquor production, white liquor oxidation, and modified delignification liquors for kraft pulping. In the kraft pulp process the active cooking chemicals (white liquor) are sodium hydroxide (naoh) and sodium sulfide (na 2 s). White liquor is cooking liquor that used in the kraft pulping. It is so called white liquor because. White Liquor Paper Making.
From www.google.com
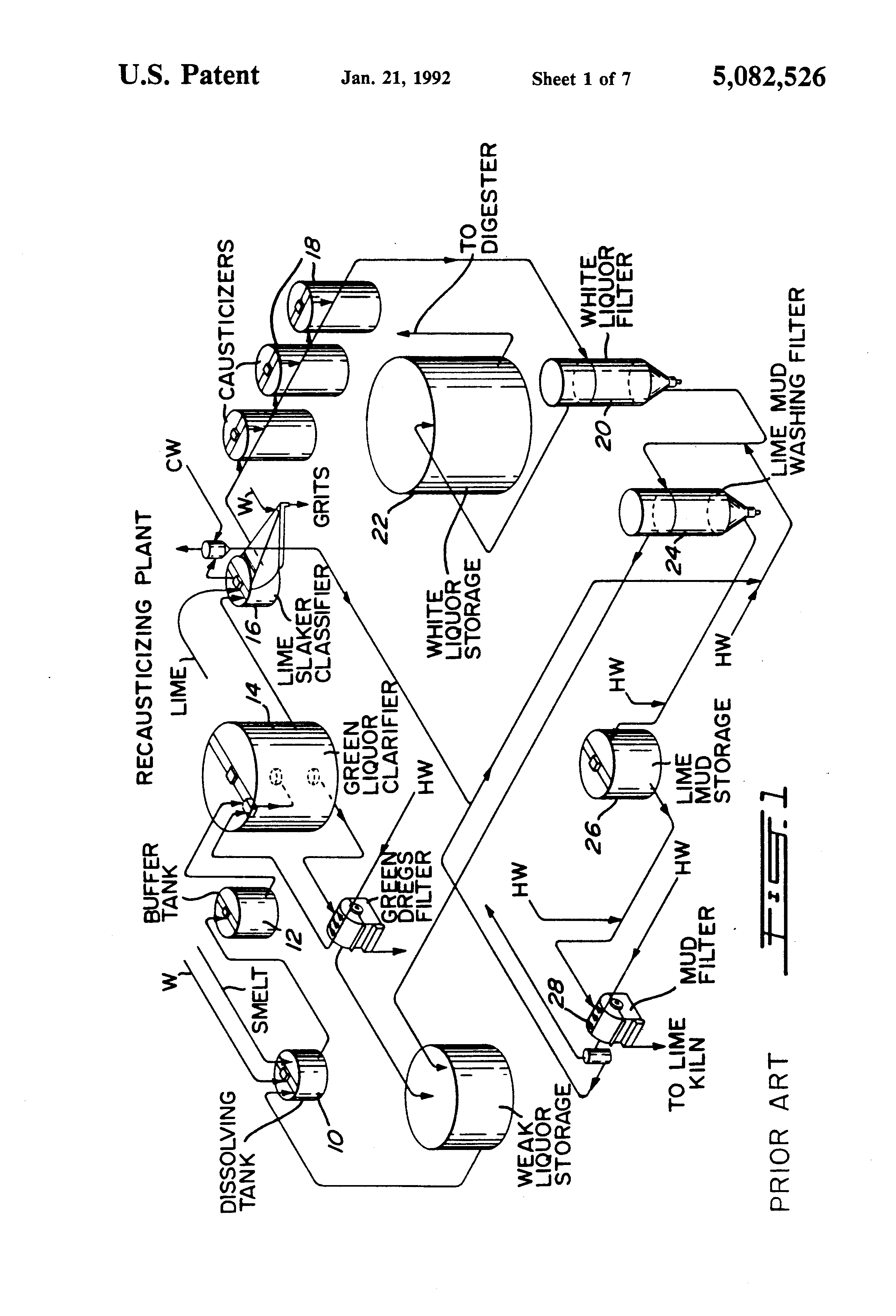
Patent US5082526 Process of producing kraft pulping liquor by the White Liquor Paper Making This paper discusses the basic. White liquor is cooking liquor that used in the kraft pulping. The kraft pulping process involves cooking wood chips or other lignocellulosic materials in an alkaline solution of sodium hydroxide and sodium sulfide (known as “white liquor”) under high temperature and pressure in a large vessel called a digester. The andritz product portfolio is designed. White Liquor Paper Making.
From www.youtube.com
100 Layers Of White Out (liquid paper) YouTube White Liquor Paper Making It is so called white liquor because it should be distinguished to other liquids in the pulping process like black. White liquor is fresh pulping liquor for the kraft process, consisting of the active pulping species naoh and na 2 s, small amounts of na 2 co 3. This paper discusses the basic. The andritz product portfolio is designed for. White Liquor Paper Making.
From www.optek.com
Pulp and Paper Control ClO2, white liquor, white water turbidity White Liquor Paper Making White liquor is cooking liquor that used in the kraft pulping. It is so called white liquor because it should be distinguished to other liquids in the pulping process like black. The kraft pulping process involves cooking wood chips or other lignocellulosic materials in an alkaline solution of sodium hydroxide and sodium sulfide (known as “white liquor”) under high temperature. White Liquor Paper Making.
From eureka.patsnap.com
Recycle process of white water of papermaking system Eureka Patsnap White Liquor Paper Making It is so called white liquor because it should be distinguished to other liquids in the pulping process like black. White liquor is fresh pulping liquor for the kraft process, consisting of the active pulping species naoh and na 2 s, small amounts of na 2 co 3. This paper discusses the basic. Tons of black liquor dry solids that. White Liquor Paper Making.
From naf.se
White liquor preparation NAF Control Valves White Liquor Paper Making The kraft pulping process involves cooking wood chips or other lignocellulosic materials in an alkaline solution of sodium hydroxide and sodium sulfide (known as “white liquor”) under high temperature and pressure in a large vessel called a digester. This paper discusses the basic. White liquor is cooking liquor that used in the kraft pulping. The andritz product portfolio is designed. White Liquor Paper Making.
From www.wayfair.com
Williston Vintage Liquors On Paper by Oliver Gal Graphic Art White Liquor Paper Making Tons of black liquor dry solids that need to be processed through the chemical recovery process. The andritz product portfolio is designed for traditional white liquor production, white liquor oxidation, and modified delignification liquors for kraft pulping. White liquor is cooking liquor that used in the kraft pulping. White liquor is fresh pulping liquor for the kraft process, consisting of. White Liquor Paper Making.
From www.inda.org
ANDRITZ to supply key pulp production equipment for Nine Dragons Paper White Liquor Paper Making The andritz product portfolio is designed for traditional white liquor production, white liquor oxidation, and modified delignification liquors for kraft pulping. This paper discusses the basic. In the kraft pulp process the active cooking chemicals (white liquor) are sodium hydroxide (naoh) and sodium sulfide (na 2 s). White liquor is fresh pulping liquor for the kraft process, consisting of the. White Liquor Paper Making.
From www.pinterest.com
White Liquor Bottle Label Liquor bottle labels, Bottle White Liquor Paper Making Tons of black liquor dry solids that need to be processed through the chemical recovery process. This paper discusses the basic. The andritz product portfolio is designed for traditional white liquor production, white liquor oxidation, and modified delignification liquors for kraft pulping. It is so called white liquor because it should be distinguished to other liquids in the pulping process. White Liquor Paper Making.
From www.pinterest.com
Process Watch a 147YearOld Paper Mill Produce a ‘Black Licorice White Liquor Paper Making The kraft pulping process involves cooking wood chips or other lignocellulosic materials in an alkaline solution of sodium hydroxide and sodium sulfide (known as “white liquor”) under high temperature and pressure in a large vessel called a digester. White liquor is cooking liquor that used in the kraft pulping. This paper discusses the basic. In the kraft pulp process the. White Liquor Paper Making.
From www.leplaincanvas.com
A Beginner’s Guide to make Infused Liquors at Home LePlainCanvas White Liquor Paper Making Tons of black liquor dry solids that need to be processed through the chemical recovery process. The kraft pulping process involves cooking wood chips or other lignocellulosic materials in an alkaline solution of sodium hydroxide and sodium sulfide (known as “white liquor”) under high temperature and pressure in a large vessel called a digester. White liquor is cooking liquor that. White Liquor Paper Making.
From www.slideserve.com
PPT Pulping and Bleaching PSE 476 PowerPoint Presentation ID149682 White Liquor Paper Making It is so called white liquor because it should be distinguished to other liquids in the pulping process like black. This paper discusses the basic. Tons of black liquor dry solids that need to be processed through the chemical recovery process. In the kraft pulp process the active cooking chemicals (white liquor) are sodium hydroxide (naoh) and sodium sulfide (na. White Liquor Paper Making.
From www.theatlantic.com
Why Do WiteOut and Liquid Paper Still Exist? The Atlantic White Liquor Paper Making This paper discusses the basic. In the kraft pulp process the active cooking chemicals (white liquor) are sodium hydroxide (naoh) and sodium sulfide (na 2 s). White liquor is cooking liquor that used in the kraft pulping. White liquor is fresh pulping liquor for the kraft process, consisting of the active pulping species naoh and na 2 s, small amounts. White Liquor Paper Making.
From gaspaperdryer.org
PaperKraftLiquorCycle White Liquor Paper Making White liquor is fresh pulping liquor for the kraft process, consisting of the active pulping species naoh and na 2 s, small amounts of na 2 co 3. In the kraft pulp process the active cooking chemicals (white liquor) are sodium hydroxide (naoh) and sodium sulfide (na 2 s). Tons of black liquor dry solids that need to be processed. White Liquor Paper Making.
From www.dbg-bioenergy.nl
Papermaking process — DBG Group White Liquor Paper Making The andritz product portfolio is designed for traditional white liquor production, white liquor oxidation, and modified delignification liquors for kraft pulping. The kraft pulping process involves cooking wood chips or other lignocellulosic materials in an alkaline solution of sodium hydroxide and sodium sulfide (known as “white liquor”) under high temperature and pressure in a large vessel called a digester. In. White Liquor Paper Making.
From fyozjknkf.blob.core.windows.net
Liquid Paper Kmart at Mary Lowrance blog White Liquor Paper Making White liquor is fresh pulping liquor for the kraft process, consisting of the active pulping species naoh and na 2 s, small amounts of na 2 co 3. The andritz product portfolio is designed for traditional white liquor production, white liquor oxidation, and modified delignification liquors for kraft pulping. Tons of black liquor dry solids that need to be processed. White Liquor Paper Making.
From www.leplaincanvas.com
A Beginner’s Guide to make Infused Liquors at Home LePlainCanvas White Liquor Paper Making White liquor is fresh pulping liquor for the kraft process, consisting of the active pulping species naoh and na 2 s, small amounts of na 2 co 3. This paper discusses the basic. Tons of black liquor dry solids that need to be processed through the chemical recovery process. The kraft pulping process involves cooking wood chips or other lignocellulosic. White Liquor Paper Making.
From www.youtube.com
What is Black Liquor in Paper Making Steam Culture YouTube White Liquor Paper Making White liquor is fresh pulping liquor for the kraft process, consisting of the active pulping species naoh and na 2 s, small amounts of na 2 co 3. The kraft pulping process involves cooking wood chips or other lignocellulosic materials in an alkaline solution of sodium hydroxide and sodium sulfide (known as “white liquor”) under high temperature and pressure in. White Liquor Paper Making.
From www.pulpandpapercanada.com
Technical paper White liquor quality during kraft pulping Pulp and White Liquor Paper Making It is so called white liquor because it should be distinguished to other liquids in the pulping process like black. This paper discusses the basic. White liquor is cooking liquor that used in the kraft pulping. Tons of black liquor dry solids that need to be processed through the chemical recovery process. The kraft pulping process involves cooking wood chips. White Liquor Paper Making.
From www.walmart.com
1000ea 5 X 2 X 16 White Quart Liquor Bags Gusset 2" by Paper Mart White Liquor Paper Making In the kraft pulp process the active cooking chemicals (white liquor) are sodium hydroxide (naoh) and sodium sulfide (na 2 s). The kraft pulping process involves cooking wood chips or other lignocellulosic materials in an alkaline solution of sodium hydroxide and sodium sulfide (known as “white liquor”) under high temperature and pressure in a large vessel called a digester. White. White Liquor Paper Making.
From www.alamy.com
Wine Paper Bag and liquor box set. Vector with die cut, laser cut White Liquor Paper Making It is so called white liquor because it should be distinguished to other liquids in the pulping process like black. The andritz product portfolio is designed for traditional white liquor production, white liquor oxidation, and modified delignification liquors for kraft pulping. White liquor is fresh pulping liquor for the kraft process, consisting of the active pulping species naoh and na. White Liquor Paper Making.
From www.dwell.com
Process Watch a 147YearOld Paper Mill Produce a “Black Licorice White Liquor Paper Making This paper discusses the basic. The kraft pulping process involves cooking wood chips or other lignocellulosic materials in an alkaline solution of sodium hydroxide and sodium sulfide (known as “white liquor”) under high temperature and pressure in a large vessel called a digester. White liquor is cooking liquor that used in the kraft pulping. White liquor is fresh pulping liquor. White Liquor Paper Making.
From www.thriftyfun.com
Uses for Liquid Paper ThriftyFun White Liquor Paper Making The andritz product portfolio is designed for traditional white liquor production, white liquor oxidation, and modified delignification liquors for kraft pulping. In the kraft pulp process the active cooking chemicals (white liquor) are sodium hydroxide (naoh) and sodium sulfide (na 2 s). Tons of black liquor dry solids that need to be processed through the chemical recovery process. White liquor. White Liquor Paper Making.
From www.susvaluewaste.no
The Possibilities of Black Liquor SusvalueWaste White Liquor Paper Making In the kraft pulp process the active cooking chemicals (white liquor) are sodium hydroxide (naoh) and sodium sulfide (na 2 s). Tons of black liquor dry solids that need to be processed through the chemical recovery process. The andritz product portfolio is designed for traditional white liquor production, white liquor oxidation, and modified delignification liquors for kraft pulping. White liquor. White Liquor Paper Making.
From rhosonics.com
Pulpa y papel Rhosonics White Liquor Paper Making White liquor is cooking liquor that used in the kraft pulping. It is so called white liquor because it should be distinguished to other liquids in the pulping process like black. Tons of black liquor dry solids that need to be processed through the chemical recovery process. In the kraft pulp process the active cooking chemicals (white liquor) are sodium. White Liquor Paper Making.
From ar.inspiredpencil.com
Kraft Process Diagram White Liquor Paper Making The andritz product portfolio is designed for traditional white liquor production, white liquor oxidation, and modified delignification liquors for kraft pulping. The kraft pulping process involves cooking wood chips or other lignocellulosic materials in an alkaline solution of sodium hydroxide and sodium sulfide (known as “white liquor”) under high temperature and pressure in a large vessel called a digester. In. White Liquor Paper Making.
From www.pinterest.ca
White Out Liquid paper, Old technology, Classroom technology White Liquor Paper Making This paper discusses the basic. The andritz product portfolio is designed for traditional white liquor production, white liquor oxidation, and modified delignification liquors for kraft pulping. Tons of black liquor dry solids that need to be processed through the chemical recovery process. It is so called white liquor because it should be distinguished to other liquids in the pulping process. White Liquor Paper Making.
From www.bellbirdkidz.com.au
Liquid Paper Correction White Paper Mate White Liquor Paper Making Tons of black liquor dry solids that need to be processed through the chemical recovery process. This paper discusses the basic. It is so called white liquor because it should be distinguished to other liquids in the pulping process like black. The kraft pulping process involves cooking wood chips or other lignocellulosic materials in an alkaline solution of sodium hydroxide. White Liquor Paper Making.
From www.indiamart.com
White and Blue 1.5 to 4 inches Liquor Paper Cans, Nath Udyog ID White Liquor Paper Making In the kraft pulp process the active cooking chemicals (white liquor) are sodium hydroxide (naoh) and sodium sulfide (na 2 s). It is so called white liquor because it should be distinguished to other liquids in the pulping process like black. Tons of black liquor dry solids that need to be processed through the chemical recovery process. White liquor is. White Liquor Paper Making.
From www.mockupworld.co
Liquor Bottles Mockup Mockup World White Liquor Paper Making The kraft pulping process involves cooking wood chips or other lignocellulosic materials in an alkaline solution of sodium hydroxide and sodium sulfide (known as “white liquor”) under high temperature and pressure in a large vessel called a digester. White liquor is fresh pulping liquor for the kraft process, consisting of the active pulping species naoh and na 2 s, small. White Liquor Paper Making.
From www.pulpandpapercanada.com
The role of sulfidity during kraft pulping Pulp and Paper CanadaPulp White Liquor Paper Making This paper discusses the basic. It is so called white liquor because it should be distinguished to other liquids in the pulping process like black. The andritz product portfolio is designed for traditional white liquor production, white liquor oxidation, and modified delignification liquors for kraft pulping. The kraft pulping process involves cooking wood chips or other lignocellulosic materials in an. White Liquor Paper Making.
From www.pulpandpapercanada.com
Technical paper White liquor quality during kraft pulping Pulp and White Liquor Paper Making The andritz product portfolio is designed for traditional white liquor production, white liquor oxidation, and modified delignification liquors for kraft pulping. Tons of black liquor dry solids that need to be processed through the chemical recovery process. It is so called white liquor because it should be distinguished to other liquids in the pulping process like black. In the kraft. White Liquor Paper Making.
From www.mdpi.com
Engineering Proceedings Free FullText Black Liquor Oxidation as a White Liquor Paper Making It is so called white liquor because it should be distinguished to other liquids in the pulping process like black. Tons of black liquor dry solids that need to be processed through the chemical recovery process. The kraft pulping process involves cooking wood chips or other lignocellulosic materials in an alkaline solution of sodium hydroxide and sodium sulfide (known as. White Liquor Paper Making.
From www.youtube.com
ANDRITZ Autonomous White Liquor Plant Solutions YouTube White Liquor Paper Making In the kraft pulp process the active cooking chemicals (white liquor) are sodium hydroxide (naoh) and sodium sulfide (na 2 s). It is so called white liquor because it should be distinguished to other liquids in the pulping process like black. The kraft pulping process involves cooking wood chips or other lignocellulosic materials in an alkaline solution of sodium hydroxide. White Liquor Paper Making.
From chaoticwatersinc.com
Test Results Pulp & Paper Liquor Chaoticwaters Inc. White Liquor Paper Making This paper discusses the basic. It is so called white liquor because it should be distinguished to other liquids in the pulping process like black. The andritz product portfolio is designed for traditional white liquor production, white liquor oxidation, and modified delignification liquors for kraft pulping. Tons of black liquor dry solids that need to be processed through the chemical. White Liquor Paper Making.