Ford Battery Basic Part Number . Choose ford® motor company genuine replacement electrical system battery and related components parts to ensure fit and easy installation for your car, truck or suv. Your vehicle deserves only genuine oem ford parts and accessories. I have been using varta batteries for.
from www.tascaparts.com
Choose ford® motor company genuine replacement electrical system battery and related components parts to ensure fit and easy installation for your car, truck or suv. I have been using varta batteries for. Your vehicle deserves only genuine oem ford parts and accessories.
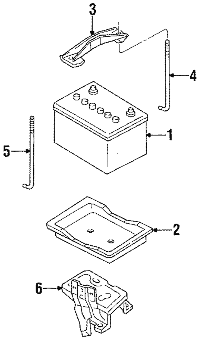
20202023 Ford Battery Assembly l1mz10b690d
Ford Battery Basic Part Number Your vehicle deserves only genuine oem ford parts and accessories. Your vehicle deserves only genuine oem ford parts and accessories. Choose ford® motor company genuine replacement electrical system battery and related components parts to ensure fit and easy installation for your car, truck or suv. I have been using varta batteries for.
From parts.ford.com
Ford® and Lincoln® Electrical System Battery and Related Components Parts Ford Battery Basic Part Number Your vehicle deserves only genuine oem ford parts and accessories. Choose ford® motor company genuine replacement electrical system battery and related components parts to ensure fit and easy installation for your car, truck or suv. I have been using varta batteries for. Ford Battery Basic Part Number.
From www.youtube.com
Ford Part Number explanation & Breakdown. Interchangeable parts. Map Manifold Absolute Pressure Ford Battery Basic Part Number I have been using varta batteries for. Your vehicle deserves only genuine oem ford parts and accessories. Choose ford® motor company genuine replacement electrical system battery and related components parts to ensure fit and easy installation for your car, truck or suv. Ford Battery Basic Part Number.
From parts.lakelandford.com
7L2Z14300BB Ford Battery Cable Harness. 4.0 liter. 4.0L Lakeland Ford Online Parts, Lakeland FL Ford Battery Basic Part Number I have been using varta batteries for. Your vehicle deserves only genuine oem ford parts and accessories. Choose ford® motor company genuine replacement electrical system battery and related components parts to ensure fit and easy installation for your car, truck or suv. Ford Battery Basic Part Number.
From www.youtube.com
Crown Victoria How To Find Ford Part Numbers YouTube Ford Battery Basic Part Number I have been using varta batteries for. Choose ford® motor company genuine replacement electrical system battery and related components parts to ensure fit and easy installation for your car, truck or suv. Your vehicle deserves only genuine oem ford parts and accessories. Ford Battery Basic Part Number.
From ford.oempartsonline.com
20212024 Ford Vehicle Battery BHAGMAUX1B OEM Parts Online Ford Battery Basic Part Number I have been using varta batteries for. Choose ford® motor company genuine replacement electrical system battery and related components parts to ensure fit and easy installation for your car, truck or suv. Your vehicle deserves only genuine oem ford parts and accessories. Ford Battery Basic Part Number.
From www.diyford.com
Ford Axle Part Numbers The Complete List DIY Ford Ford Battery Basic Part Number Your vehicle deserves only genuine oem ford parts and accessories. Choose ford® motor company genuine replacement electrical system battery and related components parts to ensure fit and easy installation for your car, truck or suv. I have been using varta batteries for. Ford Battery Basic Part Number.
From www.evguiden.se
Ford och CATL överväger LFPbatterianläggningsinvesteringar Ev Guiden Ford Battery Basic Part Number Choose ford® motor company genuine replacement electrical system battery and related components parts to ensure fit and easy installation for your car, truck or suv. Your vehicle deserves only genuine oem ford parts and accessories. I have been using varta batteries for. Ford Battery Basic Part Number.
From www.partsplusuk.com
Ford Batteries PartsPlus Ford Battery Basic Part Number Your vehicle deserves only genuine oem ford parts and accessories. Choose ford® motor company genuine replacement electrical system battery and related components parts to ensure fit and easy installation for your car, truck or suv. I have been using varta batteries for. Ford Battery Basic Part Number.
From www.northcountryford.com
Ford Battery Service in Coon Rapids, MN North Country Ford Lincoln Ford Battery Basic Part Number I have been using varta batteries for. Choose ford® motor company genuine replacement electrical system battery and related components parts to ensure fit and easy installation for your car, truck or suv. Your vehicle deserves only genuine oem ford parts and accessories. Ford Battery Basic Part Number.
From www.tascaparts.com
19892003 Ford Battery bxt58ra Ford Battery Basic Part Number Your vehicle deserves only genuine oem ford parts and accessories. I have been using varta batteries for. Choose ford® motor company genuine replacement electrical system battery and related components parts to ensure fit and easy installation for your car, truck or suv. Ford Battery Basic Part Number.
From parts.lakelandford.com
BXT96R590 ford Vehicle Battery. Amp Lakeland Ford Online Parts, Lakeland FL Ford Battery Basic Part Number Your vehicle deserves only genuine oem ford parts and accessories. I have been using varta batteries for. Choose ford® motor company genuine replacement electrical system battery and related components parts to ensure fit and easy installation for your car, truck or suv. Ford Battery Basic Part Number.
From www.youtube.com
How To Interpret Ford Part Numbers One Minute Monday YouTube Ford Battery Basic Part Number Your vehicle deserves only genuine oem ford parts and accessories. Choose ford® motor company genuine replacement electrical system battery and related components parts to ensure fit and easy installation for your car, truck or suv. I have been using varta batteries for. Ford Battery Basic Part Number.
From www.f150forum.com
Help looking for parts numbers for diesel battery tray Ford F150 Forum Community of Ford Ford Battery Basic Part Number I have been using varta batteries for. Your vehicle deserves only genuine oem ford parts and accessories. Choose ford® motor company genuine replacement electrical system battery and related components parts to ensure fit and easy installation for your car, truck or suv. Ford Battery Basic Part Number.
From www.policeauctionscanada.com
Police Auctions Canada Ford Motor Company BAGM48H6760 12V 70Ah Car Battery (264740A) Ford Battery Basic Part Number Choose ford® motor company genuine replacement electrical system battery and related components parts to ensure fit and easy installation for your car, truck or suv. I have been using varta batteries for. Your vehicle deserves only genuine oem ford parts and accessories. Ford Battery Basic Part Number.
From www.pinterest.com
Ultimate Car Battery Guide How to Charge, Maintain, Replace, and more trong 2024 Ford Battery Basic Part Number Choose ford® motor company genuine replacement electrical system battery and related components parts to ensure fit and easy installation for your car, truck or suv. I have been using varta batteries for. Your vehicle deserves only genuine oem ford parts and accessories. Ford Battery Basic Part Number.
From www.motorcraft.com
Batteries for Ford & Lincoln Vehicles Motorcraft® Ford Battery Basic Part Number Choose ford® motor company genuine replacement electrical system battery and related components parts to ensure fit and easy installation for your car, truck or suv. Your vehicle deserves only genuine oem ford parts and accessories. I have been using varta batteries for. Ford Battery Basic Part Number.
From www.fabtekno.com
How To Find Ford Oem Part Numbers Ford Battery Basic Part Number Choose ford® motor company genuine replacement electrical system battery and related components parts to ensure fit and easy installation for your car, truck or suv. Your vehicle deserves only genuine oem ford parts and accessories. I have been using varta batteries for. Ford Battery Basic Part Number.
From www.tascaparts.com
19882002 Ford Battery BXT35A Ford Battery Basic Part Number I have been using varta batteries for. Your vehicle deserves only genuine oem ford parts and accessories. Choose ford® motor company genuine replacement electrical system battery and related components parts to ensure fit and easy installation for your car, truck or suv. Ford Battery Basic Part Number.
From fordbatterycollection.com
Ford Battery Collection Serial Number Location Ford Battery Basic Part Number Choose ford® motor company genuine replacement electrical system battery and related components parts to ensure fit and easy installation for your car, truck or suv. I have been using varta batteries for. Your vehicle deserves only genuine oem ford parts and accessories. Ford Battery Basic Part Number.
From www.tascaparts.com
20212024 Ford Battery bhagmaux1b Ford Battery Basic Part Number Choose ford® motor company genuine replacement electrical system battery and related components parts to ensure fit and easy installation for your car, truck or suv. I have been using varta batteries for. Your vehicle deserves only genuine oem ford parts and accessories. Ford Battery Basic Part Number.
From repairfixtanja123.z19.web.core.windows.net
Battery 2011 Ford Edge Ford Battery Basic Part Number Choose ford® motor company genuine replacement electrical system battery and related components parts to ensure fit and easy installation for your car, truck or suv. Your vehicle deserves only genuine oem ford parts and accessories. I have been using varta batteries for. Ford Battery Basic Part Number.
From luliflip.weebly.com
Ford part number decoding luliflip Ford Battery Basic Part Number Choose ford® motor company genuine replacement electrical system battery and related components parts to ensure fit and easy installation for your car, truck or suv. I have been using varta batteries for. Your vehicle deserves only genuine oem ford parts and accessories. Ford Battery Basic Part Number.
From www.ebay.com
Understanding Battery Sizes (and Battery Group Size Charts) eBay Motors Blog Ford Battery Basic Part Number Choose ford® motor company genuine replacement electrical system battery and related components parts to ensure fit and easy installation for your car, truck or suv. Your vehicle deserves only genuine oem ford parts and accessories. I have been using varta batteries for. Ford Battery Basic Part Number.
From parts.lakelandford.com
CC3Z14300A Ford Battery Cable Harness. 6.7 LITER. F250, F350 Super Duty; 6.7L Diesel Ford Battery Basic Part Number Your vehicle deserves only genuine oem ford parts and accessories. Choose ford® motor company genuine replacement electrical system battery and related components parts to ensure fit and easy installation for your car, truck or suv. I have been using varta batteries for. Ford Battery Basic Part Number.
From parts.lakelandford.com
3W7Z14300AA Ford Cable. Battery. Assembly to. Harness. Positive. All models; sohc. Grand Ford Battery Basic Part Number Your vehicle deserves only genuine oem ford parts and accessories. Choose ford® motor company genuine replacement electrical system battery and related components parts to ensure fit and easy installation for your car, truck or suv. I have been using varta batteries for. Ford Battery Basic Part Number.
From www.oemford.parts
20132018 Ford CMax OEM Battery Tray FV6Z10732C OEM Ford Parts Ford Battery Basic Part Number Your vehicle deserves only genuine oem ford parts and accessories. I have been using varta batteries for. Choose ford® motor company genuine replacement electrical system battery and related components parts to ensure fit and easy installation for your car, truck or suv. Ford Battery Basic Part Number.
From parts-spyamaguchi.com
フォード フェスタ 純正バッテリー FP10K10655A Ford Battery Basic Part Number Choose ford® motor company genuine replacement electrical system battery and related components parts to ensure fit and easy installation for your car, truck or suv. I have been using varta batteries for. Your vehicle deserves only genuine oem ford parts and accessories. Ford Battery Basic Part Number.
From webmotor.org
Ford Motorcraft Battery Serial Number Lookup Ford Battery Basic Part Number Your vehicle deserves only genuine oem ford parts and accessories. I have been using varta batteries for. Choose ford® motor company genuine replacement electrical system battery and related components parts to ensure fit and easy installation for your car, truck or suv. Ford Battery Basic Part Number.
From parts.nsford.com
AV6Z10C679P Ford Battery. Sensor. Management. Cable Northside Ford, San Antonio TX Ford Battery Basic Part Number I have been using varta batteries for. Choose ford® motor company genuine replacement electrical system battery and related components parts to ensure fit and easy installation for your car, truck or suv. Your vehicle deserves only genuine oem ford parts and accessories. Ford Battery Basic Part Number.
From www.oemfordpart.com
Genuine OEM Ford Battery BEF48H6A OEM Ford Parts & Accessories Ford Battery Basic Part Number Your vehicle deserves only genuine oem ford parts and accessories. Choose ford® motor company genuine replacement electrical system battery and related components parts to ensure fit and easy installation for your car, truck or suv. I have been using varta batteries for. Ford Battery Basic Part Number.
From www.tascaparts.com
20202023 Ford Battery Assembly l1mz10b690d Ford Battery Basic Part Number Choose ford® motor company genuine replacement electrical system battery and related components parts to ensure fit and easy installation for your car, truck or suv. I have been using varta batteries for. Your vehicle deserves only genuine oem ford parts and accessories. Ford Battery Basic Part Number.
From www.tascaparts.com
19972021 Ford Battery Tray 4C2Z10769AA Ford Battery Basic Part Number I have been using varta batteries for. Choose ford® motor company genuine replacement electrical system battery and related components parts to ensure fit and easy installation for your car, truck or suv. Your vehicle deserves only genuine oem ford parts and accessories. Ford Battery Basic Part Number.
From www.f150gen14.com
Ford BMS Battery Monitoring System How it Works, How to Properly Charge, How to Power Ford Battery Basic Part Number Choose ford® motor company genuine replacement electrical system battery and related components parts to ensure fit and easy installation for your car, truck or suv. I have been using varta batteries for. Your vehicle deserves only genuine oem ford parts and accessories. Ford Battery Basic Part Number.
From parts.lakelandford.com
1991 Ford Battery. Voltage, High, Repair AE5Z10B759D Lakeland Ford Online Parts, Lakeland FL Ford Battery Basic Part Number I have been using varta batteries for. Choose ford® motor company genuine replacement electrical system battery and related components parts to ensure fit and easy installation for your car, truck or suv. Your vehicle deserves only genuine oem ford parts and accessories. Ford Battery Basic Part Number.
From parts.lakelandford.com
BXT96R590 ford Vehicle Battery. Amp Lakeland Ford Online Parts, Lakeland FL Ford Battery Basic Part Number Choose ford® motor company genuine replacement electrical system battery and related components parts to ensure fit and easy installation for your car, truck or suv. Your vehicle deserves only genuine oem ford parts and accessories. I have been using varta batteries for. Ford Battery Basic Part Number.