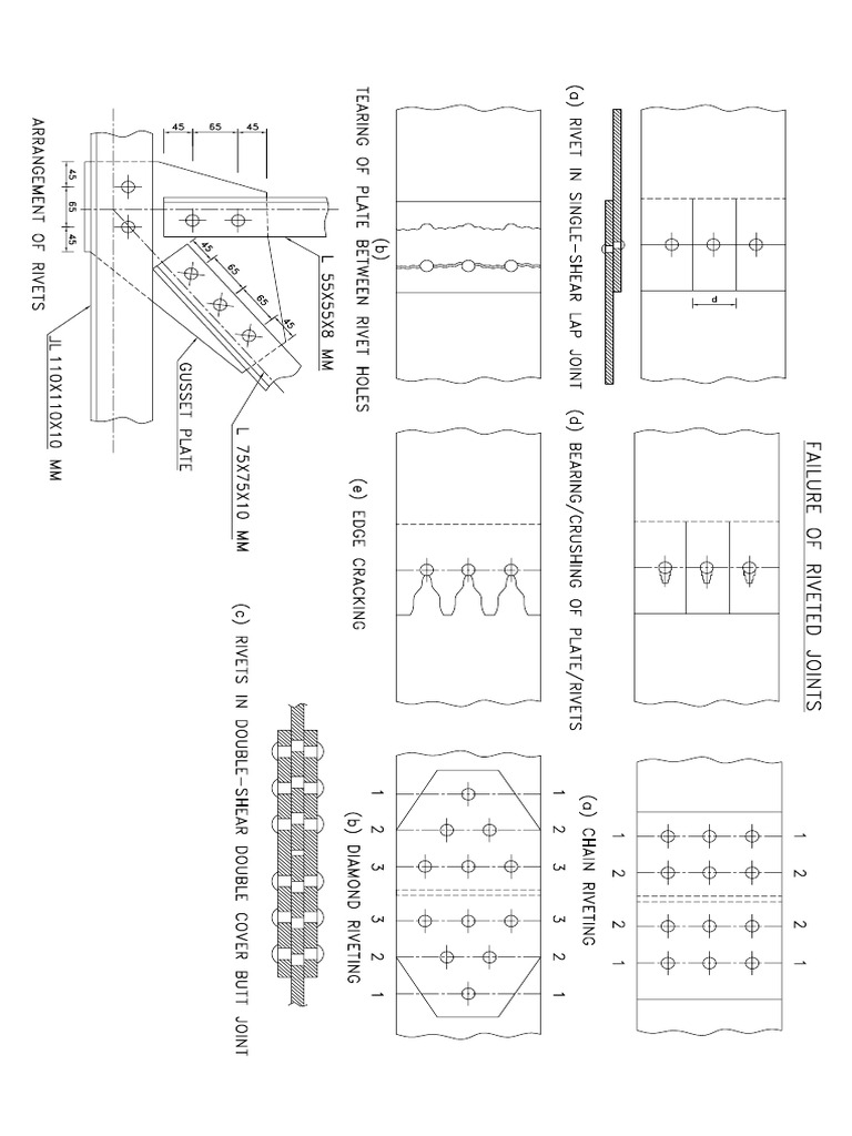
Failure Of Riveted Joint . the final failure mode of cfrp/cfrp riveted joints with gaskets was dominated by a combined failure mode of. And this number of rows gives strength to the joint. learn about riveted joints in this article. to download our notes please visit on my website link given. Know about types like single, zigzag and double riveted lap joints,butt joints, terms used,. about press copyright contact us creators advertise developers terms privacy policy & safety how. results are presented on the effect of panel material, laminate stacking stiffness and forming load on the stress. in these types of riveted joints, plates are kept face to face so that overlaps exist where the rivet is inserted.
from www.youtube.com
Know about types like single, zigzag and double riveted lap joints,butt joints, terms used,. learn about riveted joints in this article. And this number of rows gives strength to the joint. to download our notes please visit on my website link given. the final failure mode of cfrp/cfrp riveted joints with gaskets was dominated by a combined failure mode of. in these types of riveted joints, plates are kept face to face so that overlaps exist where the rivet is inserted. about press copyright contact us creators advertise developers terms privacy policy & safety how. results are presented on the effect of panel material, laminate stacking stiffness and forming load on the stress.
Failure of Riveted Joint(MD) YouTube
Failure Of Riveted Joint learn about riveted joints in this article. about press copyright contact us creators advertise developers terms privacy policy & safety how. to download our notes please visit on my website link given. learn about riveted joints in this article. the final failure mode of cfrp/cfrp riveted joints with gaskets was dominated by a combined failure mode of. And this number of rows gives strength to the joint. in these types of riveted joints, plates are kept face to face so that overlaps exist where the rivet is inserted. results are presented on the effect of panel material, laminate stacking stiffness and forming load on the stress. Know about types like single, zigzag and double riveted lap joints,butt joints, terms used,.
From vipinkumarrana.blogspot.com
Techanicalbooks RIVETS TYPES, FAILURES OF RIVETED JOINT, TERMS USED IN RIVETING Failure Of Riveted Joint in these types of riveted joints, plates are kept face to face so that overlaps exist where the rivet is inserted. the final failure mode of cfrp/cfrp riveted joints with gaskets was dominated by a combined failure mode of. results are presented on the effect of panel material, laminate stacking stiffness and forming load on the stress.. Failure Of Riveted Joint.
From innovationdiscoveries.space
Rivets Types, Failures Of Riveted Joint, Terms Used In Riveting Failure Of Riveted Joint results are presented on the effect of panel material, laminate stacking stiffness and forming load on the stress. in these types of riveted joints, plates are kept face to face so that overlaps exist where the rivet is inserted. about press copyright contact us creators advertise developers terms privacy policy & safety how. Know about types like. Failure Of Riveted Joint.
From www.mdpi.com
Aerospace Free FullText Bearing Strength and Failure Mechanisms of Riveted Woven Carbon Failure Of Riveted Joint Know about types like single, zigzag and double riveted lap joints,butt joints, terms used,. the final failure mode of cfrp/cfrp riveted joints with gaskets was dominated by a combined failure mode of. results are presented on the effect of panel material, laminate stacking stiffness and forming load on the stress. about press copyright contact us creators advertise. Failure Of Riveted Joint.
From www.coursehero.com
[Solved] 1. Explain the different types of rivetedjoint failures and... Course Hero Failure Of Riveted Joint in these types of riveted joints, plates are kept face to face so that overlaps exist where the rivet is inserted. about press copyright contact us creators advertise developers terms privacy policy & safety how. the final failure mode of cfrp/cfrp riveted joints with gaskets was dominated by a combined failure mode of. Know about types like. Failure Of Riveted Joint.
From innovationdiscoveries.space
Rivets Types, Failures Of Riveted Joint, Terms Used In Riveting Failure Of Riveted Joint about press copyright contact us creators advertise developers terms privacy policy & safety how. And this number of rows gives strength to the joint. Know about types like single, zigzag and double riveted lap joints,butt joints, terms used,. the final failure mode of cfrp/cfrp riveted joints with gaskets was dominated by a combined failure mode of. results. Failure Of Riveted Joint.
From www.coursehero.com
[Solved] 1. Explain the different types of rivetedjoint failures and... Course Hero Failure Of Riveted Joint learn about riveted joints in this article. in these types of riveted joints, plates are kept face to face so that overlaps exist where the rivet is inserted. results are presented on the effect of panel material, laminate stacking stiffness and forming load on the stress. the final failure mode of cfrp/cfrp riveted joints with gaskets. Failure Of Riveted Joint.
From byjusexamprep.com
Riveted Joints What is Riveted Joints & its Types Failure Of Riveted Joint in these types of riveted joints, plates are kept face to face so that overlaps exist where the rivet is inserted. Know about types like single, zigzag and double riveted lap joints,butt joints, terms used,. about press copyright contact us creators advertise developers terms privacy policy & safety how. results are presented on the effect of panel. Failure Of Riveted Joint.
From www.youtube.com
Design of Riveted Joints Failures of riveted joints Types of riveted joints YouTube Failure Of Riveted Joint in these types of riveted joints, plates are kept face to face so that overlaps exist where the rivet is inserted. learn about riveted joints in this article. the final failure mode of cfrp/cfrp riveted joints with gaskets was dominated by a combined failure mode of. And this number of rows gives strength to the joint. Know. Failure Of Riveted Joint.
From www.youtube.com
Principles of Engineering Design 65 Failures of a Riveted Joint YouTube Failure Of Riveted Joint in these types of riveted joints, plates are kept face to face so that overlaps exist where the rivet is inserted. results are presented on the effect of panel material, laminate stacking stiffness and forming load on the stress. And this number of rows gives strength to the joint. Know about types like single, zigzag and double riveted. Failure Of Riveted Joint.
From www.studypool.com
SOLUTION Lecture 4 possible failure of riveted joints Studypool Failure Of Riveted Joint And this number of rows gives strength to the joint. Know about types like single, zigzag and double riveted lap joints,butt joints, terms used,. learn about riveted joints in this article. about press copyright contact us creators advertise developers terms privacy policy & safety how. to download our notes please visit on my website link given. . Failure Of Riveted Joint.
From www.youtube.com
LECT09,DESIGN OF STEEL STRUCTURE// FAILURE OF RIVETED JOINTS YouTube Failure Of Riveted Joint in these types of riveted joints, plates are kept face to face so that overlaps exist where the rivet is inserted. results are presented on the effect of panel material, laminate stacking stiffness and forming load on the stress. Know about types like single, zigzag and double riveted lap joints,butt joints, terms used,. And this number of rows. Failure Of Riveted Joint.
From innovationdiscoveries.space
Rivets Types, Failures Of Riveted Joint, Terms Used In Riveting Failure Of Riveted Joint about press copyright contact us creators advertise developers terms privacy policy & safety how. results are presented on the effect of panel material, laminate stacking stiffness and forming load on the stress. And this number of rows gives strength to the joint. to download our notes please visit on my website link given. learn about riveted. Failure Of Riveted Joint.
From www.youtube.com
Mode of failures of Riveted Joint Steel Portion 5th Sem Prashant YT CTEVT YouTube Failure Of Riveted Joint to download our notes please visit on my website link given. about press copyright contact us creators advertise developers terms privacy policy & safety how. learn about riveted joints in this article. the final failure mode of cfrp/cfrp riveted joints with gaskets was dominated by a combined failure mode of. results are presented on the. Failure Of Riveted Joint.
From www.slideshare.net
Design of riveted joint failures may 2020 PPT Failure Of Riveted Joint learn about riveted joints in this article. Know about types like single, zigzag and double riveted lap joints,butt joints, terms used,. And this number of rows gives strength to the joint. in these types of riveted joints, plates are kept face to face so that overlaps exist where the rivet is inserted. about press copyright contact us. Failure Of Riveted Joint.
From www.youtube.com
FAILURE OF RIVETED JOINTS YouTube Failure Of Riveted Joint about press copyright contact us creators advertise developers terms privacy policy & safety how. Know about types like single, zigzag and double riveted lap joints,butt joints, terms used,. the final failure mode of cfrp/cfrp riveted joints with gaskets was dominated by a combined failure mode of. to download our notes please visit on my website link given.. Failure Of Riveted Joint.
From www.studypool.com
SOLUTION Lecture 4 possible failure of riveted joints Studypool Failure Of Riveted Joint And this number of rows gives strength to the joint. to download our notes please visit on my website link given. learn about riveted joints in this article. in these types of riveted joints, plates are kept face to face so that overlaps exist where the rivet is inserted. about press copyright contact us creators advertise. Failure Of Riveted Joint.
From www.youtube.com
Modes of Failure and Strength of Riveted Joints YouTube Failure Of Riveted Joint the final failure mode of cfrp/cfrp riveted joints with gaskets was dominated by a combined failure mode of. Know about types like single, zigzag and double riveted lap joints,butt joints, terms used,. about press copyright contact us creators advertise developers terms privacy policy & safety how. learn about riveted joints in this article. And this number of. Failure Of Riveted Joint.
From www.youtube.com
Part 1 Type of riveted joint and Type of failure in riveted joint Design of Riveted Joints Failure Of Riveted Joint the final failure mode of cfrp/cfrp riveted joints with gaskets was dominated by a combined failure mode of. Know about types like single, zigzag and double riveted lap joints,butt joints, terms used,. learn about riveted joints in this article. in these types of riveted joints, plates are kept face to face so that overlaps exist where the. Failure Of Riveted Joint.
From www.youtube.com
REASON FOR FAILURE OF RIVETED JOINT YouTube Failure Of Riveted Joint learn about riveted joints in this article. to download our notes please visit on my website link given. results are presented on the effect of panel material, laminate stacking stiffness and forming load on the stress. Know about types like single, zigzag and double riveted lap joints,butt joints, terms used,. about press copyright contact us creators. Failure Of Riveted Joint.
From www.scribd.com
Failures Modes of Riveted Joints PDF Rivet Screw Failure Of Riveted Joint in these types of riveted joints, plates are kept face to face so that overlaps exist where the rivet is inserted. about press copyright contact us creators advertise developers terms privacy policy & safety how. to download our notes please visit on my website link given. results are presented on the effect of panel material, laminate. Failure Of Riveted Joint.
From innovationdiscoveries.space
Rivets Types, Failures Of Riveted Joint, Terms Used In Riveting Failure Of Riveted Joint learn about riveted joints in this article. the final failure mode of cfrp/cfrp riveted joints with gaskets was dominated by a combined failure mode of. results are presented on the effect of panel material, laminate stacking stiffness and forming load on the stress. to download our notes please visit on my website link given. Know about. Failure Of Riveted Joint.
From www.scribd.com
Failure of Riveted Joints PDF Failure Of Riveted Joint Know about types like single, zigzag and double riveted lap joints,butt joints, terms used,. results are presented on the effect of panel material, laminate stacking stiffness and forming load on the stress. And this number of rows gives strength to the joint. learn about riveted joints in this article. to download our notes please visit on my. Failure Of Riveted Joint.
From innovationdiscoveries.space
Rivets Types, Failures Of Riveted Joint, Terms Used In Riveting Failure Of Riveted Joint in these types of riveted joints, plates are kept face to face so that overlaps exist where the rivet is inserted. results are presented on the effect of panel material, laminate stacking stiffness and forming load on the stress. learn about riveted joints in this article. to download our notes please visit on my website link. Failure Of Riveted Joint.
From www.youtube.com
failure of rivet joints YouTube Failure Of Riveted Joint learn about riveted joints in this article. to download our notes please visit on my website link given. about press copyright contact us creators advertise developers terms privacy policy & safety how. in these types of riveted joints, plates are kept face to face so that overlaps exist where the rivet is inserted. the final. Failure Of Riveted Joint.
From www.mdpi.com
Aerospace Free FullText Bearing Strength and Failure Mechanisms of Riveted Woven Carbon Failure Of Riveted Joint And this number of rows gives strength to the joint. the final failure mode of cfrp/cfrp riveted joints with gaskets was dominated by a combined failure mode of. results are presented on the effect of panel material, laminate stacking stiffness and forming load on the stress. in these types of riveted joints, plates are kept face to. Failure Of Riveted Joint.
From www.studypool.com
SOLUTION Lecture 4 possible failure of riveted joints Studypool Failure Of Riveted Joint about press copyright contact us creators advertise developers terms privacy policy & safety how. results are presented on the effect of panel material, laminate stacking stiffness and forming load on the stress. learn about riveted joints in this article. And this number of rows gives strength to the joint. in these types of riveted joints, plates. Failure Of Riveted Joint.
From www.youtube.com
Failure of Riveted Joint(MD) YouTube Failure Of Riveted Joint in these types of riveted joints, plates are kept face to face so that overlaps exist where the rivet is inserted. about press copyright contact us creators advertise developers terms privacy policy & safety how. learn about riveted joints in this article. results are presented on the effect of panel material, laminate stacking stiffness and forming. Failure Of Riveted Joint.
From www.coursehero.com
[Solved] 1. Explain the different types of rivetedjoint failures and... Course Hero Failure Of Riveted Joint about press copyright contact us creators advertise developers terms privacy policy & safety how. results are presented on the effect of panel material, laminate stacking stiffness and forming load on the stress. the final failure mode of cfrp/cfrp riveted joints with gaskets was dominated by a combined failure mode of. in these types of riveted joints,. Failure Of Riveted Joint.
From www.researchgate.net
Lapshear failure modes of the FSPR joints. (a) Rivet failure of... Download Scientific Diagram Failure Of Riveted Joint in these types of riveted joints, plates are kept face to face so that overlaps exist where the rivet is inserted. about press copyright contact us creators advertise developers terms privacy policy & safety how. Know about types like single, zigzag and double riveted lap joints,butt joints, terms used,. the final failure mode of cfrp/cfrp riveted joints. Failure Of Riveted Joint.
From innovationdiscoveries.space
Rivets Types, Failures Of Riveted Joint, Terms Used In Riveting Failure Of Riveted Joint about press copyright contact us creators advertise developers terms privacy policy & safety how. in these types of riveted joints, plates are kept face to face so that overlaps exist where the rivet is inserted. And this number of rows gives strength to the joint. learn about riveted joints in this article. results are presented on. Failure Of Riveted Joint.
From innovationdiscoveries.space
Rivets Types, Failures Of Riveted Joint, Terms Used In Riveting Failure Of Riveted Joint Know about types like single, zigzag and double riveted lap joints,butt joints, terms used,. about press copyright contact us creators advertise developers terms privacy policy & safety how. And this number of rows gives strength to the joint. to download our notes please visit on my website link given. results are presented on the effect of panel. Failure Of Riveted Joint.
From innovationdiscoveries.space
Rivets Types, Failures Of Riveted Joint, Terms Used In Riveting Failure Of Riveted Joint And this number of rows gives strength to the joint. results are presented on the effect of panel material, laminate stacking stiffness and forming load on the stress. learn about riveted joints in this article. about press copyright contact us creators advertise developers terms privacy policy & safety how. the final failure mode of cfrp/cfrp riveted. Failure Of Riveted Joint.
From ecoursesonline.iasri.res.in
Design of Structures LESSON 5. Riveted Connections Failure Of Riveted Joint to download our notes please visit on my website link given. Know about types like single, zigzag and double riveted lap joints,butt joints, terms used,. learn about riveted joints in this article. in these types of riveted joints, plates are kept face to face so that overlaps exist where the rivet is inserted. about press copyright. Failure Of Riveted Joint.
From innovationdiscoveries.space
Rivets Types, Failures Of Riveted Joint, Terms Used In Riveting Failure Of Riveted Joint learn about riveted joints in this article. to download our notes please visit on my website link given. in these types of riveted joints, plates are kept face to face so that overlaps exist where the rivet is inserted. Know about types like single, zigzag and double riveted lap joints,butt joints, terms used,. about press copyright. Failure Of Riveted Joint.
From www.youtube.com
Principles of Engineering Design 66 Failures of a Riveted Joint YouTube Failure Of Riveted Joint in these types of riveted joints, plates are kept face to face so that overlaps exist where the rivet is inserted. about press copyright contact us creators advertise developers terms privacy policy & safety how. learn about riveted joints in this article. And this number of rows gives strength to the joint. results are presented on. Failure Of Riveted Joint.