Sprinkler Head Means In Construction . Installations of ceilings and/or walls to capture heat and engage the sprinkler head (s). Let’s look at these more closely. As an example, suppose a. A common problem that we encounter is how to provide sprinkler protection during construction. Learn about the different types of fire sprinkler heads and systems, such as pendant, upright, sidewall, concealed, quick. Not every space in a structure is required to be protected by sprinklers—and nfpa 13 is very clear on what those spaces need to. Learn when sprinklers are required or allowed to be omitted in bathrooms based on building codes and standards. It is a comprehensive set of guidelines designed to ensure the safety of occupants within buildings during emergencies,. The ability to get water to the site, keep it from freezing and to monitor the fire protection system is not easy but is achievable.
from mepsector.com
Not every space in a structure is required to be protected by sprinklers—and nfpa 13 is very clear on what those spaces need to. A common problem that we encounter is how to provide sprinkler protection during construction. It is a comprehensive set of guidelines designed to ensure the safety of occupants within buildings during emergencies,. Learn about the different types of fire sprinkler heads and systems, such as pendant, upright, sidewall, concealed, quick. Learn when sprinklers are required or allowed to be omitted in bathrooms based on building codes and standards. The ability to get water to the site, keep it from freezing and to monitor the fire protection system is not easy but is achievable. Let’s look at these more closely. As an example, suppose a. Installations of ceilings and/or walls to capture heat and engage the sprinkler head (s).
Types of Fire Sprinkler Heads Fire Protection System MEP sector
Sprinkler Head Means In Construction A common problem that we encounter is how to provide sprinkler protection during construction. As an example, suppose a. Learn when sprinklers are required or allowed to be omitted in bathrooms based on building codes and standards. Learn about the different types of fire sprinkler heads and systems, such as pendant, upright, sidewall, concealed, quick. A common problem that we encounter is how to provide sprinkler protection during construction. It is a comprehensive set of guidelines designed to ensure the safety of occupants within buildings during emergencies,. Let’s look at these more closely. Not every space in a structure is required to be protected by sprinklers—and nfpa 13 is very clear on what those spaces need to. The ability to get water to the site, keep it from freezing and to monitor the fire protection system is not easy but is achievable. Installations of ceilings and/or walls to capture heat and engage the sprinkler head (s).
From amptec.ca
Fire Sprinkler Systems in Edmonton Amptec Fire & Security Sprinkler Head Means In Construction As an example, suppose a. A common problem that we encounter is how to provide sprinkler protection during construction. Not every space in a structure is required to be protected by sprinklers—and nfpa 13 is very clear on what those spaces need to. It is a comprehensive set of guidelines designed to ensure the safety of occupants within buildings during. Sprinkler Head Means In Construction.
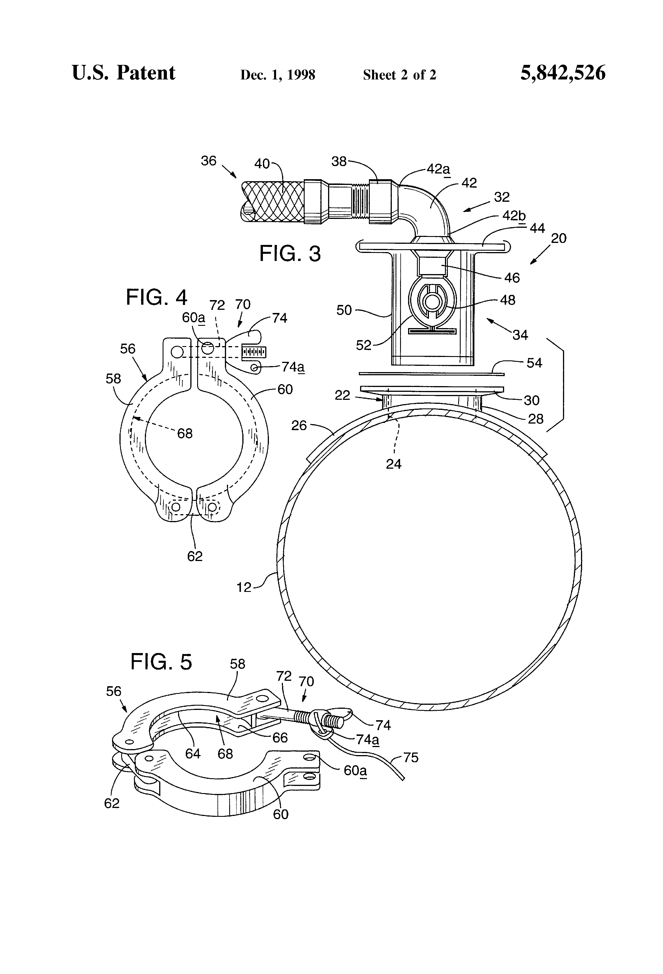
From www.google.com
Patent US5842526 Sprinkler head mounting system Google Patents Sprinkler Head Means In Construction As an example, suppose a. Learn about the different types of fire sprinkler heads and systems, such as pendant, upright, sidewall, concealed, quick. Learn when sprinklers are required or allowed to be omitted in bathrooms based on building codes and standards. The ability to get water to the site, keep it from freezing and to monitor the fire protection system. Sprinkler Head Means In Construction.
From animalia-life.club
Lawn Sprinkler Head Spraying Water Sprinkler Head Means In Construction A common problem that we encounter is how to provide sprinkler protection during construction. It is a comprehensive set of guidelines designed to ensure the safety of occupants within buildings during emergencies,. As an example, suppose a. Let’s look at these more closely. The ability to get water to the site, keep it from freezing and to monitor the fire. Sprinkler Head Means In Construction.
From www.zimmermanelectricco.com
Residential Fire Sprinkler SystemMisunderstood Fire Protection Sprinkler Head Means In Construction Not every space in a structure is required to be protected by sprinklers—and nfpa 13 is very clear on what those spaces need to. A common problem that we encounter is how to provide sprinkler protection during construction. Learn about the different types of fire sprinkler heads and systems, such as pendant, upright, sidewall, concealed, quick. As an example, suppose. Sprinkler Head Means In Construction.
From gardentabs.com
How To Replace A Rain Bird Sprinkler Head [Quickly & Easily] Sprinkler Head Means In Construction Let’s look at these more closely. A common problem that we encounter is how to provide sprinkler protection during construction. Installations of ceilings and/or walls to capture heat and engage the sprinkler head (s). As an example, suppose a. Not every space in a structure is required to be protected by sprinklers—and nfpa 13 is very clear on what those. Sprinkler Head Means In Construction.
From www.techhive.com
Irrigreen Precision Sprinkler System review Waste not, want not TechHive Sprinkler Head Means In Construction Let’s look at these more closely. A common problem that we encounter is how to provide sprinkler protection during construction. As an example, suppose a. Learn about the different types of fire sprinkler heads and systems, such as pendant, upright, sidewall, concealed, quick. Learn when sprinklers are required or allowed to be omitted in bathrooms based on building codes and. Sprinkler Head Means In Construction.
From www.jlcatj.gob.mx
Designing A Sprinkler System Cheapest Wholesale, Save 43 jlcatj.gob.mx Sprinkler Head Means In Construction A common problem that we encounter is how to provide sprinkler protection during construction. Installations of ceilings and/or walls to capture heat and engage the sprinkler head (s). As an example, suppose a. Learn when sprinklers are required or allowed to be omitted in bathrooms based on building codes and standards. Learn about the different types of fire sprinkler heads. Sprinkler Head Means In Construction.
From www.indiamart.com
Sprinkler Head at best price in Palwal by Paramhans Fire Solution Sprinkler Head Means In Construction The ability to get water to the site, keep it from freezing and to monitor the fire protection system is not easy but is achievable. It is a comprehensive set of guidelines designed to ensure the safety of occupants within buildings during emergencies,. Let’s look at these more closely. Installations of ceilings and/or walls to capture heat and engage the. Sprinkler Head Means In Construction.
From www.youtube.com
Types of Sprinklers YouTube Sprinkler Head Means In Construction Let’s look at these more closely. Learn about the different types of fire sprinkler heads and systems, such as pendant, upright, sidewall, concealed, quick. As an example, suppose a. Installations of ceilings and/or walls to capture heat and engage the sprinkler head (s). Not every space in a structure is required to be protected by sprinklers—and nfpa 13 is very. Sprinkler Head Means In Construction.
From www.dreamstime.com
Fire Sprinkler Heads with Fusible Links and Frangible Bulbs Stock Photo Sprinkler Head Means In Construction Let’s look at these more closely. Learn when sprinklers are required or allowed to be omitted in bathrooms based on building codes and standards. A common problem that we encounter is how to provide sprinkler protection during construction. Installations of ceilings and/or walls to capture heat and engage the sprinkler head (s). Not every space in a structure is required. Sprinkler Head Means In Construction.
From firesystems.net
Types of Fire Sprinkler Heads Fire Systems Inc. Fire Protection in Sprinkler Head Means In Construction The ability to get water to the site, keep it from freezing and to monitor the fire protection system is not easy but is achievable. Learn about the different types of fire sprinkler heads and systems, such as pendant, upright, sidewall, concealed, quick. As an example, suppose a. Let’s look at these more closely. Not every space in a structure. Sprinkler Head Means In Construction.
From www.ny-engineers.com
Dry Sprinkler Systems Sprinkler Services New York Engineers Sprinkler Head Means In Construction Learn about the different types of fire sprinkler heads and systems, such as pendant, upright, sidewall, concealed, quick. Installations of ceilings and/or walls to capture heat and engage the sprinkler head (s). Not every space in a structure is required to be protected by sprinklers—and nfpa 13 is very clear on what those spaces need to. A common problem that. Sprinkler Head Means In Construction.
From www.tradekorea.com
Sprinkler Head tradekorea Sprinkler Head Means In Construction A common problem that we encounter is how to provide sprinkler protection during construction. As an example, suppose a. It is a comprehensive set of guidelines designed to ensure the safety of occupants within buildings during emergencies,. Learn when sprinklers are required or allowed to be omitted in bathrooms based on building codes and standards. The ability to get water. Sprinkler Head Means In Construction.
From buildingproductadvisor.com
Rainbird vs Hunder Sprinkler Heads and Valves 9 Differences Sprinkler Head Means In Construction Let’s look at these more closely. It is a comprehensive set of guidelines designed to ensure the safety of occupants within buildings during emergencies,. As an example, suppose a. A common problem that we encounter is how to provide sprinkler protection during construction. Not every space in a structure is required to be protected by sprinklers—and nfpa 13 is very. Sprinkler Head Means In Construction.
From bulkindustries.com
Fire Sprinkler Head, RASCO/Reliable Model G, R1231 R1233 R1235 R1236 Sprinkler Head Means In Construction Let’s look at these more closely. Learn when sprinklers are required or allowed to be omitted in bathrooms based on building codes and standards. A common problem that we encounter is how to provide sprinkler protection during construction. Not every space in a structure is required to be protected by sprinklers—and nfpa 13 is very clear on what those spaces. Sprinkler Head Means In Construction.
From www.dripworks.com
How to Locate the Sprinkler Heads with Overgrown Vegetation? DripWorks Sprinkler Head Means In Construction Let’s look at these more closely. Installations of ceilings and/or walls to capture heat and engage the sprinkler head (s). It is a comprehensive set of guidelines designed to ensure the safety of occupants within buildings during emergencies,. Learn when sprinklers are required or allowed to be omitted in bathrooms based on building codes and standards. Not every space in. Sprinkler Head Means In Construction.
From mepsector.com
Types of Fire Sprinkler Heads Fire Protection System MEP sector Sprinkler Head Means In Construction Let’s look at these more closely. As an example, suppose a. The ability to get water to the site, keep it from freezing and to monitor the fire protection system is not easy but is achievable. Learn about the different types of fire sprinkler heads and systems, such as pendant, upright, sidewall, concealed, quick. Learn when sprinklers are required or. Sprinkler Head Means In Construction.
From www.alamy.com
Sprinkler head spraying water hires stock photography and images Alamy Sprinkler Head Means In Construction Installations of ceilings and/or walls to capture heat and engage the sprinkler head (s). The ability to get water to the site, keep it from freezing and to monitor the fire protection system is not easy but is achievable. Learn when sprinklers are required or allowed to be omitted in bathrooms based on building codes and standards. Let’s look at. Sprinkler Head Means In Construction.
From evergreensprinkler.net
Sprinkler Head Repair Boynton Beach Sprinkler Head Means In Construction Let’s look at these more closely. Not every space in a structure is required to be protected by sprinklers—and nfpa 13 is very clear on what those spaces need to. The ability to get water to the site, keep it from freezing and to monitor the fire protection system is not easy but is achievable. Learn about the different types. Sprinkler Head Means In Construction.
From www.reddit.com
The head of an impact sprinkler, a type of irrigation sprinkler in Sprinkler Head Means In Construction As an example, suppose a. It is a comprehensive set of guidelines designed to ensure the safety of occupants within buildings during emergencies,. Not every space in a structure is required to be protected by sprinklers—and nfpa 13 is very clear on what those spaces need to. Installations of ceilings and/or walls to capture heat and engage the sprinkler head. Sprinkler Head Means In Construction.
From www.alibaba.com
Fire Protection System Fire Sprinkler System Copper Pipes Fittings Sprinkler Head Means In Construction Learn about the different types of fire sprinkler heads and systems, such as pendant, upright, sidewall, concealed, quick. The ability to get water to the site, keep it from freezing and to monitor the fire protection system is not easy but is achievable. Let’s look at these more closely. Installations of ceilings and/or walls to capture heat and engage the. Sprinkler Head Means In Construction.
From www.embracegardening.com
How to Turn Off a Sprinkler Head (Shut Them Individually Sprinkler Head Means In Construction It is a comprehensive set of guidelines designed to ensure the safety of occupants within buildings during emergencies,. The ability to get water to the site, keep it from freezing and to monitor the fire protection system is not easy but is achievable. A common problem that we encounter is how to provide sprinkler protection during construction. Installations of ceilings. Sprinkler Head Means In Construction.
From www.ibb.jatimprov.go.id
Fire Sprinkler Head Pendant 68C Sprinkler Head Means In Construction Installations of ceilings and/or walls to capture heat and engage the sprinkler head (s). A common problem that we encounter is how to provide sprinkler protection during construction. It is a comprehensive set of guidelines designed to ensure the safety of occupants within buildings during emergencies,. Learn about the different types of fire sprinkler heads and systems, such as pendant,. Sprinkler Head Means In Construction.
From www.phcppros.com
The Sprinkler Identification Number A Quick History phcppros Sprinkler Head Means In Construction Installations of ceilings and/or walls to capture heat and engage the sprinkler head (s). Let’s look at these more closely. It is a comprehensive set of guidelines designed to ensure the safety of occupants within buildings during emergencies,. Not every space in a structure is required to be protected by sprinklers—and nfpa 13 is very clear on what those spaces. Sprinkler Head Means In Construction.
From www.shutterstock.com
33 Fire sprinkler head type Images, Stock Photos & Vectors Shutterstock Sprinkler Head Means In Construction A common problem that we encounter is how to provide sprinkler protection during construction. Not every space in a structure is required to be protected by sprinklers—and nfpa 13 is very clear on what those spaces need to. Learn when sprinklers are required or allowed to be omitted in bathrooms based on building codes and standards. The ability to get. Sprinkler Head Means In Construction.
From www.dreamstime.com
Fire Sprinkler Heads with Fusible Links and Frangible Bulbs Stock Image Sprinkler Head Means In Construction Let’s look at these more closely. As an example, suppose a. Learn about the different types of fire sprinkler heads and systems, such as pendant, upright, sidewall, concealed, quick. Learn when sprinklers are required or allowed to be omitted in bathrooms based on building codes and standards. A common problem that we encounter is how to provide sprinkler protection during. Sprinkler Head Means In Construction.
From www.ny-engineers.com
Sprinkler Head Layout Sprinkler Services Sprinkler Head Means In Construction The ability to get water to the site, keep it from freezing and to monitor the fire protection system is not easy but is achievable. As an example, suppose a. Let’s look at these more closely. Installations of ceilings and/or walls to capture heat and engage the sprinkler head (s). Not every space in a structure is required to be. Sprinkler Head Means In Construction.
From shutgun.ca
Fire Sprinkler Head Shut Off Tool Sprinkler Stopper Shutgun Sprinkler Head Means In Construction Installations of ceilings and/or walls to capture heat and engage the sprinkler head (s). Let’s look at these more closely. Learn about the different types of fire sprinkler heads and systems, such as pendant, upright, sidewall, concealed, quick. The ability to get water to the site, keep it from freezing and to monitor the fire protection system is not easy. Sprinkler Head Means In Construction.
From simmonslandscape.com
How To Fix A Sprinkler Head In 7 Steps Simmons Landscape & Irrigation Sprinkler Head Means In Construction A common problem that we encounter is how to provide sprinkler protection during construction. Not every space in a structure is required to be protected by sprinklers—and nfpa 13 is very clear on what those spaces need to. The ability to get water to the site, keep it from freezing and to monitor the fire protection system is not easy. Sprinkler Head Means In Construction.
From www.fixr.com
Sprinkler System Installation Cost Average Cost of Sprinkler System Sprinkler Head Means In Construction Learn about the different types of fire sprinkler heads and systems, such as pendant, upright, sidewall, concealed, quick. Let’s look at these more closely. Not every space in a structure is required to be protected by sprinklers—and nfpa 13 is very clear on what those spaces need to. Installations of ceilings and/or walls to capture heat and engage the sprinkler. Sprinkler Head Means In Construction.
From www.carousell.ph
SPRINKLER HEAD SIDEWALL TYPE W/ ESCUTCHEON PLATE, Commercial Sprinkler Head Means In Construction Learn when sprinklers are required or allowed to be omitted in bathrooms based on building codes and standards. Not every space in a structure is required to be protected by sprinklers—and nfpa 13 is very clear on what those spaces need to. A common problem that we encounter is how to provide sprinkler protection during construction. It is a comprehensive. Sprinkler Head Means In Construction.
From www.etsy.com
Sprinkler Head Irrigation Removal and Replacement 4in1 Tool Removes Sprinkler Head Means In Construction Learn when sprinklers are required or allowed to be omitted in bathrooms based on building codes and standards. Let’s look at these more closely. It is a comprehensive set of guidelines designed to ensure the safety of occupants within buildings during emergencies,. The ability to get water to the site, keep it from freezing and to monitor the fire protection. Sprinkler Head Means In Construction.
From gardeningleave.org
The Importance Of Installing A Sprinkler System Under Your Staircase Sprinkler Head Means In Construction The ability to get water to the site, keep it from freezing and to monitor the fire protection system is not easy but is achievable. Learn about the different types of fire sprinkler heads and systems, such as pendant, upright, sidewall, concealed, quick. Not every space in a structure is required to be protected by sprinklers—and nfpa 13 is very. Sprinkler Head Means In Construction.
From spanishviewequipment.com
Fire Sprinkler Head Vk464 Spanish View Equipment Sprinkler Head Means In Construction Let’s look at these more closely. As an example, suppose a. Learn when sprinklers are required or allowed to be omitted in bathrooms based on building codes and standards. Learn about the different types of fire sprinkler heads and systems, such as pendant, upright, sidewall, concealed, quick. The ability to get water to the site, keep it from freezing and. Sprinkler Head Means In Construction.
From www.walmart.com
Quick Response Brass Fire Sprinkler Head Pendent Sprinkler Head Upright Sprinkler Head Means In Construction A common problem that we encounter is how to provide sprinkler protection during construction. It is a comprehensive set of guidelines designed to ensure the safety of occupants within buildings during emergencies,. As an example, suppose a. Let’s look at these more closely. Learn about the different types of fire sprinkler heads and systems, such as pendant, upright, sidewall, concealed,. Sprinkler Head Means In Construction.