Suzuki Jimny Brake Line Diagram . 2) check rear brake drums and brake linings for excessive wear and damage, while wheels and drums are removed. View, print and download for free: Suzuki jimny 2005 3.g service workshop manual, 687 pages, pdf size: The suzuki jimny 2000 workshop manual pdf includes:. Attached diagram shows metal lines running along right frame (listed as number 18). Make sure you get the fully threaded male ends like your picture. The best advice i can give you is to not try to remove the existing. Brake pedal (2) 80j2121 your suzuki vehicle is equipped with front automatic transmission disc brakes and rear drum brakes. Depressing the brake pedal applies both example sets of. At the same time, check. Hi guys i’ve my mot due soon and i suspect at least an advisory on my rigid brake lines. What size is the pipe and unions and what sort of flare is used?. Brake fluids, oil changes, engine rebuilds, electrical faults; Standard ones have no thread on the 3mm nearest the. Search in suzuki jimny 2005 3.g service workshop manual online.
from www.megazip.net
Make sure you get the fully threaded male ends like your picture. The best advice i can give you is to not try to remove the existing. Suzuki jimny 2005 3.g service workshop manual, 687 pages, pdf size: Brake pedal (2) 80j2121 your suzuki vehicle is equipped with front automatic transmission disc brakes and rear drum brakes. Attached diagram shows metal lines running along right frame (listed as number 18). 2) check rear brake drums and brake linings for excessive wear and damage, while wheels and drums are removed. Search in suzuki jimny 2005 3.g service workshop manual online. At the same time, check. View, print and download for free: Depressing the brake pedal applies both example sets of.
brakes piping for 2000 2011 Suzuki JIMNY JB23W Japan sales region
Suzuki Jimny Brake Line Diagram At the same time, check. Depressing the brake pedal applies both example sets of. Hi guys i’ve my mot due soon and i suspect at least an advisory on my rigid brake lines. Brake fluids, oil changes, engine rebuilds, electrical faults; The best advice i can give you is to not try to remove the existing. The suzuki jimny 2000 workshop manual pdf includes:. What size is the pipe and unions and what sort of flare is used?. Standard ones have no thread on the 3mm nearest the. Suzuki jimny 2005 3.g service workshop manual, 687 pages, pdf size: Brake pedal (2) 80j2121 your suzuki vehicle is equipped with front automatic transmission disc brakes and rear drum brakes. Search in suzuki jimny 2005 3.g service workshop manual online. At the same time, check. 2) check rear brake drums and brake linings for excessive wear and damage, while wheels and drums are removed. Make sure you get the fully threaded male ends like your picture. Attached diagram shows metal lines running along right frame (listed as number 18). View, print and download for free:
From nomadic-escapade.site
Suzuki Jimny Brake Upgrade Nomadic Escapade Suzuki Jimny Brake Line Diagram Depressing the brake pedal applies both example sets of. View, print and download for free: Brake pedal (2) 80j2121 your suzuki vehicle is equipped with front automatic transmission disc brakes and rear drum brakes. Brake fluids, oil changes, engine rebuilds, electrical faults; 2) check rear brake drums and brake linings for excessive wear and damage, while wheels and drums are. Suzuki Jimny Brake Line Diagram.
From www.megazip.net
Brake piping for Suzuki JIMNY SN413Q Pacific sales region Suzuki Jimny Brake Line Diagram What size is the pipe and unions and what sort of flare is used?. Standard ones have no thread on the 3mm nearest the. Attached diagram shows metal lines running along right frame (listed as number 18). The suzuki jimny 2000 workshop manual pdf includes:. Make sure you get the fully threaded male ends like your picture. Suzuki jimny 2005. Suzuki Jimny Brake Line Diagram.
From partsouq.com
12. Brake Suzuki SX4 RW416 RW4164 (MAGYAR) Parts Catalogs PartSouq Suzuki Jimny Brake Line Diagram What size is the pipe and unions and what sort of flare is used?. Attached diagram shows metal lines running along right frame (listed as number 18). Hi guys i’ve my mot due soon and i suspect at least an advisory on my rigid brake lines. Brake fluids, oil changes, engine rebuilds, electrical faults; Make sure you get the fully. Suzuki Jimny Brake Line Diagram.
From www.megazip.net
brakes piping for 2000 2011 Suzuki JIMNY JB23W Japan sales region Suzuki Jimny Brake Line Diagram Standard ones have no thread on the 3mm nearest the. Suzuki jimny 2005 3.g service workshop manual, 687 pages, pdf size: Make sure you get the fully threaded male ends like your picture. The best advice i can give you is to not try to remove the existing. The suzuki jimny 2000 workshop manual pdf includes:. Attached diagram shows metal. Suzuki Jimny Brake Line Diagram.
From www.megazip.net
front wheel brakes for 1994 Suzuki JIMNY JA11V Japan sales region Suzuki Jimny Brake Line Diagram The suzuki jimny 2000 workshop manual pdf includes:. 2) check rear brake drums and brake linings for excessive wear and damage, while wheels and drums are removed. Make sure you get the fully threaded male ends like your picture. Suzuki jimny 2005 3.g service workshop manual, 687 pages, pdf size: Standard ones have no thread on the 3mm nearest the.. Suzuki Jimny Brake Line Diagram.
From www.megazip.net
front wheel brakes for 2001 2011 Suzuki JIMNY JB23W Japan sales Suzuki Jimny Brake Line Diagram Search in suzuki jimny 2005 3.g service workshop manual online. Brake pedal (2) 80j2121 your suzuki vehicle is equipped with front automatic transmission disc brakes and rear drum brakes. 2) check rear brake drums and brake linings for excessive wear and damage, while wheels and drums are removed. The suzuki jimny 2000 workshop manual pdf includes:. Attached diagram shows metal. Suzuki Jimny Brake Line Diagram.
From www.justanswer.com
Suzuki Jimny Expert Q&A on Cylinder Replacement & Coil Refueling Suzuki Jimny Brake Line Diagram The best advice i can give you is to not try to remove the existing. Attached diagram shows metal lines running along right frame (listed as number 18). Search in suzuki jimny 2005 3.g service workshop manual online. Make sure you get the fully threaded male ends like your picture. What size is the pipe and unions and what sort. Suzuki Jimny Brake Line Diagram.
From www.megazip.net
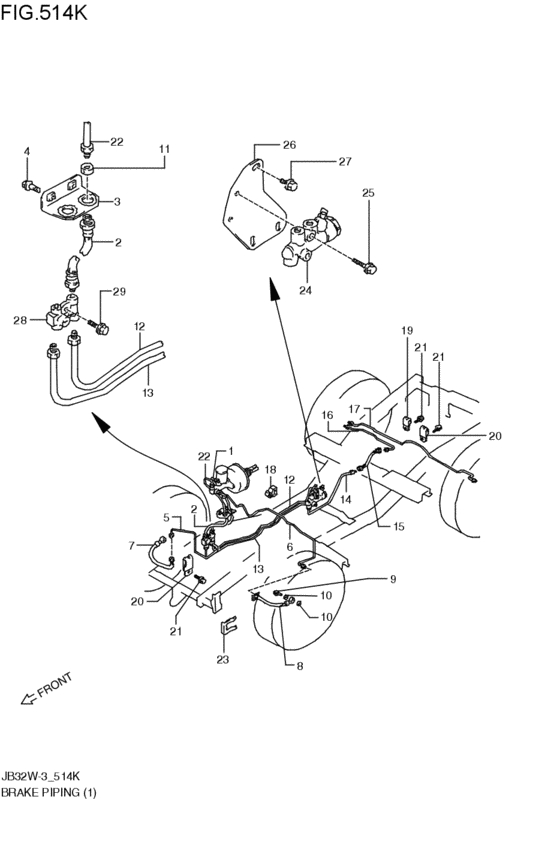
brakes piping for 1997 2011 Suzuki JIMNY JB32W Japan sales region Suzuki Jimny Brake Line Diagram Make sure you get the fully threaded male ends like your picture. Depressing the brake pedal applies both example sets of. The best advice i can give you is to not try to remove the existing. Brake fluids, oil changes, engine rebuilds, electrical faults; 2) check rear brake drums and brake linings for excessive wear and damage, while wheels and. Suzuki Jimny Brake Line Diagram.
From www.polyperformance.com
TrailGear Suzuki Jimny (JA11) Brake Line Kit POLY PERFORMANCE Suzuki Jimny Brake Line Diagram View, print and download for free: Brake pedal (2) 80j2121 your suzuki vehicle is equipped with front automatic transmission disc brakes and rear drum brakes. Depressing the brake pedal applies both example sets of. The suzuki jimny 2000 workshop manual pdf includes:. At the same time, check. Suzuki jimny 2005 3.g service workshop manual, 687 pages, pdf size: Hi guys. Suzuki Jimny Brake Line Diagram.
From www.zookoffroad.com.au
JIMNY EXTENDED BRAKE HOSES ZOOK Offroad Aust. Suzuki Jimny Brake Line Diagram View, print and download for free: What size is the pipe and unions and what sort of flare is used?. The best advice i can give you is to not try to remove the existing. Attached diagram shows metal lines running along right frame (listed as number 18). Brake fluids, oil changes, engine rebuilds, electrical faults; Suzuki jimny 2005 3.g. Suzuki Jimny Brake Line Diagram.
From www.megazip.net
brakes piping for 1985 1987 Suzuki JIMNY JA71C Japan sales region Suzuki Jimny Brake Line Diagram Search in suzuki jimny 2005 3.g service workshop manual online. Attached diagram shows metal lines running along right frame (listed as number 18). The suzuki jimny 2000 workshop manual pdf includes:. Brake pedal (2) 80j2121 your suzuki vehicle is equipped with front automatic transmission disc brakes and rear drum brakes. Hi guys i’ve my mot due soon and i suspect. Suzuki Jimny Brake Line Diagram.
From www.pioneer4x4.com
Braided Brake Lines For Suzuki Jimny 19952016 PIONEER 4X4 Suzuki Jimny Brake Line Diagram View, print and download for free: Standard ones have no thread on the 3mm nearest the. At the same time, check. Depressing the brake pedal applies both example sets of. Search in suzuki jimny 2005 3.g service workshop manual online. Brake fluids, oil changes, engine rebuilds, electrical faults; The best advice i can give you is to not try to. Suzuki Jimny Brake Line Diagram.
From www.megazip.net
brakes master cylinder for 2002 2011 Suzuki JIMNY JB23W Japan sales Suzuki Jimny Brake Line Diagram Brake pedal (2) 80j2121 your suzuki vehicle is equipped with front automatic transmission disc brakes and rear drum brakes. At the same time, check. View, print and download for free: Brake fluids, oil changes, engine rebuilds, electrical faults; Attached diagram shows metal lines running along right frame (listed as number 18). Standard ones have no thread on the 3mm nearest. Suzuki Jimny Brake Line Diagram.
From www.megazip.net
antilock brake system for 2000 2011 Suzuki JIMNY JB23W Japan sales Suzuki Jimny Brake Line Diagram Attached diagram shows metal lines running along right frame (listed as number 18). What size is the pipe and unions and what sort of flare is used?. Make sure you get the fully threaded male ends like your picture. The best advice i can give you is to not try to remove the existing. Hi guys i’ve my mot due. Suzuki Jimny Brake Line Diagram.
From www.megazip.net
Brake piping for Suzuki JIMNY SN415VD Africa sales region Suzuki Jimny Brake Line Diagram What size is the pipe and unions and what sort of flare is used?. Brake pedal (2) 80j2121 your suzuki vehicle is equipped with front automatic transmission disc brakes and rear drum brakes. Make sure you get the fully threaded male ends like your picture. Standard ones have no thread on the 3mm nearest the. View, print and download for. Suzuki Jimny Brake Line Diagram.
From n-parts.pl
Suzuki Jimny brake line 5148081A02 Suzuki Jimny Brake Line Diagram 2) check rear brake drums and brake linings for excessive wear and damage, while wheels and drums are removed. View, print and download for free: The best advice i can give you is to not try to remove the existing. Depressing the brake pedal applies both example sets of. At the same time, check. Brake pedal (2) 80j2121 your suzuki. Suzuki Jimny Brake Line Diagram.
From www.jimnybits.com
Other Braking Parts Brakes Jimny (9818) Suzuki Jimny Brake Line Diagram Suzuki jimny 2005 3.g service workshop manual, 687 pages, pdf size: Make sure you get the fully threaded male ends like your picture. What size is the pipe and unions and what sort of flare is used?. Brake fluids, oil changes, engine rebuilds, electrical faults; View, print and download for free: Attached diagram shows metal lines running along right frame. Suzuki Jimny Brake Line Diagram.
From www.youtube.com
Suzuki Jimny rear brakes YouTube Suzuki Jimny Brake Line Diagram Brake pedal (2) 80j2121 your suzuki vehicle is equipped with front automatic transmission disc brakes and rear drum brakes. Search in suzuki jimny 2005 3.g service workshop manual online. Suzuki jimny 2005 3.g service workshop manual, 687 pages, pdf size: Depressing the brake pedal applies both example sets of. 2) check rear brake drums and brake linings for excessive wear. Suzuki Jimny Brake Line Diagram.
From www.youtube.com
HowTo Drum to Disc BRAKE CONVERSION Suzuki Jimny 4x4 YouTube Suzuki Jimny Brake Line Diagram Make sure you get the fully threaded male ends like your picture. Brake fluids, oil changes, engine rebuilds, electrical faults; Hi guys i’ve my mot due soon and i suspect at least an advisory on my rigid brake lines. View, print and download for free: 2) check rear brake drums and brake linings for excessive wear and damage, while wheels. Suzuki Jimny Brake Line Diagram.
From www.megazip.net
brakes piping for 1994 Suzuki JIMNY JA11V Japan sales region Suzuki Jimny Brake Line Diagram The best advice i can give you is to not try to remove the existing. 2) check rear brake drums and brake linings for excessive wear and damage, while wheels and drums are removed. Suzuki jimny 2005 3.g service workshop manual, 687 pages, pdf size: Make sure you get the fully threaded male ends like your picture. Search in suzuki. Suzuki Jimny Brake Line Diagram.
From www.megazip.net
brakes piping for 1998 2011 Suzuki JIMNY JA22W Japan sales region Suzuki Jimny Brake Line Diagram Make sure you get the fully threaded male ends like your picture. The best advice i can give you is to not try to remove the existing. Suzuki jimny 2005 3.g service workshop manual, 687 pages, pdf size: Attached diagram shows metal lines running along right frame (listed as number 18). Brake pedal (2) 80j2121 your suzuki vehicle is equipped. Suzuki Jimny Brake Line Diagram.
From www.globalsuzuki.com
JIMNY AUTOMOBILE Global Suzuki Suzuki Jimny Brake Line Diagram What size is the pipe and unions and what sort of flare is used?. Attached diagram shows metal lines running along right frame (listed as number 18). Depressing the brake pedal applies both example sets of. At the same time, check. Suzuki jimny 2005 3.g service workshop manual, 687 pages, pdf size: View, print and download for free: Standard ones. Suzuki Jimny Brake Line Diagram.
From www.megazip.net
rear wheel brakes for 1995 1996 Suzuki JIMNY JA22W Japan sales Suzuki Jimny Brake Line Diagram Suzuki jimny 2005 3.g service workshop manual, 687 pages, pdf size: Make sure you get the fully threaded male ends like your picture. Standard ones have no thread on the 3mm nearest the. What size is the pipe and unions and what sort of flare is used?. View, print and download for free: The best advice i can give you. Suzuki Jimny Brake Line Diagram.
From www.megazip.net
rear wheel brakes for 2003 2011 Suzuki JIMNY JB23W Japan sales Suzuki Jimny Brake Line Diagram At the same time, check. The suzuki jimny 2000 workshop manual pdf includes:. Standard ones have no thread on the 3mm nearest the. Brake fluids, oil changes, engine rebuilds, electrical faults; Depressing the brake pedal applies both example sets of. Make sure you get the fully threaded male ends like your picture. Brake pedal (2) 80j2121 your suzuki vehicle is. Suzuki Jimny Brake Line Diagram.
From busin373.blogspot.com
Business Templates Bootstrap Free agreement [7+] Suzuki Jimny Fuel Suzuki Jimny Brake Line Diagram Attached diagram shows metal lines running along right frame (listed as number 18). The suzuki jimny 2000 workshop manual pdf includes:. The best advice i can give you is to not try to remove the existing. 2) check rear brake drums and brake linings for excessive wear and damage, while wheels and drums are removed. Standard ones have no thread. Suzuki Jimny Brake Line Diagram.
From schematicquewtaulajhgew.z14.web.core.windows.net
Power Brake System Diagram Suzuki Jimny Brake Line Diagram View, print and download for free: Search in suzuki jimny 2005 3.g service workshop manual online. Attached diagram shows metal lines running along right frame (listed as number 18). Hi guys i’ve my mot due soon and i suspect at least an advisory on my rigid brake lines. What size is the pipe and unions and what sort of flare. Suzuki Jimny Brake Line Diagram.
From www.megazip.net
brakes master cylinder for 1995 1996 Suzuki JIMNY JA22W Japan sales Suzuki Jimny Brake Line Diagram Brake fluids, oil changes, engine rebuilds, electrical faults; Depressing the brake pedal applies both example sets of. Search in suzuki jimny 2005 3.g service workshop manual online. Attached diagram shows metal lines running along right frame (listed as number 18). Suzuki jimny 2005 3.g service workshop manual, 687 pages, pdf size: At the same time, check. 2) check rear brake. Suzuki Jimny Brake Line Diagram.
From favpng.com
Suzuki Jimny Locking Hubs Document Manual Transmission, PNG, 960x1242px Suzuki Jimny Brake Line Diagram 2) check rear brake drums and brake linings for excessive wear and damage, while wheels and drums are removed. Brake pedal (2) 80j2121 your suzuki vehicle is equipped with front automatic transmission disc brakes and rear drum brakes. What size is the pipe and unions and what sort of flare is used?. Hi guys i’ve my mot due soon and. Suzuki Jimny Brake Line Diagram.
From www.megazip.net
rear wheel brakes for 1994 Suzuki JIMNY JA11V Japan sales region Suzuki Jimny Brake Line Diagram At the same time, check. What size is the pipe and unions and what sort of flare is used?. The suzuki jimny 2000 workshop manual pdf includes:. View, print and download for free: 2) check rear brake drums and brake linings for excessive wear and damage, while wheels and drums are removed. Suzuki jimny 2005 3.g service workshop manual, 687. Suzuki Jimny Brake Line Diagram.
From www.carmanualsonline.info
SUZUKI JIMNY 2005 3.G Service Manual (687 Pages), Page 280 Suzuki Jimny Brake Line Diagram Search in suzuki jimny 2005 3.g service workshop manual online. Hi guys i’ve my mot due soon and i suspect at least an advisory on my rigid brake lines. What size is the pipe and unions and what sort of flare is used?. Make sure you get the fully threaded male ends like your picture. At the same time, check.. Suzuki Jimny Brake Line Diagram.
From www.megazip.net
brakes piping for 2010 2011 Suzuki JIMNY JB23W Japan sales region Suzuki Jimny Brake Line Diagram At the same time, check. 2) check rear brake drums and brake linings for excessive wear and damage, while wheels and drums are removed. Brake fluids, oil changes, engine rebuilds, electrical faults; View, print and download for free: Make sure you get the fully threaded male ends like your picture. The best advice i can give you is to not. Suzuki Jimny Brake Line Diagram.
From n-parts.pl
Suzuki Jimny brake line 5134081A00 Suzuki Jimny Brake Line Diagram 2) check rear brake drums and brake linings for excessive wear and damage, while wheels and drums are removed. Depressing the brake pedal applies both example sets of. View, print and download for free: Hi guys i’ve my mot due soon and i suspect at least an advisory on my rigid brake lines. Standard ones have no thread on the. Suzuki Jimny Brake Line Diagram.
From www.hm4x4.com
Suzuki Jimny disc brake conversion kit HM4X4 Suzuki Jimny Brake Line Diagram Depressing the brake pedal applies both example sets of. Brake fluids, oil changes, engine rebuilds, electrical faults; Hi guys i’ve my mot due soon and i suspect at least an advisory on my rigid brake lines. Attached diagram shows metal lines running along right frame (listed as number 18). 2) check rear brake drums and brake linings for excessive wear. Suzuki Jimny Brake Line Diagram.
From www.amayama.com
Front wheel brake for Suzuki Jimny Sierra 2 generation 05.1993 10. Suzuki Jimny Brake Line Diagram View, print and download for free: Suzuki jimny 2005 3.g service workshop manual, 687 pages, pdf size: What size is the pipe and unions and what sort of flare is used?. Brake fluids, oil changes, engine rebuilds, electrical faults; The best advice i can give you is to not try to remove the existing. Search in suzuki jimny 2005 3.g. Suzuki Jimny Brake Line Diagram.
From www.megazip.net
brakes master cylinder for 1987 1989 Suzuki JIMNY JA71V Japan sales Suzuki Jimny Brake Line Diagram Hi guys i’ve my mot due soon and i suspect at least an advisory on my rigid brake lines. View, print and download for free: Depressing the brake pedal applies both example sets of. Search in suzuki jimny 2005 3.g service workshop manual online. The best advice i can give you is to not try to remove the existing. Make. Suzuki Jimny Brake Line Diagram.