Engine Coolant For Audi A7 . check out the coolant type for audi a7s for free. Check out free battery charging. adding engine coolant (also known as antifreeze) to your 2014 audi a7 quattro is pretty easy. the leak is behind the cylinder head coolant valve/ engine coolant temp sensor. Find out how much coolant does your car need. View the coolant type, capacity and the recommended change period. order audi a7 quattro antifreeze/engine coolant online today. 58 rows recommended antifreeze for radiators of audi a7. In the diagrams it looks like it is the crossover pipe. keep your cooling system working at its best by keeping it clean and free of rust and scale deposits. equip cars, trucks & suvs with 2017 audi a7 quattro antifreeze/engine coolant from autozone. Free same day store pickup.
from nemigaparts.com
Check out free battery charging. the leak is behind the cylinder head coolant valve/ engine coolant temp sensor. View the coolant type, capacity and the recommended change period. 58 rows recommended antifreeze for radiators of audi a7. check out the coolant type for audi a7s for free. equip cars, trucks & suvs with 2017 audi a7 quattro antifreeze/engine coolant from autozone. adding engine coolant (also known as antifreeze) to your 2014 audi a7 quattro is pretty easy. Free same day store pickup. In the diagrams it looks like it is the crossover pipe. order audi a7 quattro antifreeze/engine coolant online today.
Audi A7 Sportback (2015 2017) coolant cooling system. > VAG ETKA Online >
Engine Coolant For Audi A7 Find out how much coolant does your car need. In the diagrams it looks like it is the crossover pipe. Check out free battery charging. View the coolant type, capacity and the recommended change period. Free same day store pickup. equip cars, trucks & suvs with 2017 audi a7 quattro antifreeze/engine coolant from autozone. order audi a7 quattro antifreeze/engine coolant online today. Find out how much coolant does your car need. 58 rows recommended antifreeze for radiators of audi a7. keep your cooling system working at its best by keeping it clean and free of rust and scale deposits. adding engine coolant (also known as antifreeze) to your 2014 audi a7 quattro is pretty easy. the leak is behind the cylinder head coolant valve/ engine coolant temp sensor. check out the coolant type for audi a7s for free.
From www.ebay.co.uk
AUDI A7 Sportback 4G Front Coolant Switching Valve 079121678K NEW GENUINE eBay Engine Coolant For Audi A7 58 rows recommended antifreeze for radiators of audi a7. Free same day store pickup. order audi a7 quattro antifreeze/engine coolant online today. Find out how much coolant does your car need. adding engine coolant (also known as antifreeze) to your 2014 audi a7 quattro is pretty easy. equip cars, trucks & suvs with 2017 audi a7. Engine Coolant For Audi A7.
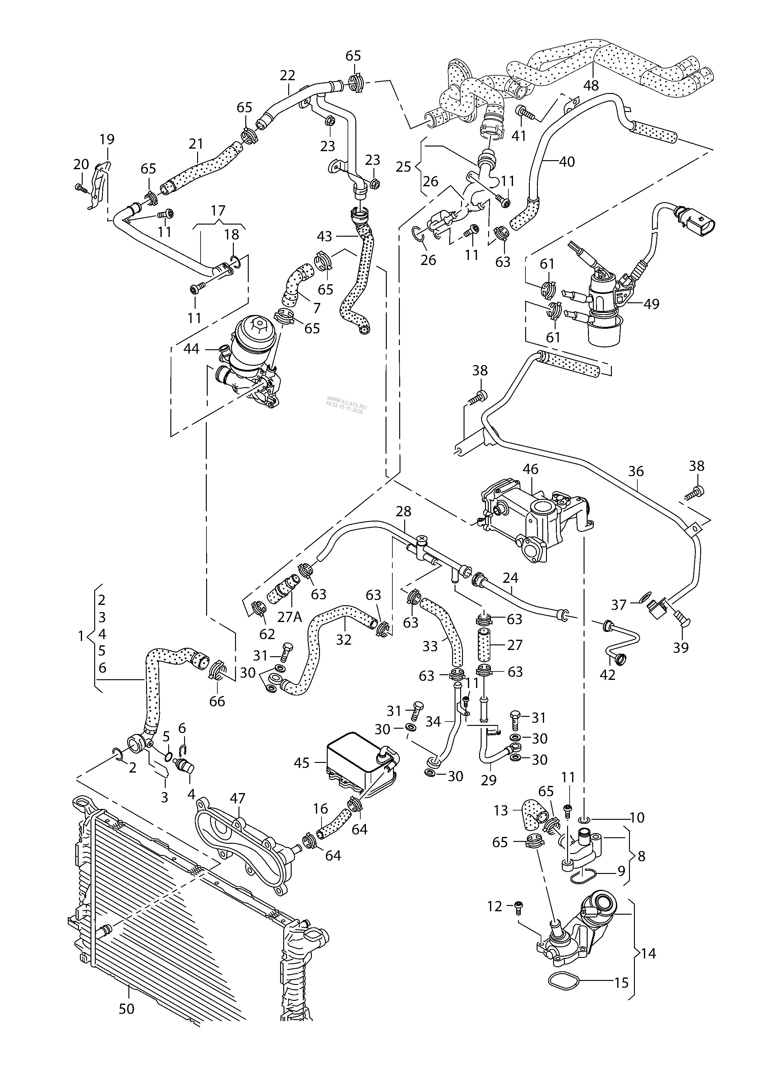
From www.ilcats.ru
coolant cooling system AUDI A7 SPORTBACK Engine Coolant For Audi A7 equip cars, trucks & suvs with 2017 audi a7 quattro antifreeze/engine coolant from autozone. In the diagrams it looks like it is the crossover pipe. Free same day store pickup. View the coolant type, capacity and the recommended change period. the leak is behind the cylinder head coolant valve/ engine coolant temp sensor. order audi a7 quattro. Engine Coolant For Audi A7.
From www.ebay.com
NEW AUDI A7 SPORTBACK 4G FRONT CENTER ENGINE COOLANT PIPE 4G0121081BF ORIGINAL eBay Engine Coolant For Audi A7 adding engine coolant (also known as antifreeze) to your 2014 audi a7 quattro is pretty easy. the leak is behind the cylinder head coolant valve/ engine coolant temp sensor. Find out how much coolant does your car need. View the coolant type, capacity and the recommended change period. In the diagrams it looks like it is the crossover. Engine Coolant For Audi A7.
From www.youtube.com
Oil and coolant leak repair Audi A7 3.0 TDI V6 2016 YouTube Engine Coolant For Audi A7 Check out free battery charging. order audi a7 quattro antifreeze/engine coolant online today. View the coolant type, capacity and the recommended change period. In the diagrams it looks like it is the crossover pipe. adding engine coolant (also known as antifreeze) to your 2014 audi a7 quattro is pretty easy. equip cars, trucks & suvs with 2017. Engine Coolant For Audi A7.
From www.jimellisaudiparts.com
Audi A7 Hose. Atf cooler. Cooler to solenoid valve 4G0121448AH Jim Ellis Audi Parts, Atlanta GA Engine Coolant For Audi A7 keep your cooling system working at its best by keeping it clean and free of rust and scale deposits. Find out how much coolant does your car need. Check out free battery charging. In the diagrams it looks like it is the crossover pipe. View the coolant type, capacity and the recommended change period. equip cars, trucks &. Engine Coolant For Audi A7.
From www.ebay.co.uk
AUDI A7 Sportback 4G Front Coolant Switching Valve 079121678K NEW GENUINE eBay Engine Coolant For Audi A7 the leak is behind the cylinder head coolant valve/ engine coolant temp sensor. In the diagrams it looks like it is the crossover pipe. equip cars, trucks & suvs with 2017 audi a7 quattro antifreeze/engine coolant from autozone. order audi a7 quattro antifreeze/engine coolant online today. View the coolant type, capacity and the recommended change period. . Engine Coolant For Audi A7.
From www.ebay.co.uk
AUDI A7 Sportback 4G Front Coolant Switching Valve 079121678K NEW GENUINE eBay Engine Coolant For Audi A7 keep your cooling system working at its best by keeping it clean and free of rust and scale deposits. order audi a7 quattro antifreeze/engine coolant online today. Free same day store pickup. adding engine coolant (also known as antifreeze) to your 2014 audi a7 quattro is pretty easy. check out the coolant type for audi a7s. Engine Coolant For Audi A7.
From www.akstuning.co.uk
Genuine Audi Coolant 1.0L G12 EVO Pre Mixed G12E050M2 Engine Coolant For Audi A7 equip cars, trucks & suvs with 2017 audi a7 quattro antifreeze/engine coolant from autozone. adding engine coolant (also known as antifreeze) to your 2014 audi a7 quattro is pretty easy. In the diagrams it looks like it is the crossover pipe. Free same day store pickup. 58 rows recommended antifreeze for radiators of audi a7. Find out. Engine Coolant For Audi A7.
From www.youtube.com
Part 02 Draining coolant Audi A6, A7, A8, Q7, S4, S5, SQ5 3.0T CREC YouTube Engine Coolant For Audi A7 In the diagrams it looks like it is the crossover pipe. check out the coolant type for audi a7s for free. order audi a7 quattro antifreeze/engine coolant online today. View the coolant type, capacity and the recommended change period. the leak is behind the cylinder head coolant valve/ engine coolant temp sensor. Find out how much coolant. Engine Coolant For Audi A7.
From www.youtube.com
Part 07 Top coolant pipe removal Audi A6, A7, A8, Q7, S4, S5, SQ5 3.0T CREC YouTube Engine Coolant For Audi A7 order audi a7 quattro antifreeze/engine coolant online today. adding engine coolant (also known as antifreeze) to your 2014 audi a7 quattro is pretty easy. 58 rows recommended antifreeze for radiators of audi a7. Find out how much coolant does your car need. keep your cooling system working at its best by keeping it clean and free. Engine Coolant For Audi A7.
From nemigaparts.com
Audi A7 Sportback (2011 2014) coolant cooling system. > VAG ETKA Online > Engine Coolant For Audi A7 58 rows recommended antifreeze for radiators of audi a7. check out the coolant type for audi a7s for free. order audi a7 quattro antifreeze/engine coolant online today. Check out free battery charging. Free same day store pickup. View the coolant type, capacity and the recommended change period. the leak is behind the cylinder head coolant valve/. Engine Coolant For Audi A7.
From br.pinterest.com
audi_3liter_tfsi_enginea7_11.jpg (2432×2564) Engineering, Car engine, Audi Engine Coolant For Audi A7 58 rows recommended antifreeze for radiators of audi a7. View the coolant type, capacity and the recommended change period. Find out how much coolant does your car need. Check out free battery charging. order audi a7 quattro antifreeze/engine coolant online today. the leak is behind the cylinder head coolant valve/ engine coolant temp sensor. In the diagrams. Engine Coolant For Audi A7.
From fixmachineinbreaks.z22.web.core.windows.net
Turn Off Engine And Check Coolant Level Audi Engine Coolant For Audi A7 equip cars, trucks & suvs with 2017 audi a7 quattro antifreeze/engine coolant from autozone. keep your cooling system working at its best by keeping it clean and free of rust and scale deposits. adding engine coolant (also known as antifreeze) to your 2014 audi a7 quattro is pretty easy. Free same day store pickup. Check out free. Engine Coolant For Audi A7.
From webautocats.com
Audi A7 Sportback (2011 2014) Coolant cooling system. > ETKA Online > Engine Coolant For Audi A7 Check out free battery charging. keep your cooling system working at its best by keeping it clean and free of rust and scale deposits. equip cars, trucks & suvs with 2017 audi a7 quattro antifreeze/engine coolant from autozone. check out the coolant type for audi a7s for free. View the coolant type, capacity and the recommended change. Engine Coolant For Audi A7.
From www.jimellisaudiparts.com
2022 Audi A7 Connector pipe. Engine Coolant Pipe. Rear 059121086AH Jim Ellis Audi Parts Engine Coolant For Audi A7 keep your cooling system working at its best by keeping it clean and free of rust and scale deposits. the leak is behind the cylinder head coolant valve/ engine coolant temp sensor. Find out how much coolant does your car need. adding engine coolant (also known as antifreeze) to your 2014 audi a7 quattro is pretty easy.. Engine Coolant For Audi A7.
From nemigaparts.com
Audi A7 Sportback (2011 2014) coolant hoses. for vehicles with auxiliary heater. > VAG ETKA Engine Coolant For Audi A7 Free same day store pickup. 58 rows recommended antifreeze for radiators of audi a7. View the coolant type, capacity and the recommended change period. In the diagrams it looks like it is the crossover pipe. the leak is behind the cylinder head coolant valve/ engine coolant temp sensor. keep your cooling system working at its best by. Engine Coolant For Audi A7.
From www.stockwiseauto.com
2022 Audi A7 Sportback Engine Coolant / Antifreeze Pentosin 8113106 Engine Coolant For Audi A7 Check out free battery charging. Free same day store pickup. 58 rows recommended antifreeze for radiators of audi a7. In the diagrams it looks like it is the crossover pipe. Find out how much coolant does your car need. check out the coolant type for audi a7s for free. adding engine coolant (also known as antifreeze) to. Engine Coolant For Audi A7.
From www.audiworld.com
RO A7 3.0L diesel coolant disappears at high pressure ! AudiWorld Forums Engine Coolant For Audi A7 Free same day store pickup. Check out free battery charging. check out the coolant type for audi a7s for free. keep your cooling system working at its best by keeping it clean and free of rust and scale deposits. Find out how much coolant does your car need. order audi a7 quattro antifreeze/engine coolant online today. In. Engine Coolant For Audi A7.
From nemigaparts.com
Audi A7 Sportback (2011 2014) coolant cooling system. > VAG ETKA Online > Engine Coolant For Audi A7 keep your cooling system working at its best by keeping it clean and free of rust and scale deposits. Check out free battery charging. In the diagrams it looks like it is the crossover pipe. Free same day store pickup. equip cars, trucks & suvs with 2017 audi a7 quattro antifreeze/engine coolant from autozone. the leak is. Engine Coolant For Audi A7.
From www.ebay.co.uk
AUDI A7 Sportback 4G Front Coolant Switching Valve 079121678K NEW GENUINE eBay Engine Coolant For Audi A7 58 rows recommended antifreeze for radiators of audi a7. View the coolant type, capacity and the recommended change period. Free same day store pickup. equip cars, trucks & suvs with 2017 audi a7 quattro antifreeze/engine coolant from autozone. In the diagrams it looks like it is the crossover pipe. check out the coolant type for audi a7s. Engine Coolant For Audi A7.
From www.gmpperformance.com
APR Audi Intercoolers Audi S4/S5/A6/A7/Q5/SQ5 3.0 TFSI/ A6/S7 4.0 TFSI APR Coolant Performance Engine Coolant For Audi A7 order audi a7 quattro antifreeze/engine coolant online today. Check out free battery charging. check out the coolant type for audi a7s for free. Free same day store pickup. adding engine coolant (also known as antifreeze) to your 2014 audi a7 quattro is pretty easy. equip cars, trucks & suvs with 2017 audi a7 quattro antifreeze/engine coolant. Engine Coolant For Audi A7.
From www.europaparts.com
Audi Coolant Pipe (A4 A5 S4 S5 A6 A7 A8 Q5 Q7 SQ5 3.2L 3.0T V6, Return) 06E121065N by Genuine OEM Engine Coolant For Audi A7 Check out free battery charging. equip cars, trucks & suvs with 2017 audi a7 quattro antifreeze/engine coolant from autozone. check out the coolant type for audi a7s for free. adding engine coolant (also known as antifreeze) to your 2014 audi a7 quattro is pretty easy. the leak is behind the cylinder head coolant valve/ engine coolant. Engine Coolant For Audi A7.
From www.sixityauto.com
20122016 Audi A7 Quattro 3.0L V6 NGK NTK Coolant Temperature Sensor Engine Antifreeze Radiator Engine Coolant For Audi A7 Free same day store pickup. order audi a7 quattro antifreeze/engine coolant online today. In the diagrams it looks like it is the crossover pipe. Find out how much coolant does your car need. adding engine coolant (also known as antifreeze) to your 2014 audi a7 quattro is pretty easy. keep your cooling system working at its best. Engine Coolant For Audi A7.
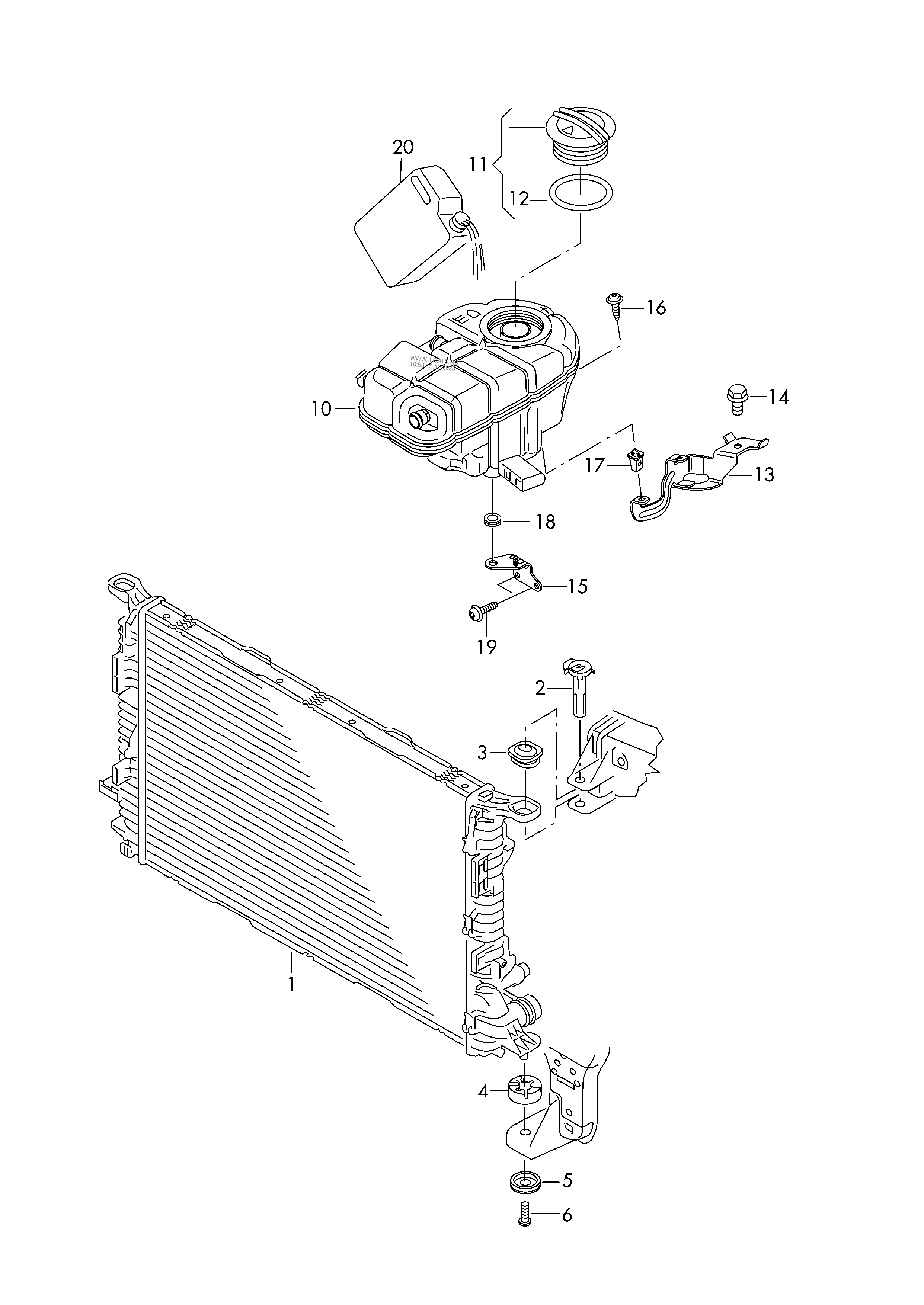
From www.ilcats.ru
cooler for coolant. reservoir AUDI A7 SPORTBACK Engine Coolant For Audi A7 check out the coolant type for audi a7s for free. order audi a7 quattro antifreeze/engine coolant online today. Find out how much coolant does your car need. the leak is behind the cylinder head coolant valve/ engine coolant temp sensor. equip cars, trucks & suvs with 2017 audi a7 quattro antifreeze/engine coolant from autozone. In the. Engine Coolant For Audi A7.
From www.audiworld.com
Trying to identify a coolant leak on my a7 AudiWorld Forums Engine Coolant For Audi A7 Find out how much coolant does your car need. adding engine coolant (also known as antifreeze) to your 2014 audi a7 quattro is pretty easy. 58 rows recommended antifreeze for radiators of audi a7. check out the coolant type for audi a7s for free. View the coolant type, capacity and the recommended change period. In the diagrams. Engine Coolant For Audi A7.
From www.blauparts.com
Audi Coolant Change VW Coolant Change Service Bulletin Engine Coolant For Audi A7 Find out how much coolant does your car need. In the diagrams it looks like it is the crossover pipe. check out the coolant type for audi a7s for free. keep your cooling system working at its best by keeping it clean and free of rust and scale deposits. equip cars, trucks & suvs with 2017 audi. Engine Coolant For Audi A7.
From www.audiworld.com
Coolant leak 2012 A7 3.0. AudiWorld Forums Engine Coolant For Audi A7 58 rows recommended antifreeze for radiators of audi a7. keep your cooling system working at its best by keeping it clean and free of rust and scale deposits. Free same day store pickup. In the diagrams it looks like it is the crossover pipe. the leak is behind the cylinder head coolant valve/ engine coolant temp sensor.. Engine Coolant For Audi A7.
From www.youtube.com
Part 17 Bleeding coolant system Audi A6, A7, A8, Q7, S4, S5, SQ5 3.0T CREC YouTube Engine Coolant For Audi A7 equip cars, trucks & suvs with 2017 audi a7 quattro antifreeze/engine coolant from autozone. Free same day store pickup. the leak is behind the cylinder head coolant valve/ engine coolant temp sensor. adding engine coolant (also known as antifreeze) to your 2014 audi a7 quattro is pretty easy. View the coolant type, capacity and the recommended change. Engine Coolant For Audi A7.
From www.youtube.com
Audi 2013 A7 cooling system water pump YouTube Engine Coolant For Audi A7 Check out free battery charging. order audi a7 quattro antifreeze/engine coolant online today. equip cars, trucks & suvs with 2017 audi a7 quattro antifreeze/engine coolant from autozone. 58 rows recommended antifreeze for radiators of audi a7. the leak is behind the cylinder head coolant valve/ engine coolant temp sensor. In the diagrams it looks like it. Engine Coolant For Audi A7.
From nemigaparts.com
Audi A7 Sportback (2015 2017) coolant cooling system. > VAG ETKA Online > Engine Coolant For Audi A7 In the diagrams it looks like it is the crossover pipe. 58 rows recommended antifreeze for radiators of audi a7. order audi a7 quattro antifreeze/engine coolant online today. adding engine coolant (also known as antifreeze) to your 2014 audi a7 quattro is pretty easy. Check out free battery charging. Free same day store pickup. the leak. Engine Coolant For Audi A7.
From www.autocar.co.uk
Audi A7 20102017 engines & performance Autocar Engine Coolant For Audi A7 equip cars, trucks & suvs with 2017 audi a7 quattro antifreeze/engine coolant from autozone. Free same day store pickup. In the diagrams it looks like it is the crossover pipe. Check out free battery charging. check out the coolant type for audi a7s for free. adding engine coolant (also known as antifreeze) to your 2014 audi a7. Engine Coolant For Audi A7.
From nemigaparts.com
Audi A7 Sportback (2015 2017) additional cooler for coolant. air guide. > VAG ETKA Online Engine Coolant For Audi A7 Free same day store pickup. Check out free battery charging. 58 rows recommended antifreeze for radiators of audi a7. keep your cooling system working at its best by keeping it clean and free of rust and scale deposits. adding engine coolant (also known as antifreeze) to your 2014 audi a7 quattro is pretty easy. View the coolant. Engine Coolant For Audi A7.
From gtcarlot.com
2012 Audi A7 3.0T quattro Prestige Engine Photos Engine Coolant For Audi A7 Check out free battery charging. check out the coolant type for audi a7s for free. In the diagrams it looks like it is the crossover pipe. equip cars, trucks & suvs with 2017 audi a7 quattro antifreeze/engine coolant from autozone. View the coolant type, capacity and the recommended change period. Find out how much coolant does your car. Engine Coolant For Audi A7.
From www.armaspeed.com
Audi A7 C7 3.0T Carbon Fiber Cold Air Intake ARMASPEED Engine Coolant For Audi A7 equip cars, trucks & suvs with 2017 audi a7 quattro antifreeze/engine coolant from autozone. keep your cooling system working at its best by keeping it clean and free of rust and scale deposits. View the coolant type, capacity and the recommended change period. order audi a7 quattro antifreeze/engine coolant online today. Find out how much coolant does. Engine Coolant For Audi A7.
From parts.audiusa.com
06E121065N Engine Coolant Pipe Genuine Audi Part Engine Coolant For Audi A7 adding engine coolant (also known as antifreeze) to your 2014 audi a7 quattro is pretty easy. equip cars, trucks & suvs with 2017 audi a7 quattro antifreeze/engine coolant from autozone. Free same day store pickup. View the coolant type, capacity and the recommended change period. keep your cooling system working at its best by keeping it clean. Engine Coolant For Audi A7.