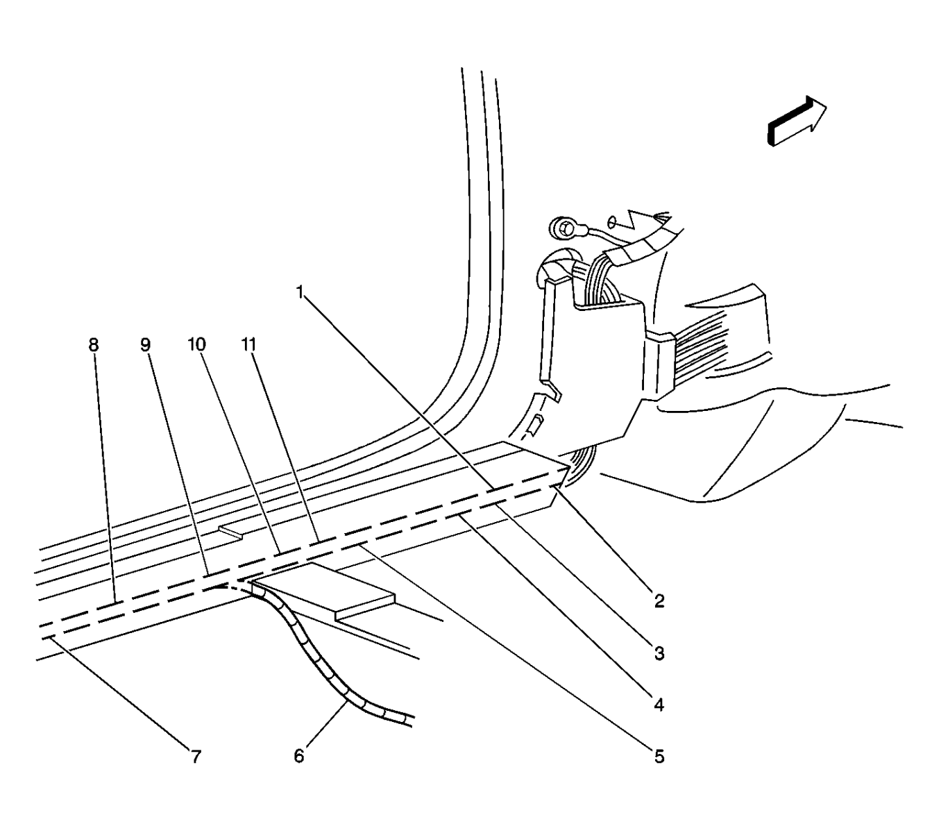
What Does Rap Relay Mean . Retained accessory power (rap) is a vehicle power mode that permits the operation of selected customer convenience items after. Are you experiencing issues with the retained accessory power (rap) system in your vehicle? Resetting the rap can help resolve various electrical problems, such as malfunctioning power windows, radio issues, or interior light malfunctions. Retained accessory power (rap) is a function that allows certain vehicle systems to continue running even after the engine has been turned off. But the retained accessory power (rap) system keeps the power on to enable you to close the windows and complete other tasks. Sorry for the long video but here is the possible solution to the problem. According to the 2006 wiring diagram, dome light, power roof, and at shift lock control solenoid (for floor shift) are on rap. Retained accessory power (rap) is a power mode that permits the operation of some accessories for up to 10 minutes after the. I thought i bought 2008 impala service manual. Rap (retained accessory power) relay problem answered! Rap keeps power supplied to.
from letslearnslang.com
But the retained accessory power (rap) system keeps the power on to enable you to close the windows and complete other tasks. Retained accessory power (rap) is a power mode that permits the operation of some accessories for up to 10 minutes after the. Sorry for the long video but here is the possible solution to the problem. Are you experiencing issues with the retained accessory power (rap) system in your vehicle? Rap keeps power supplied to. Retained accessory power (rap) is a vehicle power mode that permits the operation of selected customer convenience items after. Rap (retained accessory power) relay problem answered! Resetting the rap can help resolve various electrical problems, such as malfunctioning power windows, radio issues, or interior light malfunctions. I thought i bought 2008 impala service manual. Retained accessory power (rap) is a function that allows certain vehicle systems to continue running even after the engine has been turned off.
What Does Bands Mean In Rap? (EXPLAINED) Lets Learn Slang
What Does Rap Relay Mean According to the 2006 wiring diagram, dome light, power roof, and at shift lock control solenoid (for floor shift) are on rap. I thought i bought 2008 impala service manual. Resetting the rap can help resolve various electrical problems, such as malfunctioning power windows, radio issues, or interior light malfunctions. Retained accessory power (rap) is a vehicle power mode that permits the operation of selected customer convenience items after. Are you experiencing issues with the retained accessory power (rap) system in your vehicle? But the retained accessory power (rap) system keeps the power on to enable you to close the windows and complete other tasks. According to the 2006 wiring diagram, dome light, power roof, and at shift lock control solenoid (for floor shift) are on rap. Retained accessory power (rap) is a power mode that permits the operation of some accessories for up to 10 minutes after the. Retained accessory power (rap) is a function that allows certain vehicle systems to continue running even after the engine has been turned off. Sorry for the long video but here is the possible solution to the problem. Rap (retained accessory power) relay problem answered! Rap keeps power supplied to.
From www.youtube.com
07. Rap Relay 2.0 (feat. C'co) Born 4 This (Reloaded) [Visualizer] What Does Rap Relay Mean But the retained accessory power (rap) system keeps the power on to enable you to close the windows and complete other tasks. Are you experiencing issues with the retained accessory power (rap) system in your vehicle? Retained accessory power (rap) is a function that allows certain vehicle systems to continue running even after the engine has been turned off. According. What Does Rap Relay Mean.
From exoeyybdl.blob.core.windows.net
What Does Relay Recording Mean at Samuel Wesley blog What Does Rap Relay Mean Retained accessory power (rap) is a function that allows certain vehicle systems to continue running even after the engine has been turned off. Resetting the rap can help resolve various electrical problems, such as malfunctioning power windows, radio issues, or interior light malfunctions. Rap keeps power supplied to. I thought i bought 2008 impala service manual. Sorry for the long. What Does Rap Relay Mean.
From www.justanswer.com
Does a 2015 Cadillac CTS have a RAP relay? 52K. Is usually driven daily What Does Rap Relay Mean Sorry for the long video but here is the possible solution to the problem. Retained accessory power (rap) is a power mode that permits the operation of some accessories for up to 10 minutes after the. Retained accessory power (rap) is a function that allows certain vehicle systems to continue running even after the engine has been turned off. Rap. What Does Rap Relay Mean.
From www.youtube.com
Rap Relay Freestyle (Tshephi D Shortah) YouTube What Does Rap Relay Mean Retained accessory power (rap) is a function that allows certain vehicle systems to continue running even after the engine has been turned off. I thought i bought 2008 impala service manual. Resetting the rap can help resolve various electrical problems, such as malfunctioning power windows, radio issues, or interior light malfunctions. But the retained accessory power (rap) system keeps the. What Does Rap Relay Mean.
From engdic.org
What Does Bars Mean In Rap? (Origin & Usage) EngDic What Does Rap Relay Mean Retained accessory power (rap) is a vehicle power mode that permits the operation of selected customer convenience items after. Retained accessory power (rap) is a power mode that permits the operation of some accessories for up to 10 minutes after the. Rap (retained accessory power) relay problem answered! According to the 2006 wiring diagram, dome light, power roof, and at. What Does Rap Relay Mean.
From www.youtube.com
rap relay all contenstand + squad leaders mrv hustle 2.0 YouTube What Does Rap Relay Mean Sorry for the long video but here is the possible solution to the problem. Retained accessory power (rap) is a vehicle power mode that permits the operation of selected customer convenience items after. Resetting the rap can help resolve various electrical problems, such as malfunctioning power windows, radio issues, or interior light malfunctions. I thought i bought 2008 impala service. What Does Rap Relay Mean.
From www.justanswer.com
Rap Relay Exploring the Retained Accessory Power in Chevy JustAnswer What Does Rap Relay Mean I thought i bought 2008 impala service manual. Are you experiencing issues with the retained accessory power (rap) system in your vehicle? But the retained accessory power (rap) system keeps the power on to enable you to close the windows and complete other tasks. Sorry for the long video but here is the possible solution to the problem. Retained accessory. What Does Rap Relay Mean.
From www.justanswer.com
Chevrolet Venture RAP Relay Location, Function, and Troubleshooting What Does Rap Relay Mean I thought i bought 2008 impala service manual. Rap keeps power supplied to. But the retained accessory power (rap) system keeps the power on to enable you to close the windows and complete other tasks. Are you experiencing issues with the retained accessory power (rap) system in your vehicle? Retained accessory power (rap) is a power mode that permits the. What Does Rap Relay Mean.
From www.gmforum.com
Controlled Power Relay RAP GM Forum Buick, Cadillac, Olds, GMC What Does Rap Relay Mean Rap keeps power supplied to. Are you experiencing issues with the retained accessory power (rap) system in your vehicle? I thought i bought 2008 impala service manual. Retained accessory power (rap) is a vehicle power mode that permits the operation of selected customer convenience items after. Retained accessory power (rap) is a power mode that permits the operation of some. What Does Rap Relay Mean.
From www.youtube.com
CHEVROLET CRUZE RAP RELAY LOCATION REPLACEMENT. RETAINED ACCESORY POWER What Does Rap Relay Mean According to the 2006 wiring diagram, dome light, power roof, and at shift lock control solenoid (for floor shift) are on rap. I thought i bought 2008 impala service manual. Retained accessory power (rap) is a power mode that permits the operation of some accessories for up to 10 minutes after the. Rap (retained accessory power) relay problem answered! Rap. What Does Rap Relay Mean.
From www.youtube.com
Rap Meaning Definition of Rap YouTube What Does Rap Relay Mean Are you experiencing issues with the retained accessory power (rap) system in your vehicle? But the retained accessory power (rap) system keeps the power on to enable you to close the windows and complete other tasks. Rap keeps power supplied to. Retained accessory power (rap) is a vehicle power mode that permits the operation of selected customer convenience items after.. What Does Rap Relay Mean.
From www.youtube.com
What is the Meaning of Relay Relay Meaning with Example YouTube What Does Rap Relay Mean Resetting the rap can help resolve various electrical problems, such as malfunctioning power windows, radio issues, or interior light malfunctions. Retained accessory power (rap) is a function that allows certain vehicle systems to continue running even after the engine has been turned off. Are you experiencing issues with the retained accessory power (rap) system in your vehicle? Rap (retained accessory. What Does Rap Relay Mean.
From music.youtube.com
Rap Relay All contestants + Squad Bosses Hustle 2.0 YouTube Music What Does Rap Relay Mean I thought i bought 2008 impala service manual. Are you experiencing issues with the retained accessory power (rap) system in your vehicle? Rap keeps power supplied to. Rap (retained accessory power) relay problem answered! But the retained accessory power (rap) system keeps the power on to enable you to close the windows and complete other tasks. Resetting the rap can. What Does Rap Relay Mean.
From letslearnslang.com
What Does Bands Mean In Rap? (EXPLAINED) Lets Learn Slang What Does Rap Relay Mean Retained accessory power (rap) is a vehicle power mode that permits the operation of selected customer convenience items after. Resetting the rap can help resolve various electrical problems, such as malfunctioning power windows, radio issues, or interior light malfunctions. Retained accessory power (rap) is a function that allows certain vehicle systems to continue running even after the engine has been. What Does Rap Relay Mean.
From www.youtube.com
RELAY Meaning and Pronunciation YouTube What Does Rap Relay Mean Retained accessory power (rap) is a power mode that permits the operation of some accessories for up to 10 minutes after the. According to the 2006 wiring diagram, dome light, power roof, and at shift lock control solenoid (for floor shift) are on rap. Rap keeps power supplied to. Are you experiencing issues with the retained accessory power (rap) system. What Does Rap Relay Mean.
From www.youtube.com
RAP Relay YouTube What Does Rap Relay Mean But the retained accessory power (rap) system keeps the power on to enable you to close the windows and complete other tasks. Are you experiencing issues with the retained accessory power (rap) system in your vehicle? Rap keeps power supplied to. I thought i bought 2008 impala service manual. Retained accessory power (rap) is a function that allows certain vehicle. What Does Rap Relay Mean.
From engdic.org
What Does MC Mean In Rap? (Origin & Usage) EngDic What Does Rap Relay Mean Are you experiencing issues with the retained accessory power (rap) system in your vehicle? Rap (retained accessory power) relay problem answered! Retained accessory power (rap) is a power mode that permits the operation of some accessories for up to 10 minutes after the. According to the 2006 wiring diagram, dome light, power roof, and at shift lock control solenoid (for. What Does Rap Relay Mean.
From www.youtube.com
Rap Relay Round 03 YouTube What Does Rap Relay Mean According to the 2006 wiring diagram, dome light, power roof, and at shift lock control solenoid (for floor shift) are on rap. But the retained accessory power (rap) system keeps the power on to enable you to close the windows and complete other tasks. Are you experiencing issues with the retained accessory power (rap) system in your vehicle? Rap keeps. What Does Rap Relay Mean.
From fantasyfaireslarchives.wordpress.com
Relay Rap at Fantasy Faire Fantasy Faire SL Archives What Does Rap Relay Mean Rap keeps power supplied to. Rap (retained accessory power) relay problem answered! Retained accessory power (rap) is a function that allows certain vehicle systems to continue running even after the engine has been turned off. Sorry for the long video but here is the possible solution to the problem. But the retained accessory power (rap) system keeps the power on. What Does Rap Relay Mean.
From www.justanswer.com
Chevrolet Venture RAP Relay Location, Function, and Troubleshooting What Does Rap Relay Mean I thought i bought 2008 impala service manual. Resetting the rap can help resolve various electrical problems, such as malfunctioning power windows, radio issues, or interior light malfunctions. According to the 2006 wiring diagram, dome light, power roof, and at shift lock control solenoid (for floor shift) are on rap. Rap keeps power supplied to. Retained accessory power (rap) is. What Does Rap Relay Mean.
From www.youtube.com
Rap Relay 01 Continue the rhyme (Facebook tho) YouTube What Does Rap Relay Mean Retained accessory power (rap) is a power mode that permits the operation of some accessories for up to 10 minutes after the. Are you experiencing issues with the retained accessory power (rap) system in your vehicle? Resetting the rap can help resolve various electrical problems, such as malfunctioning power windows, radio issues, or interior light malfunctions. Sorry for the long. What Does Rap Relay Mean.
From www.youtube.com
Teezy JRC X Ice D bw Rap Relay Challenge (Eng by THM) Lyric Video What Does Rap Relay Mean Retained accessory power (rap) is a function that allows certain vehicle systems to continue running even after the engine has been turned off. Are you experiencing issues with the retained accessory power (rap) system in your vehicle? I thought i bought 2008 impala service manual. Rap keeps power supplied to. Sorry for the long video but here is the possible. What Does Rap Relay Mean.
From www.justanswer.com
Chevrolet Venture RAP Relay Location, Function, and Troubleshooting What Does Rap Relay Mean Sorry for the long video but here is the possible solution to the problem. Retained accessory power (rap) is a function that allows certain vehicle systems to continue running even after the engine has been turned off. Rap (retained accessory power) relay problem answered! I thought i bought 2008 impala service manual. Retained accessory power (rap) is a power mode. What Does Rap Relay Mean.
From www.youtube.com
Rap Relay Challenge HashOne YouTube What Does Rap Relay Mean Resetting the rap can help resolve various electrical problems, such as malfunctioning power windows, radio issues, or interior light malfunctions. But the retained accessory power (rap) system keeps the power on to enable you to close the windows and complete other tasks. Sorry for the long video but here is the possible solution to the problem. Retained accessory power (rap). What Does Rap Relay Mean.
From fyojqtdqp.blob.core.windows.net
What Does Main Relay Mean at Mary Hebb blog What Does Rap Relay Mean According to the 2006 wiring diagram, dome light, power roof, and at shift lock control solenoid (for floor shift) are on rap. Rap (retained accessory power) relay problem answered! Retained accessory power (rap) is a vehicle power mode that permits the operation of selected customer convenience items after. Retained accessory power (rap) is a power mode that permits the operation. What Does Rap Relay Mean.
From www.2carpros.com
The RAP Relay Is Missing? I Need to Know What Amp Fuse Goes in What Does Rap Relay Mean Resetting the rap can help resolve various electrical problems, such as malfunctioning power windows, radio issues, or interior light malfunctions. Sorry for the long video but here is the possible solution to the problem. Retained accessory power (rap) is a vehicle power mode that permits the operation of selected customer convenience items after. Rap (retained accessory power) relay problem answered!. What Does Rap Relay Mean.
From www.justanswer.com
Rap Relay Exploring the Retained Accessory Power in Chevy JustAnswer What Does Rap Relay Mean Retained accessory power (rap) is a vehicle power mode that permits the operation of selected customer convenience items after. Retained accessory power (rap) is a function that allows certain vehicle systems to continue running even after the engine has been turned off. According to the 2006 wiring diagram, dome light, power roof, and at shift lock control solenoid (for floor. What Does Rap Relay Mean.
From engdic.org
What Does Cadence Mean In Rap? (Understanding & Examples) EngDic What Does Rap Relay Mean But the retained accessory power (rap) system keeps the power on to enable you to close the windows and complete other tasks. Retained accessory power (rap) is a function that allows certain vehicle systems to continue running even after the engine has been turned off. According to the 2006 wiring diagram, dome light, power roof, and at shift lock control. What Does Rap Relay Mean.
From www.youtube.com
What does relay mean? YouTube What Does Rap Relay Mean Resetting the rap can help resolve various electrical problems, such as malfunctioning power windows, radio issues, or interior light malfunctions. Rap keeps power supplied to. But the retained accessory power (rap) system keeps the power on to enable you to close the windows and complete other tasks. Are you experiencing issues with the retained accessory power (rap) system in your. What Does Rap Relay Mean.
From www.justanswer.com
Chevrolet Venture RAP Relay Location, Function, and Troubleshooting What Does Rap Relay Mean According to the 2006 wiring diagram, dome light, power roof, and at shift lock control solenoid (for floor shift) are on rap. Are you experiencing issues with the retained accessory power (rap) system in your vehicle? Rap keeps power supplied to. Retained accessory power (rap) is a power mode that permits the operation of some accessories for up to 10. What Does Rap Relay Mean.
From www.youtube.com
rap relay challenge 💀 YouTube What Does Rap Relay Mean Retained accessory power (rap) is a vehicle power mode that permits the operation of selected customer convenience items after. Are you experiencing issues with the retained accessory power (rap) system in your vehicle? Rap keeps power supplied to. Sorry for the long video but here is the possible solution to the problem. But the retained accessory power (rap) system keeps. What Does Rap Relay Mean.
From www.youtube.com
"Rap Relay" Instrumental by Achickwitbeatz YouTube What Does Rap Relay Mean Retained accessory power (rap) is a vehicle power mode that permits the operation of selected customer convenience items after. Rap keeps power supplied to. According to the 2006 wiring diagram, dome light, power roof, and at shift lock control solenoid (for floor shift) are on rap. Resetting the rap can help resolve various electrical problems, such as malfunctioning power windows,. What Does Rap Relay Mean.
From fyojqtdqp.blob.core.windows.net
What Does Main Relay Mean at Mary Hebb blog What Does Rap Relay Mean Retained accessory power (rap) is a vehicle power mode that permits the operation of selected customer convenience items after. Retained accessory power (rap) is a function that allows certain vehicle systems to continue running even after the engine has been turned off. I thought i bought 2008 impala service manual. Retained accessory power (rap) is a power mode that permits. What Does Rap Relay Mean.
From www.youtube.com
What Does Rap Flow Mean? Rap Flow Tutorial YouTube What Does Rap Relay Mean According to the 2006 wiring diagram, dome light, power roof, and at shift lock control solenoid (for floor shift) are on rap. Retained accessory power (rap) is a function that allows certain vehicle systems to continue running even after the engine has been turned off. Resetting the rap can help resolve various electrical problems, such as malfunctioning power windows, radio. What Does Rap Relay Mean.
From letslearnslang.com
What Does Plug Mean In Rap? (EXPLAINED) Lets Learn Slang What Does Rap Relay Mean Sorry for the long video but here is the possible solution to the problem. According to the 2006 wiring diagram, dome light, power roof, and at shift lock control solenoid (for floor shift) are on rap. But the retained accessory power (rap) system keeps the power on to enable you to close the windows and complete other tasks. Retained accessory. What Does Rap Relay Mean.