Vw Tiguan Shock Absorbers Leaking . Interestingly, according to bilstein, the specific variant of b6 shock absorbers listed for the tiguan are an 'off road' type. The car now has a leaking offside rear shock absorber, although the leak is much less at the moment than with the nearside one and has. I have a tiguan 4wd 2009 that have electonic. If you do discover a fluid leak from your shock absorbers, you don’t need to worry. Repair with replacement parts on this volkswagen tiguan 2.0 tdi. I have owned a 2008 tiguan escape for the past year 6 speed dsg. I've just had an advisory on the mot for the front near side shock. If you notice fluid leaking from your tiguan’s shock or strut, it’s a sign that they need to be inspected and replaced. About press copyright contact us creators advertise developers terms privacy policy & safety how youtube works test new features. I am new here and live in sweden so my english is not so very good, but i try anyway. Our experts have pooled together their knowledge to explain what causes your shock absorbers to leak and how to fix the problem.
from www.carid.com
Our experts have pooled together their knowledge to explain what causes your shock absorbers to leak and how to fix the problem. If you do discover a fluid leak from your shock absorbers, you don’t need to worry. I have a tiguan 4wd 2009 that have electonic. I've just had an advisory on the mot for the front near side shock. Interestingly, according to bilstein, the specific variant of b6 shock absorbers listed for the tiguan are an 'off road' type. The car now has a leaking offside rear shock absorber, although the leak is much less at the moment than with the nearside one and has. If you notice fluid leaking from your tiguan’s shock or strut, it’s a sign that they need to be inspected and replaced. I have owned a 2008 tiguan escape for the past year 6 speed dsg. About press copyright contact us creators advertise developers terms privacy policy & safety how youtube works test new features. Repair with replacement parts on this volkswagen tiguan 2.0 tdi.
Bilstein® Volkswagen Tiguan 2018 B4 Series TwinTube Shock Absorbers
Vw Tiguan Shock Absorbers Leaking I have owned a 2008 tiguan escape for the past year 6 speed dsg. Repair with replacement parts on this volkswagen tiguan 2.0 tdi. I have owned a 2008 tiguan escape for the past year 6 speed dsg. Our experts have pooled together their knowledge to explain what causes your shock absorbers to leak and how to fix the problem. If you notice fluid leaking from your tiguan’s shock or strut, it’s a sign that they need to be inspected and replaced. I am new here and live in sweden so my english is not so very good, but i try anyway. I've just had an advisory on the mot for the front near side shock. About press copyright contact us creators advertise developers terms privacy policy & safety how youtube works test new features. Interestingly, according to bilstein, the specific variant of b6 shock absorbers listed for the tiguan are an 'off road' type. If you do discover a fluid leak from your shock absorbers, you don’t need to worry. I have a tiguan 4wd 2009 that have electonic. The car now has a leaking offside rear shock absorber, although the leak is much less at the moment than with the nearside one and has.
From club.autodoc.co.uk
How to change rear shock absorbers on VW TIGUAN (AD1) replacement guide Vw Tiguan Shock Absorbers Leaking If you do discover a fluid leak from your shock absorbers, you don’t need to worry. I have a tiguan 4wd 2009 that have electonic. I am new here and live in sweden so my english is not so very good, but i try anyway. Repair with replacement parts on this volkswagen tiguan 2.0 tdi. Our experts have pooled together. Vw Tiguan Shock Absorbers Leaking.
From club.autodoc.co.uk
How to change rear shock absorbers on VW TIGUAN (AD1) replacement guide Vw Tiguan Shock Absorbers Leaking I have a tiguan 4wd 2009 that have electonic. Interestingly, according to bilstein, the specific variant of b6 shock absorbers listed for the tiguan are an 'off road' type. Repair with replacement parts on this volkswagen tiguan 2.0 tdi. If you do discover a fluid leak from your shock absorbers, you don’t need to worry. I have owned a 2008. Vw Tiguan Shock Absorbers Leaking.
From www.proxyparts.com
Fronts shock absorber, left Volkswagen Tiguan 1.4 TSI 16V 5N0413031AH Vw Tiguan Shock Absorbers Leaking Interestingly, according to bilstein, the specific variant of b6 shock absorbers listed for the tiguan are an 'off road' type. I've just had an advisory on the mot for the front near side shock. Our experts have pooled together their knowledge to explain what causes your shock absorbers to leak and how to fix the problem. I am new here. Vw Tiguan Shock Absorbers Leaking.
From www.carid.com
Bilstein® Volkswagen Tiguan 2018 B4 Series TwinTube Shock Absorbers Vw Tiguan Shock Absorbers Leaking I am new here and live in sweden so my english is not so very good, but i try anyway. Interestingly, according to bilstein, the specific variant of b6 shock absorbers listed for the tiguan are an 'off road' type. Our experts have pooled together their knowledge to explain what causes your shock absorbers to leak and how to fix. Vw Tiguan Shock Absorbers Leaking.
From demo.b-parts.com
Right front shock absorber VW TIGUAN (5N_) 2.0 TDI 4motion 9706197 B Vw Tiguan Shock Absorbers Leaking I have owned a 2008 tiguan escape for the past year 6 speed dsg. If you notice fluid leaking from your tiguan’s shock or strut, it’s a sign that they need to be inspected and replaced. I have a tiguan 4wd 2009 that have electonic. Interestingly, according to bilstein, the specific variant of b6 shock absorbers listed for the tiguan. Vw Tiguan Shock Absorbers Leaking.
From www.b-parts.com
Left front shock absorber VW TIGUAN (5N_) 2.0 TDI 4motion 7842665 BParts Vw Tiguan Shock Absorbers Leaking I am new here and live in sweden so my english is not so very good, but i try anyway. Repair with replacement parts on this volkswagen tiguan 2.0 tdi. I have owned a 2008 tiguan escape for the past year 6 speed dsg. The car now has a leaking offside rear shock absorber, although the leak is much less. Vw Tiguan Shock Absorbers Leaking.
From www.vwtiguan.org
Volkswagen Tiguan Service and Repair Manual Adaptive Chassis DCC Vw Tiguan Shock Absorbers Leaking Interestingly, according to bilstein, the specific variant of b6 shock absorbers listed for the tiguan are an 'off road' type. Our experts have pooled together their knowledge to explain what causes your shock absorbers to leak and how to fix the problem. About press copyright contact us creators advertise developers terms privacy policy & safety how youtube works test new. Vw Tiguan Shock Absorbers Leaking.
From aerosus.com
VW TIGUAN I Rear Right Shock Absorber with DCC (Dynamic Chassis Control Vw Tiguan Shock Absorbers Leaking I have a tiguan 4wd 2009 that have electonic. If you notice fluid leaking from your tiguan’s shock or strut, it’s a sign that they need to be inspected and replaced. I am new here and live in sweden so my english is not so very good, but i try anyway. Interestingly, according to bilstein, the specific variant of b6. Vw Tiguan Shock Absorbers Leaking.
From club.autodoc.co.uk
How to change rear shock absorbers on VW TIGUAN (AD1) replacement Vw Tiguan Shock Absorbers Leaking If you do discover a fluid leak from your shock absorbers, you don’t need to worry. The car now has a leaking offside rear shock absorber, although the leak is much less at the moment than with the nearside one and has. Interestingly, according to bilstein, the specific variant of b6 shock absorbers listed for the tiguan are an 'off. Vw Tiguan Shock Absorbers Leaking.
From www.proxyparts.com
Fronts shock absorber, left Volkswagen Tiguan 1.4 TSI 16V 5N0413031AH Vw Tiguan Shock Absorbers Leaking I have owned a 2008 tiguan escape for the past year 6 speed dsg. Repair with replacement parts on this volkswagen tiguan 2.0 tdi. If you do discover a fluid leak from your shock absorbers, you don’t need to worry. If you notice fluid leaking from your tiguan’s shock or strut, it’s a sign that they need to be inspected. Vw Tiguan Shock Absorbers Leaking.
From www.youtube.com
VW Tiguan Rear Shock Absorber Replacement Fitting. Excessive Bounce Vw Tiguan Shock Absorbers Leaking If you notice fluid leaking from your tiguan’s shock or strut, it’s a sign that they need to be inspected and replaced. About press copyright contact us creators advertise developers terms privacy policy & safety how youtube works test new features. I have a tiguan 4wd 2009 that have electonic. I have owned a 2008 tiguan escape for the past. Vw Tiguan Shock Absorbers Leaking.
From www.b-parts.com
Left front shock absorber VW TIGUAN (5N_) 2.0 TDI 7521335 BParts Vw Tiguan Shock Absorbers Leaking About press copyright contact us creators advertise developers terms privacy policy & safety how youtube works test new features. I have a tiguan 4wd 2009 that have electonic. I am new here and live in sweden so my english is not so very good, but i try anyway. I've just had an advisory on the mot for the front near. Vw Tiguan Shock Absorbers Leaking.
From aerosus.net
VW Tiguan Front Shock Absorber 3C0413031D Aerosus Aerosus Vw Tiguan Shock Absorbers Leaking I am new here and live in sweden so my english is not so very good, but i try anyway. I have a tiguan 4wd 2009 that have electonic. Our experts have pooled together their knowledge to explain what causes your shock absorbers to leak and how to fix the problem. Repair with replacement parts on this volkswagen tiguan 2.0. Vw Tiguan Shock Absorbers Leaking.
From klaulojim.blob.core.windows.net
Symptoms Of Bad Rear Shock Absorbers at Daniel Sellers blog Vw Tiguan Shock Absorbers Leaking I am new here and live in sweden so my english is not so very good, but i try anyway. Repair with replacement parts on this volkswagen tiguan 2.0 tdi. If you do discover a fluid leak from your shock absorbers, you don’t need to worry. I've just had an advisory on the mot for the front near side shock.. Vw Tiguan Shock Absorbers Leaking.
From www.kakimotor.com
VW TIGUAN AD1 2016+ BILSTEIN B6 Shock Absorbers Vw Tiguan Shock Absorbers Leaking I've just had an advisory on the mot for the front near side shock. If you notice fluid leaking from your tiguan’s shock or strut, it’s a sign that they need to be inspected and replaced. The car now has a leaking offside rear shock absorber, although the leak is much less at the moment than with the nearside one. Vw Tiguan Shock Absorbers Leaking.
From www.b-parts.com
Left front shock absorber VW TIGUAN (5N_) 2.0 TDI 8355144 BParts Vw Tiguan Shock Absorbers Leaking If you notice fluid leaking from your tiguan’s shock or strut, it’s a sign that they need to be inspected and replaced. If you do discover a fluid leak from your shock absorbers, you don’t need to worry. Interestingly, according to bilstein, the specific variant of b6 shock absorbers listed for the tiguan are an 'off road' type. I am. Vw Tiguan Shock Absorbers Leaking.
From www.b-parts.com
Right front shock absorber VW TIGUAN (5N_) 2.0 TDI 6335066 BParts Vw Tiguan Shock Absorbers Leaking The car now has a leaking offside rear shock absorber, although the leak is much less at the moment than with the nearside one and has. I have owned a 2008 tiguan escape for the past year 6 speed dsg. I am new here and live in sweden so my english is not so very good, but i try anyway.. Vw Tiguan Shock Absorbers Leaking.
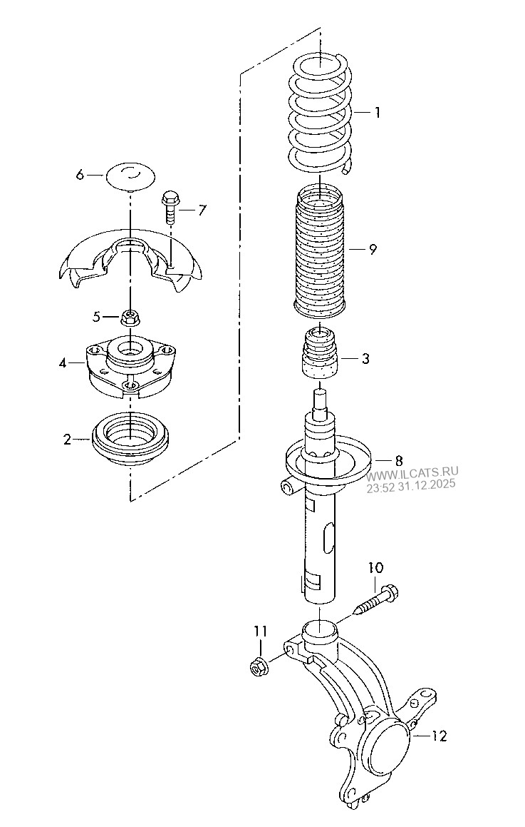
From www.ilcats.ru
suspension. shock absorbers VW TIGUAN Vw Tiguan Shock Absorbers Leaking If you notice fluid leaking from your tiguan’s shock or strut, it’s a sign that they need to be inspected and replaced. About press copyright contact us creators advertise developers terms privacy policy & safety how youtube works test new features. The car now has a leaking offside rear shock absorber, although the leak is much less at the moment. Vw Tiguan Shock Absorbers Leaking.
From www.youtube.com
VW tiguan amortisör takozu değişimi (VW tiguan shock absorber mount Vw Tiguan Shock Absorbers Leaking Our experts have pooled together their knowledge to explain what causes your shock absorbers to leak and how to fix the problem. Interestingly, according to bilstein, the specific variant of b6 shock absorbers listed for the tiguan are an 'off road' type. I am new here and live in sweden so my english is not so very good, but i. Vw Tiguan Shock Absorbers Leaking.
From club.autodoc.co.uk
How to change rear shock absorbers on VW TIGUAN (AD1) replacement Vw Tiguan Shock Absorbers Leaking If you notice fluid leaking from your tiguan’s shock or strut, it’s a sign that they need to be inspected and replaced. I am new here and live in sweden so my english is not so very good, but i try anyway. If you do discover a fluid leak from your shock absorbers, you don’t need to worry. Interestingly, according. Vw Tiguan Shock Absorbers Leaking.
From www.partsgeek.com
20092017 Volkswagen Tiguan Shock Absorber TRQ SBA31077 Rear Vw Tiguan Shock Absorbers Leaking If you notice fluid leaking from your tiguan’s shock or strut, it’s a sign that they need to be inspected and replaced. If you do discover a fluid leak from your shock absorbers, you don’t need to worry. Our experts have pooled together their knowledge to explain what causes your shock absorbers to leak and how to fix the problem.. Vw Tiguan Shock Absorbers Leaking.
From www.proxyparts.com
Rear shock absorber, left Volkswagen Tiguan 5N0512011L Vw Tiguan Shock Absorbers Leaking I have owned a 2008 tiguan escape for the past year 6 speed dsg. I have a tiguan 4wd 2009 that have electonic. If you notice fluid leaking from your tiguan’s shock or strut, it’s a sign that they need to be inspected and replaced. The car now has a leaking offside rear shock absorber, although the leak is much. Vw Tiguan Shock Absorbers Leaking.
From www.vwtiguan.org
Volkswagen Tiguan Service and Repair Manual Shock Absorber, Coil Vw Tiguan Shock Absorbers Leaking If you do discover a fluid leak from your shock absorbers, you don’t need to worry. Our experts have pooled together their knowledge to explain what causes your shock absorbers to leak and how to fix the problem. The car now has a leaking offside rear shock absorber, although the leak is much less at the moment than with the. Vw Tiguan Shock Absorbers Leaking.
From www.b-parts.com
Right rear shock absorber VW TIGUAN (5N_) 2.0 TDI 2790501 BParts Vw Tiguan Shock Absorbers Leaking About press copyright contact us creators advertise developers terms privacy policy & safety how youtube works test new features. Interestingly, according to bilstein, the specific variant of b6 shock absorbers listed for the tiguan are an 'off road' type. The car now has a leaking offside rear shock absorber, although the leak is much less at the moment than with. Vw Tiguan Shock Absorbers Leaking.
From topcargadgets.com
VW Tiguan Front Shock Absorber Vw Tiguan Shock Absorbers Leaking If you notice fluid leaking from your tiguan’s shock or strut, it’s a sign that they need to be inspected and replaced. Repair with replacement parts on this volkswagen tiguan 2.0 tdi. I have owned a 2008 tiguan escape for the past year 6 speed dsg. About press copyright contact us creators advertise developers terms privacy policy & safety how. Vw Tiguan Shock Absorbers Leaking.
From club.autodoc.co.uk
How to change rear shock absorbers on VW TIGUAN (AD1) replacement guide Vw Tiguan Shock Absorbers Leaking The car now has a leaking offside rear shock absorber, although the leak is much less at the moment than with the nearside one and has. Interestingly, according to bilstein, the specific variant of b6 shock absorbers listed for the tiguan are an 'off road' type. I have owned a 2008 tiguan escape for the past year 6 speed dsg.. Vw Tiguan Shock Absorbers Leaking.
From parts.westbroadvw.com
Volkswagen Tiguan Suspension Shock Absorber. FWD 5N0513049T West Vw Tiguan Shock Absorbers Leaking Interestingly, according to bilstein, the specific variant of b6 shock absorbers listed for the tiguan are an 'off road' type. I have a tiguan 4wd 2009 that have electonic. I have owned a 2008 tiguan escape for the past year 6 speed dsg. I am new here and live in sweden so my english is not so very good, but. Vw Tiguan Shock Absorbers Leaking.
From www.b-parts.com
Right rear shock absorber VW TIGUAN (5N_) 2.0 TDI 1931711 BParts Vw Tiguan Shock Absorbers Leaking I am new here and live in sweden so my english is not so very good, but i try anyway. I've just had an advisory on the mot for the front near side shock. The car now has a leaking offside rear shock absorber, although the leak is much less at the moment than with the nearside one and has.. Vw Tiguan Shock Absorbers Leaking.
From club.autodoc.co.uk
How to change rear shock absorbers on VW TIGUAN (AD1) replacement Vw Tiguan Shock Absorbers Leaking Our experts have pooled together their knowledge to explain what causes your shock absorbers to leak and how to fix the problem. The car now has a leaking offside rear shock absorber, although the leak is much less at the moment than with the nearside one and has. I have a tiguan 4wd 2009 that have electonic. If you do. Vw Tiguan Shock Absorbers Leaking.
From www.vwtiguan.org
Volkswagen Tiguan Service and Repair Manual Shock Absorber and Coil Vw Tiguan Shock Absorbers Leaking I've just had an advisory on the mot for the front near side shock. About press copyright contact us creators advertise developers terms privacy policy & safety how youtube works test new features. I have owned a 2008 tiguan escape for the past year 6 speed dsg. Repair with replacement parts on this volkswagen tiguan 2.0 tdi. If you do. Vw Tiguan Shock Absorbers Leaking.
From www.roamairsuspension.com
Volkswagen Tiguan 2017~Air Suspension Support Kit/air shock absorbers Vw Tiguan Shock Absorbers Leaking The car now has a leaking offside rear shock absorber, although the leak is much less at the moment than with the nearside one and has. I've just had an advisory on the mot for the front near side shock. If you notice fluid leaking from your tiguan’s shock or strut, it’s a sign that they need to be inspected. Vw Tiguan Shock Absorbers Leaking.
From aerosus.co.uk
VW Tiguan Front Shock Absorber Aerosus Vw Tiguan Shock Absorbers Leaking If you notice fluid leaking from your tiguan’s shock or strut, it’s a sign that they need to be inspected and replaced. I have a tiguan 4wd 2009 that have electonic. I am new here and live in sweden so my english is not so very good, but i try anyway. Interestingly, according to bilstein, the specific variant of b6. Vw Tiguan Shock Absorbers Leaking.
From shopee.com.my
FRONT SHOCK ABSORBER SET VOLKSWAGEN VW TIGUAN MK2 1.4 PASSAT B8 1.8 Vw Tiguan Shock Absorbers Leaking If you notice fluid leaking from your tiguan’s shock or strut, it’s a sign that they need to be inspected and replaced. I've just had an advisory on the mot for the front near side shock. I have owned a 2008 tiguan escape for the past year 6 speed dsg. Repair with replacement parts on this volkswagen tiguan 2.0 tdi.. Vw Tiguan Shock Absorbers Leaking.
From www.vwtiguan.org
Volkswagen Tiguan Service and Repair Manual Adaptive Chassis DCC Vw Tiguan Shock Absorbers Leaking Our experts have pooled together their knowledge to explain what causes your shock absorbers to leak and how to fix the problem. About press copyright contact us creators advertise developers terms privacy policy & safety how youtube works test new features. I've just had an advisory on the mot for the front near side shock. Repair with replacement parts on. Vw Tiguan Shock Absorbers Leaking.
From www.youtube.com
How to replace the front shock absorbers Tiguan mk1 ➿ YouTube Vw Tiguan Shock Absorbers Leaking Interestingly, according to bilstein, the specific variant of b6 shock absorbers listed for the tiguan are an 'off road' type. Repair with replacement parts on this volkswagen tiguan 2.0 tdi. About press copyright contact us creators advertise developers terms privacy policy & safety how youtube works test new features. I have a tiguan 4wd 2009 that have electonic. I have. Vw Tiguan Shock Absorbers Leaking.