How Does A Blower Engine Work . This is because the blower is pushing the air/fuel mix straight into the cylinder, rather than waiting for the piston going down the bore to suck the mix in. — learn about blower motors, devices that create airflow using rotating blades, and their classification, history, and uses. — superchargers used with aircraft engines work just like those found in cars. — a properly set up blown engine will fire instantly, generally before the engine has made one full revolution. They draw their power directly from. — learn how roots blowers work and how they are used in cars, with. Find out how to adjust your blower size and pulley to achieve optimal boost levels for your engine size and compression ratio. — learn how boost is created by your supercharger and how it affects your engine performance.
from ar.inspiredpencil.com
— learn about blower motors, devices that create airflow using rotating blades, and their classification, history, and uses. — learn how boost is created by your supercharger and how it affects your engine performance. This is because the blower is pushing the air/fuel mix straight into the cylinder, rather than waiting for the piston going down the bore to suck the mix in. — a properly set up blown engine will fire instantly, generally before the engine has made one full revolution. Find out how to adjust your blower size and pulley to achieve optimal boost levels for your engine size and compression ratio. — learn how roots blowers work and how they are used in cars, with. — superchargers used with aircraft engines work just like those found in cars. They draw their power directly from.
Engine Blower Supercharger
How Does A Blower Engine Work This is because the blower is pushing the air/fuel mix straight into the cylinder, rather than waiting for the piston going down the bore to suck the mix in. — learn how roots blowers work and how they are used in cars, with. This is because the blower is pushing the air/fuel mix straight into the cylinder, rather than waiting for the piston going down the bore to suck the mix in. — learn how boost is created by your supercharger and how it affects your engine performance. — a properly set up blown engine will fire instantly, generally before the engine has made one full revolution. — superchargers used with aircraft engines work just like those found in cars. Find out how to adjust your blower size and pulley to achieve optimal boost levels for your engine size and compression ratio. — learn about blower motors, devices that create airflow using rotating blades, and their classification, history, and uses. They draw their power directly from.
From thptnganamst.edu.vn
Total 55+ imagen 2000 wrangler blower motor resistor Thptnganamst.edu.vn How Does A Blower Engine Work They draw their power directly from. Find out how to adjust your blower size and pulley to achieve optimal boost levels for your engine size and compression ratio. — learn how boost is created by your supercharger and how it affects your engine performance. — superchargers used with aircraft engines work just like those found in cars. . How Does A Blower Engine Work.
From ar.inspiredpencil.com
Blower Engine Side View How Does A Blower Engine Work Find out how to adjust your blower size and pulley to achieve optimal boost levels for your engine size and compression ratio. — a properly set up blown engine will fire instantly, generally before the engine has made one full revolution. — superchargers used with aircraft engines work just like those found in cars. — learn how. How Does A Blower Engine Work.
From www.vrogue.co
How To Identify Impeller Wear And Failure In Centrifu vrogue.co How Does A Blower Engine Work — learn how roots blowers work and how they are used in cars, with. — superchargers used with aircraft engines work just like those found in cars. — learn about blower motors, devices that create airflow using rotating blades, and their classification, history, and uses. Find out how to adjust your blower size and pulley to achieve. How Does A Blower Engine Work.
From www.samarins.com
Blower motor, resistor how it works, symptoms, problems, testing How Does A Blower Engine Work They draw their power directly from. — learn how roots blowers work and how they are used in cars, with. — learn about blower motors, devices that create airflow using rotating blades, and their classification, history, and uses. This is because the blower is pushing the air/fuel mix straight into the cylinder, rather than waiting for the piston. How Does A Blower Engine Work.
From www.youtube.com
How Does a Leaf Blower Work? — Lawn Equipment Repair Tips YouTube How Does A Blower Engine Work They draw their power directly from. — learn how boost is created by your supercharger and how it affects your engine performance. — learn how roots blowers work and how they are used in cars, with. Find out how to adjust your blower size and pulley to achieve optimal boost levels for your engine size and compression ratio.. How Does A Blower Engine Work.
From enginerileyfluently.z14.web.core.windows.net
How To Wire Furnace Blower Motor How Does A Blower Engine Work This is because the blower is pushing the air/fuel mix straight into the cylinder, rather than waiting for the piston going down the bore to suck the mix in. — learn how boost is created by your supercharger and how it affects your engine performance. — a properly set up blown engine will fire instantly, generally before the. How Does A Blower Engine Work.
From www.motortrend.com
A 671 blower can do more than just make you stand out in a crowd How Does A Blower Engine Work They draw their power directly from. Find out how to adjust your blower size and pulley to achieve optimal boost levels for your engine size and compression ratio. — learn how boost is created by your supercharger and how it affects your engine performance. — superchargers used with aircraft engines work just like those found in cars. This. How Does A Blower Engine Work.
From www.onallcylinders.com
Blower Basics (Part 1) A Guide to Supercharger Types & Terminology How Does A Blower Engine Work Find out how to adjust your blower size and pulley to achieve optimal boost levels for your engine size and compression ratio. This is because the blower is pushing the air/fuel mix straight into the cylinder, rather than waiting for the piston going down the bore to suck the mix in. — superchargers used with aircraft engines work just. How Does A Blower Engine Work.
From www.samarins.com
Blower motor resistor how it works, symptoms, problems, testing How Does A Blower Engine Work Find out how to adjust your blower size and pulley to achieve optimal boost levels for your engine size and compression ratio. — learn how roots blowers work and how they are used in cars, with. They draw their power directly from. — learn how boost is created by your supercharger and how it affects your engine performance.. How Does A Blower Engine Work.
From sontianmotor.com
Blower Motor Guide in 2024 A Complete Guide to Car Blower Motor How Does A Blower Engine Work — learn how roots blowers work and how they are used in cars, with. This is because the blower is pushing the air/fuel mix straight into the cylinder, rather than waiting for the piston going down the bore to suck the mix in. — learn about blower motors, devices that create airflow using rotating blades, and their classification,. How Does A Blower Engine Work.
From ar.inspiredpencil.com
Engine Blower Supercharger How Does A Blower Engine Work — superchargers used with aircraft engines work just like those found in cars. — learn how roots blowers work and how they are used in cars, with. Find out how to adjust your blower size and pulley to achieve optimal boost levels for your engine size and compression ratio. — learn how boost is created by your. How Does A Blower Engine Work.
From wirewiringparker.z13.web.core.windows.net
Replacing Blower Motor On 2005 Suburban How Does A Blower Engine Work — learn about blower motors, devices that create airflow using rotating blades, and their classification, history, and uses. Find out how to adjust your blower size and pulley to achieve optimal boost levels for your engine size and compression ratio. — superchargers used with aircraft engines work just like those found in cars. — a properly set. How Does A Blower Engine Work.
From www.youtube.com
Blower motor only works on high... Do this! YouTube How Does A Blower Engine Work Find out how to adjust your blower size and pulley to achieve optimal boost levels for your engine size and compression ratio. This is because the blower is pushing the air/fuel mix straight into the cylinder, rather than waiting for the piston going down the bore to suck the mix in. They draw their power directly from. — superchargers. How Does A Blower Engine Work.
From www.deviantart.com
Early Hemi V8 with Blower by SamCurry on DeviantArt How Does A Blower Engine Work This is because the blower is pushing the air/fuel mix straight into the cylinder, rather than waiting for the piston going down the bore to suck the mix in. — superchargers used with aircraft engines work just like those found in cars. — learn how roots blowers work and how they are used in cars, with. —. How Does A Blower Engine Work.
From ricksfreeautorepairadvice.com
Nissan blower motor doesn’t work — Ricks Free Auto Repair Advice Ricks How Does A Blower Engine Work — superchargers used with aircraft engines work just like those found in cars. — learn how boost is created by your supercharger and how it affects your engine performance. — learn how roots blowers work and how they are used in cars, with. — learn about blower motors, devices that create airflow using rotating blades, and. How Does A Blower Engine Work.
From anestwithayard.com
How To Winterize And Store Snow Blower In 2024 A Nest With A Yard How Does A Blower Engine Work — a properly set up blown engine will fire instantly, generally before the engine has made one full revolution. This is because the blower is pushing the air/fuel mix straight into the cylinder, rather than waiting for the piston going down the bore to suck the mix in. Find out how to adjust your blower size and pulley to. How Does A Blower Engine Work.
From www.2carpros.com
Blower Motor Works on All Speeds Except High How Does A Blower Engine Work — superchargers used with aircraft engines work just like those found in cars. This is because the blower is pushing the air/fuel mix straight into the cylinder, rather than waiting for the piston going down the bore to suck the mix in. — learn how boost is created by your supercharger and how it affects your engine performance.. How Does A Blower Engine Work.
From repairenginehlichmann88.z13.web.core.windows.net
Gmc Blower Motor Will Not Turn Off How Does A Blower Engine Work This is because the blower is pushing the air/fuel mix straight into the cylinder, rather than waiting for the piston going down the bore to suck the mix in. — superchargers used with aircraft engines work just like those found in cars. — a properly set up blown engine will fire instantly, generally before the engine has made. How Does A Blower Engine Work.
From mechanicstips.blogspot.com
Blower Internal Components MechanicsTips How Does A Blower Engine Work — learn how boost is created by your supercharger and how it affects your engine performance. — learn about blower motors, devices that create airflow using rotating blades, and their classification, history, and uses. — a properly set up blown engine will fire instantly, generally before the engine has made one full revolution. This is because the. How Does A Blower Engine Work.
From www.youtube.com
HVAC Blower Motor & Circuit YouTube How Does A Blower Engine Work — learn about blower motors, devices that create airflow using rotating blades, and their classification, history, and uses. — learn how boost is created by your supercharger and how it affects your engine performance. — superchargers used with aircraft engines work just like those found in cars. This is because the blower is pushing the air/fuel mix. How Does A Blower Engine Work.
From www.youtube.com
HVAC Blower Motor FAN WON'T TURN ON, NOT WORKING! Top 10 Reasons How Does A Blower Engine Work — superchargers used with aircraft engines work just like those found in cars. — learn about blower motors, devices that create airflow using rotating blades, and their classification, history, and uses. This is because the blower is pushing the air/fuel mix straight into the cylinder, rather than waiting for the piston going down the bore to suck the. How Does A Blower Engine Work.
From fgjunedunasi1.blogspot.com
blower aircond kereta How Does A Blower Engine Work They draw their power directly from. — learn how boost is created by your supercharger and how it affects your engine performance. — learn about blower motors, devices that create airflow using rotating blades, and their classification, history, and uses. — learn how roots blowers work and how they are used in cars, with. — a. How Does A Blower Engine Work.
From www.iqsdirectory.com
Industrial Blower What Is It? How Are They Used? Types How Does A Blower Engine Work — learn about blower motors, devices that create airflow using rotating blades, and their classification, history, and uses. They draw their power directly from. — a properly set up blown engine will fire instantly, generally before the engine has made one full revolution. — learn how roots blowers work and how they are used in cars, with.. How Does A Blower Engine Work.
From www.samarins.com
Blower motor, resistor how it works, symptoms, problems, testing How Does A Blower Engine Work They draw their power directly from. Find out how to adjust your blower size and pulley to achieve optimal boost levels for your engine size and compression ratio. This is because the blower is pushing the air/fuel mix straight into the cylinder, rather than waiting for the piston going down the bore to suck the mix in. — learn. How Does A Blower Engine Work.
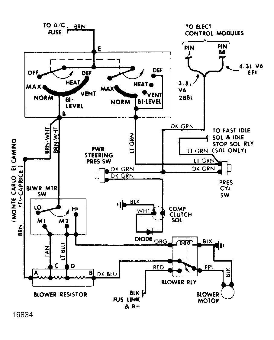
From transamcountry.com
Air Conditioning Blower Wiring/Vacuum Diagram How Does A Blower Engine Work They draw their power directly from. — learn about blower motors, devices that create airflow using rotating blades, and their classification, history, and uses. Find out how to adjust your blower size and pulley to achieve optimal boost levels for your engine size and compression ratio. — learn how boost is created by your supercharger and how it. How Does A Blower Engine Work.
From www.secondharvestmadison.org
Car Parts Engine & Engine Parts Automotive Blower Resistor,Blower Motor How Does A Blower Engine Work This is because the blower is pushing the air/fuel mix straight into the cylinder, rather than waiting for the piston going down the bore to suck the mix in. — a properly set up blown engine will fire instantly, generally before the engine has made one full revolution. — learn about blower motors, devices that create airflow using. How Does A Blower Engine Work.
From www.samarins.com
Blower motor, resistor how it works, symptoms, problems, testing How Does A Blower Engine Work This is because the blower is pushing the air/fuel mix straight into the cylinder, rather than waiting for the piston going down the bore to suck the mix in. Find out how to adjust your blower size and pulley to achieve optimal boost levels for your engine size and compression ratio. — a properly set up blown engine will. How Does A Blower Engine Work.
From www.iqsdirectory.com
Industrial Blower What Is It? How Are They Used? Types How Does A Blower Engine Work — superchargers used with aircraft engines work just like those found in cars. — a properly set up blown engine will fire instantly, generally before the engine has made one full revolution. They draw their power directly from. — learn how roots blowers work and how they are used in cars, with. — learn about blower. How Does A Blower Engine Work.
From ionatravis.blogspot.com
ac blower motor starts and stops Iona Travis How Does A Blower Engine Work — superchargers used with aircraft engines work just like those found in cars. — a properly set up blown engine will fire instantly, generally before the engine has made one full revolution. — learn how roots blowers work and how they are used in cars, with. Find out how to adjust your blower size and pulley to. How Does A Blower Engine Work.
From www.justanswer.com
Buick Lesabre Blower Not Working? Find Relay Diagrams & Fuse Box How Does A Blower Engine Work — learn about blower motors, devices that create airflow using rotating blades, and their classification, history, and uses. — learn how boost is created by your supercharger and how it affects your engine performance. — superchargers used with aircraft engines work just like those found in cars. This is because the blower is pushing the air/fuel mix. How Does A Blower Engine Work.
From www.airdesigns.net
ENGINE / CHEVY 350 W/ BLOWER Air Designs How Does A Blower Engine Work Find out how to adjust your blower size and pulley to achieve optimal boost levels for your engine size and compression ratio. This is because the blower is pushing the air/fuel mix straight into the cylinder, rather than waiting for the piston going down the bore to suck the mix in. — learn how boost is created by your. How Does A Blower Engine Work.
From anestwithayard.com
How Does A Snow Blower Work? All To Know In 2024 A Nest With A Yard How Does A Blower Engine Work — learn how roots blowers work and how they are used in cars, with. — a properly set up blown engine will fire instantly, generally before the engine has made one full revolution. This is because the blower is pushing the air/fuel mix straight into the cylinder, rather than waiting for the piston going down the bore to. How Does A Blower Engine Work.
From motormission.com
427 SOHC Ford Cammer Engine with Roots Style Blower & Bug Catcher How Does A Blower Engine Work — learn how roots blowers work and how they are used in cars, with. — learn about blower motors, devices that create airflow using rotating blades, and their classification, history, and uses. — superchargers used with aircraft engines work just like those found in cars. — a properly set up blown engine will fire instantly, generally. How Does A Blower Engine Work.
From repairmachinedixonpas.z21.web.core.windows.net
Blower On Engine How Does A Blower Engine Work This is because the blower is pushing the air/fuel mix straight into the cylinder, rather than waiting for the piston going down the bore to suck the mix in. — learn how boost is created by your supercharger and how it affects your engine performance. — learn about blower motors, devices that create airflow using rotating blades, and. How Does A Blower Engine Work.
From www.youtube.com
air blower (Mechanical Engineering ) reading with calculations YouTube How Does A Blower Engine Work They draw their power directly from. — learn about blower motors, devices that create airflow using rotating blades, and their classification, history, and uses. — superchargers used with aircraft engines work just like those found in cars. — learn how boost is created by your supercharger and how it affects your engine performance. Find out how to. How Does A Blower Engine Work.