Belt Conveyor Pulley Drawing . The rulmeca belt pulleys have the shaft assembled. Rulmeca belt pulleys are the drive element for belt conveyors in bulk handling applications. The conveyor head pulley drawing provides a detailed visual representation of the drive pulley, illustrating its design, placement, and function within the conveyor system. Conveyor head pulley drawings are invaluable tools in the belt conveyor head pulley design process, as they illustrate the various design options and installation configurations. For more information about traceparts, please visit. Pulleys for small or medium loaded conveyors. Other type’s pulley with internal bearings and. Mounted close to the drive pulley on the return side of the belt, the snub pulley’s primary job is to increase the angle of wrap around the. Very good usable for space saving design of a conveyor. Belt conveyor systems utilize components that are similar in appearance but are designed for very different application intent.
from www.skecon.com
The rulmeca belt pulleys have the shaft assembled. Conveyor head pulley drawings are invaluable tools in the belt conveyor head pulley design process, as they illustrate the various design options and installation configurations. Other type’s pulley with internal bearings and. For more information about traceparts, please visit. Very good usable for space saving design of a conveyor. Rulmeca belt pulleys are the drive element for belt conveyors in bulk handling applications. Pulleys for small or medium loaded conveyors. The conveyor head pulley drawing provides a detailed visual representation of the drive pulley, illustrating its design, placement, and function within the conveyor system. Mounted close to the drive pulley on the return side of the belt, the snub pulley’s primary job is to increase the angle of wrap around the. Belt conveyor systems utilize components that are similar in appearance but are designed for very different application intent.
Conveyor Pulley Drum & Wing Pulleys for Belt Conveyor SKE Industries
Belt Conveyor Pulley Drawing Very good usable for space saving design of a conveyor. The rulmeca belt pulleys have the shaft assembled. The conveyor head pulley drawing provides a detailed visual representation of the drive pulley, illustrating its design, placement, and function within the conveyor system. Pulleys for small or medium loaded conveyors. Mounted close to the drive pulley on the return side of the belt, the snub pulley’s primary job is to increase the angle of wrap around the. Conveyor head pulley drawings are invaluable tools in the belt conveyor head pulley design process, as they illustrate the various design options and installation configurations. Very good usable for space saving design of a conveyor. Belt conveyor systems utilize components that are similar in appearance but are designed for very different application intent. Rulmeca belt pulleys are the drive element for belt conveyors in bulk handling applications. Other type’s pulley with internal bearings and. For more information about traceparts, please visit.
From www.jrmholdings.co.uk
Quality Conveyor Belt Manufacturers KCB 114 Belt ConveyorsConveyor Belt Conveyor Pulley Drawing For more information about traceparts, please visit. Belt conveyor systems utilize components that are similar in appearance but are designed for very different application intent. Other type’s pulley with internal bearings and. Rulmeca belt pulleys are the drive element for belt conveyors in bulk handling applications. The conveyor head pulley drawing provides a detailed visual representation of the drive pulley,. Belt Conveyor Pulley Drawing.
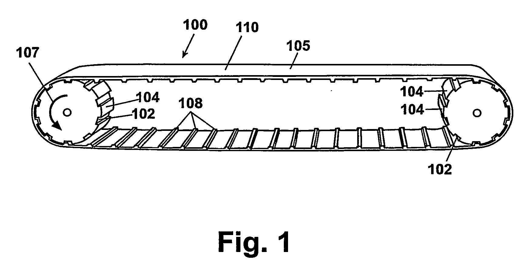
From loeloxxmj.blob.core.windows.net
Conveyor Belt Spare Parts at William Patrick blog Belt Conveyor Pulley Drawing Very good usable for space saving design of a conveyor. Belt conveyor systems utilize components that are similar in appearance but are designed for very different application intent. Rulmeca belt pulleys are the drive element for belt conveyors in bulk handling applications. Pulleys for small or medium loaded conveyors. The conveyor head pulley drawing provides a detailed visual representation of. Belt Conveyor Pulley Drawing.
From paintingvalley.com
Conveyor paintings search result at Belt Conveyor Pulley Drawing The rulmeca belt pulleys have the shaft assembled. The conveyor head pulley drawing provides a detailed visual representation of the drive pulley, illustrating its design, placement, and function within the conveyor system. Pulleys for small or medium loaded conveyors. Conveyor head pulley drawings are invaluable tools in the belt conveyor head pulley design process, as they illustrate the various design. Belt Conveyor Pulley Drawing.
From cgmh.com
Conveyor Pulleys Continental Global Material Handling Belt Conveyor Pulley Drawing The rulmeca belt pulleys have the shaft assembled. Other type’s pulley with internal bearings and. Belt conveyor systems utilize components that are similar in appearance but are designed for very different application intent. Rulmeca belt pulleys are the drive element for belt conveyors in bulk handling applications. Conveyor head pulley drawings are invaluable tools in the belt conveyor head pulley. Belt Conveyor Pulley Drawing.
From www.tsglobal.net.au
Buy a Conveyor Belt or Not 1300 418 298 Belt Conveyor Pulley Drawing The rulmeca belt pulleys have the shaft assembled. For more information about traceparts, please visit. Belt conveyor systems utilize components that are similar in appearance but are designed for very different application intent. Mounted close to the drive pulley on the return side of the belt, the snub pulley’s primary job is to increase the angle of wrap around the.. Belt Conveyor Pulley Drawing.
From bet.yonsei.ac.kr
Flat Belt Drive Pulley/belt Conveyor Bend Pulley Buy Belt Conveyor Bend Belt Conveyor Pulley Drawing Other type’s pulley with internal bearings and. The conveyor head pulley drawing provides a detailed visual representation of the drive pulley, illustrating its design, placement, and function within the conveyor system. Pulleys for small or medium loaded conveyors. Rulmeca belt pulleys are the drive element for belt conveyors in bulk handling applications. Belt conveyor systems utilize components that are similar. Belt Conveyor Pulley Drawing.
From www.joyroll.net
Tail Pulley Joyroll Belt Conveyor Pulley Drawing The conveyor head pulley drawing provides a detailed visual representation of the drive pulley, illustrating its design, placement, and function within the conveyor system. Mounted close to the drive pulley on the return side of the belt, the snub pulley’s primary job is to increase the angle of wrap around the. The rulmeca belt pulleys have the shaft assembled. Other. Belt Conveyor Pulley Drawing.
From sdyuanxin.en.made-in-china.com
Conveyor Drum Drawing Conveyor Belt Drives Conveyor Buffer Pulley Reel Belt Conveyor Pulley Drawing Pulleys for small or medium loaded conveyors. Rulmeca belt pulleys are the drive element for belt conveyors in bulk handling applications. Very good usable for space saving design of a conveyor. The conveyor head pulley drawing provides a detailed visual representation of the drive pulley, illustrating its design, placement, and function within the conveyor system. Mounted close to the drive. Belt Conveyor Pulley Drawing.
From www.vectorstock.com
Belt conveyor drawings Royalty Free Vector Image Belt Conveyor Pulley Drawing Other type’s pulley with internal bearings and. Rulmeca belt pulleys are the drive element for belt conveyors in bulk handling applications. Very good usable for space saving design of a conveyor. The conveyor head pulley drawing provides a detailed visual representation of the drive pulley, illustrating its design, placement, and function within the conveyor system. Mounted close to the drive. Belt Conveyor Pulley Drawing.
From klawnfslr.blob.core.windows.net
Conveyor Electrical Schematic at Melvin Mahoney blog Belt Conveyor Pulley Drawing Pulleys for small or medium loaded conveyors. The rulmeca belt pulleys have the shaft assembled. The conveyor head pulley drawing provides a detailed visual representation of the drive pulley, illustrating its design, placement, and function within the conveyor system. Other type’s pulley with internal bearings and. Belt conveyor systems utilize components that are similar in appearance but are designed for. Belt Conveyor Pulley Drawing.
From www.alibaba.com
Drawing Belt Conveyor Drive Roller Pulley Buy Conveyor Pulley,Driving Belt Conveyor Pulley Drawing Other type’s pulley with internal bearings and. Rulmeca belt pulleys are the drive element for belt conveyors in bulk handling applications. The rulmeca belt pulleys have the shaft assembled. Conveyor head pulley drawings are invaluable tools in the belt conveyor head pulley design process, as they illustrate the various design options and installation configurations. Very good usable for space saving. Belt Conveyor Pulley Drawing.
From www.jrmholdings.co.uk
Incline Mezzanine Floor Conveyors & Interfloor Belt Conveyor Belt Conveyor Pulley Drawing The conveyor head pulley drawing provides a detailed visual representation of the drive pulley, illustrating its design, placement, and function within the conveyor system. Very good usable for space saving design of a conveyor. The rulmeca belt pulleys have the shaft assembled. Other type’s pulley with internal bearings and. Conveyor head pulley drawings are invaluable tools in the belt conveyor. Belt Conveyor Pulley Drawing.
From www.google.com
Patent EP1483183B1 Conveyor belt Google Patents Belt Conveyor Pulley Drawing Pulleys for small or medium loaded conveyors. The rulmeca belt pulleys have the shaft assembled. Other type’s pulley with internal bearings and. For more information about traceparts, please visit. Mounted close to the drive pulley on the return side of the belt, the snub pulley’s primary job is to increase the angle of wrap around the. The conveyor head pulley. Belt Conveyor Pulley Drawing.
From www.artofit.org
2d cad drawing dwg file shows the details of the belt conveyor Belt Conveyor Pulley Drawing Belt conveyor systems utilize components that are similar in appearance but are designed for very different application intent. For more information about traceparts, please visit. The rulmeca belt pulleys have the shaft assembled. Other type’s pulley with internal bearings and. Very good usable for space saving design of a conveyor. Conveyor head pulley drawings are invaluable tools in the belt. Belt Conveyor Pulley Drawing.
From www.beltconveyorequipment.com
Conveyor Drum Pulley Belt Conveyor Pulley Drawing The conveyor head pulley drawing provides a detailed visual representation of the drive pulley, illustrating its design, placement, and function within the conveyor system. The rulmeca belt pulleys have the shaft assembled. Belt conveyor systems utilize components that are similar in appearance but are designed for very different application intent. Very good usable for space saving design of a conveyor.. Belt Conveyor Pulley Drawing.
From fluentconveyors.com
Conveyor Belt Pulleys Conveyor Pulleys Fluent Conveyors Belt Conveyor Pulley Drawing The rulmeca belt pulleys have the shaft assembled. Conveyor head pulley drawings are invaluable tools in the belt conveyor head pulley design process, as they illustrate the various design options and installation configurations. Mounted close to the drive pulley on the return side of the belt, the snub pulley’s primary job is to increase the angle of wrap around the.. Belt Conveyor Pulley Drawing.
From www.alibaba.com
Standard Belt Conveyor Head Crowned Pulleys Buy Head Crowned Pulleys Belt Conveyor Pulley Drawing Very good usable for space saving design of a conveyor. Conveyor head pulley drawings are invaluable tools in the belt conveyor head pulley design process, as they illustrate the various design options and installation configurations. Pulleys for small or medium loaded conveyors. Other type’s pulley with internal bearings and. The rulmeca belt pulleys have the shaft assembled. Mounted close to. Belt Conveyor Pulley Drawing.
From www.researchgate.net
1. Basic components of a conveyor belt. Download Scientific Diagram Belt Conveyor Pulley Drawing For more information about traceparts, please visit. Rulmeca belt pulleys are the drive element for belt conveyors in bulk handling applications. Very good usable for space saving design of a conveyor. Pulleys for small or medium loaded conveyors. Other type’s pulley with internal bearings and. Conveyor head pulley drawings are invaluable tools in the belt conveyor head pulley design process,. Belt Conveyor Pulley Drawing.
From confya.com.mx
opruiming > head pulley belt conveyor Belt Conveyor Pulley Drawing Very good usable for space saving design of a conveyor. For more information about traceparts, please visit. Belt conveyor systems utilize components that are similar in appearance but are designed for very different application intent. Pulleys for small or medium loaded conveyors. The conveyor head pulley drawing provides a detailed visual representation of the drive pulley, illustrating its design, placement,. Belt Conveyor Pulley Drawing.
From www.alamy.com
This illustration represents a belt conveyor is made up of two or more Belt Conveyor Pulley Drawing Mounted close to the drive pulley on the return side of the belt, the snub pulley’s primary job is to increase the angle of wrap around the. Pulleys for small or medium loaded conveyors. Conveyor head pulley drawings are invaluable tools in the belt conveyor head pulley design process, as they illustrate the various design options and installation configurations. Other. Belt Conveyor Pulley Drawing.
From mail.napmexico.com.mx
Conveyor Drive Pulley Belt Conveyor Tail Pulley Buy Belt Conveyor Tail Belt Conveyor Pulley Drawing Belt conveyor systems utilize components that are similar in appearance but are designed for very different application intent. Mounted close to the drive pulley on the return side of the belt, the snub pulley’s primary job is to increase the angle of wrap around the. Pulleys for small or medium loaded conveyors. Very good usable for space saving design of. Belt Conveyor Pulley Drawing.
From mavink.com
Conveyor Cad Drawing Belt Conveyor Pulley Drawing Mounted close to the drive pulley on the return side of the belt, the snub pulley’s primary job is to increase the angle of wrap around the. The rulmeca belt pulleys have the shaft assembled. Rulmeca belt pulleys are the drive element for belt conveyors in bulk handling applications. Conveyor head pulley drawings are invaluable tools in the belt conveyor. Belt Conveyor Pulley Drawing.
From www.labour.gov.on.ca
Conveyor Guarding Ministry of Labour Belt Conveyor Pulley Drawing Other type’s pulley with internal bearings and. Belt conveyor systems utilize components that are similar in appearance but are designed for very different application intent. Mounted close to the drive pulley on the return side of the belt, the snub pulley’s primary job is to increase the angle of wrap around the. The rulmeca belt pulleys have the shaft assembled.. Belt Conveyor Pulley Drawing.
From www.vectorstock.com
3d outline conveyor belt rendering of Royalty Free Vector Belt Conveyor Pulley Drawing Very good usable for space saving design of a conveyor. Pulleys for small or medium loaded conveyors. The rulmeca belt pulleys have the shaft assembled. The conveyor head pulley drawing provides a detailed visual representation of the drive pulley, illustrating its design, placement, and function within the conveyor system. For more information about traceparts, please visit. Mounted close to the. Belt Conveyor Pulley Drawing.
From hgconveyorbelt.en.made-in-china.com
Conveyor Drum Head Pulley Drawing Conveyor Belt Drive Pulleys Belt Belt Conveyor Pulley Drawing Pulleys for small or medium loaded conveyors. Conveyor head pulley drawings are invaluable tools in the belt conveyor head pulley design process, as they illustrate the various design options and installation configurations. For more information about traceparts, please visit. The conveyor head pulley drawing provides a detailed visual representation of the drive pulley, illustrating its design, placement, and function within. Belt Conveyor Pulley Drawing.
From www.papacad.com
Conveyor belt drawing DIY belt conveyor Free download CAD design Belt Conveyor Pulley Drawing Rulmeca belt pulleys are the drive element for belt conveyors in bulk handling applications. Other type’s pulley with internal bearings and. Belt conveyor systems utilize components that are similar in appearance but are designed for very different application intent. The rulmeca belt pulleys have the shaft assembled. For more information about traceparts, please visit. The conveyor head pulley drawing provides. Belt Conveyor Pulley Drawing.
From www.bellebannecp.com.au
Conveyor Belt Pulleys BBCP Belt Conveyor Pulley Drawing Mounted close to the drive pulley on the return side of the belt, the snub pulley’s primary job is to increase the angle of wrap around the. Very good usable for space saving design of a conveyor. The rulmeca belt pulleys have the shaft assembled. Other type’s pulley with internal bearings and. Belt conveyor systems utilize components that are similar. Belt Conveyor Pulley Drawing.
From www.vectorstock.com
3d outline conveyor belt rendering of Royalty Free Vector Belt Conveyor Pulley Drawing The rulmeca belt pulleys have the shaft assembled. Belt conveyor systems utilize components that are similar in appearance but are designed for very different application intent. Mounted close to the drive pulley on the return side of the belt, the snub pulley’s primary job is to increase the angle of wrap around the. Conveyor head pulley drawings are invaluable tools. Belt Conveyor Pulley Drawing.
From www.motorized-pulley.com
Conveyor Head Pulley Manufacturer Belt Conveyor Pulley Drawing The rulmeca belt pulleys have the shaft assembled. Pulleys for small or medium loaded conveyors. Belt conveyor systems utilize components that are similar in appearance but are designed for very different application intent. Very good usable for space saving design of a conveyor. For more information about traceparts, please visit. Other type’s pulley with internal bearings and. Rulmeca belt pulleys. Belt Conveyor Pulley Drawing.
From gbu-presnenskij.ru
Conveyor Pulleys Head And Tail Pulleys And More Metso, 53 OFF Belt Conveyor Pulley Drawing The rulmeca belt pulleys have the shaft assembled. Other type’s pulley with internal bearings and. Rulmeca belt pulleys are the drive element for belt conveyors in bulk handling applications. For more information about traceparts, please visit. Conveyor head pulley drawings are invaluable tools in the belt conveyor head pulley design process, as they illustrate the various design options and installation. Belt Conveyor Pulley Drawing.
From r3plantdesign.com
Pulley & Shafts R3 Belt Conveyor Pulley Drawing Conveyor head pulley drawings are invaluable tools in the belt conveyor head pulley design process, as they illustrate the various design options and installation configurations. Pulleys for small or medium loaded conveyors. Mounted close to the drive pulley on the return side of the belt, the snub pulley’s primary job is to increase the angle of wrap around the. Rulmeca. Belt Conveyor Pulley Drawing.
From www.iqsdirectory.com
Belt Conveyors Components, Types, Design, and Applications Belt Conveyor Pulley Drawing The rulmeca belt pulleys have the shaft assembled. For more information about traceparts, please visit. Pulleys for small or medium loaded conveyors. Mounted close to the drive pulley on the return side of the belt, the snub pulley’s primary job is to increase the angle of wrap around the. Belt conveyor systems utilize components that are similar in appearance but. Belt Conveyor Pulley Drawing.
From www.engineersdatabase.com
Conveyor Components The Engineers Database Belt Conveyor Pulley Drawing Belt conveyor systems utilize components that are similar in appearance but are designed for very different application intent. The rulmeca belt pulleys have the shaft assembled. Conveyor head pulley drawings are invaluable tools in the belt conveyor head pulley design process, as they illustrate the various design options and installation configurations. Pulleys for small or medium loaded conveyors. Very good. Belt Conveyor Pulley Drawing.
From www.skecon.com
Conveyor Pulley Drum & Wing Pulleys for Belt Conveyor SKE Industries Belt Conveyor Pulley Drawing The rulmeca belt pulleys have the shaft assembled. Pulleys for small or medium loaded conveyors. Very good usable for space saving design of a conveyor. Other type’s pulley with internal bearings and. Conveyor head pulley drawings are invaluable tools in the belt conveyor head pulley design process, as they illustrate the various design options and installation configurations. Rulmeca belt pulleys. Belt Conveyor Pulley Drawing.
From www.oparya.com
Complete Belt Conveyor System Basic Components and Its Safety Safety Belt Conveyor Pulley Drawing For more information about traceparts, please visit. Rulmeca belt pulleys are the drive element for belt conveyors in bulk handling applications. Conveyor head pulley drawings are invaluable tools in the belt conveyor head pulley design process, as they illustrate the various design options and installation configurations. Very good usable for space saving design of a conveyor. Pulleys for small or. Belt Conveyor Pulley Drawing.