Static Electricity Generating Device . fast forward to the 17th century, though, and scientists were creating the first machines designed to. the wimshurst machine or wimshurst influence machine is an electrostatic generator, a machine for generating high. learn how electrostatic generators produce static electricity using electrostatic induction or the triboelectric effect. van de graaff generators are devices that create static electricity and supply high voltages for particle accelerators. a van de graaff generator is a device that produces static electricity by using a belt to transfer charge between two spheres. learn about the wimshurst machine, a type of electrostatic generator invented by james wimshurst in the late 1800s.
from www.walmart.com
van de graaff generators are devices that create static electricity and supply high voltages for particle accelerators. the wimshurst machine or wimshurst influence machine is an electrostatic generator, a machine for generating high. learn about the wimshurst machine, a type of electrostatic generator invented by james wimshurst in the late 1800s. learn how electrostatic generators produce static electricity using electrostatic induction or the triboelectric effect. a van de graaff generator is a device that produces static electricity by using a belt to transfer charge between two spheres. fast forward to the 17th century, though, and scientists were creating the first machines designed to.
Static Machine, Firm Static Electricity Generator, Electrostatic Generator, Handkurbelgenerator
Static Electricity Generating Device fast forward to the 17th century, though, and scientists were creating the first machines designed to. the wimshurst machine or wimshurst influence machine is an electrostatic generator, a machine for generating high. fast forward to the 17th century, though, and scientists were creating the first machines designed to. van de graaff generators are devices that create static electricity and supply high voltages for particle accelerators. learn about the wimshurst machine, a type of electrostatic generator invented by james wimshurst in the late 1800s. a van de graaff generator is a device that produces static electricity by using a belt to transfer charge between two spheres. learn how electrostatic generators produce static electricity using electrostatic induction or the triboelectric effect.
From www.livescience.com
What Causes Static Electricity? Live Science Static Electricity Generating Device fast forward to the 17th century, though, and scientists were creating the first machines designed to. learn how electrostatic generators produce static electricity using electrostatic induction or the triboelectric effect. a van de graaff generator is a device that produces static electricity by using a belt to transfer charge between two spheres. learn about the wimshurst. Static Electricity Generating Device.
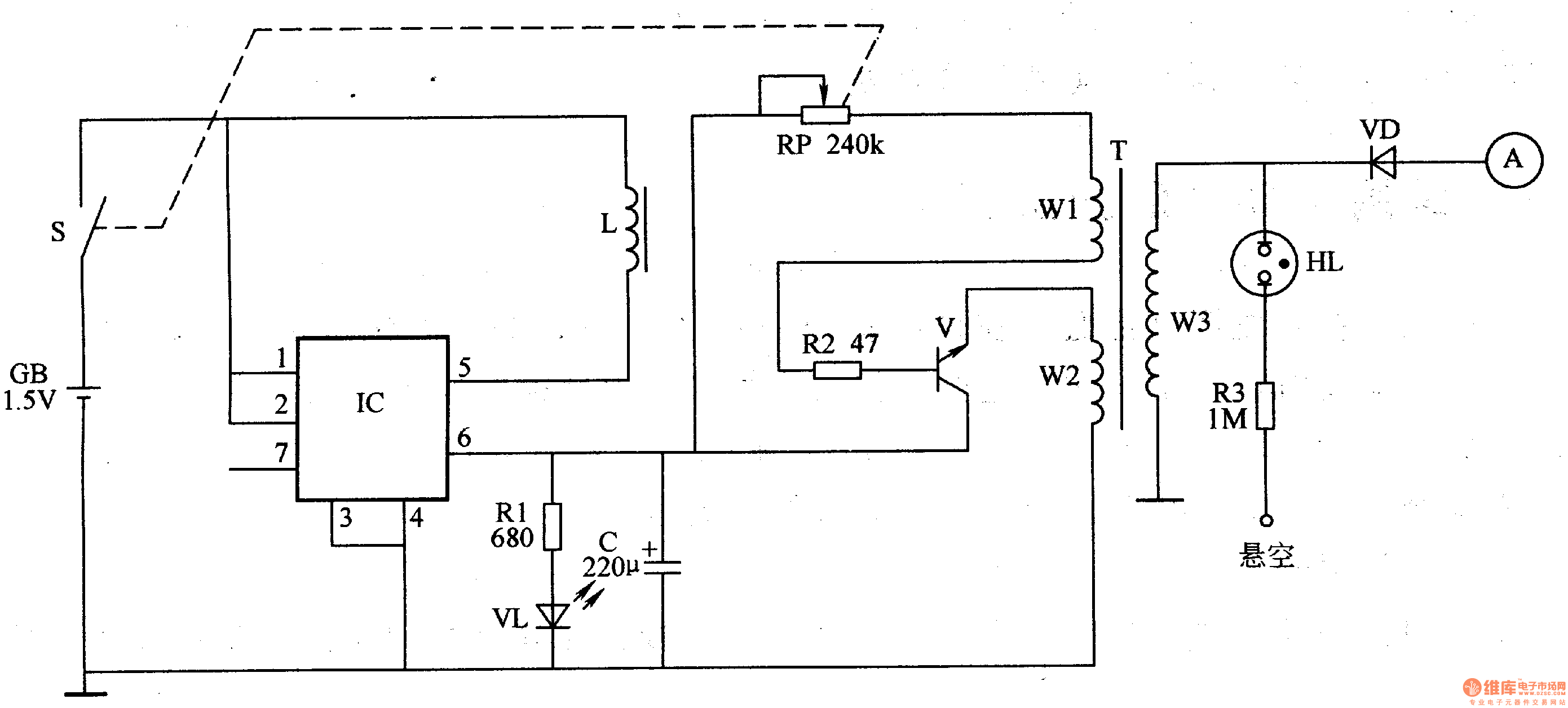
From shqeepo.en.made-in-china.com
Easy to Use Iml Static Charging Generation Device for Plastic Film Iml China Static Generator Static Electricity Generating Device a van de graaff generator is a device that produces static electricity by using a belt to transfer charge between two spheres. fast forward to the 17th century, though, and scientists were creating the first machines designed to. van de graaff generators are devices that create static electricity and supply high voltages for particle accelerators. learn. Static Electricity Generating Device.
From exozngydq.blob.core.windows.net
How To Create Static Electricity With A Ruler at Sonya Lunsford blog Static Electricity Generating Device learn how electrostatic generators produce static electricity using electrostatic induction or the triboelectric effect. learn about the wimshurst machine, a type of electrostatic generator invented by james wimshurst in the late 1800s. a van de graaff generator is a device that produces static electricity by using a belt to transfer charge between two spheres. the wimshurst. Static Electricity Generating Device.
From www.youtube.com
Simple Static Electricity Experiment For Children YouTube Static Electricity Generating Device van de graaff generators are devices that create static electricity and supply high voltages for particle accelerators. learn how electrostatic generators produce static electricity using electrostatic induction or the triboelectric effect. the wimshurst machine or wimshurst influence machine is an electrostatic generator, a machine for generating high. fast forward to the 17th century, though, and scientists. Static Electricity Generating Device.
From study.com
Static Electricity Lesson for Kids Definition & Facts Lesson Static Electricity Generating Device learn about the wimshurst machine, a type of electrostatic generator invented by james wimshurst in the late 1800s. van de graaff generators are devices that create static electricity and supply high voltages for particle accelerators. learn how electrostatic generators produce static electricity using electrostatic induction or the triboelectric effect. fast forward to the 17th century, though,. Static Electricity Generating Device.
From www.educationcorner.com
Top 10 Fun Static Electricity Experiments Education Corner Static Electricity Generating Device the wimshurst machine or wimshurst influence machine is an electrostatic generator, a machine for generating high. learn how electrostatic generators produce static electricity using electrostatic induction or the triboelectric effect. fast forward to the 17th century, though, and scientists were creating the first machines designed to. a van de graaff generator is a device that produces. Static Electricity Generating Device.
From ar.inspiredpencil.com
Static Electricity Examples Static Electricity Generating Device fast forward to the 17th century, though, and scientists were creating the first machines designed to. learn how electrostatic generators produce static electricity using electrostatic induction or the triboelectric effect. van de graaff generators are devices that create static electricity and supply high voltages for particle accelerators. a van de graaff generator is a device that. Static Electricity Generating Device.
From ar.inspiredpencil.com
Static Electricity Diagram Static Electricity Generating Device the wimshurst machine or wimshurst influence machine is an electrostatic generator, a machine for generating high. fast forward to the 17th century, though, and scientists were creating the first machines designed to. learn about the wimshurst machine, a type of electrostatic generator invented by james wimshurst in the late 1800s. learn how electrostatic generators produce static. Static Electricity Generating Device.
From www.changfi.com
ไฟฟ้าสถิต Static Electricity ช่างไฟดอทคอม Static Electricity Generating Device a van de graaff generator is a device that produces static electricity by using a belt to transfer charge between two spheres. learn about the wimshurst machine, a type of electrostatic generator invented by james wimshurst in the late 1800s. learn how electrostatic generators produce static electricity using electrostatic induction or the triboelectric effect. van de. Static Electricity Generating Device.
From www.youtube.com
Static Electricity YouTube Static Electricity Generating Device fast forward to the 17th century, though, and scientists were creating the first machines designed to. van de graaff generators are devices that create static electricity and supply high voltages for particle accelerators. a van de graaff generator is a device that produces static electricity by using a belt to transfer charge between two spheres. the. Static Electricity Generating Device.
From www.kidpid.com
The science of static electricity Kidpid Static Electricity Generating Device van de graaff generators are devices that create static electricity and supply high voltages for particle accelerators. learn how electrostatic generators produce static electricity using electrostatic induction or the triboelectric effect. learn about the wimshurst machine, a type of electrostatic generator invented by james wimshurst in the late 1800s. a van de graaff generator is a. Static Electricity Generating Device.
From engagingsciencelabs.teachable.com
Static Electricity Engaging Science Labs Static Electricity Generating Device learn how electrostatic generators produce static electricity using electrostatic induction or the triboelectric effect. van de graaff generators are devices that create static electricity and supply high voltages for particle accelerators. learn about the wimshurst machine, a type of electrostatic generator invented by james wimshurst in the late 1800s. a van de graaff generator is a. Static Electricity Generating Device.
From www.slideserve.com
PPT Static Electricity PowerPoint Presentation, free download ID2213088 Static Electricity Generating Device fast forward to the 17th century, though, and scientists were creating the first machines designed to. learn about the wimshurst machine, a type of electrostatic generator invented by james wimshurst in the late 1800s. the wimshurst machine or wimshurst influence machine is an electrostatic generator, a machine for generating high. van de graaff generators are devices. Static Electricity Generating Device.
From www.javelin-tech.com
Static electricity explained using EMS for SOLIDWORKS [VIDEO] Static Electricity Generating Device the wimshurst machine or wimshurst influence machine is an electrostatic generator, a machine for generating high. van de graaff generators are devices that create static electricity and supply high voltages for particle accelerators. learn about the wimshurst machine, a type of electrostatic generator invented by james wimshurst in the late 1800s. learn how electrostatic generators produce. Static Electricity Generating Device.
From www.youtube.com
Methods of Charging Static Electricity O level Physics YouTube Static Electricity Generating Device a van de graaff generator is a device that produces static electricity by using a belt to transfer charge between two spheres. van de graaff generators are devices that create static electricity and supply high voltages for particle accelerators. fast forward to the 17th century, though, and scientists were creating the first machines designed to. learn. Static Electricity Generating Device.
From marelyghopforbes.blogspot.com
Static Electricity Is Best Described as Static Electricity Generating Device learn how electrostatic generators produce static electricity using electrostatic induction or the triboelectric effect. van de graaff generators are devices that create static electricity and supply high voltages for particle accelerators. a van de graaff generator is a device that produces static electricity by using a belt to transfer charge between two spheres. fast forward to. Static Electricity Generating Device.
From www.youtube.com
9 Awesome Science Tricks Using Static Electricity! YouTube Static Electricity Generating Device van de graaff generators are devices that create static electricity and supply high voltages for particle accelerators. fast forward to the 17th century, though, and scientists were creating the first machines designed to. a van de graaff generator is a device that produces static electricity by using a belt to transfer charge between two spheres. learn. Static Electricity Generating Device.
From www.desertcart.ae
Buy Electrostatic Generator HighVoltage Static Electricity generating Device high School Static Electricity Generating Device learn how electrostatic generators produce static electricity using electrostatic induction or the triboelectric effect. a van de graaff generator is a device that produces static electricity by using a belt to transfer charge between two spheres. learn about the wimshurst machine, a type of electrostatic generator invented by james wimshurst in the late 1800s. fast forward. Static Electricity Generating Device.
From www.seekic.com
Static electricity medical health care device Basic_Circuit Circuit Diagram Static Electricity Generating Device van de graaff generators are devices that create static electricity and supply high voltages for particle accelerators. fast forward to the 17th century, though, and scientists were creating the first machines designed to. learn about the wimshurst machine, a type of electrostatic generator invented by james wimshurst in the late 1800s. learn how electrostatic generators produce. Static Electricity Generating Device.
From www.livescience.com
What Is Static Electricity? Live Science Static Electricity Generating Device the wimshurst machine or wimshurst influence machine is an electrostatic generator, a machine for generating high. learn about the wimshurst machine, a type of electrostatic generator invented by james wimshurst in the late 1800s. fast forward to the 17th century, though, and scientists were creating the first machines designed to. a van de graaff generator is. Static Electricity Generating Device.
From www.youtube.com
7 Awesome Static Electricity Experiments for Kids YouTube Static Electricity Generating Device fast forward to the 17th century, though, and scientists were creating the first machines designed to. a van de graaff generator is a device that produces static electricity by using a belt to transfer charge between two spheres. learn about the wimshurst machine, a type of electrostatic generator invented by james wimshurst in the late 1800s. . Static Electricity Generating Device.
From ar.inspiredpencil.com
Static Electricity Static Electricity Generating Device learn how electrostatic generators produce static electricity using electrostatic induction or the triboelectric effect. a van de graaff generator is a device that produces static electricity by using a belt to transfer charge between two spheres. the wimshurst machine or wimshurst influence machine is an electrostatic generator, a machine for generating high. van de graaff generators. Static Electricity Generating Device.
From iscsales.com
Your Ultimate Guide to Static Electricity, Static Control Solutions, and More! Static Electricity Generating Device the wimshurst machine or wimshurst influence machine is an electrostatic generator, a machine for generating high. fast forward to the 17th century, though, and scientists were creating the first machines designed to. a van de graaff generator is a device that produces static electricity by using a belt to transfer charge between two spheres. van de. Static Electricity Generating Device.
From www.walmart.com
Static Machine, Firm Static Electricity Generator, Electrostatic Generator, Handkurbelgenerator Static Electricity Generating Device the wimshurst machine or wimshurst influence machine is an electrostatic generator, a machine for generating high. learn about the wimshurst machine, a type of electrostatic generator invented by james wimshurst in the late 1800s. van de graaff generators are devices that create static electricity and supply high voltages for particle accelerators. a van de graaff generator. Static Electricity Generating Device.
From www.science-sparks.com
Static Electricity Experiments for Kids Science for Kids Static Electricity Generating Device fast forward to the 17th century, though, and scientists were creating the first machines designed to. van de graaff generators are devices that create static electricity and supply high voltages for particle accelerators. learn about the wimshurst machine, a type of electrostatic generator invented by james wimshurst in the late 1800s. a van de graaff generator. Static Electricity Generating Device.
From www.alamy.com
Science experiment with static electricity illustration Stock Vector Image & Art Alamy Static Electricity Generating Device learn how electrostatic generators produce static electricity using electrostatic induction or the triboelectric effect. fast forward to the 17th century, though, and scientists were creating the first machines designed to. the wimshurst machine or wimshurst influence machine is an electrostatic generator, a machine for generating high. learn about the wimshurst machine, a type of electrostatic generator. Static Electricity Generating Device.
From frugalfun4boys.com
Easy Static Electricity Science Experiments Frugal Fun For Boys and Girls Static Electricity Generating Device fast forward to the 17th century, though, and scientists were creating the first machines designed to. a van de graaff generator is a device that produces static electricity by using a belt to transfer charge between two spheres. the wimshurst machine or wimshurst influence machine is an electrostatic generator, a machine for generating high. learn about. Static Electricity Generating Device.
From www.alamy.com
This is a device for repeatedly generating static electricity by induction, called electrophotus Static Electricity Generating Device a van de graaff generator is a device that produces static electricity by using a belt to transfer charge between two spheres. fast forward to the 17th century, though, and scientists were creating the first machines designed to. learn how electrostatic generators produce static electricity using electrostatic induction or the triboelectric effect. van de graaff generators. Static Electricity Generating Device.
From www.dkfindout.com
Static Electricity For Kids DK Find Out Static Electricity Generating Device learn how electrostatic generators produce static electricity using electrostatic induction or the triboelectric effect. fast forward to the 17th century, though, and scientists were creating the first machines designed to. a van de graaff generator is a device that produces static electricity by using a belt to transfer charge between two spheres. learn about the wimshurst. Static Electricity Generating Device.
From electricalacademia.com
How Does Static Electricity Work Static Electricity Applications Electrical Academia Static Electricity Generating Device learn about the wimshurst machine, a type of electrostatic generator invented by james wimshurst in the late 1800s. the wimshurst machine or wimshurst influence machine is an electrostatic generator, a machine for generating high. learn how electrostatic generators produce static electricity using electrostatic induction or the triboelectric effect. fast forward to the 17th century, though, and. Static Electricity Generating Device.
From www.gasstation-fueldispenser.com
Human static electricity release device,Static electricity release device Static Electricity Generating Device learn about the wimshurst machine, a type of electrostatic generator invented by james wimshurst in the late 1800s. a van de graaff generator is a device that produces static electricity by using a belt to transfer charge between two spheres. the wimshurst machine or wimshurst influence machine is an electrostatic generator, a machine for generating high. . Static Electricity Generating Device.
From www.youtube.com
5 Awesome Static Electricity Experiments for Kids YouTube Static Electricity Generating Device learn about the wimshurst machine, a type of electrostatic generator invented by james wimshurst in the late 1800s. fast forward to the 17th century, though, and scientists were creating the first machines designed to. a van de graaff generator is a device that produces static electricity by using a belt to transfer charge between two spheres. . Static Electricity Generating Device.
From sciencestore.pk
5 Static electricity Experiments Online ScienceStore.pk Static Electricity Generating Device learn how electrostatic generators produce static electricity using electrostatic induction or the triboelectric effect. learn about the wimshurst machine, a type of electrostatic generator invented by james wimshurst in the late 1800s. van de graaff generators are devices that create static electricity and supply high voltages for particle accelerators. the wimshurst machine or wimshurst influence machine. Static Electricity Generating Device.
From www.animalia-life.club
Static Electricity Science Project For Kids Static Electricity Generating Device learn how electrostatic generators produce static electricity using electrostatic induction or the triboelectric effect. learn about the wimshurst machine, a type of electrostatic generator invented by james wimshurst in the late 1800s. a van de graaff generator is a device that produces static electricity by using a belt to transfer charge between two spheres. van de. Static Electricity Generating Device.
From www.nsta.org
Q What Is “Static Electricity,” and How Can I See Its Effects? NSTA Static Electricity Generating Device learn how electrostatic generators produce static electricity using electrostatic induction or the triboelectric effect. fast forward to the 17th century, though, and scientists were creating the first machines designed to. learn about the wimshurst machine, a type of electrostatic generator invented by james wimshurst in the late 1800s. van de graaff generators are devices that create. Static Electricity Generating Device.