Ac Blower Motor Tripping Breaker . A blower motor that’s seized up is bound to trip a circuit breaker. Learn why your air conditioner circuit breaker may trip and how to fix it. Find out the common culprits, such as dirty filters, coils, fan. We look at the diy options for diagnosing and fixing this. (a bad capacitor will trip the. Learn why your ac blower may cause the circuit breaker to trip and how to fix it. Find out how to fix these issues and when to call a professional. Learn why your ac breaker may trip immediately or after a few minutes of turning on. Find out how to fix your ac by checking and replacing the capacitor, condenser coil, fan. Learn the top 6 reasons why a furnace might trip its circuit breaker, such as airflow restriction, blower motor capacitor, or short circuit. Find out the common causes, such as dirty filter, outside unit, motor, compressor, and more. If your air conditioner is constantly tripping, you should have it checked.
from conquerallelectrical.ca
Learn the top 6 reasons why a furnace might trip its circuit breaker, such as airflow restriction, blower motor capacitor, or short circuit. Learn why your ac blower may cause the circuit breaker to trip and how to fix it. Learn why your air conditioner circuit breaker may trip and how to fix it. A blower motor that’s seized up is bound to trip a circuit breaker. Find out the common causes, such as dirty filter, outside unit, motor, compressor, and more. Learn why your ac breaker may trip immediately or after a few minutes of turning on. Find out how to fix your ac by checking and replacing the capacitor, condenser coil, fan. We look at the diy options for diagnosing and fixing this. Find out the common culprits, such as dirty filters, coils, fan. Find out how to fix these issues and when to call a professional.
Portable Ac Keeps Tripping Breaker Conquerall Electrical Ltd
Ac Blower Motor Tripping Breaker Learn why your ac breaker may trip immediately or after a few minutes of turning on. (a bad capacitor will trip the. Find out how to fix your ac by checking and replacing the capacitor, condenser coil, fan. Learn why your air conditioner circuit breaker may trip and how to fix it. Find out the common causes, such as dirty filter, outside unit, motor, compressor, and more. We look at the diy options for diagnosing and fixing this. A blower motor that’s seized up is bound to trip a circuit breaker. If your air conditioner is constantly tripping, you should have it checked. Find out how to fix these issues and when to call a professional. Find out the common culprits, such as dirty filters, coils, fan. Learn why your ac breaker may trip immediately or after a few minutes of turning on. Learn the top 6 reasons why a furnace might trip its circuit breaker, such as airflow restriction, blower motor capacitor, or short circuit. Learn why your ac blower may cause the circuit breaker to trip and how to fix it.
From www.youtube.com
furnace tripping breaker,when blower motor runs YouTube Ac Blower Motor Tripping Breaker A blower motor that’s seized up is bound to trip a circuit breaker. If your air conditioner is constantly tripping, you should have it checked. (a bad capacitor will trip the. Find out the common causes, such as dirty filter, outside unit, motor, compressor, and more. Learn the top 6 reasons why a furnace might trip its circuit breaker, such. Ac Blower Motor Tripping Breaker.
From hvactrainingshop.com
AC High Pressure Switch Tripping? Here's What to Do HVAC Training Shop Ac Blower Motor Tripping Breaker Learn why your air conditioner circuit breaker may trip and how to fix it. (a bad capacitor will trip the. Find out the common culprits, such as dirty filters, coils, fan. A blower motor that’s seized up is bound to trip a circuit breaker. Find out the common causes, such as dirty filter, outside unit, motor, compressor, and more. Learn. Ac Blower Motor Tripping Breaker.
From www.justanswer.com
My furnace keep tripping the breaker. there is a plastic piece behind a blower motor that has a Ac Blower Motor Tripping Breaker Learn why your ac blower may cause the circuit breaker to trip and how to fix it. Find out the common causes, such as dirty filter, outside unit, motor, compressor, and more. Learn why your ac breaker may trip immediately or after a few minutes of turning on. Find out how to fix your ac by checking and replacing the. Ac Blower Motor Tripping Breaker.
From www.lihpao.com
Why Does My AC Keep Tripping the Breaker? A Comprehensive Guide The Enlightened Mindset Ac Blower Motor Tripping Breaker If your air conditioner is constantly tripping, you should have it checked. Find out the common causes, such as dirty filter, outside unit, motor, compressor, and more. Learn why your air conditioner circuit breaker may trip and how to fix it. Learn the top 6 reasons why a furnace might trip its circuit breaker, such as airflow restriction, blower motor. Ac Blower Motor Tripping Breaker.
From www.tffn.net
Why Does an AC Breaker Keep Tripping? Causes and Solutions The Enlightened Mindset Ac Blower Motor Tripping Breaker Learn why your ac blower may cause the circuit breaker to trip and how to fix it. We look at the diy options for diagnosing and fixing this. Find out how to fix these issues and when to call a professional. Learn why your air conditioner circuit breaker may trip and how to fix it. Learn why your ac breaker. Ac Blower Motor Tripping Breaker.
From www.youtube.com
HVAC Blower Motor tripping breaker YouTube Ac Blower Motor Tripping Breaker Find out how to fix these issues and when to call a professional. Learn the top 6 reasons why a furnace might trip its circuit breaker, such as airflow restriction, blower motor capacitor, or short circuit. Find out the common causes, such as dirty filter, outside unit, motor, compressor, and more. We look at the diy options for diagnosing and. Ac Blower Motor Tripping Breaker.
From hvactrainingshop.com
Window AC Keeps Tripping Circuit Breaker? Here Are the Causes HVAC Training Shop Ac Blower Motor Tripping Breaker Find out the common causes, such as dirty filter, outside unit, motor, compressor, and more. Learn why your ac breaker may trip immediately or after a few minutes of turning on. Find out the common culprits, such as dirty filters, coils, fan. A blower motor that’s seized up is bound to trip a circuit breaker. Find out how to fix. Ac Blower Motor Tripping Breaker.
From gentryac.com
Breaker Tripping in Your A/C Unit Gentry Air Conditioning Ac Blower Motor Tripping Breaker (a bad capacitor will trip the. Find out the common causes, such as dirty filter, outside unit, motor, compressor, and more. We look at the diy options for diagnosing and fixing this. Find out how to fix these issues and when to call a professional. Find out how to fix your ac by checking and replacing the capacitor, condenser coil,. Ac Blower Motor Tripping Breaker.
From www.shopyourway.com
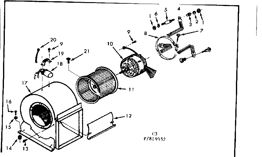
Just replaced motor in blower for sears package air conditioner system 867.819352; but the Ac Blower Motor Tripping Breaker A blower motor that’s seized up is bound to trip a circuit breaker. (a bad capacitor will trip the. Find out the common causes, such as dirty filter, outside unit, motor, compressor, and more. Learn why your ac blower may cause the circuit breaker to trip and how to fix it. If your air conditioner is constantly tripping, you should. Ac Blower Motor Tripping Breaker.
From prestige-ac.com
Why does my AC keep tripping the circuit breaker? Prestige Air Conditioning Experts Ac Blower Motor Tripping Breaker We look at the diy options for diagnosing and fixing this. Find out how to fix your ac by checking and replacing the capacitor, condenser coil, fan. Learn why your ac breaker may trip immediately or after a few minutes of turning on. Find out the common causes, such as dirty filter, outside unit, motor, compressor, and more. If your. Ac Blower Motor Tripping Breaker.
From www.jaycoowners.com
NorthPoint A/C tripping breaker Jayco RV Owners Forum Ac Blower Motor Tripping Breaker Learn the top 6 reasons why a furnace might trip its circuit breaker, such as airflow restriction, blower motor capacitor, or short circuit. Find out the common culprits, such as dirty filters, coils, fan. We look at the diy options for diagnosing and fixing this. Find out how to fix these issues and when to call a professional. If your. Ac Blower Motor Tripping Breaker.
From actionairconditioning.com
Why Does my AC Keep Tripping the Circuit Breaker? Action Air Conditioning Ac Blower Motor Tripping Breaker Find out the common culprits, such as dirty filters, coils, fan. Learn why your air conditioner circuit breaker may trip and how to fix it. Learn the top 6 reasons why a furnace might trip its circuit breaker, such as airflow restriction, blower motor capacitor, or short circuit. Learn why your ac breaker may trip immediately or after a few. Ac Blower Motor Tripping Breaker.
From www.gshomeservices.com
Why Does the AC Keep Tripping the Breaker? Causes and Solutions. Ac Blower Motor Tripping Breaker Find out the common culprits, such as dirty filters, coils, fan. Find out how to fix your ac by checking and replacing the capacitor, condenser coil, fan. A blower motor that’s seized up is bound to trip a circuit breaker. Find out the common causes, such as dirty filter, outside unit, motor, compressor, and more. Learn the top 6 reasons. Ac Blower Motor Tripping Breaker.
From www.indiamart.com
Close Copper AC Motor Tripping Coil at Rs 4050 in Nashik ID 27256824048 Ac Blower Motor Tripping Breaker (a bad capacitor will trip the. If your air conditioner is constantly tripping, you should have it checked. We look at the diy options for diagnosing and fixing this. Learn why your ac breaker may trip immediately or after a few minutes of turning on. Find out how to fix these issues and when to call a professional. Find out. Ac Blower Motor Tripping Breaker.
From www.tffn.net
Why Does My RV AC Keep Tripping the Breaker? Troubleshooting Tips for RV Air Conditioner Circuit Ac Blower Motor Tripping Breaker Find out how to fix these issues and when to call a professional. Learn why your ac breaker may trip immediately or after a few minutes of turning on. Learn the top 6 reasons why a furnace might trip its circuit breaker, such as airflow restriction, blower motor capacitor, or short circuit. Learn why your ac blower may cause the. Ac Blower Motor Tripping Breaker.
From www.youtube.com
central AC tripping main breaker YouTube Ac Blower Motor Tripping Breaker A blower motor that’s seized up is bound to trip a circuit breaker. Find out the common culprits, such as dirty filters, coils, fan. Find out how to fix your ac by checking and replacing the capacitor, condenser coil, fan. Find out how to fix these issues and when to call a professional. If your air conditioner is constantly tripping,. Ac Blower Motor Tripping Breaker.
From www.youtube.com
AC Keeps Tripping The Breaker YouTube Ac Blower Motor Tripping Breaker Find out how to fix these issues and when to call a professional. Find out the common culprits, such as dirty filters, coils, fan. (a bad capacitor will trip the. We look at the diy options for diagnosing and fixing this. Learn why your ac blower may cause the circuit breaker to trip and how to fix it. Find out. Ac Blower Motor Tripping Breaker.
From www.cloverco.com
AC Breaker Keeps Tripping Causes & Fixes Clover Contracting Ac Blower Motor Tripping Breaker (a bad capacitor will trip the. Learn why your ac breaker may trip immediately or after a few minutes of turning on. Find out how to fix these issues and when to call a professional. Learn the top 6 reasons why a furnace might trip its circuit breaker, such as airflow restriction, blower motor capacitor, or short circuit. We look. Ac Blower Motor Tripping Breaker.
From conquerallelectrical.ca
Portable Ac Keeps Tripping Breaker Conquerall Electrical Ltd Ac Blower Motor Tripping Breaker We look at the diy options for diagnosing and fixing this. Find out how to fix these issues and when to call a professional. Learn why your ac blower may cause the circuit breaker to trip and how to fix it. (a bad capacitor will trip the. Find out the common culprits, such as dirty filters, coils, fan. Learn the. Ac Blower Motor Tripping Breaker.
From hvactrainingshop.com
Furnace Tripping Circuit Breaker? Here's What to Check HVAC Training Shop Ac Blower Motor Tripping Breaker We look at the diy options for diagnosing and fixing this. Learn why your air conditioner circuit breaker may trip and how to fix it. Find out the common causes, such as dirty filter, outside unit, motor, compressor, and more. A blower motor that’s seized up is bound to trip a circuit breaker. (a bad capacitor will trip the. Learn. Ac Blower Motor Tripping Breaker.
From www.tffn.net
Why Is My AC Tripping The Breaker? Troubleshooting Tips & Common Causes The Enlightened Mindset Ac Blower Motor Tripping Breaker A blower motor that’s seized up is bound to trip a circuit breaker. If your air conditioner is constantly tripping, you should have it checked. Learn why your ac blower may cause the circuit breaker to trip and how to fix it. Find out the common causes, such as dirty filter, outside unit, motor, compressor, and more. Learn the top. Ac Blower Motor Tripping Breaker.
From learnmetrics.com
AC Breaker Keeps Tripping Breaker 9 Common Culprits & Fixes Ac Blower Motor Tripping Breaker (a bad capacitor will trip the. Learn the top 6 reasons why a furnace might trip its circuit breaker, such as airflow restriction, blower motor capacitor, or short circuit. Find out the common causes, such as dirty filter, outside unit, motor, compressor, and more. Find out the common culprits, such as dirty filters, coils, fan. If your air conditioner is. Ac Blower Motor Tripping Breaker.
From www.youtube.com
RV AC Not Blowing Cold Air and Tripping Breaker QUICK & EASY FIX YouTube Ac Blower Motor Tripping Breaker Learn why your ac breaker may trip immediately or after a few minutes of turning on. We look at the diy options for diagnosing and fixing this. Find out the common causes, such as dirty filter, outside unit, motor, compressor, and more. Learn the top 6 reasons why a furnace might trip its circuit breaker, such as airflow restriction, blower. Ac Blower Motor Tripping Breaker.
From www.doityourself.com
AC unit tripping breaker Community Forums Ac Blower Motor Tripping Breaker Find out the common causes, such as dirty filter, outside unit, motor, compressor, and more. Find out how to fix your ac by checking and replacing the capacitor, condenser coil, fan. If your air conditioner is constantly tripping, you should have it checked. Find out the common culprits, such as dirty filters, coils, fan. (a bad capacitor will trip the.. Ac Blower Motor Tripping Breaker.
From www.youtube.com
ac blower motor fixing how to fix a blower motor supergeneral ac blower motor fitting YouTube Ac Blower Motor Tripping Breaker Find out the common culprits, such as dirty filters, coils, fan. Find out how to fix your ac by checking and replacing the capacitor, condenser coil, fan. Learn why your ac blower may cause the circuit breaker to trip and how to fix it. Learn why your ac breaker may trip immediately or after a few minutes of turning on.. Ac Blower Motor Tripping Breaker.
From americanhomewater.com
AC Tripping Circuit Breaker American Home Water & Air Ac Blower Motor Tripping Breaker If your air conditioner is constantly tripping, you should have it checked. Learn why your ac breaker may trip immediately or after a few minutes of turning on. Learn the top 6 reasons why a furnace might trip its circuit breaker, such as airflow restriction, blower motor capacitor, or short circuit. Learn why your air conditioner circuit breaker may trip. Ac Blower Motor Tripping Breaker.
From www.youtube.com
RUUD AC UNIT KEEPS TRIPING BREAKER AND OTHER ISSUES YouTube Ac Blower Motor Tripping Breaker Learn why your ac blower may cause the circuit breaker to trip and how to fix it. Learn why your air conditioner circuit breaker may trip and how to fix it. Find out how to fix your ac by checking and replacing the capacitor, condenser coil, fan. Find out the common causes, such as dirty filter, outside unit, motor, compressor,. Ac Blower Motor Tripping Breaker.
From www.youtube.com
Furnace tripping breaker YouTube Ac Blower Motor Tripping Breaker Learn why your air conditioner circuit breaker may trip and how to fix it. Find out how to fix your ac by checking and replacing the capacitor, condenser coil, fan. Find out the common causes, such as dirty filter, outside unit, motor, compressor, and more. Find out the common culprits, such as dirty filters, coils, fan. We look at the. Ac Blower Motor Tripping Breaker.
From americanveteranac.com
What if My AC Keeps Tripping the Circuit Breaker? American Veteran Air Conditioning, LLC Ac Blower Motor Tripping Breaker Find out the common culprits, such as dirty filters, coils, fan. If your air conditioner is constantly tripping, you should have it checked. Find out how to fix these issues and when to call a professional. (a bad capacitor will trip the. Find out the common causes, such as dirty filter, outside unit, motor, compressor, and more. Learn why your. Ac Blower Motor Tripping Breaker.
From www.reddit.com
Ac blower tripping breaker AirConditioners Ac Blower Motor Tripping Breaker Learn the top 6 reasons why a furnace might trip its circuit breaker, such as airflow restriction, blower motor capacitor, or short circuit. Find out how to fix your ac by checking and replacing the capacitor, condenser coil, fan. Find out how to fix these issues and when to call a professional. (a bad capacitor will trip the. Find out. Ac Blower Motor Tripping Breaker.
From www.clubsearay.com
Bilge Blower Circuit Breaker tripping Club Sea Ray Ac Blower Motor Tripping Breaker Learn why your ac breaker may trip immediately or after a few minutes of turning on. If your air conditioner is constantly tripping, you should have it checked. Find out how to fix these issues and when to call a professional. Find out how to fix your ac by checking and replacing the capacitor, condenser coil, fan. Learn why your. Ac Blower Motor Tripping Breaker.
From www.onehourairftworth.com
Why A Frequently Tripping AC Breaker Means You Need AC Repair Fort Worth, TX One Hour Air Ac Blower Motor Tripping Breaker Learn why your air conditioner circuit breaker may trip and how to fix it. Find out how to fix your ac by checking and replacing the capacitor, condenser coil, fan. Find out the common causes, such as dirty filter, outside unit, motor, compressor, and more. (a bad capacitor will trip the. A blower motor that’s seized up is bound to. Ac Blower Motor Tripping Breaker.
From www.justanswer.com
My furnace keep tripping the breaker. there is a plastic piece behind a blower motor that has a Ac Blower Motor Tripping Breaker Learn why your ac breaker may trip immediately or after a few minutes of turning on. Find out how to fix your ac by checking and replacing the capacitor, condenser coil, fan. If your air conditioner is constantly tripping, you should have it checked. Find out the common causes, such as dirty filter, outside unit, motor, compressor, and more. Find. Ac Blower Motor Tripping Breaker.
From hvacrschool.com
Why is the Breaker Tripping? HVAC School Ac Blower Motor Tripping Breaker We look at the diy options for diagnosing and fixing this. (a bad capacitor will trip the. Find out the common causes, such as dirty filter, outside unit, motor, compressor, and more. Learn why your ac breaker may trip immediately or after a few minutes of turning on. Learn why your air conditioner circuit breaker may trip and how to. Ac Blower Motor Tripping Breaker.
From www.justanswer.com
Why is my furnace blower tripping the breaker when AC is running for awhile? AC runs fine for Ac Blower Motor Tripping Breaker Learn the top 6 reasons why a furnace might trip its circuit breaker, such as airflow restriction, blower motor capacitor, or short circuit. Learn why your ac blower may cause the circuit breaker to trip and how to fix it. Find out the common culprits, such as dirty filters, coils, fan. (a bad capacitor will trip the. Find out how. Ac Blower Motor Tripping Breaker.