Are There Microwaves On Airplanes . However they are not the same power as typical microwave ovens, so you'll. Not least, because of potential effects on avionics and sensors, not to mention. I could not find any reference where commercial. Some planes are equipped with microwave ovens. Microwaves are not used (although some early 747s did have them onboard). The ovens on an aircraft are specialized convection ovens with food heating using hot air. Generally speaking, airliners do not have microwave ovens for safety reasons. Most meals take around 20 minutes to heat, and of course, they are heated and served in batches. The meals are loaded on trays into the oven. Since the weight of microwave oven exceeds cabin bag limit, it needs to be checked in. If carrying a microwave on a plane is not feasible or allowed, there are alternative options you can explore. Yes, you can bring microwave on a plane. Most aircraft don't even have microwave ovens.
from www.insitu.com
I could not find any reference where commercial. Most meals take around 20 minutes to heat, and of course, they are heated and served in batches. The ovens on an aircraft are specialized convection ovens with food heating using hot air. Yes, you can bring microwave on a plane. Since the weight of microwave oven exceeds cabin bag limit, it needs to be checked in. Microwaves are not used (although some early 747s did have them onboard). Not least, because of potential effects on avionics and sensors, not to mention. However they are not the same power as typical microwave ovens, so you'll. Generally speaking, airliners do not have microwave ovens for safety reasons. If carrying a microwave on a plane is not feasible or allowed, there are alternative options you can explore.
Boeing, Insitu and Courtney Aviation Test 4G LTE Technology to Improve
Are There Microwaves On Airplanes Not least, because of potential effects on avionics and sensors, not to mention. The meals are loaded on trays into the oven. Since the weight of microwave oven exceeds cabin bag limit, it needs to be checked in. The ovens on an aircraft are specialized convection ovens with food heating using hot air. Not least, because of potential effects on avionics and sensors, not to mention. Most meals take around 20 minutes to heat, and of course, they are heated and served in batches. Most aircraft don't even have microwave ovens. I could not find any reference where commercial. Some planes are equipped with microwave ovens. If carrying a microwave on a plane is not feasible or allowed, there are alternative options you can explore. However they are not the same power as typical microwave ovens, so you'll. Generally speaking, airliners do not have microwave ovens for safety reasons. Yes, you can bring microwave on a plane. Microwaves are not used (although some early 747s did have them onboard).
From in.pinterest.com
Aeroflot Russian Airlines, Ilyushin Il96300, RA96007 A.Mayorov (cn Are There Microwaves On Airplanes The ovens on an aircraft are specialized convection ovens with food heating using hot air. Some planes are equipped with microwave ovens. Microwaves are not used (although some early 747s did have them onboard). I could not find any reference where commercial. If carrying a microwave on a plane is not feasible or allowed, there are alternative options you can. Are There Microwaves On Airplanes.
From machineanswered.com
Exploring Are There Microwaves in Airports Across The US? Machine Are There Microwaves On Airplanes Microwaves are not used (although some early 747s did have them onboard). The meals are loaded on trays into the oven. The ovens on an aircraft are specialized convection ovens with food heating using hot air. I could not find any reference where commercial. Most meals take around 20 minutes to heat, and of course, they are heated and served. Are There Microwaves On Airplanes.
From machineanswered.com
Exploring Are There Microwaves in Airports Across The US? Machine Are There Microwaves On Airplanes Microwaves are not used (although some early 747s did have them onboard). Most meals take around 20 minutes to heat, and of course, they are heated and served in batches. The meals are loaded on trays into the oven. If carrying a microwave on a plane is not feasible or allowed, there are alternative options you can explore. Some planes. Are There Microwaves On Airplanes.
From www.rvlibary.com
Do Airplanes Have Microwaves ? [ Expert Opinion 2023] Are There Microwaves On Airplanes I could not find any reference where commercial. Most aircraft don't even have microwave ovens. Most meals take around 20 minutes to heat, and of course, they are heated and served in batches. The meals are loaded on trays into the oven. Some planes are equipped with microwave ovens. Since the weight of microwave oven exceeds cabin bag limit, it. Are There Microwaves On Airplanes.
From radars.ac.cn
Vibrationparameters Estimation Method for Airplane Wings Based on Are There Microwaves On Airplanes Some planes are equipped with microwave ovens. Since the weight of microwave oven exceeds cabin bag limit, it needs to be checked in. Generally speaking, airliners do not have microwave ovens for safety reasons. However they are not the same power as typical microwave ovens, so you'll. Yes, you can bring microwave on a plane. I could not find any. Are There Microwaves On Airplanes.
From www.youtube.com
Microwave landing System YouTube Are There Microwaves On Airplanes Since the weight of microwave oven exceeds cabin bag limit, it needs to be checked in. If carrying a microwave on a plane is not feasible or allowed, there are alternative options you can explore. The meals are loaded on trays into the oven. The ovens on an aircraft are specialized convection ovens with food heating using hot air. Some. Are There Microwaves On Airplanes.
From www.comsol.com
Modeling Software for RF, Microwave, and MillimeterWave Designs Are There Microwaves On Airplanes Generally speaking, airliners do not have microwave ovens for safety reasons. Yes, you can bring microwave on a plane. The ovens on an aircraft are specialized convection ovens with food heating using hot air. Some planes are equipped with microwave ovens. The meals are loaded on trays into the oven. However they are not the same power as typical microwave. Are There Microwaves On Airplanes.
From www.insitu.com
Boeing, Insitu and Courtney Aviation Test 4G LTE Technology to Improve Are There Microwaves On Airplanes The meals are loaded on trays into the oven. Some planes are equipped with microwave ovens. I could not find any reference where commercial. However they are not the same power as typical microwave ovens, so you'll. Since the weight of microwave oven exceeds cabin bag limit, it needs to be checked in. Most aircraft don't even have microwave ovens.. Are There Microwaves On Airplanes.
From www.techbriefs.com
Airplane Ice Detector Based on a Microwave Transmission Line Tech Briefs Are There Microwaves On Airplanes Generally speaking, airliners do not have microwave ovens for safety reasons. Since the weight of microwave oven exceeds cabin bag limit, it needs to be checked in. Most aircraft don't even have microwave ovens. If carrying a microwave on a plane is not feasible or allowed, there are alternative options you can explore. I could not find any reference where. Are There Microwaves On Airplanes.
From www.aeroexpo.online
Aircraft cabin microwave Dynamo Aviation Are There Microwaves On Airplanes The ovens on an aircraft are specialized convection ovens with food heating using hot air. Microwaves are not used (although some early 747s did have them onboard). Most meals take around 20 minutes to heat, and of course, they are heated and served in batches. However they are not the same power as typical microwave ovens, so you'll. Since the. Are There Microwaves On Airplanes.
From www.mwrf.com
Kaband Technology Speeds Inflight Connectivity Microwaves & RF Are There Microwaves On Airplanes Most aircraft don't even have microwave ovens. Microwaves are not used (although some early 747s did have them onboard). The meals are loaded on trays into the oven. However they are not the same power as typical microwave ovens, so you'll. Generally speaking, airliners do not have microwave ovens for safety reasons. Not least, because of potential effects on avionics. Are There Microwaves On Airplanes.
From www.youtube.com
Flite Test Microwave Plane YouTube Are There Microwaves On Airplanes Some planes are equipped with microwave ovens. The ovens on an aircraft are specialized convection ovens with food heating using hot air. However they are not the same power as typical microwave ovens, so you'll. Yes, you can bring microwave on a plane. Since the weight of microwave oven exceeds cabin bag limit, it needs to be checked in. Most. Are There Microwaves On Airplanes.
From machineanswered.com
Exploring Are There Microwaves in Airports Across The US? Machine Are There Microwaves On Airplanes I could not find any reference where commercial. Since the weight of microwave oven exceeds cabin bag limit, it needs to be checked in. Yes, you can bring microwave on a plane. The meals are loaded on trays into the oven. If carrying a microwave on a plane is not feasible or allowed, there are alternative options you can explore.. Are There Microwaves On Airplanes.
From www.rfexposurelab.com
What You Should Know About Microwave Antennas RF Exposure Lab Are There Microwaves On Airplanes I could not find any reference where commercial. Yes, you can bring microwave on a plane. Some planes are equipped with microwave ovens. The meals are loaded on trays into the oven. Most aircraft don't even have microwave ovens. Not least, because of potential effects on avionics and sensors, not to mention. However they are not the same power as. Are There Microwaves On Airplanes.
From www.youtube.com
Why don't they power airplanes from the ground with microwaves Are There Microwaves On Airplanes Generally speaking, airliners do not have microwave ovens for safety reasons. Since the weight of microwave oven exceeds cabin bag limit, it needs to be checked in. Most aircraft don't even have microwave ovens. However they are not the same power as typical microwave ovens, so you'll. Yes, you can bring microwave on a plane. Some planes are equipped with. Are There Microwaves On Airplanes.
From www.livescience.com
Why a microwavebeam experiment will launch aboard the Air Force’s Are There Microwaves On Airplanes Yes, you can bring microwave on a plane. Since the weight of microwave oven exceeds cabin bag limit, it needs to be checked in. The ovens on an aircraft are specialized convection ovens with food heating using hot air. The meals are loaded on trays into the oven. Generally speaking, airliners do not have microwave ovens for safety reasons. Most. Are There Microwaves On Airplanes.
From www.doubtnut.com
Microwaves are reflected from a distant airplane approaching a station Are There Microwaves On Airplanes Yes, you can bring microwave on a plane. If carrying a microwave on a plane is not feasible or allowed, there are alternative options you can explore. Some planes are equipped with microwave ovens. Most aircraft don't even have microwave ovens. Generally speaking, airliners do not have microwave ovens for safety reasons. Most meals take around 20 minutes to heat,. Are There Microwaves On Airplanes.
From www.youtube.com
Waveguide Microwave Junctions E plane TEE H Plane TEE Magic Are There Microwaves On Airplanes Most aircraft don't even have microwave ovens. The ovens on an aircraft are specialized convection ovens with food heating using hot air. The meals are loaded on trays into the oven. Some planes are equipped with microwave ovens. Microwaves are not used (although some early 747s did have them onboard). Since the weight of microwave oven exceeds cabin bag limit,. Are There Microwaves On Airplanes.
From www.ranker.com
13 Interesting Things You Never Knew About Airplane Food Are There Microwaves On Airplanes Some planes are equipped with microwave ovens. The ovens on an aircraft are specialized convection ovens with food heating using hot air. Yes, you can bring microwave on a plane. Most aircraft don't even have microwave ovens. Microwaves are not used (although some early 747s did have them onboard). Not least, because of potential effects on avionics and sensors, not. Are There Microwaves On Airplanes.
From map.gsfc.nasa.gov
WMAP Image Gallery Microwave Sky Comparison, 1965 2003 Are There Microwaves On Airplanes Some planes are equipped with microwave ovens. Not least, because of potential effects on avionics and sensors, not to mention. Generally speaking, airliners do not have microwave ovens for safety reasons. The ovens on an aircraft are specialized convection ovens with food heating using hot air. The meals are loaded on trays into the oven. If carrying a microwave on. Are There Microwaves On Airplanes.
From hackaday.com
Powering Airplanes With Microwaves An Aviation Physics Challenge Are There Microwaves On Airplanes If carrying a microwave on a plane is not feasible or allowed, there are alternative options you can explore. Most meals take around 20 minutes to heat, and of course, they are heated and served in batches. Some planes are equipped with microwave ovens. Since the weight of microwave oven exceeds cabin bag limit, it needs to be checked in.. Are There Microwaves On Airplanes.
From www.semanticscholar.org
Figure 1 from Parametric study of microwavepowered highaltitude Are There Microwaves On Airplanes If carrying a microwave on a plane is not feasible or allowed, there are alternative options you can explore. The meals are loaded on trays into the oven. The ovens on an aircraft are specialized convection ovens with food heating using hot air. Microwaves are not used (although some early 747s did have them onboard). Most aircraft don't even have. Are There Microwaves On Airplanes.
From www.nextbigfuture.com
Escape Dynamics tested 100 kw microwave system and produced thrust the Are There Microwaves On Airplanes Most meals take around 20 minutes to heat, and of course, they are heated and served in batches. Yes, you can bring microwave on a plane. Most aircraft don't even have microwave ovens. The meals are loaded on trays into the oven. Microwaves are not used (although some early 747s did have them onboard). The ovens on an aircraft are. Are There Microwaves On Airplanes.
From machineanswered.com
Exploring Are There Microwaves in Airports Across The US? Machine Are There Microwaves On Airplanes Microwaves are not used (although some early 747s did have them onboard). The ovens on an aircraft are specialized convection ovens with food heating using hot air. Some planes are equipped with microwave ovens. I could not find any reference where commercial. Most meals take around 20 minutes to heat, and of course, they are heated and served in batches.. Are There Microwaves On Airplanes.
From www.microsemi.com
Applications RF & Microwave Systems Microsemi Are There Microwaves On Airplanes However they are not the same power as typical microwave ovens, so you'll. Generally speaking, airliners do not have microwave ovens for safety reasons. Yes, you can bring microwave on a plane. Since the weight of microwave oven exceeds cabin bag limit, it needs to be checked in. I could not find any reference where commercial. Most aircraft don't even. Are There Microwaves On Airplanes.
From www.slideserve.com
PPT Microwave QSOs with the aid of airplane reflection PowerPoint Are There Microwaves On Airplanes Yes, you can bring microwave on a plane. If carrying a microwave on a plane is not feasible or allowed, there are alternative options you can explore. However they are not the same power as typical microwave ovens, so you'll. Microwaves are not used (although some early 747s did have them onboard). Some planes are equipped with microwave ovens. Not. Are There Microwaves On Airplanes.
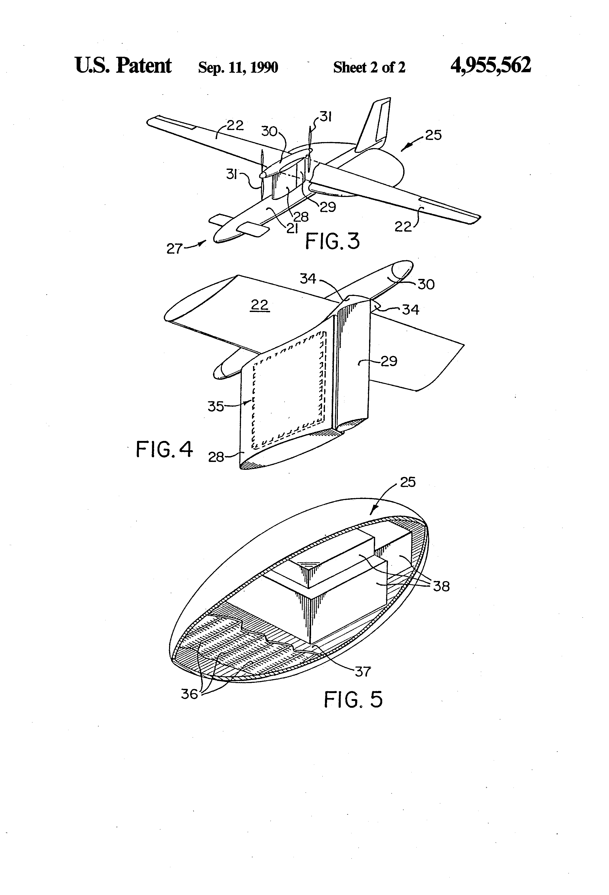
From www.google.com
Patent US4955562 Microwave powered aircraft Google Patents Are There Microwaves On Airplanes Most aircraft don't even have microwave ovens. Microwaves are not used (although some early 747s did have them onboard). Since the weight of microwave oven exceeds cabin bag limit, it needs to be checked in. If carrying a microwave on a plane is not feasible or allowed, there are alternative options you can explore. Not least, because of potential effects. Are There Microwaves On Airplanes.
From www.smithsonianmag.com
Looking for a New Place to Live? This Man Chose an Airplane Smithsonian Are There Microwaves On Airplanes Most aircraft don't even have microwave ovens. Since the weight of microwave oven exceeds cabin bag limit, it needs to be checked in. Microwaves are not used (although some early 747s did have them onboard). Some planes are equipped with microwave ovens. Not least, because of potential effects on avionics and sensors, not to mention. Most meals take around 20. Are There Microwaves On Airplanes.
From machineanswered.com
Exploring Are There Microwaves in Airports Across The US? Machine Are There Microwaves On Airplanes Microwaves are not used (although some early 747s did have them onboard). I could not find any reference where commercial. Some planes are equipped with microwave ovens. However they are not the same power as typical microwave ovens, so you'll. The ovens on an aircraft are specialized convection ovens with food heating using hot air. Most meals take around 20. Are There Microwaves On Airplanes.
From www.comsol.com
Learn About Using Simulation in RF and Microwave Engineering COMSOL Blog Are There Microwaves On Airplanes Most meals take around 20 minutes to heat, and of course, they are heated and served in batches. Most aircraft don't even have microwave ovens. Since the weight of microwave oven exceeds cabin bag limit, it needs to be checked in. Microwaves are not used (although some early 747s did have them onboard). The ovens on an aircraft are specialized. Are There Microwaves On Airplanes.
From machineanswered.com
Exploring Are There Microwaves in Airports Across The US? Machine Are There Microwaves On Airplanes Most meals take around 20 minutes to heat, and of course, they are heated and served in batches. If carrying a microwave on a plane is not feasible or allowed, there are alternative options you can explore. The ovens on an aircraft are specialized convection ovens with food heating using hot air. Since the weight of microwave oven exceeds cabin. Are There Microwaves On Airplanes.
From machineanswered.com
Exploring Are There Microwaves in Airports Across The US? Machine Are There Microwaves On Airplanes Most aircraft don't even have microwave ovens. However they are not the same power as typical microwave ovens, so you'll. The meals are loaded on trays into the oven. Microwaves are not used (although some early 747s did have them onboard). Yes, you can bring microwave on a plane. The ovens on an aircraft are specialized convection ovens with food. Are There Microwaves On Airplanes.
From www.factorydesign.co.uk
Ipeco Aircraft Oven and Microwave Factorydesign Are There Microwaves On Airplanes Most meals take around 20 minutes to heat, and of course, they are heated and served in batches. I could not find any reference where commercial. Since the weight of microwave oven exceeds cabin bag limit, it needs to be checked in. Microwaves are not used (although some early 747s did have them onboard). Generally speaking, airliners do not have. Are There Microwaves On Airplanes.
From www.insitu.com
Boeing, Insitu and Courtney Aviation Test 4G LTE Technology to Improve Are There Microwaves On Airplanes Since the weight of microwave oven exceeds cabin bag limit, it needs to be checked in. The meals are loaded on trays into the oven. Most meals take around 20 minutes to heat, and of course, they are heated and served in batches. Generally speaking, airliners do not have microwave ovens for safety reasons. Not least, because of potential effects. Are There Microwaves On Airplanes.
From insideevs.com
Electricity, Compressed Air And Microwaves Can Give Us Airplanes Are There Microwaves On Airplanes Not least, because of potential effects on avionics and sensors, not to mention. Since the weight of microwave oven exceeds cabin bag limit, it needs to be checked in. However they are not the same power as typical microwave ovens, so you'll. I could not find any reference where commercial. Some planes are equipped with microwave ovens. The ovens on. Are There Microwaves On Airplanes.