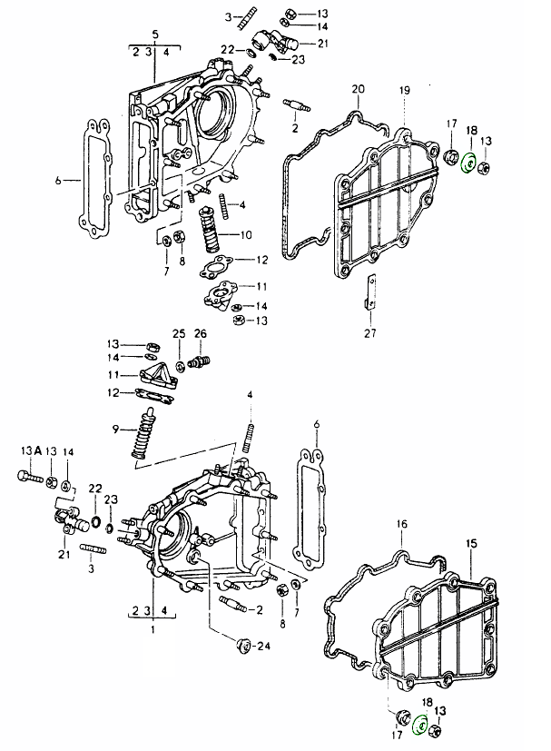
Porsche 993 Timing Chain Cover Gasket . The first is a continuous rubber gasket that is sandwiched between the machined engine surface and the timing chain cover. The timing covers cover the timing chains or belts and allow access to them. They can warp over time. But it shouldn't leak that much from the cover. No need to drop the engine. If the engine has not been back dated to make the cam timing adjustable, then timing the cams should be really quick. Replacement hardware for use with rennline billet aluminum timing chain covers on 3.6l & 3.8l engines. I replaced the timing chain cover gaskets. Includes two gaskets, 18 rubber sealing rings and 18 stainless steel m6x1.0. Here at pelican we carry all. If you are updating your chain covers you will need new gaskets and hardware to go with them. These billet aluminum timing chain covers are a direct replacement for the leaky magnesium covers installed from the factory on 964 and 993 porsche 911s.
from rennlist.com
Replacement hardware for use with rennline billet aluminum timing chain covers on 3.6l & 3.8l engines. If you are updating your chain covers you will need new gaskets and hardware to go with them. I replaced the timing chain cover gaskets. Here at pelican we carry all. No need to drop the engine. The timing covers cover the timing chains or belts and allow access to them. The first is a continuous rubber gasket that is sandwiched between the machined engine surface and the timing chain cover. But it shouldn't leak that much from the cover. These billet aluminum timing chain covers are a direct replacement for the leaky magnesium covers installed from the factory on 964 and 993 porsche 911s. Includes two gaskets, 18 rubber sealing rings and 18 stainless steel m6x1.0.
'95 993 Carrera Timing Chain Cover Gasket Rennlist Porsche
Porsche 993 Timing Chain Cover Gasket These billet aluminum timing chain covers are a direct replacement for the leaky magnesium covers installed from the factory on 964 and 993 porsche 911s. Replacement hardware for use with rennline billet aluminum timing chain covers on 3.6l & 3.8l engines. The timing covers cover the timing chains or belts and allow access to them. I replaced the timing chain cover gaskets. These billet aluminum timing chain covers are a direct replacement for the leaky magnesium covers installed from the factory on 964 and 993 porsche 911s. They can warp over time. Here at pelican we carry all. If the engine has not been back dated to make the cam timing adjustable, then timing the cams should be really quick. No need to drop the engine. If you are updating your chain covers you will need new gaskets and hardware to go with them. The first is a continuous rubber gasket that is sandwiched between the machined engine surface and the timing chain cover. But it shouldn't leak that much from the cover. Includes two gaskets, 18 rubber sealing rings and 18 stainless steel m6x1.0.
From www.aasesales.com
(New) 964/993 Timing Chain Cover Gasket 198998 AASE Sales Porsche 993 Timing Chain Cover Gasket Here at pelican we carry all. If the engine has not been back dated to make the cam timing adjustable, then timing the cams should be really quick. But it shouldn't leak that much from the cover. Replacement hardware for use with rennline billet aluminum timing chain covers on 3.6l & 3.8l engines. No need to drop the engine. These. Porsche 993 Timing Chain Cover Gasket.
From www.design911.com
Porsche 964 993 Timing chain tensioner gasket 96410517703 96410517703 Porsche 993 Timing Chain Cover Gasket They can warp over time. But it shouldn't leak that much from the cover. If you are updating your chain covers you will need new gaskets and hardware to go with them. These billet aluminum timing chain covers are a direct replacement for the leaky magnesium covers installed from the factory on 964 and 993 porsche 911s. Replacement hardware for. Porsche 993 Timing Chain Cover Gasket.
From www.europaparts.com
Porsche Timing Chain Cover Gasket (911 964 993) 96410518101 by Victor Porsche 993 Timing Chain Cover Gasket But it shouldn't leak that much from the cover. These billet aluminum timing chain covers are a direct replacement for the leaky magnesium covers installed from the factory on 964 and 993 porsche 911s. If the engine has not been back dated to make the cam timing adjustable, then timing the cams should be really quick. Here at pelican we. Porsche 993 Timing Chain Cover Gasket.
From robsport.co.uk
Timing chain cover gaskets (set of 3) Porsche 993 Timing Chain Cover Gasket Includes two gaskets, 18 rubber sealing rings and 18 stainless steel m6x1.0. The timing covers cover the timing chains or belts and allow access to them. No need to drop the engine. They can warp over time. Here at pelican we carry all. I replaced the timing chain cover gaskets. These billet aluminum timing chain covers are a direct replacement. Porsche 993 Timing Chain Cover Gasket.
From www.design911.co.uk
Porsche 993 Timing chain adjuster cover 99310502201 99310502201 Porsche 993 Timing Chain Cover Gasket These billet aluminum timing chain covers are a direct replacement for the leaky magnesium covers installed from the factory on 964 and 993 porsche 911s. But it shouldn't leak that much from the cover. No need to drop the engine. If you are updating your chain covers you will need new gaskets and hardware to go with them. If the. Porsche 993 Timing Chain Cover Gasket.
From www.fvd.net
96410518101 Timing Chain Cover Gasket 964 / 993 Porsche 993 Timing Chain Cover Gasket But it shouldn't leak that much from the cover. The first is a continuous rubber gasket that is sandwiched between the machined engine surface and the timing chain cover. Includes two gaskets, 18 rubber sealing rings and 18 stainless steel m6x1.0. If you are updating your chain covers you will need new gaskets and hardware to go with them. The. Porsche 993 Timing Chain Cover Gasket.
From sierramadrecollection.com
Porsche Parts Chain Cover Gasket Set, 911 (9098) Porsche 993 Timing Chain Cover Gasket These billet aluminum timing chain covers are a direct replacement for the leaky magnesium covers installed from the factory on 964 and 993 porsche 911s. No need to drop the engine. The timing covers cover the timing chains or belts and allow access to them. The first is a continuous rubber gasket that is sandwiched between the machined engine surface. Porsche 993 Timing Chain Cover Gasket.
From partworks.de
Gaskets timing case for PORSCHE 964 Carrera 993 Turbo timing chain SET Porsche 993 Timing Chain Cover Gasket Here at pelican we carry all. Includes two gaskets, 18 rubber sealing rings and 18 stainless steel m6x1.0. They can warp over time. No need to drop the engine. The timing covers cover the timing chains or belts and allow access to them. The first is a continuous rubber gasket that is sandwiched between the machined engine surface and the. Porsche 993 Timing Chain Cover Gasket.
From www.ecstuning.com
Rennline M65 964/993 Timing Chain Cover Gasket Set Porsche 993 Timing Chain Cover Gasket They can warp over time. These billet aluminum timing chain covers are a direct replacement for the leaky magnesium covers installed from the factory on 964 and 993 porsche 911s. If the engine has not been back dated to make the cam timing adjustable, then timing the cams should be really quick. The timing covers cover the timing chains or. Porsche 993 Timing Chain Cover Gasket.
From www.design911.com
Porsche 964 993 Timing chain tensioner gasket 96410517703 96410517703 Porsche 993 Timing Chain Cover Gasket I replaced the timing chain cover gaskets. These billet aluminum timing chain covers are a direct replacement for the leaky magnesium covers installed from the factory on 964 and 993 porsche 911s. Includes two gaskets, 18 rubber sealing rings and 18 stainless steel m6x1.0. No need to drop the engine. They can warp over time. The first is a continuous. Porsche 993 Timing Chain Cover Gasket.
From www.pelicanparts.com
Porsche Rennline 964/993 Timing Chain Cover Gaskets & Hardware Set Porsche 993 Timing Chain Cover Gasket If the engine has not been back dated to make the cam timing adjustable, then timing the cams should be really quick. The first is a continuous rubber gasket that is sandwiched between the machined engine surface and the timing chain cover. Replacement hardware for use with rennline billet aluminum timing chain covers on 3.6l & 3.8l engines. No need. Porsche 993 Timing Chain Cover Gasket.
From type911shop.co.uk
964 / 993 Timing Chain Cover Stud Seal OEM Type911 Porsche Parts Shop Porsche 993 Timing Chain Cover Gasket The first is a continuous rubber gasket that is sandwiched between the machined engine surface and the timing chain cover. Replacement hardware for use with rennline billet aluminum timing chain covers on 3.6l & 3.8l engines. Includes two gaskets, 18 rubber sealing rings and 18 stainless steel m6x1.0. If the engine has not been back dated to make the cam. Porsche 993 Timing Chain Cover Gasket.
From partworks.de
Gasket housing for Porsche 964 993 cover timing chain Porsche 993 Timing Chain Cover Gasket They can warp over time. No need to drop the engine. Replacement hardware for use with rennline billet aluminum timing chain covers on 3.6l & 3.8l engines. These billet aluminum timing chain covers are a direct replacement for the leaky magnesium covers installed from the factory on 964 and 993 porsche 911s. Includes two gaskets, 18 rubber sealing rings and. Porsche 993 Timing Chain Cover Gasket.
From rennlist.com
993/964 Timing Chain cover gaskets P/N info Rennlist Porsche Porsche 993 Timing Chain Cover Gasket Includes two gaskets, 18 rubber sealing rings and 18 stainless steel m6x1.0. Here at pelican we carry all. These billet aluminum timing chain covers are a direct replacement for the leaky magnesium covers installed from the factory on 964 and 993 porsche 911s. I replaced the timing chain cover gaskets. The first is a continuous rubber gasket that is sandwiched. Porsche 993 Timing Chain Cover Gasket.
From www.aasesales.com
(New) 964/993 Timing Chain Cover Gasket 198998 AASE Sales Porsche 993 Timing Chain Cover Gasket I replaced the timing chain cover gaskets. Includes two gaskets, 18 rubber sealing rings and 18 stainless steel m6x1.0. The first is a continuous rubber gasket that is sandwiched between the machined engine surface and the timing chain cover. Here at pelican we carry all. These billet aluminum timing chain covers are a direct replacement for the leaky magnesium covers. Porsche 993 Timing Chain Cover Gasket.
From type911shop.co.uk
964 / 993 Timing Chain Cover Gasket OEM Type911 Porsche Parts Shop Porsche 993 Timing Chain Cover Gasket The timing covers cover the timing chains or belts and allow access to them. I replaced the timing chain cover gaskets. Includes two gaskets, 18 rubber sealing rings and 18 stainless steel m6x1.0. They can warp over time. These billet aluminum timing chain covers are a direct replacement for the leaky magnesium covers installed from the factory on 964 and. Porsche 993 Timing Chain Cover Gasket.
From www.pelicanparts.com
Porsche Gasket Chain Housing to Case Genuine Porsche 993.105.193.00 993 Porsche 993 Timing Chain Cover Gasket The first is a continuous rubber gasket that is sandwiched between the machined engine surface and the timing chain cover. Includes two gaskets, 18 rubber sealing rings and 18 stainless steel m6x1.0. Replacement hardware for use with rennline billet aluminum timing chain covers on 3.6l & 3.8l engines. If you are updating your chain covers you will need new gaskets. Porsche 993 Timing Chain Cover Gasket.
From msroadrace.com
Porsche 964 993 Chain Cover Gaskets 96410518100 SS 96410518101 Porsche 993 Timing Chain Cover Gasket The timing covers cover the timing chains or belts and allow access to them. Replacement hardware for use with rennline billet aluminum timing chain covers on 3.6l & 3.8l engines. If the engine has not been back dated to make the cam timing adjustable, then timing the cams should be really quick. They can warp over time. Includes two gaskets,. Porsche 993 Timing Chain Cover Gasket.
From www.design911.com
Porsche 964 993 Timing chain tensioner gasket 96410517703 96410517703 Porsche 993 Timing Chain Cover Gasket If you are updating your chain covers you will need new gaskets and hardware to go with them. The timing covers cover the timing chains or belts and allow access to them. Here at pelican we carry all. The first is a continuous rubber gasket that is sandwiched between the machined engine surface and the timing chain cover. Replacement hardware. Porsche 993 Timing Chain Cover Gasket.
From www.europaparts.com
Porsche Timing Chain Housing Gasket (911 964 993) 99310519300 by OE Porsche 993 Timing Chain Cover Gasket I replaced the timing chain cover gaskets. They can warp over time. Here at pelican we carry all. The first is a continuous rubber gasket that is sandwiched between the machined engine surface and the timing chain cover. No need to drop the engine. Includes two gaskets, 18 rubber sealing rings and 18 stainless steel m6x1.0. Replacement hardware for use. Porsche 993 Timing Chain Cover Gasket.
From partworks.de
Timing chains for Porsche 964 Carrera turbo 993 Set tensioner gaskets Porsche 993 Timing Chain Cover Gasket I replaced the timing chain cover gaskets. If you are updating your chain covers you will need new gaskets and hardware to go with them. They can warp over time. The first is a continuous rubber gasket that is sandwiched between the machined engine surface and the timing chain cover. Here at pelican we carry all. But it shouldn't leak. Porsche 993 Timing Chain Cover Gasket.
From picclick.com.au
PORSCHE 964 993 Timing Chain Cover Seal Gaskets L/ R OEM REINZ Porsche 993 Timing Chain Cover Gasket If you are updating your chain covers you will need new gaskets and hardware to go with them. No need to drop the engine. If the engine has not been back dated to make the cam timing adjustable, then timing the cams should be really quick. These billet aluminum timing chain covers are a direct replacement for the leaky magnesium. Porsche 993 Timing Chain Cover Gasket.
From partworks.de
Gaskets timing case for PORSCHE 964 Carrera 993 Turbo timing chain SET Porsche 993 Timing Chain Cover Gasket The first is a continuous rubber gasket that is sandwiched between the machined engine surface and the timing chain cover. If you are updating your chain covers you will need new gaskets and hardware to go with them. Here at pelican we carry all. But it shouldn't leak that much from the cover. They can warp over time. If the. Porsche 993 Timing Chain Cover Gasket.
From www.rennline.com
Porsche 964/993 (NonTurbo) Billet Aluminum Timing Chain Covers Porsche 993 Timing Chain Cover Gasket But it shouldn't leak that much from the cover. Replacement hardware for use with rennline billet aluminum timing chain covers on 3.6l & 3.8l engines. No need to drop the engine. The first is a continuous rubber gasket that is sandwiched between the machined engine surface and the timing chain cover. The timing covers cover the timing chains or belts. Porsche 993 Timing Chain Cover Gasket.
From www.europaparts.com
Porsche Timing Cover Gasket Set (911 964 993) 96410518198 by OE Porsche 993 Timing Chain Cover Gasket No need to drop the engine. Here at pelican we carry all. Includes two gaskets, 18 rubber sealing rings and 18 stainless steel m6x1.0. Replacement hardware for use with rennline billet aluminum timing chain covers on 3.6l & 3.8l engines. They can warp over time. I replaced the timing chain cover gaskets. The timing covers cover the timing chains or. Porsche 993 Timing Chain Cover Gasket.
From www.aasesales.com
(New) 964/993 Timing Chain Cover Gasket 198998 AASE Sales Porsche 993 Timing Chain Cover Gasket Replacement hardware for use with rennline billet aluminum timing chain covers on 3.6l & 3.8l engines. If you are updating your chain covers you will need new gaskets and hardware to go with them. The timing covers cover the timing chains or belts and allow access to them. Here at pelican we carry all. These billet aluminum timing chain covers. Porsche 993 Timing Chain Cover Gasket.
From www.aasesales.com
(New) Timing Chain Cover Gasket 198998 Aase Sales Porsche Parts Center Porsche 993 Timing Chain Cover Gasket If the engine has not been back dated to make the cam timing adjustable, then timing the cams should be really quick. They can warp over time. The timing covers cover the timing chains or belts and allow access to them. If you are updating your chain covers you will need new gaskets and hardware to go with them. Here. Porsche 993 Timing Chain Cover Gasket.
From rennlist.com
'95 993 Carrera Timing Chain Cover Gasket Rennlist Porsche Porsche 993 Timing Chain Cover Gasket If you are updating your chain covers you will need new gaskets and hardware to go with them. No need to drop the engine. Replacement hardware for use with rennline billet aluminum timing chain covers on 3.6l & 3.8l engines. They can warp over time. Here at pelican we carry all. I replaced the timing chain cover gaskets. But it. Porsche 993 Timing Chain Cover Gasket.
From www.rennline.com
Porsche 964/993 3.6L/3.8L Timing Chain Cover Gasket Set Porsche 993 Timing Chain Cover Gasket If you are updating your chain covers you will need new gaskets and hardware to go with them. Replacement hardware for use with rennline billet aluminum timing chain covers on 3.6l & 3.8l engines. The timing covers cover the timing chains or belts and allow access to them. The first is a continuous rubber gasket that is sandwiched between the. Porsche 993 Timing Chain Cover Gasket.
From www.heritagepartscentre.com
Timing Chain Cover Gasket, Right Heritage Parts Center US Porsche 993 Timing Chain Cover Gasket These billet aluminum timing chain covers are a direct replacement for the leaky magnesium covers installed from the factory on 964 and 993 porsche 911s. The first is a continuous rubber gasket that is sandwiched between the machined engine surface and the timing chain cover. If you are updating your chain covers you will need new gaskets and hardware to. Porsche 993 Timing Chain Cover Gasket.
From www.pelicanparts.com
Porsche Timing Chain Housing Genuine Porsche 99310509305 993.105.093 Porsche 993 Timing Chain Cover Gasket The first is a continuous rubber gasket that is sandwiched between the machined engine surface and the timing chain cover. Here at pelican we carry all. No need to drop the engine. The timing covers cover the timing chains or belts and allow access to them. They can warp over time. Replacement hardware for use with rennline billet aluminum timing. Porsche 993 Timing Chain Cover Gasket.
From www.pelicanparts.com
Porsche Gasket Chain Housing to Case Genuine Porsche 993.105.193.00 993 Porsche 993 Timing Chain Cover Gasket The first is a continuous rubber gasket that is sandwiched between the machined engine surface and the timing chain cover. Includes two gaskets, 18 rubber sealing rings and 18 stainless steel m6x1.0. But it shouldn't leak that much from the cover. Replacement hardware for use with rennline billet aluminum timing chain covers on 3.6l & 3.8l engines. I replaced the. Porsche 993 Timing Chain Cover Gasket.
From www.design911.co.uk
Porsche 964 993 Timing chain cover washer 96410544500 96410544500 Porsche 993 Timing Chain Cover Gasket Here at pelican we carry all. Includes two gaskets, 18 rubber sealing rings and 18 stainless steel m6x1.0. These billet aluminum timing chain covers are a direct replacement for the leaky magnesium covers installed from the factory on 964 and 993 porsche 911s. The timing covers cover the timing chains or belts and allow access to them. Replacement hardware for. Porsche 993 Timing Chain Cover Gasket.
From rennlist.com
993/964 Timing Chain cover gaskets P/N info Rennlist Porsche Porsche 993 Timing Chain Cover Gasket Includes two gaskets, 18 rubber sealing rings and 18 stainless steel m6x1.0. The timing covers cover the timing chains or belts and allow access to them. They can warp over time. These billet aluminum timing chain covers are a direct replacement for the leaky magnesium covers installed from the factory on 964 and 993 porsche 911s. Replacement hardware for use. Porsche 993 Timing Chain Cover Gasket.
From rennlist.com
'95 993 Carrera Timing Chain Cover Gasket Rennlist Porsche Porsche 993 Timing Chain Cover Gasket The first is a continuous rubber gasket that is sandwiched between the machined engine surface and the timing chain cover. If the engine has not been back dated to make the cam timing adjustable, then timing the cams should be really quick. They can warp over time. I replaced the timing chain cover gaskets. If you are updating your chain. Porsche 993 Timing Chain Cover Gasket.