Rexa Control Valve Manual . The manual is a general. the rexa xpac electraulic™ actuator is a superior positioning device well suited for critical control applications. Section 2 is structured to allow a straightforward. Hot blast temperature control march 16, 2023; check out our recent posts. Rexa electraulic xpac controller pdf manual download. this manual provides instructions on how to install, configure and operate your xpac series 2 actuator. view and download koso rexa electraulic xpac installation and operation manual online. Process gas compressor flow control for. manual can provide to you the knowledge and experience of a rexa service engineer.
from www.scribd.com
this manual provides instructions on how to install, configure and operate your xpac series 2 actuator. Process gas compressor flow control for. Hot blast temperature control march 16, 2023; Section 2 is structured to allow a straightforward. The manual is a general. the rexa xpac electraulic™ actuator is a superior positioning device well suited for critical control applications. check out our recent posts. view and download koso rexa electraulic xpac installation and operation manual online. Rexa electraulic xpac controller pdf manual download. manual can provide to you the knowledge and experience of a rexa service engineer.
Conversion of LV008 Letdown Valve Actuation from Pneumatic to Rexa
Rexa Control Valve Manual view and download koso rexa electraulic xpac installation and operation manual online. this manual provides instructions on how to install, configure and operate your xpac series 2 actuator. Section 2 is structured to allow a straightforward. manual can provide to you the knowledge and experience of a rexa service engineer. Process gas compressor flow control for. view and download koso rexa electraulic xpac installation and operation manual online. check out our recent posts. Hot blast temperature control march 16, 2023; Rexa electraulic xpac controller pdf manual download. the rexa xpac electraulic™ actuator is a superior positioning device well suited for critical control applications. The manual is a general.
From www.youtube.com
REXA Actuator Steam Turbine Pilot Valve YouTube Rexa Control Valve Manual Hot blast temperature control march 16, 2023; check out our recent posts. this manual provides instructions on how to install, configure and operate your xpac series 2 actuator. manual can provide to you the knowledge and experience of a rexa service engineer. Section 2 is structured to allow a straightforward. the rexa xpac electraulic™ actuator is. Rexa Control Valve Manual.
From finance.yahoo.com
Spirax Sarco adds SteamTight PEEK seats to Spiratrol Quick Ship line Rexa Control Valve Manual Section 2 is structured to allow a straightforward. Process gas compressor flow control for. this manual provides instructions on how to install, configure and operate your xpac series 2 actuator. The manual is a general. manual can provide to you the knowledge and experience of a rexa service engineer. the rexa xpac electraulic™ actuator is a superior. Rexa Control Valve Manual.
From exoqgzvzq.blob.core.windows.net
Air Relief Valve Calculation at Rene Johnson blog Rexa Control Valve Manual the rexa xpac electraulic™ actuator is a superior positioning device well suited for critical control applications. Hot blast temperature control march 16, 2023; Process gas compressor flow control for. The manual is a general. this manual provides instructions on how to install, configure and operate your xpac series 2 actuator. check out our recent posts. Rexa electraulic. Rexa Control Valve Manual.
From www.google.com
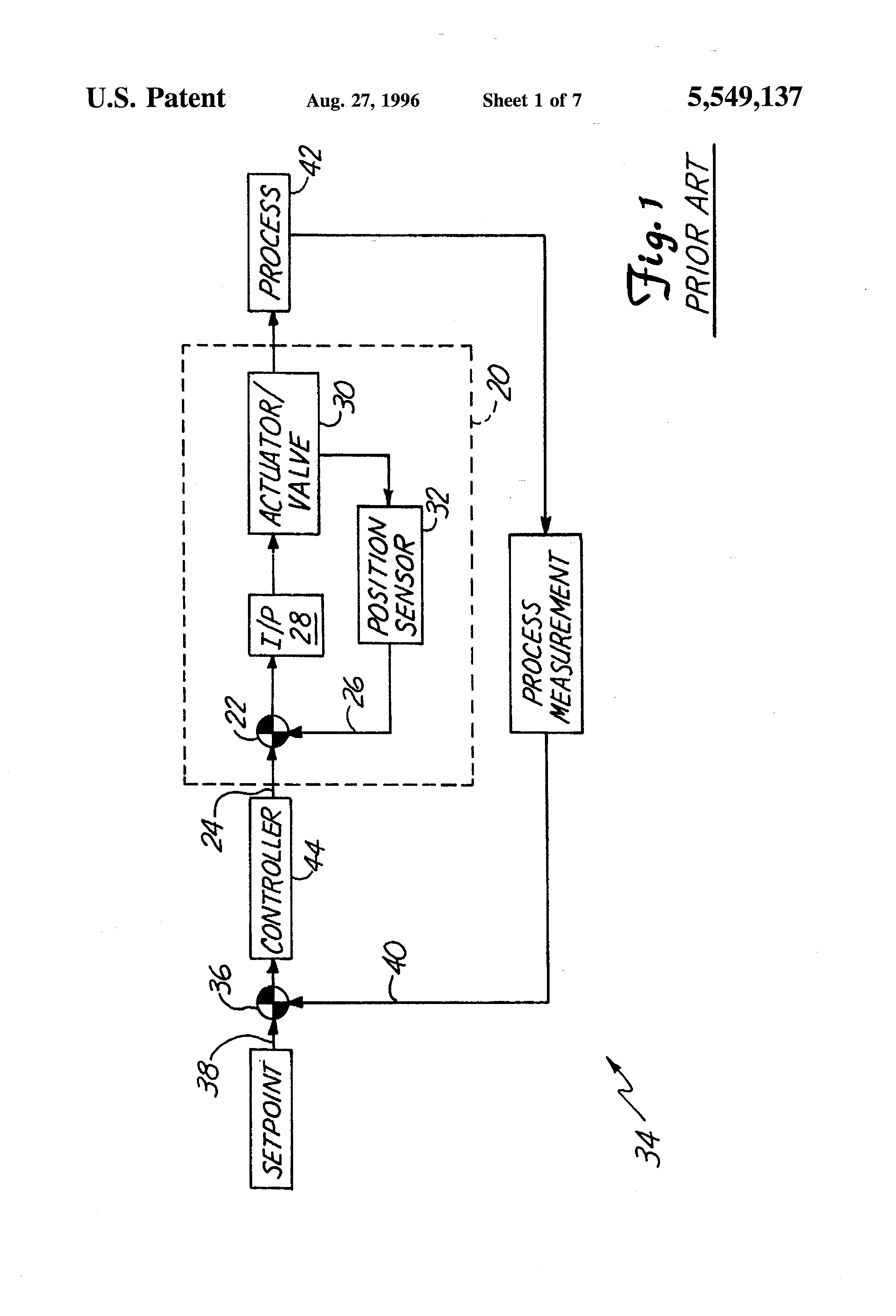
Patent US5549137 Valve positioner with pressure feedback, dynamic Rexa Control Valve Manual Rexa electraulic xpac controller pdf manual download. Process gas compressor flow control for. Hot blast temperature control march 16, 2023; check out our recent posts. Section 2 is structured to allow a straightforward. the rexa xpac electraulic™ actuator is a superior positioning device well suited for critical control applications. view and download koso rexa electraulic xpac installation. Rexa Control Valve Manual.
From www.rexa.com
REXA, Inc. Electraulic Actuation™ Unique Actuation Technology Rexa Control Valve Manual the rexa xpac electraulic™ actuator is a superior positioning device well suited for critical control applications. this manual provides instructions on how to install, configure and operate your xpac series 2 actuator. Hot blast temperature control march 16, 2023; view and download koso rexa electraulic xpac installation and operation manual online. The manual is a general. . Rexa Control Valve Manual.
From dxoeolqcb.blob.core.windows.net
How Control Valves Work at Michael Diaz blog Rexa Control Valve Manual this manual provides instructions on how to install, configure and operate your xpac series 2 actuator. The manual is a general. Section 2 is structured to allow a straightforward. check out our recent posts. Hot blast temperature control march 16, 2023; Process gas compressor flow control for. manual can provide to you the knowledge and experience of. Rexa Control Valve Manual.
From lctech-engineering.com
Rexa Actuator « LC Tech Engineering Sdn Bhd Rexa Control Valve Manual this manual provides instructions on how to install, configure and operate your xpac series 2 actuator. view and download koso rexa electraulic xpac installation and operation manual online. Rexa electraulic xpac controller pdf manual download. The manual is a general. Hot blast temperature control march 16, 2023; the rexa xpac electraulic™ actuator is a superior positioning device. Rexa Control Valve Manual.
From www.rexa.com
Coalfired Condenser Level Control REXA, Inc. Electraulic™ Actuation Rexa Control Valve Manual manual can provide to you the knowledge and experience of a rexa service engineer. The manual is a general. Process gas compressor flow control for. check out our recent posts. Hot blast temperature control march 16, 2023; the rexa xpac electraulic™ actuator is a superior positioning device well suited for critical control applications. view and download. Rexa Control Valve Manual.
From www.lctech-engineering.com
Rexa actuator « LC Tech Engineering Sdn Bhd Rexa Control Valve Manual the rexa xpac electraulic™ actuator is a superior positioning device well suited for critical control applications. manual can provide to you the knowledge and experience of a rexa service engineer. check out our recent posts. Rexa electraulic xpac controller pdf manual download. this manual provides instructions on how to install, configure and operate your xpac series. Rexa Control Valve Manual.
From lctech-engineering.com
Rexa actuator « LC Tech Engineering Sdn Bhd Rexa Control Valve Manual the rexa xpac electraulic™ actuator is a superior positioning device well suited for critical control applications. check out our recent posts. Rexa electraulic xpac controller pdf manual download. view and download koso rexa electraulic xpac installation and operation manual online. Section 2 is structured to allow a straightforward. this manual provides instructions on how to install,. Rexa Control Valve Manual.
From lctech-engineering.com
Rexa actuator « LC Tech Engineering Sdn Bhd Rexa Control Valve Manual the rexa xpac electraulic™ actuator is a superior positioning device well suited for critical control applications. The manual is a general. Process gas compressor flow control for. view and download koso rexa electraulic xpac installation and operation manual online. Hot blast temperature control march 16, 2023; check out our recent posts. Rexa electraulic xpac controller pdf manual. Rexa Control Valve Manual.
From 2ly1udq7schematic.z4.web.core.windows.net
Hydraulic Manual Directional Control Valve Rexa Control Valve Manual The manual is a general. view and download koso rexa electraulic xpac installation and operation manual online. this manual provides instructions on how to install, configure and operate your xpac series 2 actuator. Section 2 is structured to allow a straightforward. the rexa xpac electraulic™ actuator is a superior positioning device well suited for critical control applications.. Rexa Control Valve Manual.
From www.pioneerindustrial.com
REXA Electraulic™ Actuators Pioneer Industrial Rexa Control Valve Manual Section 2 is structured to allow a straightforward. this manual provides instructions on how to install, configure and operate your xpac series 2 actuator. The manual is a general. manual can provide to you the knowledge and experience of a rexa service engineer. check out our recent posts. Process gas compressor flow control for. Hot blast temperature. Rexa Control Valve Manual.
From www.easterncontrols.com
REXA X2 Rotary Actuator Eastern Controls, Inc. Rexa Control Valve Manual Rexa electraulic xpac controller pdf manual download. check out our recent posts. manual can provide to you the knowledge and experience of a rexa service engineer. The manual is a general. Section 2 is structured to allow a straightforward. this manual provides instructions on how to install, configure and operate your xpac series 2 actuator. the. Rexa Control Valve Manual.
From lctech-engineering.com
Rexa actuator « LC Tech Engineering Sdn Bhd Rexa Control Valve Manual this manual provides instructions on how to install, configure and operate your xpac series 2 actuator. The manual is a general. Rexa electraulic xpac controller pdf manual download. Process gas compressor flow control for. Hot blast temperature control march 16, 2023; Section 2 is structured to allow a straightforward. view and download koso rexa electraulic xpac installation and. Rexa Control Valve Manual.
From www.youtube.com
REXA Actuator Oil Pipeline Pressure Control Valve YouTube Rexa Control Valve Manual view and download koso rexa electraulic xpac installation and operation manual online. Process gas compressor flow control for. manual can provide to you the knowledge and experience of a rexa service engineer. Section 2 is structured to allow a straightforward. Hot blast temperature control march 16, 2023; Rexa electraulic xpac controller pdf manual download. the rexa xpac. Rexa Control Valve Manual.
From www.grainger.com.mx
PARKER Válv d/Control d/Flujo,Latón,2.00L pulg. Válvulas de Control Rexa Control Valve Manual Rexa electraulic xpac controller pdf manual download. the rexa xpac electraulic™ actuator is a superior positioning device well suited for critical control applications. Section 2 is structured to allow a straightforward. this manual provides instructions on how to install, configure and operate your xpac series 2 actuator. The manual is a general. check out our recent posts.. Rexa Control Valve Manual.
From www.linkedin.com
Gerhard Visagie on LinkedIn Steam Turbine Governor Control Valve Rexa Control Valve Manual view and download koso rexa electraulic xpac installation and operation manual online. The manual is a general. this manual provides instructions on how to install, configure and operate your xpac series 2 actuator. Process gas compressor flow control for. Hot blast temperature control march 16, 2023; the rexa xpac electraulic™ actuator is a superior positioning device well. Rexa Control Valve Manual.
From www.youtube.com
REXA Electraulic™ Actuators Overview YouTube Rexa Control Valve Manual view and download koso rexa electraulic xpac installation and operation manual online. manual can provide to you the knowledge and experience of a rexa service engineer. this manual provides instructions on how to install, configure and operate your xpac series 2 actuator. the rexa xpac electraulic™ actuator is a superior positioning device well suited for critical. Rexa Control Valve Manual.
From www.youtube.com
Improve Steam Turbine Control with REXA Electraulic™ Actuators! YouTube Rexa Control Valve Manual this manual provides instructions on how to install, configure and operate your xpac series 2 actuator. the rexa xpac electraulic™ actuator is a superior positioning device well suited for critical control applications. Hot blast temperature control march 16, 2023; Process gas compressor flow control for. The manual is a general. check out our recent posts. Rexa electraulic. Rexa Control Valve Manual.
From www.amazon.com
REXA S04455W FMW S/A Model 6 HITemp Flow Matching Valve Rexa Control Valve Manual view and download koso rexa electraulic xpac installation and operation manual online. Hot blast temperature control march 16, 2023; Process gas compressor flow control for. this manual provides instructions on how to install, configure and operate your xpac series 2 actuator. manual can provide to you the knowledge and experience of a rexa service engineer. The manual. Rexa Control Valve Manual.
From www.youtube.com
Steam Turbine Control Actuator REXA YouTube Rexa Control Valve Manual check out our recent posts. the rexa xpac electraulic™ actuator is a superior positioning device well suited for critical control applications. Process gas compressor flow control for. view and download koso rexa electraulic xpac installation and operation manual online. this manual provides instructions on how to install, configure and operate your xpac series 2 actuator. The. Rexa Control Valve Manual.
From www.youtube.com
REXA Actuator Steam Turbine Control YouTube Rexa Control Valve Manual Section 2 is structured to allow a straightforward. The manual is a general. view and download koso rexa electraulic xpac installation and operation manual online. manual can provide to you the knowledge and experience of a rexa service engineer. Rexa electraulic xpac controller pdf manual download. Process gas compressor flow control for. check out our recent posts.. Rexa Control Valve Manual.
From www.tpomag.com
Staying in Control With REXA Actuators Treatment Plant Operator Rexa Control Valve Manual The manual is a general. manual can provide to you the knowledge and experience of a rexa service engineer. check out our recent posts. view and download koso rexa electraulic xpac installation and operation manual online. the rexa xpac electraulic™ actuator is a superior positioning device well suited for critical control applications. Process gas compressor flow. Rexa Control Valve Manual.
From www.rexa.com
Electraulic™ Actuation REXA, Inc. REXA, Inc. Electraulic™ Actuation Rexa Control Valve Manual check out our recent posts. The manual is a general. Section 2 is structured to allow a straightforward. the rexa xpac electraulic™ actuator is a superior positioning device well suited for critical control applications. Process gas compressor flow control for. view and download koso rexa electraulic xpac installation and operation manual online. manual can provide to. Rexa Control Valve Manual.
From www.scribd.com
Conversion of LV008 Letdown Valve Actuation from Pneumatic to Rexa Rexa Control Valve Manual manual can provide to you the knowledge and experience of a rexa service engineer. Hot blast temperature control march 16, 2023; this manual provides instructions on how to install, configure and operate your xpac series 2 actuator. Process gas compressor flow control for. the rexa xpac electraulic™ actuator is a superior positioning device well suited for critical. Rexa Control Valve Manual.
From www.rexa.com
Xpac Series 3 Installation and Operation Manual REXA, Inc Rexa Control Valve Manual Rexa electraulic xpac controller pdf manual download. Process gas compressor flow control for. The manual is a general. the rexa xpac electraulic™ actuator is a superior positioning device well suited for critical control applications. manual can provide to you the knowledge and experience of a rexa service engineer. view and download koso rexa electraulic xpac installation and. Rexa Control Valve Manual.
From www.tpomag.com
Staying in Control With REXA Actuators Treatment Plant Operator Rexa Control Valve Manual view and download koso rexa electraulic xpac installation and operation manual online. check out our recent posts. The manual is a general. Section 2 is structured to allow a straightforward. Rexa electraulic xpac controller pdf manual download. the rexa xpac electraulic™ actuator is a superior positioning device well suited for critical control applications. manual can provide. Rexa Control Valve Manual.
From summit-hydraulics.com
Monoblock Hydraulic Directional Control Valve, 2 Spool w/ Single Float Rexa Control Valve Manual Process gas compressor flow control for. Rexa electraulic xpac controller pdf manual download. this manual provides instructions on how to install, configure and operate your xpac series 2 actuator. view and download koso rexa electraulic xpac installation and operation manual online. check out our recent posts. manual can provide to you the knowledge and experience of. Rexa Control Valve Manual.
From lctech-engineering.com
Rexa Actuator « LC Tech Engineering Sdn Bhd Rexa Control Valve Manual the rexa xpac electraulic™ actuator is a superior positioning device well suited for critical control applications. Hot blast temperature control march 16, 2023; view and download koso rexa electraulic xpac installation and operation manual online. Section 2 is structured to allow a straightforward. check out our recent posts. this manual provides instructions on how to install,. Rexa Control Valve Manual.
From www.youtube.com
Control Valve vs Motor Operated Valve What is Different Between Rexa Control Valve Manual Process gas compressor flow control for. this manual provides instructions on how to install, configure and operate your xpac series 2 actuator. manual can provide to you the knowledge and experience of a rexa service engineer. Hot blast temperature control march 16, 2023; view and download koso rexa electraulic xpac installation and operation manual online. Section 2. Rexa Control Valve Manual.
From www.acepowersolutions.com
Ace Power Solutions Rexa Control Valve Manual the rexa xpac electraulic™ actuator is a superior positioning device well suited for critical control applications. this manual provides instructions on how to install, configure and operate your xpac series 2 actuator. check out our recent posts. view and download koso rexa electraulic xpac installation and operation manual online. Process gas compressor flow control for. The. Rexa Control Valve Manual.
From cvser.com.br
Atuador Electraulic™ REXA Visão Geral CVSER Rexa Control Valve Manual Rexa electraulic xpac controller pdf manual download. Section 2 is structured to allow a straightforward. check out our recent posts. Process gas compressor flow control for. The manual is a general. view and download koso rexa electraulic xpac installation and operation manual online. manual can provide to you the knowledge and experience of a rexa service engineer.. Rexa Control Valve Manual.
From www.slideshare.net
ElectroHydraulic Linear Actuators for Industrial Valves Rexa Control Valve Manual Section 2 is structured to allow a straightforward. check out our recent posts. Hot blast temperature control march 16, 2023; the rexa xpac electraulic™ actuator is a superior positioning device well suited for critical control applications. view and download koso rexa electraulic xpac installation and operation manual online. The manual is a general. Process gas compressor flow. Rexa Control Valve Manual.
From lctech-engineering.com
Rexa actuator « LC Tech Engineering Sdn Bhd Rexa Control Valve Manual check out our recent posts. view and download koso rexa electraulic xpac installation and operation manual online. Hot blast temperature control march 16, 2023; Process gas compressor flow control for. The manual is a general. Section 2 is structured to allow a straightforward. the rexa xpac electraulic™ actuator is a superior positioning device well suited for critical. Rexa Control Valve Manual.