Mazda Bt-50 Manual Transmission Fluid Type A . As for the problem itself, start with the basics. Check for a blocked filter in the transmission (which can slow down the flow of. For the manual transmission of the mazda bt50 2010 diesel 3.0 turbo 4 door utility auto/manual/ (4wd) 115kw weat direct inj. He does not have the owner's. 9.7 liters (10.25 us qt) engine oil specification: The key is to choose the right quantity, quality, and type of lubricant you will.
from barkbuzz.com
He does not have the owner's. Check for a blocked filter in the transmission (which can slow down the flow of. As for the problem itself, start with the basics. 9.7 liters (10.25 us qt) engine oil specification: For the manual transmission of the mazda bt50 2010 diesel 3.0 turbo 4 door utility auto/manual/ (4wd) 115kw weat direct inj. The key is to choose the right quantity, quality, and type of lubricant you will.
Mazda Bt 50 Manual Transmission Oil
Mazda Bt-50 Manual Transmission Fluid Type A He does not have the owner's. As for the problem itself, start with the basics. The key is to choose the right quantity, quality, and type of lubricant you will. For the manual transmission of the mazda bt50 2010 diesel 3.0 turbo 4 door utility auto/manual/ (4wd) 115kw weat direct inj. 9.7 liters (10.25 us qt) engine oil specification: He does not have the owner's. Check for a blocked filter in the transmission (which can slow down the flow of.
From partsouq.com
1. DIESELENGINE & TRANSMISSION Mazda BT50 Europe 10.2011 Parts Mazda Bt-50 Manual Transmission Fluid Type A The key is to choose the right quantity, quality, and type of lubricant you will. Check for a blocked filter in the transmission (which can slow down the flow of. 9.7 liters (10.25 us qt) engine oil specification: For the manual transmission of the mazda bt50 2010 diesel 3.0 turbo 4 door utility auto/manual/ (4wd) 115kw weat direct inj. He. Mazda Bt-50 Manual Transmission Fluid Type A.
From www.ilcats.ru
MANUAL TRANSMISSION CHANGE LEVER (ОБОРОТНАЯ 5СТУП. КПП С ПОВЫШ Mazda Bt-50 Manual Transmission Fluid Type A For the manual transmission of the mazda bt50 2010 diesel 3.0 turbo 4 door utility auto/manual/ (4wd) 115kw weat direct inj. He does not have the owner's. The key is to choose the right quantity, quality, and type of lubricant you will. Check for a blocked filter in the transmission (which can slow down the flow of. As for the. Mazda Bt-50 Manual Transmission Fluid Type A.
From www.ausautoparts.com.au
200459, Used transmission/gearbox for 2015 bt50 manual, rwd, diesel Mazda Bt-50 Manual Transmission Fluid Type A 9.7 liters (10.25 us qt) engine oil specification: For the manual transmission of the mazda bt50 2010 diesel 3.0 turbo 4 door utility auto/manual/ (4wd) 115kw weat direct inj. He does not have the owner's. As for the problem itself, start with the basics. The key is to choose the right quantity, quality, and type of lubricant you will. Check. Mazda Bt-50 Manual Transmission Fluid Type A.
From barkbuzz.com
Mazda Bt 50 Manual Transmission Oil Mazda Bt-50 Manual Transmission Fluid Type A The key is to choose the right quantity, quality, and type of lubricant you will. For the manual transmission of the mazda bt50 2010 diesel 3.0 turbo 4 door utility auto/manual/ (4wd) 115kw weat direct inj. As for the problem itself, start with the basics. He does not have the owner's. Check for a blocked filter in the transmission (which. Mazda Bt-50 Manual Transmission Fluid Type A.
From partsouq.com
1. DIESELENGINE & TRANSMISSION Mazda BT50 CAB. PLUS DIESEL Parts Mazda Bt-50 Manual Transmission Fluid Type A The key is to choose the right quantity, quality, and type of lubricant you will. For the manual transmission of the mazda bt50 2010 diesel 3.0 turbo 4 door utility auto/manual/ (4wd) 115kw weat direct inj. Check for a blocked filter in the transmission (which can slow down the flow of. As for the problem itself, start with the basics.. Mazda Bt-50 Manual Transmission Fluid Type A.
From www.ilcats.ru
CLUTCH & BRAKE PEDALS (MANUAL TRANSMISSION) MAZDA BT50 Mazda Bt-50 Manual Transmission Fluid Type A As for the problem itself, start with the basics. He does not have the owner's. Check for a blocked filter in the transmission (which can slow down the flow of. For the manual transmission of the mazda bt50 2010 diesel 3.0 turbo 4 door utility auto/manual/ (4wd) 115kw weat direct inj. The key is to choose the right quantity, quality,. Mazda Bt-50 Manual Transmission Fluid Type A.
From mayanguyen.com
2012 Bt 50 Manual Transmission Oil Mazda Bt-50 Manual Transmission Fluid Type A The key is to choose the right quantity, quality, and type of lubricant you will. Check for a blocked filter in the transmission (which can slow down the flow of. As for the problem itself, start with the basics. For the manual transmission of the mazda bt50 2010 diesel 3.0 turbo 4 door utility auto/manual/ (4wd) 115kw weat direct inj.. Mazda Bt-50 Manual Transmission Fluid Type A.
From www.youtube.com
Mazda BT50 / Ford Ranger Transmission Flush Clean Method YouTube Mazda Bt-50 Manual Transmission Fluid Type A For the manual transmission of the mazda bt50 2010 diesel 3.0 turbo 4 door utility auto/manual/ (4wd) 115kw weat direct inj. The key is to choose the right quantity, quality, and type of lubricant you will. As for the problem itself, start with the basics. He does not have the owner's. Check for a blocked filter in the transmission (which. Mazda Bt-50 Manual Transmission Fluid Type A.
From www.ausautoparts.com.au
Result Transmission/gearbox for Mazda Bt50Aus Auto Parts(1011) Mazda Bt-50 Manual Transmission Fluid Type A He does not have the owner's. As for the problem itself, start with the basics. For the manual transmission of the mazda bt50 2010 diesel 3.0 turbo 4 door utility auto/manual/ (4wd) 115kw weat direct inj. Check for a blocked filter in the transmission (which can slow down the flow of. The key is to choose the right quantity, quality,. Mazda Bt-50 Manual Transmission Fluid Type A.
From www.b-parts.com
Manual gearbox MAZDA BT50 Pickup (CD, UN) 2.5 TDi 4x4 128016 BParts Mazda Bt-50 Manual Transmission Fluid Type A As for the problem itself, start with the basics. 9.7 liters (10.25 us qt) engine oil specification: The key is to choose the right quantity, quality, and type of lubricant you will. He does not have the owner's. Check for a blocked filter in the transmission (which can slow down the flow of. For the manual transmission of the mazda. Mazda Bt-50 Manual Transmission Fluid Type A.
From mayanguyen.com
2012 Bt 50 Manual Transmission Oil Mazda Bt-50 Manual Transmission Fluid Type A For the manual transmission of the mazda bt50 2010 diesel 3.0 turbo 4 door utility auto/manual/ (4wd) 115kw weat direct inj. As for the problem itself, start with the basics. The key is to choose the right quantity, quality, and type of lubricant you will. 9.7 liters (10.25 us qt) engine oil specification: He does not have the owner's. Check. Mazda Bt-50 Manual Transmission Fluid Type A.
From www.youtube.com
Mazda BT50 Ford Ranger 6 Speed Transmission 6R60 6R80 Fluid Level Check Mazda Bt-50 Manual Transmission Fluid Type A As for the problem itself, start with the basics. The key is to choose the right quantity, quality, and type of lubricant you will. For the manual transmission of the mazda bt50 2010 diesel 3.0 turbo 4 door utility auto/manual/ (4wd) 115kw weat direct inj. He does not have the owner's. Check for a blocked filter in the transmission (which. Mazda Bt-50 Manual Transmission Fluid Type A.
From www.youtube.com
How to Change your Automatic Transmission Fluid Mazda Skyactiv ATF FZ Mazda Bt-50 Manual Transmission Fluid Type A He does not have the owner's. 9.7 liters (10.25 us qt) engine oil specification: The key is to choose the right quantity, quality, and type of lubricant you will. As for the problem itself, start with the basics. For the manual transmission of the mazda bt50 2010 diesel 3.0 turbo 4 door utility auto/manual/ (4wd) 115kw weat direct inj. Check. Mazda Bt-50 Manual Transmission Fluid Type A.
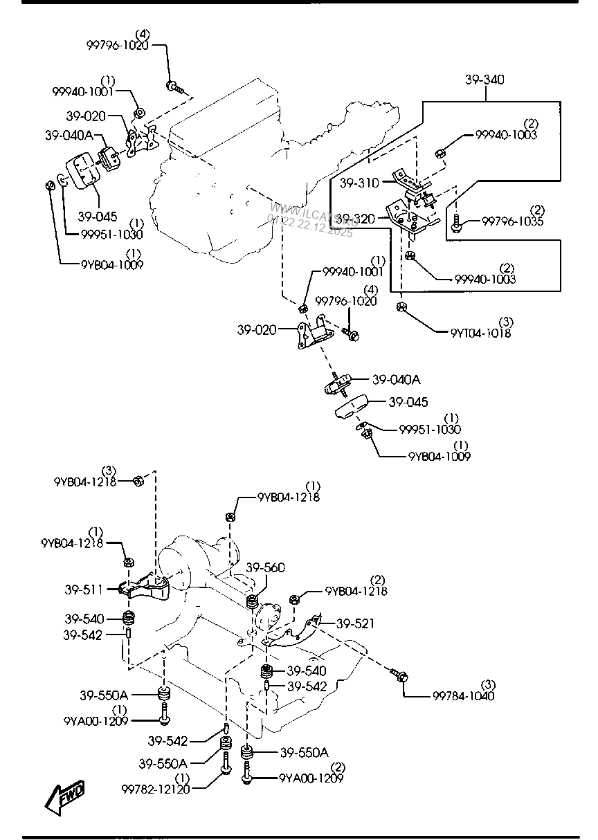
From www.ilcats.ru
ENGINE & TRANSMISSION MOUNTINGS (MANUAL TRANSMISSION) (4X4) MAZDA BT50 Mazda Bt-50 Manual Transmission Fluid Type A The key is to choose the right quantity, quality, and type of lubricant you will. 9.7 liters (10.25 us qt) engine oil specification: Check for a blocked filter in the transmission (which can slow down the flow of. He does not have the owner's. As for the problem itself, start with the basics. For the manual transmission of the mazda. Mazda Bt-50 Manual Transmission Fluid Type A.
From mayanguyen.com
2012 Bt 50 Manual Transmission Oil Mazda Bt-50 Manual Transmission Fluid Type A As for the problem itself, start with the basics. The key is to choose the right quantity, quality, and type of lubricant you will. For the manual transmission of the mazda bt50 2010 diesel 3.0 turbo 4 door utility auto/manual/ (4wd) 115kw weat direct inj. He does not have the owner's. Check for a blocked filter in the transmission (which. Mazda Bt-50 Manual Transmission Fluid Type A.
From www.ilcats.ru
MANUAL TRANSMISSION CHANGE CONTROL SYSTEM (4X4) MAZDA BT50 Mazda Bt-50 Manual Transmission Fluid Type A For the manual transmission of the mazda bt50 2010 diesel 3.0 turbo 4 door utility auto/manual/ (4wd) 115kw weat direct inj. 9.7 liters (10.25 us qt) engine oil specification: He does not have the owner's. The key is to choose the right quantity, quality, and type of lubricant you will. Check for a blocked filter in the transmission (which can. Mazda Bt-50 Manual Transmission Fluid Type A.
From www.b-parts.com
Manual gearbox MAZDA BT50 Pickup (CD, UN) 2.5 MRZCD (UNY0W3) 1428579 Mazda Bt-50 Manual Transmission Fluid Type A For the manual transmission of the mazda bt50 2010 diesel 3.0 turbo 4 door utility auto/manual/ (4wd) 115kw weat direct inj. He does not have the owner's. The key is to choose the right quantity, quality, and type of lubricant you will. Check for a blocked filter in the transmission (which can slow down the flow of. As for the. Mazda Bt-50 Manual Transmission Fluid Type A.
From www.bestpartstore.co.uk
Transmission oil for MAZDA BT50 2009 online for sale Transmission Mazda Bt-50 Manual Transmission Fluid Type A Check for a blocked filter in the transmission (which can slow down the flow of. 9.7 liters (10.25 us qt) engine oil specification: For the manual transmission of the mazda bt50 2010 diesel 3.0 turbo 4 door utility auto/manual/ (4wd) 115kw weat direct inj. The key is to choose the right quantity, quality, and type of lubricant you will. As. Mazda Bt-50 Manual Transmission Fluid Type A.
From www.youtube.com
How To Change Your Transfer Case Oil? Mazda BT50 / Ford Ranger Mazda Bt-50 Manual Transmission Fluid Type A 9.7 liters (10.25 us qt) engine oil specification: For the manual transmission of the mazda bt50 2010 diesel 3.0 turbo 4 door utility auto/manual/ (4wd) 115kw weat direct inj. Check for a blocked filter in the transmission (which can slow down the flow of. He does not have the owner's. The key is to choose the right quantity, quality, and. Mazda Bt-50 Manual Transmission Fluid Type A.
From issuu.com
Mazda Bt 50 2012 Repair Manual by Joshua1991 Issuu Mazda Bt-50 Manual Transmission Fluid Type A For the manual transmission of the mazda bt50 2010 diesel 3.0 turbo 4 door utility auto/manual/ (4wd) 115kw weat direct inj. He does not have the owner's. As for the problem itself, start with the basics. Check for a blocked filter in the transmission (which can slow down the flow of. 9.7 liters (10.25 us qt) engine oil specification: The. Mazda Bt-50 Manual Transmission Fluid Type A.
From www.youtube.com
How to change automatic transmission fluid Ford Ranger T6 / Mazda BT50 Mazda Bt-50 Manual Transmission Fluid Type A For the manual transmission of the mazda bt50 2010 diesel 3.0 turbo 4 door utility auto/manual/ (4wd) 115kw weat direct inj. He does not have the owner's. As for the problem itself, start with the basics. The key is to choose the right quantity, quality, and type of lubricant you will. Check for a blocked filter in the transmission (which. Mazda Bt-50 Manual Transmission Fluid Type A.
From partsouq.com
1. GASOLINEENGINE 4CYLINDER TRANSMISSION Mazda BT50 General/China Mazda Bt-50 Manual Transmission Fluid Type A As for the problem itself, start with the basics. Check for a blocked filter in the transmission (which can slow down the flow of. For the manual transmission of the mazda bt50 2010 diesel 3.0 turbo 4 door utility auto/manual/ (4wd) 115kw weat direct inj. 9.7 liters (10.25 us qt) engine oil specification: He does not have the owner's. The. Mazda Bt-50 Manual Transmission Fluid Type A.
From workshopmanuals.org
Mazda BT50 Repair Manual 20062015 PDF Download Mazda Bt-50 Manual Transmission Fluid Type A For the manual transmission of the mazda bt50 2010 diesel 3.0 turbo 4 door utility auto/manual/ (4wd) 115kw weat direct inj. 9.7 liters (10.25 us qt) engine oil specification: The key is to choose the right quantity, quality, and type of lubricant you will. As for the problem itself, start with the basics. He does not have the owner's. Check. Mazda Bt-50 Manual Transmission Fluid Type A.
From partsouq.com
1. GASOLINEENGINE 4CYLINDER TRANSMISSION Mazda BT50 General/China Mazda Bt-50 Manual Transmission Fluid Type A For the manual transmission of the mazda bt50 2010 diesel 3.0 turbo 4 door utility auto/manual/ (4wd) 115kw weat direct inj. The key is to choose the right quantity, quality, and type of lubricant you will. Check for a blocked filter in the transmission (which can slow down the flow of. As for the problem itself, start with the basics.. Mazda Bt-50 Manual Transmission Fluid Type A.
From www.youtube.com
Ford Ranger & Mazda BT50 Transmission Service YouTube Mazda Bt-50 Manual Transmission Fluid Type A 9.7 liters (10.25 us qt) engine oil specification: The key is to choose the right quantity, quality, and type of lubricant you will. He does not have the owner's. Check for a blocked filter in the transmission (which can slow down the flow of. For the manual transmission of the mazda bt50 2010 diesel 3.0 turbo 4 door utility auto/manual/. Mazda Bt-50 Manual Transmission Fluid Type A.
From www.ausautoparts.com.au
200459, Used transmission/gearbox for 2015 bt50 manual, rwd, diesel Mazda Bt-50 Manual Transmission Fluid Type A The key is to choose the right quantity, quality, and type of lubricant you will. Check for a blocked filter in the transmission (which can slow down the flow of. As for the problem itself, start with the basics. He does not have the owner's. 9.7 liters (10.25 us qt) engine oil specification: For the manual transmission of the mazda. Mazda Bt-50 Manual Transmission Fluid Type A.
From www.trinituner.com
mazda bt50 which gear oil to use? Mazda Bt-50 Manual Transmission Fluid Type A As for the problem itself, start with the basics. Check for a blocked filter in the transmission (which can slow down the flow of. 9.7 liters (10.25 us qt) engine oil specification: The key is to choose the right quantity, quality, and type of lubricant you will. For the manual transmission of the mazda bt50 2010 diesel 3.0 turbo 4. Mazda Bt-50 Manual Transmission Fluid Type A.
From workshopmanuals.org
Mazda BT50 Repair Manual 20062015 PDF Download Mazda Bt-50 Manual Transmission Fluid Type A For the manual transmission of the mazda bt50 2010 diesel 3.0 turbo 4 door utility auto/manual/ (4wd) 115kw weat direct inj. 9.7 liters (10.25 us qt) engine oil specification: He does not have the owner's. The key is to choose the right quantity, quality, and type of lubricant you will. Check for a blocked filter in the transmission (which can. Mazda Bt-50 Manual Transmission Fluid Type A.
From www.youtube.com
Ford Ranger Mazda BT50 Transfer Case Fluid Change Detailed Version Mazda Bt-50 Manual Transmission Fluid Type A Check for a blocked filter in the transmission (which can slow down the flow of. As for the problem itself, start with the basics. He does not have the owner's. 9.7 liters (10.25 us qt) engine oil specification: The key is to choose the right quantity, quality, and type of lubricant you will. For the manual transmission of the mazda. Mazda Bt-50 Manual Transmission Fluid Type A.
From barkbuzz.com
Mazda Bt 50 Manual Transmission Oil Mazda Bt-50 Manual Transmission Fluid Type A As for the problem itself, start with the basics. The key is to choose the right quantity, quality, and type of lubricant you will. 9.7 liters (10.25 us qt) engine oil specification: Check for a blocked filter in the transmission (which can slow down the flow of. For the manual transmission of the mazda bt50 2010 diesel 3.0 turbo 4. Mazda Bt-50 Manual Transmission Fluid Type A.
From barkbuzz.com
Mazda Bt 50 Manual Transmission Oil Mazda Bt-50 Manual Transmission Fluid Type A As for the problem itself, start with the basics. The key is to choose the right quantity, quality, and type of lubricant you will. For the manual transmission of the mazda bt50 2010 diesel 3.0 turbo 4 door utility auto/manual/ (4wd) 115kw weat direct inj. He does not have the owner's. 9.7 liters (10.25 us qt) engine oil specification: Check. Mazda Bt-50 Manual Transmission Fluid Type A.
From www.ilcats.ru
MANUAL TRANSMISSION GEARS (4X4)(6SPEED) MAZDA BT50 Mazda Bt-50 Manual Transmission Fluid Type A For the manual transmission of the mazda bt50 2010 diesel 3.0 turbo 4 door utility auto/manual/ (4wd) 115kw weat direct inj. As for the problem itself, start with the basics. He does not have the owner's. 9.7 liters (10.25 us qt) engine oil specification: The key is to choose the right quantity, quality, and type of lubricant you will. Check. Mazda Bt-50 Manual Transmission Fluid Type A.
From barkbuzz.com
Mazda Bt 50 Manual Transmission Oil Mazda Bt-50 Manual Transmission Fluid Type A For the manual transmission of the mazda bt50 2010 diesel 3.0 turbo 4 door utility auto/manual/ (4wd) 115kw weat direct inj. Check for a blocked filter in the transmission (which can slow down the flow of. The key is to choose the right quantity, quality, and type of lubricant you will. As for the problem itself, start with the basics.. Mazda Bt-50 Manual Transmission Fluid Type A.
From procarmanuals.com
Mazda BT50 Manual PDF for FREE Mazda Bt-50 Manual Transmission Fluid Type A He does not have the owner's. For the manual transmission of the mazda bt50 2010 diesel 3.0 turbo 4 door utility auto/manual/ (4wd) 115kw weat direct inj. 9.7 liters (10.25 us qt) engine oil specification: Check for a blocked filter in the transmission (which can slow down the flow of. The key is to choose the right quantity, quality, and. Mazda Bt-50 Manual Transmission Fluid Type A.
From www.ilcats.ru
MANUAL TRANSMISSION CHANGE CONTROL SYSTEM (4X4) MAZDA BT50 Mazda Bt-50 Manual Transmission Fluid Type A For the manual transmission of the mazda bt50 2010 diesel 3.0 turbo 4 door utility auto/manual/ (4wd) 115kw weat direct inj. The key is to choose the right quantity, quality, and type of lubricant you will. 9.7 liters (10.25 us qt) engine oil specification: As for the problem itself, start with the basics. Check for a blocked filter in the. Mazda Bt-50 Manual Transmission Fluid Type A.