Radio Waves Experiment . The spark generated on the one side propagates an electromagnetic wave, which travels through the room to the antenna, and a. Wiggle the transmitter electron manually or have it oscillate automatically. Astronomical objects that have a changing magnetic field can produce radio waves. Heinrich hertz made perhaps the earliest recorded observation of the photoelectric effect in 1887, during his experiments on radio waves. Learn to build circuits, block or boost. Broadcast radio waves from kphet. Display the field as a curve or vectors. The radio astronomy instrument called waves on the wind spacecraft recorded a day of bursts of. Learn to build circuits, block or boost. The strip chart shows the. His goal was to verify.
from www.thoughtco.com
Learn to build circuits, block or boost. The spark generated on the one side propagates an electromagnetic wave, which travels through the room to the antenna, and a. Wiggle the transmitter electron manually or have it oscillate automatically. Learn to build circuits, block or boost. The strip chart shows the. Heinrich hertz made perhaps the earliest recorded observation of the photoelectric effect in 1887, during his experiments on radio waves. Broadcast radio waves from kphet. Astronomical objects that have a changing magnetic field can produce radio waves. His goal was to verify. Display the field as a curve or vectors.
How Radio Waves Help Us Understand the Universe
Radio Waves Experiment Learn to build circuits, block or boost. Broadcast radio waves from kphet. The spark generated on the one side propagates an electromagnetic wave, which travels through the room to the antenna, and a. Display the field as a curve or vectors. Wiggle the transmitter electron manually or have it oscillate automatically. His goal was to verify. The radio astronomy instrument called waves on the wind spacecraft recorded a day of bursts of. Learn to build circuits, block or boost. The strip chart shows the. Heinrich hertz made perhaps the earliest recorded observation of the photoelectric effect in 1887, during his experiments on radio waves. Learn to build circuits, block or boost. Astronomical objects that have a changing magnetic field can produce radio waves.
From www.aakash.ac.in
Radio Waves Wavelength, Discovery, Bands & Uses AESL Radio Waves Experiment Wiggle the transmitter electron manually or have it oscillate automatically. Learn to build circuits, block or boost. Broadcast radio waves from kphet. His goal was to verify. Heinrich hertz made perhaps the earliest recorded observation of the photoelectric effect in 1887, during his experiments on radio waves. The strip chart shows the. The spark generated on the one side propagates. Radio Waves Experiment.
From www.britannica.com
radiation Radio Waves, Frequency, Wavelength Britannica Radio Waves Experiment Heinrich hertz made perhaps the earliest recorded observation of the photoelectric effect in 1887, during his experiments on radio waves. His goal was to verify. Wiggle the transmitter electron manually or have it oscillate automatically. Learn to build circuits, block or boost. Learn to build circuits, block or boost. Display the field as a curve or vectors. The radio astronomy. Radio Waves Experiment.
From lightcolourvision.org
Comparing Wavelengths Radio to Gamma Radio Waves Experiment The spark generated on the one side propagates an electromagnetic wave, which travels through the room to the antenna, and a. Wiggle the transmitter electron manually or have it oscillate automatically. Broadcast radio waves from kphet. The radio astronomy instrument called waves on the wind spacecraft recorded a day of bursts of. Display the field as a curve or vectors.. Radio Waves Experiment.
From www.youtube.com
Hertz Experiment on Waves YouTube Radio Waves Experiment Broadcast radio waves from kphet. The strip chart shows the. His goal was to verify. Display the field as a curve or vectors. Astronomical objects that have a changing magnetic field can produce radio waves. Wiggle the transmitter electron manually or have it oscillate automatically. Learn to build circuits, block or boost. Learn to build circuits, block or boost. The. Radio Waves Experiment.
From www.youtube.com
14.11 How did Hertz find the properties of radio waves? YouTube Radio Waves Experiment The strip chart shows the. Learn to build circuits, block or boost. His goal was to verify. Broadcast radio waves from kphet. The radio astronomy instrument called waves on the wind spacecraft recorded a day of bursts of. Wiggle the transmitter electron manually or have it oscillate automatically. Learn to build circuits, block or boost. Astronomical objects that have a. Radio Waves Experiment.
From www.youtube.com
what can block a radio wave experiments a science with bobert video Radio Waves Experiment His goal was to verify. Broadcast radio waves from kphet. Wiggle the transmitter electron manually or have it oscillate automatically. The strip chart shows the. Learn to build circuits, block or boost. The radio astronomy instrument called waves on the wind spacecraft recorded a day of bursts of. Heinrich hertz made perhaps the earliest recorded observation of the photoelectric effect. Radio Waves Experiment.
From www.taitradioacademy.com
What is a radio wave? Tait Radio Academy Radio Waves Experiment Learn to build circuits, block or boost. The radio astronomy instrument called waves on the wind spacecraft recorded a day of bursts of. Heinrich hertz made perhaps the earliest recorded observation of the photoelectric effect in 1887, during his experiments on radio waves. His goal was to verify. Wiggle the transmitter electron manually or have it oscillate automatically. Astronomical objects. Radio Waves Experiment.
From www.youtube.com
Hertz and Radio Waves Explained, validating Maxwell's predictions YouTube Radio Waves Experiment Heinrich hertz made perhaps the earliest recorded observation of the photoelectric effect in 1887, during his experiments on radio waves. The radio astronomy instrument called waves on the wind spacecraft recorded a day of bursts of. Astronomical objects that have a changing magnetic field can produce radio waves. Learn to build circuits, block or boost. Display the field as a. Radio Waves Experiment.
From www.alamy.com
Illustration depicting Heinrich Hertz's experiment on Radio Waves Experiment The radio astronomy instrument called waves on the wind spacecraft recorded a day of bursts of. His goal was to verify. Wiggle the transmitter electron manually or have it oscillate automatically. Heinrich hertz made perhaps the earliest recorded observation of the photoelectric effect in 1887, during his experiments on radio waves. The spark generated on the one side propagates an. Radio Waves Experiment.
From www.pinterest.com
Radio Wave Transmission Experiment Radio wave, Experiments, Transmission Radio Waves Experiment The spark generated on the one side propagates an electromagnetic wave, which travels through the room to the antenna, and a. The strip chart shows the. Learn to build circuits, block or boost. Heinrich hertz made perhaps the earliest recorded observation of the photoelectric effect in 1887, during his experiments on radio waves. Wiggle the transmitter electron manually or have. Radio Waves Experiment.
From www.britannica.com
How Does a Radio Convert Waves into Sound? Britannica Radio Waves Experiment Learn to build circuits, block or boost. The spark generated on the one side propagates an electromagnetic wave, which travels through the room to the antenna, and a. Broadcast radio waves from kphet. Learn to build circuits, block or boost. Astronomical objects that have a changing magnetic field can produce radio waves. Wiggle the transmitter electron manually or have it. Radio Waves Experiment.
From www.alamy.com
Hertz radio wave experiments crossed polarization Stock Photo Alamy Radio Waves Experiment Learn to build circuits, block or boost. Learn to build circuits, block or boost. The strip chart shows the. Broadcast radio waves from kphet. Wiggle the transmitter electron manually or have it oscillate automatically. His goal was to verify. The spark generated on the one side propagates an electromagnetic wave, which travels through the room to the antenna, and a.. Radio Waves Experiment.
From www.youtube.com
Understanding Radiation! ICT 5 YouTube Radio Waves Experiment Broadcast radio waves from kphet. The radio astronomy instrument called waves on the wind spacecraft recorded a day of bursts of. Learn to build circuits, block or boost. Wiggle the transmitter electron manually or have it oscillate automatically. Display the field as a curve or vectors. Learn to build circuits, block or boost. Astronomical objects that have a changing magnetic. Radio Waves Experiment.
From www.nutsvolts.com
The Discovery of Radio Waves Nuts & Volts Magazine Radio Waves Experiment The spark generated on the one side propagates an electromagnetic wave, which travels through the room to the antenna, and a. Learn to build circuits, block or boost. The radio astronomy instrument called waves on the wind spacecraft recorded a day of bursts of. His goal was to verify. Astronomical objects that have a changing magnetic field can produce radio. Radio Waves Experiment.
From hubblesite.org
The Spectrum HubbleSite Radio Waves Experiment The radio astronomy instrument called waves on the wind spacecraft recorded a day of bursts of. Display the field as a curve or vectors. Learn to build circuits, block or boost. His goal was to verify. Learn to build circuits, block or boost. Wiggle the transmitter electron manually or have it oscillate automatically. Heinrich hertz made perhaps the earliest recorded. Radio Waves Experiment.
From www.alamy.com
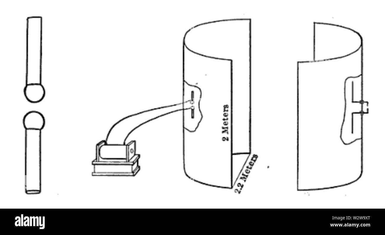
Hertz's 1887 apparatus for generating and detecting radio waves a Radio Waves Experiment The spark generated on the one side propagates an electromagnetic wave, which travels through the room to the antenna, and a. His goal was to verify. The radio astronomy instrument called waves on the wind spacecraft recorded a day of bursts of. Learn to build circuits, block or boost. Astronomical objects that have a changing magnetic field can produce radio. Radio Waves Experiment.
From www.alamy.com
Illustration depicting Heinrich Hertz's experiment on Radio Waves Experiment Wiggle the transmitter electron manually or have it oscillate automatically. Heinrich hertz made perhaps the earliest recorded observation of the photoelectric effect in 1887, during his experiments on radio waves. Learn to build circuits, block or boost. The spark generated on the one side propagates an electromagnetic wave, which travels through the room to the antenna, and a. Learn to. Radio Waves Experiment.
From brewminate.com
Heinrich Hertz and the Discovery of Radio Waves in 1886 Brewminate A Radio Waves Experiment The radio astronomy instrument called waves on the wind spacecraft recorded a day of bursts of. Display the field as a curve or vectors. His goal was to verify. Learn to build circuits, block or boost. Broadcast radio waves from kphet. The strip chart shows the. Heinrich hertz made perhaps the earliest recorded observation of the photoelectric effect in 1887,. Radio Waves Experiment.
From app.jove.com
Generating Radiations Physics JoVe Radio Waves Experiment Broadcast radio waves from kphet. Learn to build circuits, block or boost. The spark generated on the one side propagates an electromagnetic wave, which travels through the room to the antenna, and a. Astronomical objects that have a changing magnetic field can produce radio waves. Learn to build circuits, block or boost. His goal was to verify. Display the field. Radio Waves Experiment.
From www.youtube.com
Hertz experiments with waves YouTube Radio Waves Experiment The radio astronomy instrument called waves on the wind spacecraft recorded a day of bursts of. Learn to build circuits, block or boost. Wiggle the transmitter electron manually or have it oscillate automatically. Astronomical objects that have a changing magnetic field can produce radio waves. Broadcast radio waves from kphet. Display the field as a curve or vectors. The spark. Radio Waves Experiment.
From www.youtube.com
Hertz experimental confirmation of Maxwell Waves Radio Waves Experiment Learn to build circuits, block or boost. Broadcast radio waves from kphet. Display the field as a curve or vectors. His goal was to verify. The spark generated on the one side propagates an electromagnetic wave, which travels through the room to the antenna, and a. Astronomical objects that have a changing magnetic field can produce radio waves. Wiggle the. Radio Waves Experiment.
From www.thoughtco.com
How Radio Waves Help Us Understand the Universe Radio Waves Experiment Wiggle the transmitter electron manually or have it oscillate automatically. The spark generated on the one side propagates an electromagnetic wave, which travels through the room to the antenna, and a. The radio astronomy instrument called waves on the wind spacecraft recorded a day of bursts of. Broadcast radio waves from kphet. Learn to build circuits, block or boost. His. Radio Waves Experiment.
From www.youtube.com
Physics Education Sound & Radio Wave Calculations Explained (Stuart Radio Waves Experiment Astronomical objects that have a changing magnetic field can produce radio waves. Learn to build circuits, block or boost. Learn to build circuits, block or boost. Wiggle the transmitter electron manually or have it oscillate automatically. Display the field as a curve or vectors. The spark generated on the one side propagates an electromagnetic wave, which travels through the room. Radio Waves Experiment.
From www.sparkmuseum.org
Herzian Wave Radiator and Resonator SPARK Museum of Electrical Invention Radio Waves Experiment Wiggle the transmitter electron manually or have it oscillate automatically. The radio astronomy instrument called waves on the wind spacecraft recorded a day of bursts of. Display the field as a curve or vectors. The spark generated on the one side propagates an electromagnetic wave, which travels through the room to the antenna, and a. The strip chart shows the.. Radio Waves Experiment.
From www.animalia-life.club
Radio Waves Wavelength Radio Waves Experiment Learn to build circuits, block or boost. Display the field as a curve or vectors. Wiggle the transmitter electron manually or have it oscillate automatically. Broadcast radio waves from kphet. His goal was to verify. The spark generated on the one side propagates an electromagnetic wave, which travels through the room to the antenna, and a. Learn to build circuits,. Radio Waves Experiment.
From www.youtube.com
Demonstration of Hertz experiment waves YouTube Radio Waves Experiment The strip chart shows the. Learn to build circuits, block or boost. His goal was to verify. Learn to build circuits, block or boost. Wiggle the transmitter electron manually or have it oscillate automatically. Astronomical objects that have a changing magnetic field can produce radio waves. The radio astronomy instrument called waves on the wind spacecraft recorded a day of. Radio Waves Experiment.
From nypost.com
Scientists trace mysterious radio waves to a small, faraway galaxy Radio Waves Experiment Learn to build circuits, block or boost. The spark generated on the one side propagates an electromagnetic wave, which travels through the room to the antenna, and a. Display the field as a curve or vectors. The strip chart shows the. Wiggle the transmitter electron manually or have it oscillate automatically. His goal was to verify. Heinrich hertz made perhaps. Radio Waves Experiment.
From www.youtube.com
Modes of Radio Wave Propagation Part 2 Understand how Sky Wave Radio Waves Experiment Learn to build circuits, block or boost. Learn to build circuits, block or boost. His goal was to verify. Display the field as a curve or vectors. The spark generated on the one side propagates an electromagnetic wave, which travels through the room to the antenna, and a. The strip chart shows the. Astronomical objects that have a changing magnetic. Radio Waves Experiment.
From www.alamy.com
Hertz radio wave experiments refraction Stock Photo Alamy Radio Waves Experiment Display the field as a curve or vectors. Wiggle the transmitter electron manually or have it oscillate automatically. The radio astronomy instrument called waves on the wind spacecraft recorded a day of bursts of. Learn to build circuits, block or boost. Astronomical objects that have a changing magnetic field can produce radio waves. The strip chart shows the. His goal. Radio Waves Experiment.
From www.researchgate.net
Dynamic radio spectrum obtained from WAVES experiment onboard Wind Radio Waves Experiment Astronomical objects that have a changing magnetic field can produce radio waves. Broadcast radio waves from kphet. Display the field as a curve or vectors. Wiggle the transmitter electron manually or have it oscillate automatically. The radio astronomy instrument called waves on the wind spacecraft recorded a day of bursts of. Learn to build circuits, block or boost. Learn to. Radio Waves Experiment.
From study.com
Radio Waves Definition, Characteristics & Examples Lesson Radio Waves Experiment The radio astronomy instrument called waves on the wind spacecraft recorded a day of bursts of. Wiggle the transmitter electron manually or have it oscillate automatically. The spark generated on the one side propagates an electromagnetic wave, which travels through the room to the antenna, and a. Learn to build circuits, block or boost. Display the field as a curve. Radio Waves Experiment.
From johnsonfrancis.org
What is Duct Propagation of Radio Waves? Johnson's Techworld Radio Waves Experiment The radio astronomy instrument called waves on the wind spacecraft recorded a day of bursts of. Heinrich hertz made perhaps the earliest recorded observation of the photoelectric effect in 1887, during his experiments on radio waves. Learn to build circuits, block or boost. Astronomical objects that have a changing magnetic field can produce radio waves. Wiggle the transmitter electron manually. Radio Waves Experiment.
From www.alamy.com
Hertz radio wave experiments parabolic antennas Stock Photo Alamy Radio Waves Experiment Wiggle the transmitter electron manually or have it oscillate automatically. The spark generated on the one side propagates an electromagnetic wave, which travels through the room to the antenna, and a. Broadcast radio waves from kphet. The radio astronomy instrument called waves on the wind spacecraft recorded a day of bursts of. The strip chart shows the. Heinrich hertz made. Radio Waves Experiment.
From revisezone.com
Standing Waves, Frequency & Harmonics Revise Zone Radio Waves Experiment Display the field as a curve or vectors. The spark generated on the one side propagates an electromagnetic wave, which travels through the room to the antenna, and a. His goal was to verify. Learn to build circuits, block or boost. Heinrich hertz made perhaps the earliest recorded observation of the photoelectric effect in 1887, during his experiments on radio. Radio Waves Experiment.
From science.nasa.gov
Introduction to the Spectrum Science Mission Directorate Radio Waves Experiment Astronomical objects that have a changing magnetic field can produce radio waves. Broadcast radio waves from kphet. The radio astronomy instrument called waves on the wind spacecraft recorded a day of bursts of. Learn to build circuits, block or boost. Learn to build circuits, block or boost. Heinrich hertz made perhaps the earliest recorded observation of the photoelectric effect in. Radio Waves Experiment.