Yamaha Ef3000Ise Parts Diagram . Complete exploded views of all the major manufacturers. Yamaha ef3000ise generator exploded view parts lookup by model. This manual will provide you with a good basic understanding of the operation and main. Complete exploded views of all the major manufacturers. It is easy and free Yamaha ef3000ise exploded view parts lookup by model. Buy oem parts for yamaha, power equipment, ef3000iseb. View and download yamaha ef3000ise new model manual online. Ef3000ise portable generator pdf manual download. It is easy and free View and download yamaha ef3000ise service manual online. Click on the links below to download the pdf documents. Service manual ef1000is ef2000is/isc ef2200is ef2400is ef2600is. Congratulations on your purchase of your new yamaha. Buy oem parts for yamaha power equipment ef3000ise generator diagram.
from www.partzilla.com
Congratulations on your purchase of your new yamaha. Complete exploded views of all the major manufacturers. Service manual ef1000is ef2000is/isc ef2200is ef2400is ef2600is. Complete exploded views of all the major manufacturers. View and download yamaha ef3000ise new model manual online. Ef3000ise portable generator pdf manual download. It is easy and free This manual will provide you with a good basic understanding of the operation and main. View and download yamaha ef3000ise service manual online. Buy oem parts for yamaha, power equipment, ef3000iseb.
Yamaha Power Equipment EF3000ISE OEM Parts Diagram for Crankshaft
Yamaha Ef3000Ise Parts Diagram Yamaha ef3000ise generator exploded view parts lookup by model. Buy oem parts for yamaha, power equipment, ef3000iseb. Click on the links below to download the pdf documents. It is easy and free View and download yamaha ef3000ise new model manual online. Ef3000ise portable generator pdf manual download. Ef3000ise portable generator pdf manual download. Buy oem parts for yamaha power equipment ef3000ise generator diagram. Complete exploded views of all the major manufacturers. Yamaha ef3000ise exploded view parts lookup by model. Yamaha ef3000ise generator exploded view parts lookup by model. Service manual ef1000is ef2000is/isc ef2200is ef2400is ef2600is. View and download yamaha ef3000ise service manual online. Complete exploded views of all the major manufacturers. It is easy and free Congratulations on your purchase of your new yamaha.
From www.heydownloads.com
Yamaha EF3000iSE Service Repair Manual PDF DOWNLOAD HeyDownloads Yamaha Ef3000Ise Parts Diagram It is easy and free Ef3000ise portable generator pdf manual download. Ef3000ise portable generator pdf manual download. Buy oem parts for yamaha, power equipment, ef3000iseb. Yamaha ef3000ise generator exploded view parts lookup by model. View and download yamaha ef3000ise service manual online. Buy oem parts for yamaha power equipment ef3000ise generator diagram. This manual will provide you with a good. Yamaha Ef3000Ise Parts Diagram.
From www.probosque.mx
Partes de Escape del diagrama IPL Yamaha Generador Inversor EF3000iSE Yamaha Ef3000Ise Parts Diagram Complete exploded views of all the major manufacturers. Complete exploded views of all the major manufacturers. Buy oem parts for yamaha power equipment ef3000ise generator diagram. Ef3000ise portable generator pdf manual download. Buy oem parts for yamaha, power equipment, ef3000iseb. View and download yamaha ef3000ise new model manual online. Yamaha ef3000ise generator exploded view parts lookup by model. Yamaha ef3000ise. Yamaha Ef3000Ise Parts Diagram.
From www.cmsnl.com
Clip, Pipe Ef3000ise 7wl2 Ef3000iseb 7wl2 Generator 2002 22F1413900 Yamaha Ef3000Ise Parts Diagram It is easy and free Ef3000ise portable generator pdf manual download. Congratulations on your purchase of your new yamaha. Click on the links below to download the pdf documents. Buy oem parts for yamaha, power equipment, ef3000iseb. Complete exploded views of all the major manufacturers. Service manual ef1000is ef2000is/isc ef2200is ef2400is ef2600is. Yamaha ef3000ise generator exploded view parts lookup by. Yamaha Ef3000Ise Parts Diagram.
From www.partzilla.com
Yamaha Power Equipment EF3000ISE OEM Parts Diagram for CYLINDER Yamaha Ef3000Ise Parts Diagram Complete exploded views of all the major manufacturers. Yamaha ef3000ise exploded view parts lookup by model. Click on the links below to download the pdf documents. It is easy and free View and download yamaha ef3000ise service manual online. Complete exploded views of all the major manufacturers. Congratulations on your purchase of your new yamaha. View and download yamaha ef3000ise. Yamaha Ef3000Ise Parts Diagram.
From www.cmsnl.com
Yamaha EF3000ISE 7WL2 EF3000ISEB 7WL2 GENERATOR 2002 FRAME 2 buy Yamaha Ef3000Ise Parts Diagram View and download yamaha ef3000ise service manual online. Buy oem parts for yamaha power equipment ef3000ise generator diagram. Ef3000ise portable generator pdf manual download. It is easy and free Buy oem parts for yamaha, power equipment, ef3000iseb. This manual will provide you with a good basic understanding of the operation and main. Complete exploded views of all the major manufacturers.. Yamaha Ef3000Ise Parts Diagram.
From www.jackssmallengines.com
Yamaha EF3000ISEB Parts Diagram for CYLINDER Yamaha Ef3000Ise Parts Diagram It is easy and free View and download yamaha ef3000ise service manual online. Click on the links below to download the pdf documents. Buy oem parts for yamaha, power equipment, ef3000iseb. View and download yamaha ef3000ise new model manual online. Ef3000ise portable generator pdf manual download. It is easy and free Service manual ef1000is ef2000is/isc ef2200is ef2400is ef2600is. Yamaha ef3000ise. Yamaha Ef3000Ise Parts Diagram.
From www.partzilla.com
Yamaha Power Equipment EF3000ISE OEM Parts Diagram for Air Shroud Yamaha Ef3000Ise Parts Diagram It is easy and free View and download yamaha ef3000ise new model manual online. Service manual ef1000is ef2000is/isc ef2200is ef2400is ef2600is. Buy oem parts for yamaha power equipment ef3000ise generator diagram. This manual will provide you with a good basic understanding of the operation and main. Complete exploded views of all the major manufacturers. Click on the links below to. Yamaha Ef3000Ise Parts Diagram.
From www.probosque.mx
Diagrama IPL Yamaha Generador Inversor EF3000iSE 171 CC Probosque Yamaha Ef3000Ise Parts Diagram Ef3000ise portable generator pdf manual download. It is easy and free Congratulations on your purchase of your new yamaha. View and download yamaha ef3000ise service manual online. Yamaha ef3000ise exploded view parts lookup by model. Buy oem parts for yamaha, power equipment, ef3000iseb. Complete exploded views of all the major manufacturers. Ef3000ise portable generator pdf manual download. Click on the. Yamaha Ef3000Ise Parts Diagram.
From www.jackssmallengines.com
Yamaha EF3000ISEB Parts Diagram for INTAKE Yamaha Ef3000Ise Parts Diagram It is easy and free Click on the links below to download the pdf documents. Ef3000ise portable generator pdf manual download. Complete exploded views of all the major manufacturers. View and download yamaha ef3000ise service manual online. This manual will provide you with a good basic understanding of the operation and main. Buy oem parts for yamaha, power equipment, ef3000iseb.. Yamaha Ef3000Ise Parts Diagram.
From www.jackssmallengines.com
Yamaha EF3000ISE Parts Diagram for Yamaha Ef3000Ise Parts Diagram View and download yamaha ef3000ise new model manual online. Buy oem parts for yamaha power equipment ef3000ise generator diagram. Yamaha ef3000ise exploded view parts lookup by model. This manual will provide you with a good basic understanding of the operation and main. Buy oem parts for yamaha, power equipment, ef3000iseb. Ef3000ise portable generator pdf manual download. It is easy and. Yamaha Ef3000Ise Parts Diagram.
From www.repairanswers.net
Yamaha EF3000iSE, EF3000iSEB Spark Plug Repair Answers Yamaha Ef3000Ise Parts Diagram Service manual ef1000is ef2000is/isc ef2200is ef2400is ef2600is. Complete exploded views of all the major manufacturers. It is easy and free It is easy and free View and download yamaha ef3000ise service manual online. View and download yamaha ef3000ise new model manual online. Buy oem parts for yamaha, power equipment, ef3000iseb. Complete exploded views of all the major manufacturers. Yamaha ef3000ise. Yamaha Ef3000Ise Parts Diagram.
From www.cmsnl.com
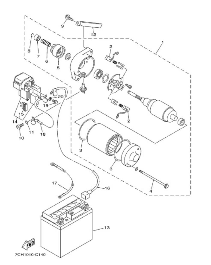
Yamaha EF3000ISE 7WL2 EF3000ISEB 7WL2 GENERATOR 2002 STARTING MOTOR Yamaha Ef3000Ise Parts Diagram Click on the links below to download the pdf documents. Ef3000ise portable generator pdf manual download. Complete exploded views of all the major manufacturers. It is easy and free It is easy and free Congratulations on your purchase of your new yamaha. Buy oem parts for yamaha power equipment ef3000ise generator diagram. Yamaha ef3000ise generator exploded view parts lookup by. Yamaha Ef3000Ise Parts Diagram.
From www.partzilla.com
Yamaha Power Equipment EF3000ISE OEM Parts Diagram for FUEL TANK Yamaha Ef3000Ise Parts Diagram It is easy and free Ef3000ise portable generator pdf manual download. View and download yamaha ef3000ise service manual online. This manual will provide you with a good basic understanding of the operation and main. Buy oem parts for yamaha power equipment ef3000ise generator diagram. Service manual ef1000is ef2000is/isc ef2200is ef2400is ef2600is. View and download yamaha ef3000ise new model manual online.. Yamaha Ef3000Ise Parts Diagram.
From www.partzilla.com
Yamaha Power Equipment EF3000ISE OEM Parts Diagram for FRAME Yamaha Ef3000Ise Parts Diagram Congratulations on your purchase of your new yamaha. View and download yamaha ef3000ise service manual online. Yamaha ef3000ise generator exploded view parts lookup by model. Complete exploded views of all the major manufacturers. Click on the links below to download the pdf documents. This manual will provide you with a good basic understanding of the operation and main. It is. Yamaha Ef3000Ise Parts Diagram.
From www.cmsnl.com
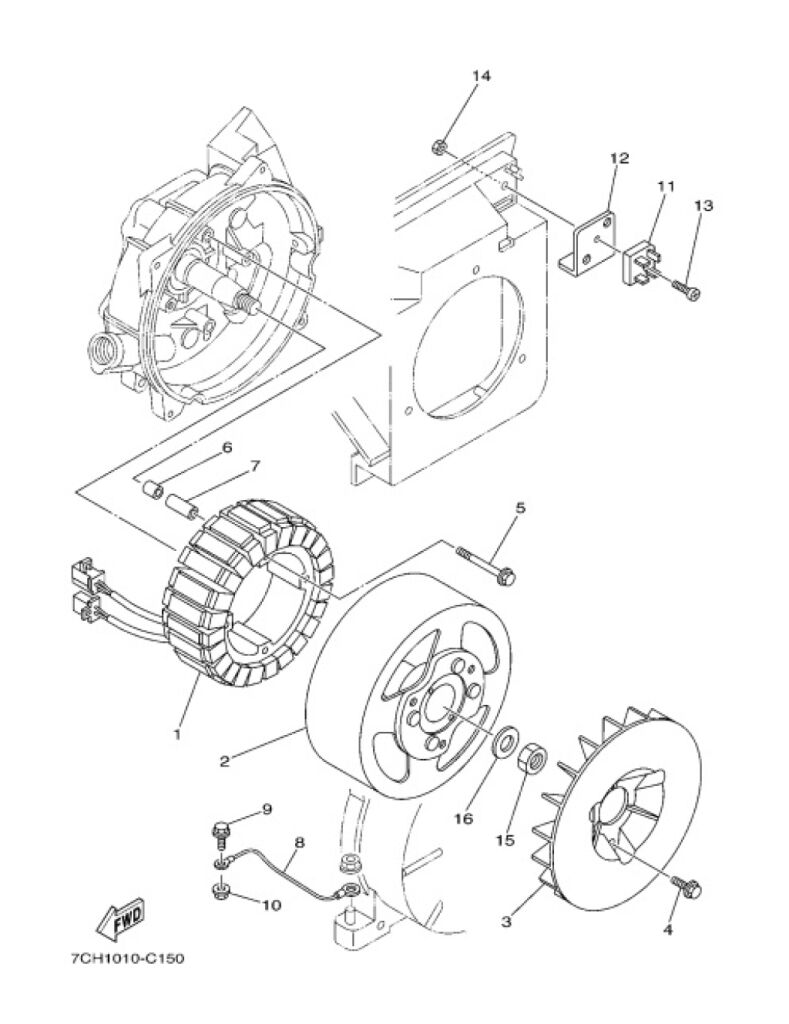
Yamaha Ef3000ise 7wl2 Ef3000iseb 7wl2 Generator 2002 Generator Yamaha Ef3000Ise Parts Diagram Ef3000ise portable generator pdf manual download. Ef3000ise portable generator pdf manual download. View and download yamaha ef3000ise service manual online. Yamaha ef3000ise exploded view parts lookup by model. This manual will provide you with a good basic understanding of the operation and main. View and download yamaha ef3000ise new model manual online. Complete exploded views of all the major manufacturers.. Yamaha Ef3000Ise Parts Diagram.
From www.partzilla.com
Yamaha Power Equipment EF3000ISE OEM Parts Diagram for Crankshaft Yamaha Ef3000Ise Parts Diagram Click on the links below to download the pdf documents. Buy oem parts for yamaha power equipment ef3000ise generator diagram. Service manual ef1000is ef2000is/isc ef2200is ef2400is ef2600is. Buy oem parts for yamaha, power equipment, ef3000iseb. It is easy and free Complete exploded views of all the major manufacturers. View and download yamaha ef3000ise service manual online. Complete exploded views of. Yamaha Ef3000Ise Parts Diagram.
From 2022.markettraders.com
YAMAHA EF3000iSE EF2800i EF2400IS GENERATOR CONVERSION TRI, 45 OFF Yamaha Ef3000Ise Parts Diagram Complete exploded views of all the major manufacturers. It is easy and free Complete exploded views of all the major manufacturers. Yamaha ef3000ise exploded view parts lookup by model. View and download yamaha ef3000ise service manual online. Buy oem parts for yamaha power equipment ef3000ise generator diagram. Buy oem parts for yamaha, power equipment, ef3000iseb. It is easy and free. Yamaha Ef3000Ise Parts Diagram.
From www.todopartes.mx
Diagrama IPL Yamaha Generador Inversor EF3000iSE 171 CC TodoPartes.mx Yamaha Ef3000Ise Parts Diagram Buy oem parts for yamaha, power equipment, ef3000iseb. Complete exploded views of all the major manufacturers. Yamaha ef3000ise exploded view parts lookup by model. Congratulations on your purchase of your new yamaha. Complete exploded views of all the major manufacturers. Yamaha ef3000ise generator exploded view parts lookup by model. This manual will provide you with a good basic understanding of. Yamaha Ef3000Ise Parts Diagram.
From www.cmsnl.com
Yamaha EF3000ISE 7WL2 EF3000ISEB 7WL2 GENERATOR 2002 buy Yamaha Ef3000Ise Parts Diagram Service manual ef1000is ef2000is/isc ef2200is ef2400is ef2600is. It is easy and free View and download yamaha ef3000ise new model manual online. Yamaha ef3000ise generator exploded view parts lookup by model. This manual will provide you with a good basic understanding of the operation and main. Buy oem parts for yamaha power equipment ef3000ise generator diagram. Buy oem parts for yamaha,. Yamaha Ef3000Ise Parts Diagram.
From www.partzilla.com
Yamaha Power Equipment EF3000ISE OEM Parts Diagram for FRAME 3 Yamaha Ef3000Ise Parts Diagram Service manual ef1000is ef2000is/isc ef2200is ef2400is ef2600is. Complete exploded views of all the major manufacturers. Buy oem parts for yamaha, power equipment, ef3000iseb. Complete exploded views of all the major manufacturers. Yamaha ef3000ise exploded view parts lookup by model. View and download yamaha ef3000ise service manual online. This manual will provide you with a good basic understanding of the operation. Yamaha Ef3000Ise Parts Diagram.
From 2022.markettraders.com
Yamaha EF3000iSE, EF3000iSEB Generator Service Manual, 54 OFF Yamaha Ef3000Ise Parts Diagram Ef3000ise portable generator pdf manual download. Yamaha ef3000ise generator exploded view parts lookup by model. View and download yamaha ef3000ise service manual online. Complete exploded views of all the major manufacturers. Congratulations on your purchase of your new yamaha. It is easy and free Yamaha ef3000ise exploded view parts lookup by model. This manual will provide you with a good. Yamaha Ef3000Ise Parts Diagram.
From www.partzilla.com
Yamaha Power Equipment EF3000ISE OEM Parts Diagram for CRANKCASE Yamaha Ef3000Ise Parts Diagram Ef3000ise portable generator pdf manual download. It is easy and free This manual will provide you with a good basic understanding of the operation and main. Complete exploded views of all the major manufacturers. Yamaha ef3000ise generator exploded view parts lookup by model. Yamaha ef3000ise exploded view parts lookup by model. Ef3000ise portable generator pdf manual download. Service manual ef1000is. Yamaha Ef3000Ise Parts Diagram.
From mypowermanual.com
Yamaha EF3000iSE, EF3000iSEB Generator Service Manual MyPowerManual Yamaha Ef3000Ise Parts Diagram Complete exploded views of all the major manufacturers. Buy oem parts for yamaha, power equipment, ef3000iseb. Buy oem parts for yamaha power equipment ef3000ise generator diagram. Yamaha ef3000ise generator exploded view parts lookup by model. Complete exploded views of all the major manufacturers. Yamaha ef3000ise exploded view parts lookup by model. Ef3000ise portable generator pdf manual download. It is easy. Yamaha Ef3000Ise Parts Diagram.
From www.jackssmallengines.com
Yamaha EF3000ISE Parts Diagram for CARBURETOR Yamaha Ef3000Ise Parts Diagram Service manual ef1000is ef2000is/isc ef2200is ef2400is ef2600is. Buy oem parts for yamaha, power equipment, ef3000iseb. Complete exploded views of all the major manufacturers. This manual will provide you with a good basic understanding of the operation and main. It is easy and free Click on the links below to download the pdf documents. View and download yamaha ef3000ise service manual. Yamaha Ef3000Ise Parts Diagram.
From 2022.markettraders.com
Yamaha EF3000iSE, EF3000iSEB Generator Service Manual, 54 OFF Yamaha Ef3000Ise Parts Diagram Click on the links below to download the pdf documents. Complete exploded views of all the major manufacturers. View and download yamaha ef3000ise new model manual online. Buy oem parts for yamaha, power equipment, ef3000iseb. It is easy and free This manual will provide you with a good basic understanding of the operation and main. Congratulations on your purchase of. Yamaha Ef3000Ise Parts Diagram.
From www.cmsnl.com
Yamaha EF3000ISE 7WL2 EF3000ISEB 7WL2 GENERATOR 2002 CRANKSHAFT. PISTON Yamaha Ef3000Ise Parts Diagram View and download yamaha ef3000ise service manual online. Yamaha ef3000ise exploded view parts lookup by model. Click on the links below to download the pdf documents. Buy oem parts for yamaha power equipment ef3000ise generator diagram. This manual will provide you with a good basic understanding of the operation and main. Service manual ef1000is ef2000is/isc ef2200is ef2400is ef2600is. Ef3000ise portable. Yamaha Ef3000Ise Parts Diagram.
From www.probosque.mx
Partes de Escape del diagrama IPL Yamaha Generador Inversor EF3000iSE Yamaha Ef3000Ise Parts Diagram Complete exploded views of all the major manufacturers. View and download yamaha ef3000ise service manual online. Click on the links below to download the pdf documents. Congratulations on your purchase of your new yamaha. Service manual ef1000is ef2000is/isc ef2200is ef2400is ef2600is. Buy oem parts for yamaha, power equipment, ef3000iseb. Ef3000ise portable generator pdf manual download. It is easy and free. Yamaha Ef3000Ise Parts Diagram.
From www.cmsnl.com
Yamaha Ef3000ise 7wl2 Ef3000iseb 7wl2 Generator 2002 Control Box Yamaha Ef3000Ise Parts Diagram It is easy and free Yamaha ef3000ise generator exploded view parts lookup by model. Ef3000ise portable generator pdf manual download. View and download yamaha ef3000ise new model manual online. It is easy and free Buy oem parts for yamaha power equipment ef3000ise generator diagram. Ef3000ise portable generator pdf manual download. Complete exploded views of all the major manufacturers. Complete exploded. Yamaha Ef3000Ise Parts Diagram.
From www.heydownloads.com
Yamaha EF3000iSE Service Repair Manual PDF DOWNLOAD HeyDownloads Yamaha Ef3000Ise Parts Diagram Ef3000ise portable generator pdf manual download. Ef3000ise portable generator pdf manual download. Buy oem parts for yamaha, power equipment, ef3000iseb. It is easy and free It is easy and free View and download yamaha ef3000ise service manual online. Buy oem parts for yamaha power equipment ef3000ise generator diagram. Yamaha ef3000ise generator exploded view parts lookup by model. Congratulations on your. Yamaha Ef3000Ise Parts Diagram.
From www.jackssmallengines.com
Yamaha EF3000ISE Parts Diagram for LABELS Yamaha Ef3000Ise Parts Diagram Congratulations on your purchase of your new yamaha. Complete exploded views of all the major manufacturers. This manual will provide you with a good basic understanding of the operation and main. It is easy and free View and download yamaha ef3000ise service manual online. Service manual ef1000is ef2000is/isc ef2200is ef2400is ef2600is. It is easy and free Click on the links. Yamaha Ef3000Ise Parts Diagram.
From www.todopartes.mx
Diagrama IPL Yamaha Generador Inversor EF3000iSE 171 CC TodoPartes.mx Yamaha Ef3000Ise Parts Diagram It is easy and free Yamaha ef3000ise exploded view parts lookup by model. Complete exploded views of all the major manufacturers. Ef3000ise portable generator pdf manual download. Service manual ef1000is ef2000is/isc ef2200is ef2400is ef2600is. Buy oem parts for yamaha power equipment ef3000ise generator diagram. It is easy and free This manual will provide you with a good basic understanding of. Yamaha Ef3000Ise Parts Diagram.
From www.partzilla.com
Yamaha Power Equipment EF3000ISE OEM Parts Diagram for Intake Yamaha Ef3000Ise Parts Diagram Complete exploded views of all the major manufacturers. Buy oem parts for yamaha, power equipment, ef3000iseb. It is easy and free Ef3000ise portable generator pdf manual download. Congratulations on your purchase of your new yamaha. Complete exploded views of all the major manufacturers. Buy oem parts for yamaha power equipment ef3000ise generator diagram. Ef3000ise portable generator pdf manual download. This. Yamaha Ef3000Ise Parts Diagram.
From generatorbible.com
Yamaha EF3000iSEB Quiet 2800/3500W Inverter Generator Yamaha Ef3000Ise Parts Diagram View and download yamaha ef3000ise service manual online. Ef3000ise portable generator pdf manual download. Yamaha ef3000ise generator exploded view parts lookup by model. Complete exploded views of all the major manufacturers. View and download yamaha ef3000ise new model manual online. Congratulations on your purchase of your new yamaha. Buy oem parts for yamaha, power equipment, ef3000iseb. It is easy and. Yamaha Ef3000Ise Parts Diagram.
From www.partzilla.com
Yamaha Power Equipment EF3000ISE OEM Parts Diagram for Exhaust Yamaha Ef3000Ise Parts Diagram It is easy and free Complete exploded views of all the major manufacturers. View and download yamaha ef3000ise new model manual online. Ef3000ise portable generator pdf manual download. Click on the links below to download the pdf documents. Buy oem parts for yamaha, power equipment, ef3000iseb. Congratulations on your purchase of your new yamaha. Yamaha ef3000ise exploded view parts lookup. Yamaha Ef3000Ise Parts Diagram.
From www.partzilla.com
Yamaha Power Equipment EF3000ISE OEM Parts Diagram for CAMSHAFTVALVE Yamaha Ef3000Ise Parts Diagram Buy oem parts for yamaha, power equipment, ef3000iseb. Click on the links below to download the pdf documents. It is easy and free Ef3000ise portable generator pdf manual download. Ef3000ise portable generator pdf manual download. View and download yamaha ef3000ise service manual online. Yamaha ef3000ise exploded view parts lookup by model. Complete exploded views of all the major manufacturers. Service. Yamaha Ef3000Ise Parts Diagram.