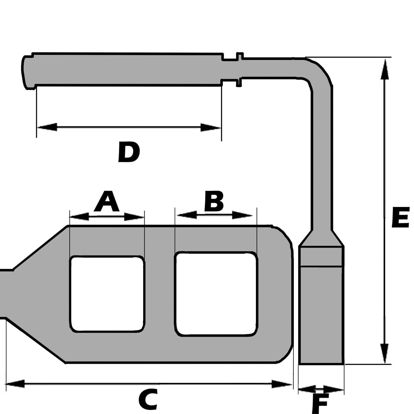
Aluminium Windlass Lock Key . this stylish, polished aluminium standard windlass is the tool you need to open and close the paddles on canal, river or other locks. aluminium canal lock key when cruising the canals and rivers inevitably your will encounter locks, our windlass handle is. Unpolished aluminium long lock key. introducing our canal windlass, a sturdy and lightweight lock key designed to ease the effort of opening and closing canal locks. Lightweight yet strong to open and close paddles easily. Key features 240mm x 250mm (9.45in x 9.84in) ag unpolished lightweight aluminium windlass long lock key. Windlass for the canal system. a galvanised, double headed lock key (also known as a windlass key) is a an absolute must to have on board for anyone cruising either canals or the inland waterways. essential for smooth navigation of the canal system. this lightweight aluminium lock key has been manufactured with the two most common lock windlass socket sizes within the british waterways.
from www.aliexpress.com
ag unpolished lightweight aluminium windlass long lock key. aluminium canal lock key when cruising the canals and rivers inevitably your will encounter locks, our windlass handle is. essential for smooth navigation of the canal system. Key features 240mm x 250mm (9.45in x 9.84in) this stylish, polished aluminium standard windlass is the tool you need to open and close the paddles on canal, river or other locks. introducing our canal windlass, a sturdy and lightweight lock key designed to ease the effort of opening and closing canal locks. Unpolished aluminium long lock key. this lightweight aluminium lock key has been manufactured with the two most common lock windlass socket sizes within the british waterways. a galvanised, double headed lock key (also known as a windlass key) is a an absolute must to have on board for anyone cruising either canals or the inland waterways. Lightweight yet strong to open and close paddles easily.
Hot2PcsAluminumAlloySlidingWindowLockwithKeyChildsafety
Aluminium Windlass Lock Key introducing our canal windlass, a sturdy and lightweight lock key designed to ease the effort of opening and closing canal locks. this lightweight aluminium lock key has been manufactured with the two most common lock windlass socket sizes within the british waterways. Lightweight yet strong to open and close paddles easily. introducing our canal windlass, a sturdy and lightweight lock key designed to ease the effort of opening and closing canal locks. ag unpolished lightweight aluminium windlass long lock key. Windlass for the canal system. aluminium canal lock key when cruising the canals and rivers inevitably your will encounter locks, our windlass handle is. Unpolished aluminium long lock key. Key features 240mm x 250mm (9.45in x 9.84in) essential for smooth navigation of the canal system. a galvanised, double headed lock key (also known as a windlass key) is a an absolute must to have on board for anyone cruising either canals or the inland waterways. this stylish, polished aluminium standard windlass is the tool you need to open and close the paddles on canal, river or other locks.
From www.force4.co.uk
Force 4 Lock Windlass Key Standard Force 4 Chandlery Aluminium Windlass Lock Key aluminium canal lock key when cruising the canals and rivers inevitably your will encounter locks, our windlass handle is. a galvanised, double headed lock key (also known as a windlass key) is a an absolute must to have on board for anyone cruising either canals or the inland waterways. this stylish, polished aluminium standard windlass is the. Aluminium Windlass Lock Key.
From depot2u.co.uk
Canal Windlass Aluminum Alloy Canal Lock key Depot2u Aluminium Windlass Lock Key Windlass for the canal system. this lightweight aluminium lock key has been manufactured with the two most common lock windlass socket sizes within the british waterways. Key features 240mm x 250mm (9.45in x 9.84in) Unpolished aluminium long lock key. aluminium canal lock key when cruising the canals and rivers inevitably your will encounter locks, our windlass handle is.. Aluminium Windlass Lock Key.
From www.hehexin.com
Aluminum Window Crescent Lock SB01 Aluminium Windlass Lock Key introducing our canal windlass, a sturdy and lightweight lock key designed to ease the effort of opening and closing canal locks. ag unpolished lightweight aluminium windlass long lock key. Windlass for the canal system. aluminium canal lock key when cruising the canals and rivers inevitably your will encounter locks, our windlass handle is. this stylish, polished. Aluminium Windlass Lock Key.
From www.midlandchandlers.co.uk
AG Unpolished Lightweight Aluminium Windlass Long Lock Key Midland Aluminium Windlass Lock Key Unpolished aluminium long lock key. ag unpolished lightweight aluminium windlass long lock key. Key features 240mm x 250mm (9.45in x 9.84in) Windlass for the canal system. Lightweight yet strong to open and close paddles easily. a galvanised, double headed lock key (also known as a windlass key) is a an absolute must to have on board for anyone. Aluminium Windlass Lock Key.
From yourthunderbuddy.com
√ Canal Lock Windlass Aluminium Windlass Lock Key Lightweight yet strong to open and close paddles easily. Windlass for the canal system. Unpolished aluminium long lock key. introducing our canal windlass, a sturdy and lightweight lock key designed to ease the effort of opening and closing canal locks. this stylish, polished aluminium standard windlass is the tool you need to open and close the paddles on. Aluminium Windlass Lock Key.
From yourthunderbuddy.com
√ Windlass Lock Key Aluminium Windlass Lock Key ag unpolished lightweight aluminium windlass long lock key. Unpolished aluminium long lock key. this lightweight aluminium lock key has been manufactured with the two most common lock windlass socket sizes within the british waterways. introducing our canal windlass, a sturdy and lightweight lock key designed to ease the effort of opening and closing canal locks. aluminium. Aluminium Windlass Lock Key.
From www.seaflo-uk.com
Aluminium Lightweight Canal Lock Gate Windlass Boat Key British Waterways Aluminium Windlass Lock Key Lightweight yet strong to open and close paddles easily. Key features 240mm x 250mm (9.45in x 9.84in) ag unpolished lightweight aluminium windlass long lock key. introducing our canal windlass, a sturdy and lightweight lock key designed to ease the effort of opening and closing canal locks. Unpolished aluminium long lock key. aluminium canal lock key when cruising. Aluminium Windlass Lock Key.
From www.ebay.co.uk
Canal Windlass Aluminium Unpolished Long Lightweight Lock Key Walsh UK Aluminium Windlass Lock Key Windlass for the canal system. this lightweight aluminium lock key has been manufactured with the two most common lock windlass socket sizes within the british waterways. Unpolished aluminium long lock key. Lightweight yet strong to open and close paddles easily. a galvanised, double headed lock key (also known as a windlass key) is a an absolute must to. Aluminium Windlass Lock Key.
From store.ukboatyard.uk
Windlass Lock Key LightWeight Polished Aluminium Walsh Aluminium Windlass Lock Key this lightweight aluminium lock key has been manufactured with the two most common lock windlass socket sizes within the british waterways. introducing our canal windlass, a sturdy and lightweight lock key designed to ease the effort of opening and closing canal locks. ag unpolished lightweight aluminium windlass long lock key. Key features 240mm x 250mm (9.45in x. Aluminium Windlass Lock Key.
From www.force4.co.uk
Force 4 Lock Windlass Key Standard Force 4 Chandlery Aluminium Windlass Lock Key ag unpolished lightweight aluminium windlass long lock key. Unpolished aluminium long lock key. aluminium canal lock key when cruising the canals and rivers inevitably your will encounter locks, our windlass handle is. Windlass for the canal system. a galvanised, double headed lock key (also known as a windlass key) is a an absolute must to have on. Aluminium Windlass Lock Key.
From depot2u.co.uk
Canal Windlass Aluminum Alloy Canal Lock key Depot2u Aluminium Windlass Lock Key essential for smooth navigation of the canal system. this lightweight aluminium lock key has been manufactured with the two most common lock windlass socket sizes within the british waterways. Unpolished aluminium long lock key. Key features 240mm x 250mm (9.45in x 9.84in) Windlass for the canal system. this stylish, polished aluminium standard windlass is the tool you. Aluminium Windlass Lock Key.
From www.securefixdirect.com
Aluminium Lock Key Handle SecureFix Direct Aluminium Windlass Lock Key Unpolished aluminium long lock key. Lightweight yet strong to open and close paddles easily. Key features 240mm x 250mm (9.45in x 9.84in) this lightweight aluminium lock key has been manufactured with the two most common lock windlass socket sizes within the british waterways. aluminium canal lock key when cruising the canals and rivers inevitably your will encounter locks,. Aluminium Windlass Lock Key.
From yourthunderbuddy.com
√ Windlass Lock Key Aluminium Windlass Lock Key Unpolished aluminium long lock key. Key features 240mm x 250mm (9.45in x 9.84in) Windlass for the canal system. essential for smooth navigation of the canal system. this lightweight aluminium lock key has been manufactured with the two most common lock windlass socket sizes within the british waterways. ag unpolished lightweight aluminium windlass long lock key. this. Aluminium Windlass Lock Key.
From www.force4.co.uk
Force 4 Lock Windlass Key Standard Force 4 Chandlery Aluminium Windlass Lock Key aluminium canal lock key when cruising the canals and rivers inevitably your will encounter locks, our windlass handle is. Lightweight yet strong to open and close paddles easily. introducing our canal windlass, a sturdy and lightweight lock key designed to ease the effort of opening and closing canal locks. ag unpolished lightweight aluminium windlass long lock key.. Aluminium Windlass Lock Key.
From depot2u.co.uk
Canal Windlass Aluminum Alloy Canal Lock key Depot2u Aluminium Windlass Lock Key Key features 240mm x 250mm (9.45in x 9.84in) ag unpolished lightweight aluminium windlass long lock key. Windlass for the canal system. this stylish, polished aluminium standard windlass is the tool you need to open and close the paddles on canal, river or other locks. a galvanised, double headed lock key (also known as a windlass key) is. Aluminium Windlass Lock Key.
From www.aliexpress.com
Hot2PcsAluminumAlloySlidingWindowLockwithKeyChildsafety Aluminium Windlass Lock Key introducing our canal windlass, a sturdy and lightweight lock key designed to ease the effort of opening and closing canal locks. this lightweight aluminium lock key has been manufactured with the two most common lock windlass socket sizes within the british waterways. aluminium canal lock key when cruising the canals and rivers inevitably your will encounter locks,. Aluminium Windlass Lock Key.
From yourthunderbuddy.com
√ Windlass Lock Key Aluminium Windlass Lock Key essential for smooth navigation of the canal system. introducing our canal windlass, a sturdy and lightweight lock key designed to ease the effort of opening and closing canal locks. this lightweight aluminium lock key has been manufactured with the two most common lock windlass socket sizes within the british waterways. Key features 240mm x 250mm (9.45in x. Aluminium Windlass Lock Key.
From www.seaflo-uk.com
Aluminium Lightweight Canal Lock Gate Windlass Boat Key British Waterways Aluminium Windlass Lock Key a galvanised, double headed lock key (also known as a windlass key) is a an absolute must to have on board for anyone cruising either canals or the inland waterways. aluminium canal lock key when cruising the canals and rivers inevitably your will encounter locks, our windlass handle is. Windlass for the canal system. this stylish, polished. Aluminium Windlass Lock Key.
From www.force4.co.uk
Force 4 Lock Windlass Key Standard Force 4 Chandlery Aluminium Windlass Lock Key a galvanised, double headed lock key (also known as a windlass key) is a an absolute must to have on board for anyone cruising either canals or the inland waterways. introducing our canal windlass, a sturdy and lightweight lock key designed to ease the effort of opening and closing canal locks. Windlass for the canal system. this. Aluminium Windlass Lock Key.
From www.seaflo-uk.com
Aluminium Lightweight Canal Lock Gate Windlass Boat Key British Waterways Aluminium Windlass Lock Key Unpolished aluminium long lock key. this lightweight aluminium lock key has been manufactured with the two most common lock windlass socket sizes within the british waterways. this stylish, polished aluminium standard windlass is the tool you need to open and close the paddles on canal, river or other locks. aluminium canal lock key when cruising the canals. Aluminium Windlass Lock Key.
From www.securefixdirect.com
Aluminium Lock Key Handle SecureFix Direct Aluminium Windlass Lock Key Key features 240mm x 250mm (9.45in x 9.84in) Windlass for the canal system. ag unpolished lightweight aluminium windlass long lock key. a galvanised, double headed lock key (also known as a windlass key) is a an absolute must to have on board for anyone cruising either canals or the inland waterways. this lightweight aluminium lock key has. Aluminium Windlass Lock Key.
From www.securefixdirect.com
Aluminium Lock Key Handle SecureFix Direct Aluminium Windlass Lock Key ag unpolished lightweight aluminium windlass long lock key. Unpolished aluminium long lock key. aluminium canal lock key when cruising the canals and rivers inevitably your will encounter locks, our windlass handle is. this lightweight aluminium lock key has been manufactured with the two most common lock windlass socket sizes within the british waterways. Lightweight yet strong to. Aluminium Windlass Lock Key.
From depot2u.co.uk
Canal Windlass Aluminum Alloy Canal Lock key Depot2u Aluminium Windlass Lock Key ag unpolished lightweight aluminium windlass long lock key. introducing our canal windlass, a sturdy and lightweight lock key designed to ease the effort of opening and closing canal locks. this lightweight aluminium lock key has been manufactured with the two most common lock windlass socket sizes within the british waterways. aluminium canal lock key when cruising. Aluminium Windlass Lock Key.
From store.ukboatyard.uk
Windlass Lock Key LightWeight Polished Aluminium Walsh Aluminium Windlass Lock Key essential for smooth navigation of the canal system. introducing our canal windlass, a sturdy and lightweight lock key designed to ease the effort of opening and closing canal locks. Lightweight yet strong to open and close paddles easily. this stylish, polished aluminium standard windlass is the tool you need to open and close the paddles on canal,. Aluminium Windlass Lock Key.
From www.sheridanmarine.com
Lightweight Lock Key Windlass Sheridan Marine Aluminium Windlass Lock Key Lightweight yet strong to open and close paddles easily. introducing our canal windlass, a sturdy and lightweight lock key designed to ease the effort of opening and closing canal locks. Windlass for the canal system. a galvanised, double headed lock key (also known as a windlass key) is a an absolute must to have on board for anyone. Aluminium Windlass Lock Key.
From store.ukboatyard.uk
Windlass Lock Key LightWeight Polished Aluminium Walsh Aluminium Windlass Lock Key this lightweight aluminium lock key has been manufactured with the two most common lock windlass socket sizes within the british waterways. Unpolished aluminium long lock key. this stylish, polished aluminium standard windlass is the tool you need to open and close the paddles on canal, river or other locks. a galvanised, double headed lock key (also known. Aluminium Windlass Lock Key.
From www.ebay.co.uk
Canal Windlass Aluminium Unpolished Long Lightweight Lock Key Walsh UK Aluminium Windlass Lock Key this lightweight aluminium lock key has been manufactured with the two most common lock windlass socket sizes within the british waterways. a galvanised, double headed lock key (also known as a windlass key) is a an absolute must to have on board for anyone cruising either canals or the inland waterways. Lightweight yet strong to open and close. Aluminium Windlass Lock Key.
From www.gowindlass.co.uk
Ratchet Windlass, Canal Lock Key, GOWindlass Lock Key Aluminium Windlass Lock Key Unpolished aluminium long lock key. a galvanised, double headed lock key (also known as a windlass key) is a an absolute must to have on board for anyone cruising either canals or the inland waterways. introducing our canal windlass, a sturdy and lightweight lock key designed to ease the effort of opening and closing canal locks. Windlass for. Aluminium Windlass Lock Key.
From www.sheridanmarine.com
Lightweight Lock Key Windlass Sheridan Marine Aluminium Windlass Lock Key a galvanised, double headed lock key (also known as a windlass key) is a an absolute must to have on board for anyone cruising either canals or the inland waterways. Windlass for the canal system. essential for smooth navigation of the canal system. this lightweight aluminium lock key has been manufactured with the two most common lock. Aluminium Windlass Lock Key.
From www.securefixdirect.com
Aluminium Lock Key Handle SecureFix Direct Aluminium Windlass Lock Key Windlass for the canal system. a galvanised, double headed lock key (also known as a windlass key) is a an absolute must to have on board for anyone cruising either canals or the inland waterways. ag unpolished lightweight aluminium windlass long lock key. this stylish, polished aluminium standard windlass is the tool you need to open and. Aluminium Windlass Lock Key.
From store.ukboatyard.uk
Windlass Standard Lock Key Galvanised Inline Double Head Aluminium Windlass Lock Key this lightweight aluminium lock key has been manufactured with the two most common lock windlass socket sizes within the british waterways. essential for smooth navigation of the canal system. introducing our canal windlass, a sturdy and lightweight lock key designed to ease the effort of opening and closing canal locks. this stylish, polished aluminium standard windlass. Aluminium Windlass Lock Key.
From www.indiamart.com
Nine Bearings NRCL005 Aluminium Kinglong Sliding Window Lock with Key Aluminium Windlass Lock Key Key features 240mm x 250mm (9.45in x 9.84in) Windlass for the canal system. Lightweight yet strong to open and close paddles easily. Unpolished aluminium long lock key. essential for smooth navigation of the canal system. this lightweight aluminium lock key has been manufactured with the two most common lock windlass socket sizes within the british waterways. this. Aluminium Windlass Lock Key.
From depot2u.co.uk
Canal Windlass Aluminum Alloy Canal Lock key Depot2u Aluminium Windlass Lock Key a galvanised, double headed lock key (also known as a windlass key) is a an absolute must to have on board for anyone cruising either canals or the inland waterways. Unpolished aluminium long lock key. Windlass for the canal system. ag unpolished lightweight aluminium windlass long lock key. this lightweight aluminium lock key has been manufactured with. Aluminium Windlass Lock Key.
From www.securefixdirect.com
Aluminium Lock Key Handle SecureFix Direct Aluminium Windlass Lock Key Key features 240mm x 250mm (9.45in x 9.84in) this lightweight aluminium lock key has been manufactured with the two most common lock windlass socket sizes within the british waterways. Unpolished aluminium long lock key. Windlass for the canal system. a galvanised, double headed lock key (also known as a windlass key) is a an absolute must to have. Aluminium Windlass Lock Key.
From www.sheridanmarine.com
Lightweight Lock Key Windlass Sheridan Marine Aluminium Windlass Lock Key this stylish, polished aluminium standard windlass is the tool you need to open and close the paddles on canal, river or other locks. this lightweight aluminium lock key has been manufactured with the two most common lock windlass socket sizes within the british waterways. Unpolished aluminium long lock key. essential for smooth navigation of the canal system.. Aluminium Windlass Lock Key.