Center Pivot Steering . This first kind of simple steering is often called “turntable steering”. In this case, the perpendicular of all the wheels. Turntable steering or centre pivot steering once the front wheels are turned, then the whole front axle is turned about the central pivot. It is essentially a mechanism that uses. There’s a single pivot in the center of the front axle. Both the front and rear axles are solid. Trying to plan things ahead so as to not make it. Getting ready to tackle the task of replacing the center pivot bushings and pins.
from www.nasshan.com
In this case, the perpendicular of all the wheels. Getting ready to tackle the task of replacing the center pivot bushings and pins. It is essentially a mechanism that uses. Both the front and rear axles are solid. Turntable steering or centre pivot steering once the front wheels are turned, then the whole front axle is turned about the central pivot. Trying to plan things ahead so as to not make it. There’s a single pivot in the center of the front axle. This first kind of simple steering is often called “turntable steering”.
John Deere 7520 centerpivot steering tractor (19701975) John Deere
Center Pivot Steering It is essentially a mechanism that uses. Turntable steering or centre pivot steering once the front wheels are turned, then the whole front axle is turned about the central pivot. Both the front and rear axles are solid. It is essentially a mechanism that uses. In this case, the perpendicular of all the wheels. Trying to plan things ahead so as to not make it. This first kind of simple steering is often called “turntable steering”. There’s a single pivot in the center of the front axle. Getting ready to tackle the task of replacing the center pivot bushings and pins.
From contest.techbriefs.com
Frame Steered Chassis Virtual Pivot Steering (VPS) Timoney Steering System Center Pivot Steering There’s a single pivot in the center of the front axle. This first kind of simple steering is often called “turntable steering”. Trying to plan things ahead so as to not make it. It is essentially a mechanism that uses. Both the front and rear axles are solid. Getting ready to tackle the task of replacing the center pivot bushings. Center Pivot Steering.
From commutercycling.blogspot.com
Utility Cycling Technology Center Pivot Steering Center Pivot Steering It is essentially a mechanism that uses. Both the front and rear axles are solid. This first kind of simple steering is often called “turntable steering”. In this case, the perpendicular of all the wheels. Trying to plan things ahead so as to not make it. There’s a single pivot in the center of the front axle. Getting ready to. Center Pivot Steering.
From www.nasshan.com
Horsch K735 centerpivot steering tractor (19932003) Edition 1/32 Center Pivot Steering There’s a single pivot in the center of the front axle. Trying to plan things ahead so as to not make it. Both the front and rear axles are solid. This first kind of simple steering is often called “turntable steering”. Getting ready to tackle the task of replacing the center pivot bushings and pins. It is essentially a mechanism. Center Pivot Steering.
From www.polymathrobotics.com
Module Deep Dive 3 Center Pivot Configuration Center Pivot Steering Trying to plan things ahead so as to not make it. Turntable steering or centre pivot steering once the front wheels are turned, then the whole front axle is turned about the central pivot. Getting ready to tackle the task of replacing the center pivot bushings and pins. There’s a single pivot in the center of the front axle. It. Center Pivot Steering.
From commutercycling.blogspot.com
Utility Cycling Technology Center Pivot Steering Center Pivot Steering Getting ready to tackle the task of replacing the center pivot bushings and pins. Turntable steering or centre pivot steering once the front wheels are turned, then the whole front axle is turned about the central pivot. There’s a single pivot in the center of the front axle. This first kind of simple steering is often called “turntable steering”. It. Center Pivot Steering.
From www.nasshan.com
Horsch K735 centerpivot steering tractor (19932003) Edition 1/32 Center Pivot Steering This first kind of simple steering is often called “turntable steering”. Trying to plan things ahead so as to not make it. There’s a single pivot in the center of the front axle. In this case, the perpendicular of all the wheels. Both the front and rear axles are solid. Getting ready to tackle the task of replacing the center. Center Pivot Steering.
From www.2040-parts.com
Purchase JOHNSON EVINRUDE OUTBOARD CENTER PIVOT STEERING ARM AND SHAFT Center Pivot Steering There’s a single pivot in the center of the front axle. It is essentially a mechanism that uses. In this case, the perpendicular of all the wheels. Both the front and rear axles are solid. Trying to plan things ahead so as to not make it. Turntable steering or centre pivot steering once the front wheels are turned, then the. Center Pivot Steering.
From www.nasshan.com
Kirovets K700 centerpivot steering tractor (19621975) Kirovets Center Pivot Steering Turntable steering or centre pivot steering once the front wheels are turned, then the whole front axle is turned about the central pivot. Getting ready to tackle the task of replacing the center pivot bushings and pins. This first kind of simple steering is often called “turntable steering”. Both the front and rear axles are solid. In this case, the. Center Pivot Steering.
From commutercycling.blogspot.com
Utility Cycling Technology Center Pivot Steering Center Pivot Steering Trying to plan things ahead so as to not make it. Getting ready to tackle the task of replacing the center pivot bushings and pins. There’s a single pivot in the center of the front axle. Both the front and rear axles are solid. This first kind of simple steering is often called “turntable steering”. Turntable steering or centre pivot. Center Pivot Steering.
From contest.techbriefs.com
Frame Steered Chassis Virtual Pivot Steering (VPS) Timoney Steering System Center Pivot Steering Both the front and rear axles are solid. Trying to plan things ahead so as to not make it. It is essentially a mechanism that uses. Getting ready to tackle the task of replacing the center pivot bushings and pins. Turntable steering or centre pivot steering once the front wheels are turned, then the whole front axle is turned about. Center Pivot Steering.
From www.youtube.com
Tramper Centre Steering Pivot Service YouTube Center Pivot Steering There’s a single pivot in the center of the front axle. Getting ready to tackle the task of replacing the center pivot bushings and pins. Both the front and rear axles are solid. This first kind of simple steering is often called “turntable steering”. It is essentially a mechanism that uses. Turntable steering or centre pivot steering once the front. Center Pivot Steering.
From www.nasshan.com
Kirovets K700 centerpivot steering tractor (19621975) Kirovets Center Pivot Steering In this case, the perpendicular of all the wheels. It is essentially a mechanism that uses. Both the front and rear axles are solid. Getting ready to tackle the task of replacing the center pivot bushings and pins. Trying to plan things ahead so as to not make it. This first kind of simple steering is often called “turntable steering”.. Center Pivot Steering.
From www.nasshan.com
John Deere 7520 centerpivot steering tractor (19701975) John Deere Center Pivot Steering There’s a single pivot in the center of the front axle. In this case, the perpendicular of all the wheels. This first kind of simple steering is often called “turntable steering”. Both the front and rear axles are solid. Turntable steering or centre pivot steering once the front wheels are turned, then the whole front axle is turned about the. Center Pivot Steering.
From www.nasshan.com
John Deere 8020 centerpivot steering tractor (19611964) John Deere Center Pivot Steering Trying to plan things ahead so as to not make it. There’s a single pivot in the center of the front axle. In this case, the perpendicular of all the wheels. Turntable steering or centre pivot steering once the front wheels are turned, then the whole front axle is turned about the central pivot. Getting ready to tackle the task. Center Pivot Steering.
From eureka.patsnap.com
Centerpivot steering articulated vehicle with load lifting trailer Center Pivot Steering Both the front and rear axles are solid. It is essentially a mechanism that uses. This first kind of simple steering is often called “turntable steering”. Trying to plan things ahead so as to not make it. Turntable steering or centre pivot steering once the front wheels are turned, then the whole front axle is turned about the central pivot.. Center Pivot Steering.
From www.google.com
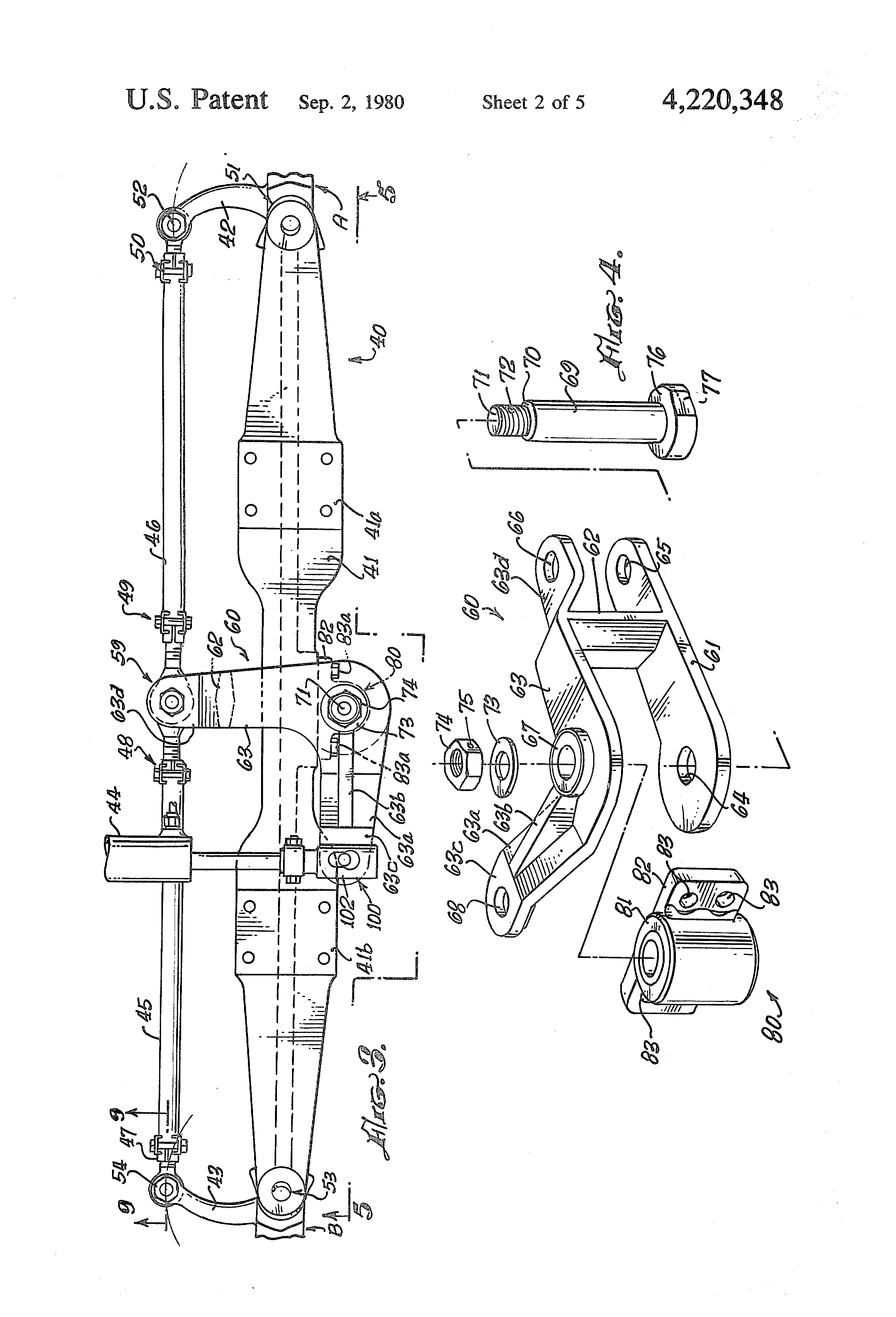
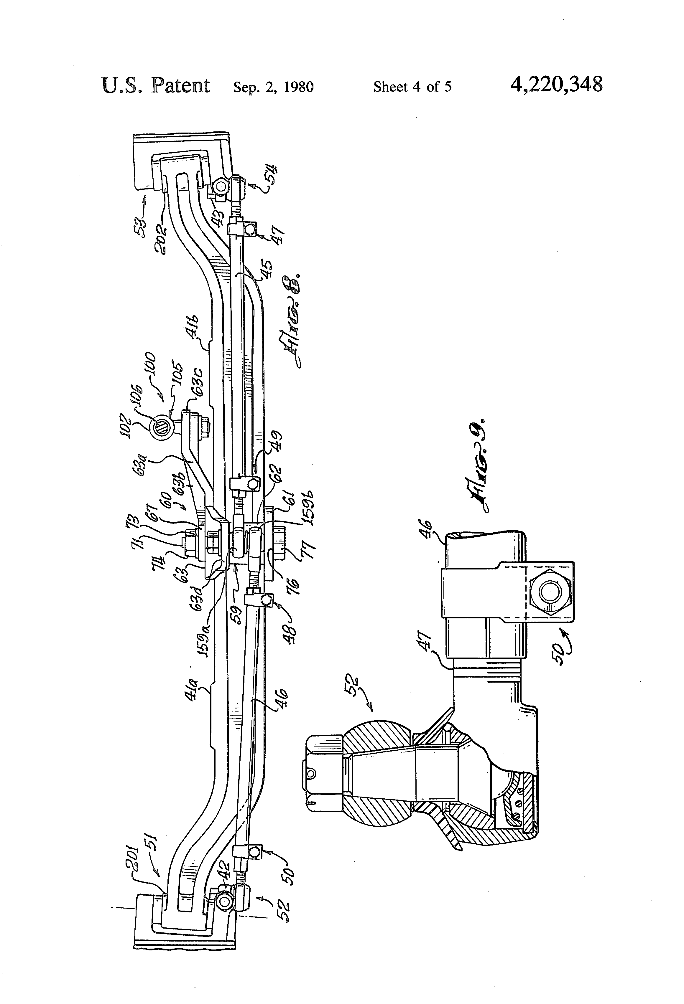
Patent US4220348 Center pivot steering mechanism Google Patents Center Pivot Steering Trying to plan things ahead so as to not make it. It is essentially a mechanism that uses. There’s a single pivot in the center of the front axle. Getting ready to tackle the task of replacing the center pivot bushings and pins. Both the front and rear axles are solid. Turntable steering or centre pivot steering once the front. Center Pivot Steering.
From www.2040-parts.com
Purchase JOHNSON EVINRUDE OUTBOARD CENTER PIVOT STEERING ARM AND SHAFT Center Pivot Steering This first kind of simple steering is often called “turntable steering”. It is essentially a mechanism that uses. Trying to plan things ahead so as to not make it. There’s a single pivot in the center of the front axle. Turntable steering or centre pivot steering once the front wheels are turned, then the whole front axle is turned about. Center Pivot Steering.
From planet-adelpha.net
Valley Center Pivots The Most Important Things You Need To Know About Center Pivot Steering Both the front and rear axles are solid. It is essentially a mechanism that uses. This first kind of simple steering is often called “turntable steering”. Turntable steering or centre pivot steering once the front wheels are turned, then the whole front axle is turned about the central pivot. Getting ready to tackle the task of replacing the center pivot. Center Pivot Steering.
From commutercycling.blogspot.com
Utility Cycling Technology Center Pivot Steering Center Pivot Steering Turntable steering or centre pivot steering once the front wheels are turned, then the whole front axle is turned about the central pivot. This first kind of simple steering is often called “turntable steering”. Getting ready to tackle the task of replacing the center pivot bushings and pins. It is essentially a mechanism that uses. Trying to plan things ahead. Center Pivot Steering.
From www.google.com
Patent US4220348 Center pivot steering mechanism Google Patents Center Pivot Steering Turntable steering or centre pivot steering once the front wheels are turned, then the whole front axle is turned about the central pivot. It is essentially a mechanism that uses. In this case, the perpendicular of all the wheels. Both the front and rear axles are solid. Getting ready to tackle the task of replacing the center pivot bushings and. Center Pivot Steering.
From www.nasshan.com
Horsch K735 centerpivot steering tractor (19932003) Edition 1/32 Center Pivot Steering There’s a single pivot in the center of the front axle. In this case, the perpendicular of all the wheels. Getting ready to tackle the task of replacing the center pivot bushings and pins. This first kind of simple steering is often called “turntable steering”. Turntable steering or centre pivot steering once the front wheels are turned, then the whole. Center Pivot Steering.
From www.tlirr.com
Center Pivots TL Center Pivot Irrigation Pivot Systems Center Pivot Steering Both the front and rear axles are solid. Trying to plan things ahead so as to not make it. There’s a single pivot in the center of the front axle. It is essentially a mechanism that uses. Getting ready to tackle the task of replacing the center pivot bushings and pins. This first kind of simple steering is often called. Center Pivot Steering.
From sariel.pl
Sariel.pl Center Pivot Steering Turntable steering or centre pivot steering once the front wheels are turned, then the whole front axle is turned about the central pivot. Both the front and rear axles are solid. It is essentially a mechanism that uses. Getting ready to tackle the task of replacing the center pivot bushings and pins. There’s a single pivot in the center of. Center Pivot Steering.
From www.nasshan.com
John Deere 8020 centerpivot steering tractor (19611964) John Deere Center Pivot Steering Both the front and rear axles are solid. In this case, the perpendicular of all the wheels. It is essentially a mechanism that uses. Turntable steering or centre pivot steering once the front wheels are turned, then the whole front axle is turned about the central pivot. There’s a single pivot in the center of the front axle. This first. Center Pivot Steering.
From commutercycling.blogspot.com
Utility Cycling Technology Center Pivot Steering Center Pivot Steering It is essentially a mechanism that uses. This first kind of simple steering is often called “turntable steering”. In this case, the perpendicular of all the wheels. Trying to plan things ahead so as to not make it. Both the front and rear axles are solid. There’s a single pivot in the center of the front axle. Turntable steering or. Center Pivot Steering.
From www.nasshan.com
John Deere 7520 centerpivot steering tractor (19701975) John Deere Center Pivot Steering It is essentially a mechanism that uses. There’s a single pivot in the center of the front axle. Getting ready to tackle the task of replacing the center pivot bushings and pins. Turntable steering or centre pivot steering once the front wheels are turned, then the whole front axle is turned about the central pivot. In this case, the perpendicular. Center Pivot Steering.
From www.producer.com
GPS on centre pivot The Western Producer Center Pivot Steering It is essentially a mechanism that uses. Turntable steering or centre pivot steering once the front wheels are turned, then the whole front axle is turned about the central pivot. Trying to plan things ahead so as to not make it. There’s a single pivot in the center of the front axle. Both the front and rear axles are solid.. Center Pivot Steering.
From commutercycling.blogspot.com
Utility Cycling Technology Center Pivot Steering Center Pivot Steering This first kind of simple steering is often called “turntable steering”. Both the front and rear axles are solid. Getting ready to tackle the task of replacing the center pivot bushings and pins. In this case, the perpendicular of all the wheels. Trying to plan things ahead so as to not make it. It is essentially a mechanism that uses.. Center Pivot Steering.
From www.nasshan.com
John Deere 8020 centerpivot steering tractor (19611964) Edition 1/ Center Pivot Steering Both the front and rear axles are solid. This first kind of simple steering is often called “turntable steering”. Getting ready to tackle the task of replacing the center pivot bushings and pins. Trying to plan things ahead so as to not make it. It is essentially a mechanism that uses. In this case, the perpendicular of all the wheels.. Center Pivot Steering.
From www.nasshan.com
Horsch K735 centerpivot steering tractor (19932003) Edition 1/32 Center Pivot Steering It is essentially a mechanism that uses. There’s a single pivot in the center of the front axle. In this case, the perpendicular of all the wheels. Both the front and rear axles are solid. This first kind of simple steering is often called “turntable steering”. Turntable steering or centre pivot steering once the front wheels are turned, then the. Center Pivot Steering.
From www.midpro.com.au
Centre Pivots midproengineering2 Center Pivot Steering Getting ready to tackle the task of replacing the center pivot bushings and pins. Turntable steering or centre pivot steering once the front wheels are turned, then the whole front axle is turned about the central pivot. Trying to plan things ahead so as to not make it. Both the front and rear axles are solid. It is essentially a. Center Pivot Steering.
From www.nasshan.com
Kirovets K700 centerpivot steering tractor (19621975) Kirovets Center Pivot Steering Trying to plan things ahead so as to not make it. It is essentially a mechanism that uses. In this case, the perpendicular of all the wheels. Getting ready to tackle the task of replacing the center pivot bushings and pins. This first kind of simple steering is often called “turntable steering”. There’s a single pivot in the center of. Center Pivot Steering.
From www.youtube.com
Center Pivots Built for Success by Senter360 YouTube Center Pivot Steering This first kind of simple steering is often called “turntable steering”. Both the front and rear axles are solid. Getting ready to tackle the task of replacing the center pivot bushings and pins. In this case, the perpendicular of all the wheels. Turntable steering or centre pivot steering once the front wheels are turned, then the whole front axle is. Center Pivot Steering.
From upton.com.au
Centre Pivot Irrigation North and South West Victoria Upton Engineering Center Pivot Steering Turntable steering or centre pivot steering once the front wheels are turned, then the whole front axle is turned about the central pivot. In this case, the perpendicular of all the wheels. Getting ready to tackle the task of replacing the center pivot bushings and pins. Trying to plan things ahead so as to not make it. Both the front. Center Pivot Steering.
From irrigazette.com
Managing center pivots and lateral move irrigation systems Irrigazette Center Pivot Steering Getting ready to tackle the task of replacing the center pivot bushings and pins. Trying to plan things ahead so as to not make it. Both the front and rear axles are solid. This first kind of simple steering is often called “turntable steering”. There’s a single pivot in the center of the front axle. In this case, the perpendicular. Center Pivot Steering.