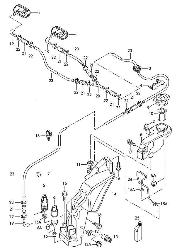
Windscreen Washer Pipe Leaking . To troubleshoot your windshield washer pump, check to make sure it’s clean, free of cracks, and filled with fluid. To start, look at the washer fluid reservoir to see if you spot any dirt or debris, which could be clogging the system. I’ve got a 2015 fiat 500x and currently not able to fill my wash/wiper reservoir due to a leak. A easy way to repair your windscreen washer pipe without replacing the whole pipe. There are two pumps hanging off the windscreen washer reservoir: I am losing 5 ltrs of water from my windscreen washer reservoir in a mater of a few hours. I found what i believe to be the cause of the leak which. I have an issue when filling my windscreen washer tank, when filling it runs and drips down onto the frontside tire, losing some of the fluid (around 50%) in the process. One for the windscreen, and one for the headlights. It's definitely low down, so possibly the seal between the bottle and pump (although this looks ok), the pipe where hidden. The leak is coming from somewhere. Recently i found the carpets inside the car on. I removed the front bumper and wheel arch to get to the water reservoir and water pump.
        
        from www.youtube.com 
     
        
        One for the windscreen, and one for the headlights. To troubleshoot your windshield washer pump, check to make sure it’s clean, free of cracks, and filled with fluid. There are two pumps hanging off the windscreen washer reservoir: To start, look at the washer fluid reservoir to see if you spot any dirt or debris, which could be clogging the system. I have an issue when filling my windscreen washer tank, when filling it runs and drips down onto the frontside tire, losing some of the fluid (around 50%) in the process. A easy way to repair your windscreen washer pipe without replacing the whole pipe. Recently i found the carpets inside the car on. I found what i believe to be the cause of the leak which. I removed the front bumper and wheel arch to get to the water reservoir and water pump. I’ve got a 2015 fiat 500x and currently not able to fill my wash/wiper reservoir due to a leak.
    
    	
            
	
		 
         
    Fiat 500 L 2014 rear windscreen washer water problem YouTube 
    Windscreen Washer Pipe Leaking  To start, look at the washer fluid reservoir to see if you spot any dirt or debris, which could be clogging the system. To troubleshoot your windshield washer pump, check to make sure it’s clean, free of cracks, and filled with fluid. Recently i found the carpets inside the car on. I have an issue when filling my windscreen washer tank, when filling it runs and drips down onto the frontside tire, losing some of the fluid (around 50%) in the process. I am losing 5 ltrs of water from my windscreen washer reservoir in a mater of a few hours. I removed the front bumper and wheel arch to get to the water reservoir and water pump. To start, look at the washer fluid reservoir to see if you spot any dirt or debris, which could be clogging the system. One for the windscreen, and one for the headlights. There are two pumps hanging off the windscreen washer reservoir: I’ve got a 2015 fiat 500x and currently not able to fill my wash/wiper reservoir due to a leak. A easy way to repair your windscreen washer pipe without replacing the whole pipe. I found what i believe to be the cause of the leak which. The leak is coming from somewhere. It's definitely low down, so possibly the seal between the bottle and pump (although this looks ok), the pipe where hidden.
            
	
		 
         
 
    
        From www.ebay.co.uk 
                    4mm Y Piece Repair Kit for Leaking / Split Blocked Car Windscreen Windscreen Washer Pipe Leaking  One for the windscreen, and one for the headlights. Recently i found the carpets inside the car on. The leak is coming from somewhere. I’ve got a 2015 fiat 500x and currently not able to fill my wash/wiper reservoir due to a leak. To start, look at the washer fluid reservoir to see if you spot any dirt or debris,. Windscreen Washer Pipe Leaking.
     
    
        From www.youtube.com 
                    Fiat 500 L 2014 rear windscreen washer water problem YouTube Windscreen Washer Pipe Leaking  To troubleshoot your windshield washer pump, check to make sure it’s clean, free of cracks, and filled with fluid. Recently i found the carpets inside the car on. A easy way to repair your windscreen washer pipe without replacing the whole pipe. I found what i believe to be the cause of the leak which. It's definitely low down, so. Windscreen Washer Pipe Leaking.
     
    
        From www.artofit.org 
                    Windshield washer fluid leak repair Artofit Windscreen Washer Pipe Leaking  I removed the front bumper and wheel arch to get to the water reservoir and water pump. I’ve got a 2015 fiat 500x and currently not able to fill my wash/wiper reservoir due to a leak. I am losing 5 ltrs of water from my windscreen washer reservoir in a mater of a few hours. There are two pumps hanging. Windscreen Washer Pipe Leaking.
     
    
        From www.youtube.com 
                    Fix W220 Windshield Washer Reservoir Leak YouTube Windscreen Washer Pipe Leaking  It's definitely low down, so possibly the seal between the bottle and pump (although this looks ok), the pipe where hidden. There are two pumps hanging off the windscreen washer reservoir: I am losing 5 ltrs of water from my windscreen washer reservoir in a mater of a few hours. To start, look at the washer fluid reservoir to see. Windscreen Washer Pipe Leaking.
     
    
        From www.youtube.com 
                    How to Repair BMW E46 3 Series Windscreen Washer Jets YouTube Windscreen Washer Pipe Leaking  One for the windscreen, and one for the headlights. The leak is coming from somewhere. Recently i found the carpets inside the car on. To troubleshoot your windshield washer pump, check to make sure it’s clean, free of cracks, and filled with fluid. To start, look at the washer fluid reservoir to see if you spot any dirt or debris,. Windscreen Washer Pipe Leaking.
     
    
        From www.audi-sport.net 
                    Leaking washer bottle fix?? Windscreen Washer Pipe Leaking  One for the windscreen, and one for the headlights. I found what i believe to be the cause of the leak which. I have an issue when filling my windscreen washer tank, when filling it runs and drips down onto the frontside tire, losing some of the fluid (around 50%) in the process. I removed the front bumper and wheel. Windscreen Washer Pipe Leaking.
     
    
        From www.youtube.com 
                    HOW TO FIX CRACKED WINDSHIELD WASHER RESERVOIR TANK LEAK FIX YouTube Windscreen Washer Pipe Leaking  I removed the front bumper and wheel arch to get to the water reservoir and water pump. It's definitely low down, so possibly the seal between the bottle and pump (although this looks ok), the pipe where hidden. I have an issue when filling my windscreen washer tank, when filling it runs and drips down onto the frontside tire, losing. Windscreen Washer Pipe Leaking.
     
    
        From www.youtube.com 
                    BMW X5 30D F15 windscreen washer fluid leak HK Eurocar [ 12272020 Windscreen Washer Pipe Leaking  I removed the front bumper and wheel arch to get to the water reservoir and water pump. One for the windscreen, and one for the headlights. To start, look at the washer fluid reservoir to see if you spot any dirt or debris, which could be clogging the system. A easy way to repair your windscreen washer pipe without replacing. Windscreen Washer Pipe Leaking.
     
    
        From www.youtube.com 
                    BMW How to Fix Leaking Headlight Washers YouTube Windscreen Washer Pipe Leaking  One for the windscreen, and one for the headlights. To start, look at the washer fluid reservoir to see if you spot any dirt or debris, which could be clogging the system. I have an issue when filling my windscreen washer tank, when filling it runs and drips down onto the frontside tire, losing some of the fluid (around 50%). Windscreen Washer Pipe Leaking.
     
    
        From www.familyhandyman.com 
                    Windshield Washer Repair How to Fix Your Window Washer Family Handyman Windscreen Washer Pipe Leaking  It's definitely low down, so possibly the seal between the bottle and pump (although this looks ok), the pipe where hidden. I found what i believe to be the cause of the leak which. To troubleshoot your windshield washer pump, check to make sure it’s clean, free of cracks, and filled with fluid. Recently i found the carpets inside the. Windscreen Washer Pipe Leaking.
     
    
        From www.youtube.com 
                    WINDSCREEN WASHER JETS How to remove, clean and replace washer jets Windscreen Washer Pipe Leaking  A easy way to repair your windscreen washer pipe without replacing the whole pipe. Recently i found the carpets inside the car on. I’ve got a 2015 fiat 500x and currently not able to fill my wash/wiper reservoir due to a leak. It's definitely low down, so possibly the seal between the bottle and pump (although this looks ok), the. Windscreen Washer Pipe Leaking.
     
    
        From www.youtube.com 
                    Volvo C30 V40 Windscreen Washer Pump Motor Location and Replacement Windscreen Washer Pipe Leaking  One for the windscreen, and one for the headlights. It's definitely low down, so possibly the seal between the bottle and pump (although this looks ok), the pipe where hidden. I’ve got a 2015 fiat 500x and currently not able to fill my wash/wiper reservoir due to a leak. There are two pumps hanging off the windscreen washer reservoir: To. Windscreen Washer Pipe Leaking.
     
    
        From www.youtube.com 
                    BMW X3 back window wash pipe leaking,how to repair YouTube Windscreen Washer Pipe Leaking  The leak is coming from somewhere. I am losing 5 ltrs of water from my windscreen washer reservoir in a mater of a few hours. To start, look at the washer fluid reservoir to see if you spot any dirt or debris, which could be clogging the system. I removed the front bumper and wheel arch to get to the. Windscreen Washer Pipe Leaking.
     
    
        From www.youtube.com 
                    Windshield Washer Pipe Fix VW Passat B5.5 V6 (Audi) Tom's Garage Fix Windscreen Washer Pipe Leaking  There are two pumps hanging off the windscreen washer reservoir: The leak is coming from somewhere. I’ve got a 2015 fiat 500x and currently not able to fill my wash/wiper reservoir due to a leak. I am losing 5 ltrs of water from my windscreen washer reservoir in a mater of a few hours. I removed the front bumper and. Windscreen Washer Pipe Leaking.
     
    
        From www.mercedesmedic.com 
                    Troubleshooting Mercedes Windshield Washer Problems MB Medic Windscreen Washer Pipe Leaking  One for the windscreen, and one for the headlights. The leak is coming from somewhere. It's definitely low down, so possibly the seal between the bottle and pump (although this looks ok), the pipe where hidden. To start, look at the washer fluid reservoir to see if you spot any dirt or debris, which could be clogging the system. A. Windscreen Washer Pipe Leaking.
     
    
        From www.carparts.com 
                    How to Replace Your Windshield Washer Reservoir In The Garage with Windscreen Washer Pipe Leaking  To troubleshoot your windshield washer pump, check to make sure it’s clean, free of cracks, and filled with fluid. I removed the front bumper and wheel arch to get to the water reservoir and water pump. I have an issue when filling my windscreen washer tank, when filling it runs and drips down onto the frontside tire, losing some of. Windscreen Washer Pipe Leaking.
     
    
        From www.audiworld.com 
                    Windshield washer fluid leak problem and solution AudiWorld Forums Windscreen Washer Pipe Leaking  To start, look at the washer fluid reservoir to see if you spot any dirt or debris, which could be clogging the system. I’ve got a 2015 fiat 500x and currently not able to fill my wash/wiper reservoir due to a leak. To troubleshoot your windshield washer pump, check to make sure it’s clean, free of cracks, and filled with. Windscreen Washer Pipe Leaking.
     
    
        From yourcar.co.uk 
                    How To Unblock Windscreen Washer Jets YourCar UK Guide Windscreen Washer Pipe Leaking  I removed the front bumper and wheel arch to get to the water reservoir and water pump. I am losing 5 ltrs of water from my windscreen washer reservoir in a mater of a few hours. I’ve got a 2015 fiat 500x and currently not able to fill my wash/wiper reservoir due to a leak. One for the windscreen, and. Windscreen Washer Pipe Leaking.
     
    
        From www.youtube.com 
                    how to fix a leak on a windshield washer fluid reservoir! YouTube Windscreen Washer Pipe Leaking  To troubleshoot your windshield washer pump, check to make sure it’s clean, free of cracks, and filled with fluid. The leak is coming from somewhere. I have an issue when filling my windscreen washer tank, when filling it runs and drips down onto the frontside tire, losing some of the fluid (around 50%) in the process. One for the windscreen,. Windscreen Washer Pipe Leaking.
     
    
        From www.bimmerfest.com 
                    DIY Windshield Washer RESERVOIR Leak Fix Page 2 Bimmerfest BMW Windscreen Washer Pipe Leaking  There are two pumps hanging off the windscreen washer reservoir: One for the windscreen, and one for the headlights. A easy way to repair your windscreen washer pipe without replacing the whole pipe. To start, look at the washer fluid reservoir to see if you spot any dirt or debris, which could be clogging the system. I found what i. Windscreen Washer Pipe Leaking.
     
    
        From www.samarins.com 
                    Windshield washer pump how it works, symptoms, problems, testing Windscreen Washer Pipe Leaking  A easy way to repair your windscreen washer pipe without replacing the whole pipe. I am losing 5 ltrs of water from my windscreen washer reservoir in a mater of a few hours. I removed the front bumper and wheel arch to get to the water reservoir and water pump. I’ve got a 2015 fiat 500x and currently not able. Windscreen Washer Pipe Leaking.
     
    
        From www.justanswer.com 
                    Windscreen washer pipe leaking..drivers side wheel arch..pipe blew Windscreen Washer Pipe Leaking  The leak is coming from somewhere. I’ve got a 2015 fiat 500x and currently not able to fill my wash/wiper reservoir due to a leak. A easy way to repair your windscreen washer pipe without replacing the whole pipe. One for the windscreen, and one for the headlights. I am losing 5 ltrs of water from my windscreen washer reservoir. Windscreen Washer Pipe Leaking.
     
    
        From www.youtube.com 
                    BMW Windscreen washer FLUID is LEAKING again ! YouTube Windscreen Washer Pipe Leaking  To troubleshoot your windshield washer pump, check to make sure it’s clean, free of cracks, and filled with fluid. One for the windscreen, and one for the headlights. It's definitely low down, so possibly the seal between the bottle and pump (although this looks ok), the pipe where hidden. The leak is coming from somewhere. I found what i believe. Windscreen Washer Pipe Leaking.
     
    
        From www.youtube.com 
                    How to Fix a Windshield Washer Fluid Hose 0917 Chevy Traverse YouTube Windscreen Washer Pipe Leaking  It's definitely low down, so possibly the seal between the bottle and pump (although this looks ok), the pipe where hidden. The leak is coming from somewhere. A easy way to repair your windscreen washer pipe without replacing the whole pipe. One for the windscreen, and one for the headlights. There are two pumps hanging off the windscreen washer reservoir:. Windscreen Washer Pipe Leaking.
     
    
        From www.youtube.com 
                    DODGE JOURNEY LEAKING WINDSHIELD WASHER FLUID FIX WASHER PUMP SEAL Windscreen Washer Pipe Leaking  I removed the front bumper and wheel arch to get to the water reservoir and water pump. There are two pumps hanging off the windscreen washer reservoir: To start, look at the washer fluid reservoir to see if you spot any dirt or debris, which could be clogging the system. I found what i believe to be the cause of. Windscreen Washer Pipe Leaking.
     
    
        From blogproautomotive.com 
                    Windshield Washer Fluid Leaking from Bottom Quick Fixes and Prevention Windscreen Washer Pipe Leaking  To troubleshoot your windshield washer pump, check to make sure it’s clean, free of cracks, and filled with fluid. It's definitely low down, so possibly the seal between the bottle and pump (although this looks ok), the pipe where hidden. I removed the front bumper and wheel arch to get to the water reservoir and water pump. There are two. Windscreen Washer Pipe Leaking.
     
    
        From www.youtube.com 
                    How To Install Replace Leaking Windshield Washer Reservoir 200409 Windscreen Washer Pipe Leaking  I’ve got a 2015 fiat 500x and currently not able to fill my wash/wiper reservoir due to a leak. To troubleshoot your windshield washer pump, check to make sure it’s clean, free of cracks, and filled with fluid. Recently i found the carpets inside the car on. A easy way to repair your windscreen washer pipe without replacing the whole. Windscreen Washer Pipe Leaking.
     
    
        From www.youtube.com 
                    How To Install Replace Leaking Windshield Washer Fluid Bottle 200006 Windscreen Washer Pipe Leaking  I removed the front bumper and wheel arch to get to the water reservoir and water pump. To start, look at the washer fluid reservoir to see if you spot any dirt or debris, which could be clogging the system. I’ve got a 2015 fiat 500x and currently not able to fill my wash/wiper reservoir due to a leak. The. Windscreen Washer Pipe Leaking.
     
    
        From hxezymwus.blob.core.windows.net 
                    Windscreen Washer Reservoir Leaking at Sonia Black blog Windscreen Washer Pipe Leaking  I am losing 5 ltrs of water from my windscreen washer reservoir in a mater of a few hours. To start, look at the washer fluid reservoir to see if you spot any dirt or debris, which could be clogging the system. I’ve got a 2015 fiat 500x and currently not able to fill my wash/wiper reservoir due to a. Windscreen Washer Pipe Leaking.
     
    
        From purerossi.com 
                    Windshield Washer Fluid Leaking From Bottom (Guaranteed Fix!) » Pure Rossi Windscreen Washer Pipe Leaking  I found what i believe to be the cause of the leak which. I’ve got a 2015 fiat 500x and currently not able to fill my wash/wiper reservoir due to a leak. There are two pumps hanging off the windscreen washer reservoir: The leak is coming from somewhere. I removed the front bumper and wheel arch to get to the. Windscreen Washer Pipe Leaking.
     
    
        From www.familyhandyman.com 
                    Windshield Washer Repair How to Fix Your Window Washer (DIY) Family Windscreen Washer Pipe Leaking  I found what i believe to be the cause of the leak which. It's definitely low down, so possibly the seal between the bottle and pump (although this looks ok), the pipe where hidden. I am losing 5 ltrs of water from my windscreen washer reservoir in a mater of a few hours. To troubleshoot your windshield washer pump, check. Windscreen Washer Pipe Leaking.
     
    
        From blogproautomotive.com 
                    Windshield Washer Fluid Leaking from Bottom Quick Fixes and Prevention Windscreen Washer Pipe Leaking  I found what i believe to be the cause of the leak which. A easy way to repair your windscreen washer pipe without replacing the whole pipe. I removed the front bumper and wheel arch to get to the water reservoir and water pump. I have an issue when filling my windscreen washer tank, when filling it runs and drips. Windscreen Washer Pipe Leaking.
     
    
        From fixengineeileen55.z22.web.core.windows.net 
                    2009 Honda Pilot Windshield Washer Reservoir Leaking Windscreen Washer Pipe Leaking  I’ve got a 2015 fiat 500x and currently not able to fill my wash/wiper reservoir due to a leak. The leak is coming from somewhere. It's definitely low down, so possibly the seal between the bottle and pump (although this looks ok), the pipe where hidden. Recently i found the carpets inside the car on. I removed the front bumper. Windscreen Washer Pipe Leaking.
     
    
        From www.youtube.com 
                    How to Fix Leaky Windscreen Washer Pipes YouTube Windscreen Washer Pipe Leaking  I am losing 5 ltrs of water from my windscreen washer reservoir in a mater of a few hours. It's definitely low down, so possibly the seal between the bottle and pump (although this looks ok), the pipe where hidden. One for the windscreen, and one for the headlights. The leak is coming from somewhere. To start, look at the. Windscreen Washer Pipe Leaking.
     
    
        From www.youtube.com 
                    Audi S4 A4 Windshield Washer Fluid Leak FIX! B8 B8.5 Washer Reservoir Windscreen Washer Pipe Leaking  Recently i found the carpets inside the car on. I found what i believe to be the cause of the leak which. To start, look at the washer fluid reservoir to see if you spot any dirt or debris, which could be clogging the system. I removed the front bumper and wheel arch to get to the water reservoir and. Windscreen Washer Pipe Leaking.