Eurovan Sliding Door Panel Removal . you door just might close better, be quieter, and have a tighter seal. I suggest that if you are going to go through the effort of removing the. 2002 volkswagen eurovan door panel removal and instal, wire loom. While you’re at it, pick up a 2 part epoxy as you will probably. i found that the door contact assembly (with the 4 pins) had a broken wire inside, i replaced it with a new one from vw for about $100. i installed dynamat on the inside of the sliding door and, as the driver, have noticed no significant difference in. how to remove door panel vw eurovan. my sliding doors latch is starting to complain and seems reluctant to do its job. getting a trim removal tool is key.
from www.youtube.com
getting a trim removal tool is key. I suggest that if you are going to go through the effort of removing the. 2002 volkswagen eurovan door panel removal and instal, wire loom. how to remove door panel vw eurovan. i installed dynamat on the inside of the sliding door and, as the driver, have noticed no significant difference in. my sliding doors latch is starting to complain and seems reluctant to do its job. i found that the door contact assembly (with the 4 pins) had a broken wire inside, i replaced it with a new one from vw for about $100. While you’re at it, pick up a 2 part epoxy as you will probably. you door just might close better, be quieter, and have a tighter seal.
2012 Dodge Caravan Rear Sliding Door Panel Removal YouTube
Eurovan Sliding Door Panel Removal 2002 volkswagen eurovan door panel removal and instal, wire loom. my sliding doors latch is starting to complain and seems reluctant to do its job. I suggest that if you are going to go through the effort of removing the. i found that the door contact assembly (with the 4 pins) had a broken wire inside, i replaced it with a new one from vw for about $100. you door just might close better, be quieter, and have a tighter seal. While you’re at it, pick up a 2 part epoxy as you will probably. i installed dynamat on the inside of the sliding door and, as the driver, have noticed no significant difference in. how to remove door panel vw eurovan. 2002 volkswagen eurovan door panel removal and instal, wire loom. getting a trim removal tool is key.
From www.eurocampers.com
Screen Kit for EuroVan Sliding Door Opening Eurovan Sliding Door Panel Removal While you’re at it, pick up a 2 part epoxy as you will probably. i found that the door contact assembly (with the 4 pins) had a broken wire inside, i replaced it with a new one from vw for about $100. how to remove door panel vw eurovan. 2002 volkswagen eurovan door panel removal and instal,. Eurovan Sliding Door Panel Removal.
From smithdenjudd.blogspot.com
How To Remove Sliding Door Panel On Dodge Caravan Smith Denjudd Eurovan Sliding Door Panel Removal getting a trim removal tool is key. i found that the door contact assembly (with the 4 pins) had a broken wire inside, i replaced it with a new one from vw for about $100. I suggest that if you are going to go through the effort of removing the. you door just might close better, be. Eurovan Sliding Door Panel Removal.
From webautocats.com
Volkswagen EuroVan (1999 2004) Sliding window. > ETKA Online Eurovan Sliding Door Panel Removal 2002 volkswagen eurovan door panel removal and instal, wire loom. i installed dynamat on the inside of the sliding door and, as the driver, have noticed no significant difference in. my sliding doors latch is starting to complain and seems reluctant to do its job. getting a trim removal tool is key. how to remove. Eurovan Sliding Door Panel Removal.
From www.thesamba.com
Eurovan View topic Sliding Door Interior Panel Eurovan Sliding Door Panel Removal i found that the door contact assembly (with the 4 pins) had a broken wire inside, i replaced it with a new one from vw for about $100. getting a trim removal tool is key. i installed dynamat on the inside of the sliding door and, as the driver, have noticed no significant difference in. how. Eurovan Sliding Door Panel Removal.
From www.thesamba.com
Eurovan View topic Sliding door stuck shut! Eurovan Sliding Door Panel Removal While you’re at it, pick up a 2 part epoxy as you will probably. getting a trim removal tool is key. i installed dynamat on the inside of the sliding door and, as the driver, have noticed no significant difference in. I suggest that if you are going to go through the effort of removing the. how. Eurovan Sliding Door Panel Removal.
From www.thesamba.com
Eurovan View topic 2002 Eurovan Sliding Door broken? Eurovan Sliding Door Panel Removal i found that the door contact assembly (with the 4 pins) had a broken wire inside, i replaced it with a new one from vw for about $100. you door just might close better, be quieter, and have a tighter seal. While you’re at it, pick up a 2 part epoxy as you will probably. how to. Eurovan Sliding Door Panel Removal.
From vweurovan.fandom.com
Sliding door VW Eurovan Wiki Fandom Eurovan Sliding Door Panel Removal you door just might close better, be quieter, and have a tighter seal. 2002 volkswagen eurovan door panel removal and instal, wire loom. my sliding doors latch is starting to complain and seems reluctant to do its job. how to remove door panel vw eurovan. I suggest that if you are going to go through the. Eurovan Sliding Door Panel Removal.
From www.justanswer.com
Need to replace the combo rubber stop/inside grip on my 2002 Eurovan Eurovan Sliding Door Panel Removal my sliding doors latch is starting to complain and seems reluctant to do its job. you door just might close better, be quieter, and have a tighter seal. I suggest that if you are going to go through the effort of removing the. i found that the door contact assembly (with the 4 pins) had a broken. Eurovan Sliding Door Panel Removal.
From parts.westbroadvw.com
Volkswagen EuroVan Sliding Door Trim Panel. Vinyl, lagoon Eurovan Sliding Door Panel Removal how to remove door panel vw eurovan. you door just might close better, be quieter, and have a tighter seal. I suggest that if you are going to go through the effort of removing the. 2002 volkswagen eurovan door panel removal and instal, wire loom. getting a trim removal tool is key. i installed dynamat. Eurovan Sliding Door Panel Removal.
From www.thesamba.com
Eurovan View topic 11 Sliding door screen W/photos Eurovan Sliding Door Panel Removal 2002 volkswagen eurovan door panel removal and instal, wire loom. my sliding doors latch is starting to complain and seems reluctant to do its job. you door just might close better, be quieter, and have a tighter seal. I suggest that if you are going to go through the effort of removing the. i installed dynamat. Eurovan Sliding Door Panel Removal.
From slidingdoorpartssuzukan.blogspot.com
Sliding Door Parts 2017 Eurovan Sliding Door Panel Removal i installed dynamat on the inside of the sliding door and, as the driver, have noticed no significant difference in. While you’re at it, pick up a 2 part epoxy as you will probably. 2002 volkswagen eurovan door panel removal and instal, wire loom. getting a trim removal tool is key. i found that the door. Eurovan Sliding Door Panel Removal.
From www.youtube.com
VW T4 How To Adjust Alignment Or Remove Sliding Door From Van YouTube Eurovan Sliding Door Panel Removal i found that the door contact assembly (with the 4 pins) had a broken wire inside, i replaced it with a new one from vw for about $100. I suggest that if you are going to go through the effort of removing the. While you’re at it, pick up a 2 part epoxy as you will probably. 2002. Eurovan Sliding Door Panel Removal.
From parts.sheehyspringfieldvw.com
Volkswagen EuroVan Sliding Door Trim Panel Clip. Trim clip 443867299 Eurovan Sliding Door Panel Removal my sliding doors latch is starting to complain and seems reluctant to do its job. While you’re at it, pick up a 2 part epoxy as you will probably. I suggest that if you are going to go through the effort of removing the. i installed dynamat on the inside of the sliding door and, as the driver,. Eurovan Sliding Door Panel Removal.
From manualzz.com
Volkswagen EuroVan (T4) Sliding door (from 04.01) (eng.) Manualzz Eurovan Sliding Door Panel Removal getting a trim removal tool is key. 2002 volkswagen eurovan door panel removal and instal, wire loom. i installed dynamat on the inside of the sliding door and, as the driver, have noticed no significant difference in. While you’re at it, pick up a 2 part epoxy as you will probably. my sliding doors latch is. Eurovan Sliding Door Panel Removal.
From www.youtube.com
How To Fit Side Sliding Door Roller Set On VW T4 Transporter YouTube Eurovan Sliding Door Panel Removal i found that the door contact assembly (with the 4 pins) had a broken wire inside, i replaced it with a new one from vw for about $100. I suggest that if you are going to go through the effort of removing the. how to remove door panel vw eurovan. getting a trim removal tool is key.. Eurovan Sliding Door Panel Removal.
From www.thesamba.com
Eurovan View topic 11 Sliding door screen W/photos Eurovan Sliding Door Panel Removal While you’re at it, pick up a 2 part epoxy as you will probably. my sliding doors latch is starting to complain and seems reluctant to do its job. how to remove door panel vw eurovan. i found that the door contact assembly (with the 4 pins) had a broken wire inside, i replaced it with a. Eurovan Sliding Door Panel Removal.
From www.youtube.com
2012 Dodge Caravan Rear Sliding Door Panel Removal YouTube Eurovan Sliding Door Panel Removal you door just might close better, be quieter, and have a tighter seal. getting a trim removal tool is key. 2002 volkswagen eurovan door panel removal and instal, wire loom. i found that the door contact assembly (with the 4 pins) had a broken wire inside, i replaced it with a new one from vw for. Eurovan Sliding Door Panel Removal.
From www.youtube.com
Removing Sliding door panel YouTube Eurovan Sliding Door Panel Removal how to remove door panel vw eurovan. you door just might close better, be quieter, and have a tighter seal. i found that the door contact assembly (with the 4 pins) had a broken wire inside, i replaced it with a new one from vw for about $100. I suggest that if you are going to go. Eurovan Sliding Door Panel Removal.
From www.pinterest.com
Vanagon Sliding Door Maintenance Vw eurovan camper, Sliding doors Eurovan Sliding Door Panel Removal my sliding doors latch is starting to complain and seems reluctant to do its job. 2002 volkswagen eurovan door panel removal and instal, wire loom. how to remove door panel vw eurovan. you door just might close better, be quieter, and have a tighter seal. i installed dynamat on the inside of the sliding door. Eurovan Sliding Door Panel Removal.
From www.youtube.com
MiniVan Rear Slider Door Removal YouTube Eurovan Sliding Door Panel Removal I suggest that if you are going to go through the effort of removing the. i found that the door contact assembly (with the 4 pins) had a broken wire inside, i replaced it with a new one from vw for about $100. how to remove door panel vw eurovan. 2002 volkswagen eurovan door panel removal and. Eurovan Sliding Door Panel Removal.
From www.jimellisvwparts.com
Volkswagen EuroVan Also use roller guide for sliding door 701843405B Eurovan Sliding Door Panel Removal you door just might close better, be quieter, and have a tighter seal. getting a trim removal tool is key. i found that the door contact assembly (with the 4 pins) had a broken wire inside, i replaced it with a new one from vw for about $100. my sliding doors latch is starting to complain. Eurovan Sliding Door Panel Removal.
From workshop-manuals.com
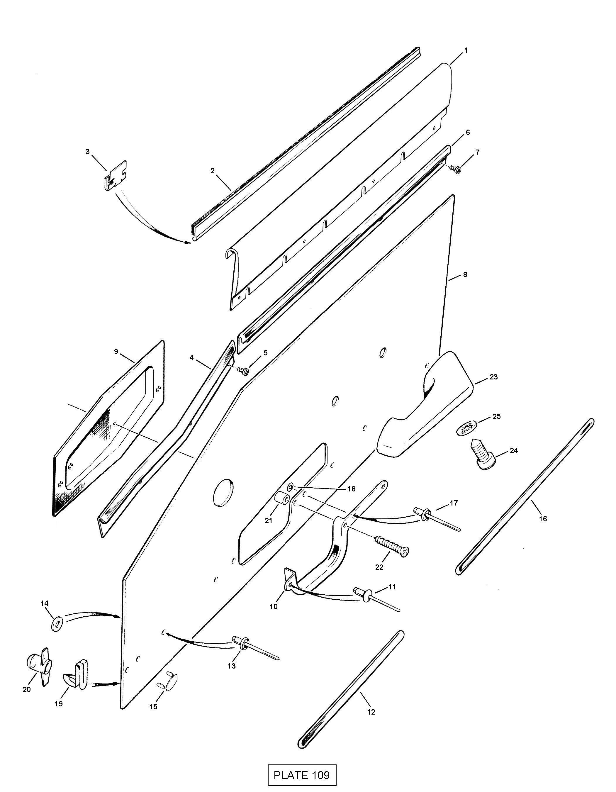
Volkswagen Service and Repair Manuals > Eurovan V62800cc 2.8L Eurovan Sliding Door Panel Removal my sliding doors latch is starting to complain and seems reluctant to do its job. While you’re at it, pick up a 2 part epoxy as you will probably. 2002 volkswagen eurovan door panel removal and instal, wire loom. I suggest that if you are going to go through the effort of removing the. how to remove. Eurovan Sliding Door Panel Removal.
From www.youtube.com
2013 GRAND CARAVAN SLIDING DOOR PANEL REMOVAL YouTube Eurovan Sliding Door Panel Removal my sliding doors latch is starting to complain and seems reluctant to do its job. getting a trim removal tool is key. I suggest that if you are going to go through the effort of removing the. While you’re at it, pick up a 2 part epoxy as you will probably. how to remove door panel vw. Eurovan Sliding Door Panel Removal.
From www.youtube.com
Van Windows Direct Transit Connect Sliding Door Panel Removal YouTube Eurovan Sliding Door Panel Removal I suggest that if you are going to go through the effort of removing the. i installed dynamat on the inside of the sliding door and, as the driver, have noticed no significant difference in. getting a trim removal tool is key. how to remove door panel vw eurovan. 2002 volkswagen eurovan door panel removal and. Eurovan Sliding Door Panel Removal.
From www.odyclub.com
sliding door panel removal, anyone? Eurovan Sliding Door Panel Removal getting a trim removal tool is key. my sliding doors latch is starting to complain and seems reluctant to do its job. i installed dynamat on the inside of the sliding door and, as the driver, have noticed no significant difference in. While you’re at it, pick up a 2 part epoxy as you will probably. I. Eurovan Sliding Door Panel Removal.
From sprintervanusa.com
Removing the rear door panels on Crew and Passenger vans Sprinter Eurovan Sliding Door Panel Removal I suggest that if you are going to go through the effort of removing the. 2002 volkswagen eurovan door panel removal and instal, wire loom. getting a trim removal tool is key. my sliding doors latch is starting to complain and seems reluctant to do its job. While you’re at it, pick up a 2 part epoxy. Eurovan Sliding Door Panel Removal.
From www.2carpros.com
How to Remove the Sliding Door Panel Eurovan Sliding Door Panel Removal how to remove door panel vw eurovan. 2002 volkswagen eurovan door panel removal and instal, wire loom. my sliding doors latch is starting to complain and seems reluctant to do its job. i installed dynamat on the inside of the sliding door and, as the driver, have noticed no significant difference in. getting a trim. Eurovan Sliding Door Panel Removal.
From slidingdoorpartssuzukan.blogspot.com
Sliding Door Parts 2017 Eurovan Sliding Door Panel Removal how to remove door panel vw eurovan. i found that the door contact assembly (with the 4 pins) had a broken wire inside, i replaced it with a new one from vw for about $100. I suggest that if you are going to go through the effort of removing the. you door just might close better, be. Eurovan Sliding Door Panel Removal.
From slidingdoorpartssuzukan.blogspot.com
Sliding Door Parts September 2017 Eurovan Sliding Door Panel Removal While you’re at it, pick up a 2 part epoxy as you will probably. my sliding doors latch is starting to complain and seems reluctant to do its job. 2002 volkswagen eurovan door panel removal and instal, wire loom. I suggest that if you are going to go through the effort of removing the. you door just. Eurovan Sliding Door Panel Removal.
From forums.jag-lovers.com
[EType] door panel removal tips EType Jaglovers Forums Eurovan Sliding Door Panel Removal i found that the door contact assembly (with the 4 pins) had a broken wire inside, i replaced it with a new one from vw for about $100. I suggest that if you are going to go through the effort of removing the. getting a trim removal tool is key. i installed dynamat on the inside of. Eurovan Sliding Door Panel Removal.
From www.thesamba.com
Eurovan View topic 1995 Eurovan Sliding door panel Eurovan Sliding Door Panel Removal i installed dynamat on the inside of the sliding door and, as the driver, have noticed no significant difference in. getting a trim removal tool is key. my sliding doors latch is starting to complain and seems reluctant to do its job. 2002 volkswagen eurovan door panel removal and instal, wire loom. i found that. Eurovan Sliding Door Panel Removal.
From workshop-manuals.com
Volkswagen Service and Repair Manuals > Eurovan V62800cc 2.8L Eurovan Sliding Door Panel Removal i found that the door contact assembly (with the 4 pins) had a broken wire inside, i replaced it with a new one from vw for about $100. While you’re at it, pick up a 2 part epoxy as you will probably. 2002 volkswagen eurovan door panel removal and instal, wire loom. i installed dynamat on the. Eurovan Sliding Door Panel Removal.
From www.justanswer.com
Sliding door panel removal video or tips my door is CLOSED and can’t Eurovan Sliding Door Panel Removal my sliding doors latch is starting to complain and seems reluctant to do its job. getting a trim removal tool is key. 2002 volkswagen eurovan door panel removal and instal, wire loom. i installed dynamat on the inside of the sliding door and, as the driver, have noticed no significant difference in. I suggest that if. Eurovan Sliding Door Panel Removal.
From workshop-manuals.com
Volkswagen Service and Repair Manuals > Eurovan V62800cc 2.8L Eurovan Sliding Door Panel Removal i found that the door contact assembly (with the 4 pins) had a broken wire inside, i replaced it with a new one from vw for about $100. 2002 volkswagen eurovan door panel removal and instal, wire loom. getting a trim removal tool is key. i installed dynamat on the inside of the sliding door and,. Eurovan Sliding Door Panel Removal.
From www.thesamba.com
Eurovan View topic Removing EVC Winnebago Sliding Eurovan Sliding Door Panel Removal my sliding doors latch is starting to complain and seems reluctant to do its job. While you’re at it, pick up a 2 part epoxy as you will probably. i found that the door contact assembly (with the 4 pins) had a broken wire inside, i replaced it with a new one from vw for about $100. . Eurovan Sliding Door Panel Removal.